Универсальный гидродинамический гомогенизирующий диспергатор
Иллюстрации
Показать всеИзобретение относится к устройствам для диспергирования, гомогенизации и перемешивания потоков жидкостей и может быть использовано для интенсификации различных технологических процессов в нефтеперерабатывающей, химической и других отраслях промышленности. Универсальный гидродинамический гомогенизирующий диспергатор содержит цилиндрический корпус 1 и последовательно установленные средства обеспечения ультразвуковой обработки потока, каждое из которых выполнено в виде излучателя 2 с серповидными лопатками 3, имеющими форму части Архимедовой спирали. Серповидные лопатки 3 выполнены полыми из гранул с открытой пористостью. В корпусе 1 выполнены отверстия 10, в излучателе 2 - кольцевые полости 11, а в лопатках - полости 12 для подачи дополнительного потока. Поток многокомпонентной жидкости, перемещаясь внутри корпуса 1, натекает на конусный рассекатель 7. Затем, натекая на тангенциальные отверстия 6, поток попадает в кавитационную камеру 9, где возникают зоны интенсивной кавитации. Двигаясь в кавитационной камере 9, поток под давлением поступает в спиралевидные каналы 8 излучателя 2. Одновременно по кольцевой полости 11, каналам 13 и через открытые поры в лопатках 3 подают непосредственно в зону обработки дополнительный жидкофазный или газообразный поток. Вследствие этого в указанных каналах происходит дополнительное завихрение и торможение части основного потока, что, в свою очередь, улучшает качество обработки (диспергирование и гомогенизацию). В то же время происходит отбрасывание части основного потока дополнительным потоком от лопаток 3, вследствие чего уменьшается воздействие на лопатки 3 образующихся вихрей и циркуляционных течений, возникающих в процессе обработки, что увеличивает ресурс работы излучателя и всего диспергатора в целом. Кроме того, корректируя давление подачи дополнительного потока, осуществляется регулирование процесса диспергирования и гомогенизации. Далее двухструйный поток вновь преобразуется в общий поток, который вновь затормаживается при выходе из излучателя 2 и попадании в камеру 12. В вихревой камере 5 и в камере 12 за счет схлопывания пузырьков с генерацией микроударных волн и акустических колебаний определенных энергий также происходит процесс диспергирования и гомогенизации компонентов потока. В последующем средстве обеспечения ультразвуковой обработки цикл кавитационной обработки повторяется. Технический результат - повышение качества обработки потока, расширение технологических возможностей и повышение надежности работы диспергатора. 3 ил.
Реферат
Изобретение относится к устройствам для диспергирования, гомогенизации и перемешивания потоков жидкостей и может быть использовано для интенсификации различных технологических процессов в нефтеперерабатывающей, химической и других отраслях промышленности, в частности, для обработки тяжелых нефтяных видов топлива, используемых в промышленности и теплоэнергетике.
Известен ультразвуковой смеситель, содержащий корпус с патрубками подвода и отвода, цилиндрическую камеру с излучателями, выполненными в виде последовательно установленных по спирали Архимеда лопаток, образующих каналы (авторское свидетельство СССР №316482, В 06 В 1/20, 1971 г.).
Известный ультразвуковой смеситель не обеспечивает требуемого качества перемешивания, диспергирования и гомогенизации обрабатываемых потоков, т.к. обрабатываемый поток подвергается одноразовому кавитационному воздействию.
Наиболее близким техническим решением по совокупности существенных признаков, присущих изобретению, является ультразвуковое устройство для обработки жидкости, содержащее цилиндрический корпус и два последовательно установленных струйных ультразвуковых излучателя (Патент полезной модели РФ №32005, В 06 В 1/20, 2003 г.).
Однако известное устройство не обеспечивает эффективное диспергирование и гомогенизацию обрабатываемого потока, в то же время у известного устройства низкий ресурс работы за счет интенсивного кавитационного износа серповидных лопаток, из-за воздействия образующихся вихрей и циркуляционных течений, приводящих к вибрации и выщербливанию материала лопаток. Также отсутствует возможность подачи непосредственно в зону кавитации дополнительных жидкофазных и газовых потоков для смешения и обработки с основным потоком, кроме того, нет возможности осуществлять регулирование процессом диспергирования и гомогенизации в процессе обработки потоков.
В основу заявленного изобретения положено решение одновременно нескольких технических задач:
- повышение качества обработки потока;
- расширение технологических возможностей;
- повышение надежности работы диспергатора.
Поставленная техническая задача решается тем, что в универсальном гидродинамическом гомогенизирующем диспергаторе, содержащем цилиндрический корпус с рабочей камерой и, по крайней мере, два средства обеспечения ультразвуковой обработки, установленные последовательно друг за другом соответственно в зоне подвода и в зоне отвода обрабатываемого потока, каждое из которых выполнено в виде цилиндрического распределителя с установленным внутри него рассекателем и излучателя с серповидными лопатками, имеющими форму части Архимедовой спирали и образующими спиралевидные каналы, серповидные лопатки выполнены полыми из гранул с открытой пористостью.
Гранулы могут быть выполнены из нитрида или карбида титана.
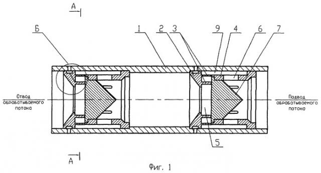
На фиг.1 изображен общий вид устройства в разрезе.
На фиг.2 - разрез А-А на фиг.1.
На фиг.3 - вид Б (увеличено).
Универсальный гидродинамический гомогенизирующий диспергатор содержит цилиндрический корпус 1, последовательно установленные в корпусе 1 средства обеспечения ультразвуковой обработки потока, каждое из которых выполнено в виде излучателя 2 с серповидными лопатками 3, имеющими форму части Архимедовой спирали и состыкованными с цилиндрическим распределителем 4, с возможностью образования вихревой камеры 5. На распределителе 4 по его окружности выполнены тангенциальные отверстия 6, а внутри цилиндрического распределителя 5 расположен конусный рассекатель 7.
Серповидные лопатки 3 выполнены полыми из гранул с открытой пористостью, составляющей 3-5%, и установлены с возможностью образования спиралевидных каналов 8, а цилиндрический распределитель 4 образует с рабочей поверхностью корпуса 1 кавитационную камеру 9.
В каждом излучателе 2 выполнены средства для подвода непосредственно в зону обработки дополнительной жидкофазной или газовой среды, например, в виде отверстий 10 в корпусе 1, кольцевой полости 11 и серповидных полостей 12, соединенных между собой каналами 13.
Работает универсальный гидродинамический гомогенизирующий диспергатор следующим образом.
Поток многокомпонентной жидкости, перемещаясь внутри корпуса 1, натекает на конусный рассекатель 7, установленный вершиной навстречу потоку. Из-за сужения проходного сечения скорость потока увеличивается. Затем, натекая на тангенциальные отверстия 6, за счет еще большего сужения проходного сечения скорость потока резко возрастает, а давление падает. Это приводит к тому, что в кавитационной камере 9 возникают зоны интенсивной кавитации. Схлопывание кавитационных пузырьков, происходящее в кавитационной камере 9, сопровождается микропотоками большой скорости и гидравлическими ударными давлениями, способствующими интенсивному диспергированию и гомогенизации обрабатываемого потока.
Благодаря тому, что отверстия 6 выполнены тангенциально, поток жидкости приобретает вращательное движение. Двигаясь в кавитационной камере 9, поток под давлением поступает в спиралевидные каналы 8 излучателя 2, При этом потоки жидкости, проходя по указанным спиралевидным каналам 8, направляются под острым углом на противоположно расположенные лопатки, где и происходит преобразование энергии потока жидкости в энергию звуковых и ультразвуковых колебаний. Одновременно с попаданием основного обрабатываемого потока в каналы 8 по каналам 13 из кольцевой полости 11 излучателя 2 в серповидные полости 12 и через открытые поры лопаток 3 в зону обработки подается дополнительный жидкофазный или газообразный поток. Вследствие этого в указанных серповидных каналах происходит дополнительное завихрение и торможение части основного потока, что, в свою очередь, улучшает качество обработки (диспергирование и гомогенизацию).
В то же время происходит отбрасывание части основного потока дополнительным потоком от лопаток 3, вследствие этого уменьшается воздействие на лопатки 3 образующихся вихрей и циркуляционных течений, возникающих в процессе обработки, что увеличивает ресурс работы излучателя и всего диспергатора в целом.
Кроме того, корректируя давление подачи дополнительного потока, осуществляется регулирование процесса диспергирования и гомогенизации.
Далее двухструйный поток вновь преобразуется в общий поток, который вновь затормаживается при выходе из излучателя 2 и попадании в камеру 12. В вихревой камере 5 и в камере 12 за счет схлопывания пузырьков с генерацией микроударных волн и акустических колебаний определенных энергий также происходит процесс диспергирования и гомогенизации компонентов потока.
В последующем средстве обеспечения ультразвуковой обработки цикл кавитационной обработки повторяется.
Сравнительные теплотехнические испытания предложенного диспергатора и известного устройства показали, что благодаря совокупности заявленных признаков, изложенных в формуле изобретения, обеспечивается:
- повышение качества обработки потока (дисперсность 3-5 мкм в предложенном диспергаторе в сравнении с 7-12 мкм - в известном);
- расширение технологических возможностей за счет обеспечения обработки основного потока с дополнительным и регулирования процессом обработки;
- повышение надежности работы диспергатора за счет повышения ресурса работы излучателя.
Универсальный гидродинамический гомогенизирующий диспергатор, содержащий цилиндрический корпус с рабочей камерой и, по крайней мере, два средства обеспечения ультразвуковой обработки, установленные последовательно друг за другом соответственно в зоне подвода и в зоне отвода обрабатываемого потока, каждое из которых выполнено в виде цилиндрического распределителя с установленным внутри него рассекателем, и излучателя с серповидными лопатками, имеющими форму части Архимедовой спирали и образующими спиралевидные каналы, отличающийся тем, что серповидные лопатки выполнены полыми из гранул с открытой пористостью.


