PatentDB.ru — поиск по патентным документам

Иллюстрации к патенту 2248252

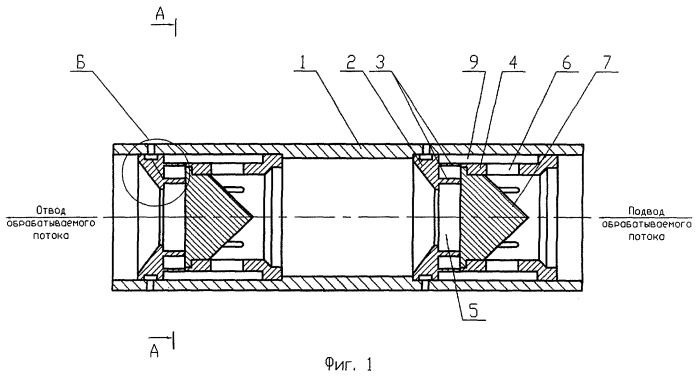
Универсальный гидродинамический гомогенизирующий диспергатор

Универсальный гидродинамический гомогенизирующий диспергатор (патент 2248252)