Усовершенствование процесса удаления резиста в установке для травления диэлектрика с использованием пучка плазмы

Иллюстрации

Показать все

Изобретение относится к области изготовления полупроводниковых приборов. Объектами изобретения являются способ и устройство для травления диэлектрика, удаления маски для травления и очистки камеры травления. В камере травления 40 размещают полупроводниковую пластину 56. Выполненный на полупроводниковой пластине диэлектрик 58 подвергают травлению, используя локальную плазму, полученную с помощью специального приспособления для получения локальной плазмы в камере травления. Маску для травления 60 удаляют с помощью плазмы от автономного источника 54, генерируемой в устройстве для получения плазмы от автономного источника, соединенном с камерой травления. Камеру травления после удаления полупроводниковой пластины подвергают очистке, используя при этом или локальную плазму, или плазму от автономного источника. Для достижения более высокой степени очистки может быть использован нагреватель, обеспечивающий нагрев стенки камеры. 2 н. и 12 з.п. ф-лы, 4 ил.

Реферат

ПРЕДПОСЫЛКИ К СОЗДАНИЮ ИЗОБРЕТЕНИЯ

Настоящее изобретение относится к области изготовления полупроводниковых приборов. В частности, настоящее изобретение относится к усовершенствованию методики травления диэлектрика и удаления резиста.

При изготовлении некоторых типов полупроводниковых приборов травление слоев диэлектрика может быть осуществлено с использованием системы плазменного травления. Такие системы плазменного травления могут представлять собой системы с плазмой высокой плотности типа систем с индуктивным разрядом или с электронным циклотронным резонансом или системы с плазмой средней плотности типа системы с емкостным разрядом. В установках для травления в плазме высокой плотности диссоциация газов осуществляется настолько эффективно, что при подаче в камеру кислорода стенки камеры очищаются. Эта очистка может быть обусловлена теплотой, выделяемой плазмой, ультрафиолетовым излучением плазмы и часто - диссоциацией, вызываемой плазмой.

Системы травления в плазме средней плотности типа систем плазменного травления с емкостным разрядом могут быть использованы для травления в кислороде. Действие таких систем плазменного травления в большинстве случаев основано на химии формирования полимеров. В таких системах травления в плазме средней плотности, как правило, на стенке камеры формируются полимерные отложения. При использовании таких систем обычно допускается образование полимерных отложений на стенках камеры и затем осуществляется влажная очистка с целью удаления этих полимерных отложений. Необходимость влажной очистки в системах с плазмой средней плотности, как правило, обусловливается недостаточной эффективностью диссоциации и недостаточно высокой энергией плазмы, контактирующей со стенками, для обеспечения удовлетворительной очистки от полимеров. При частичной очистке стенок камеры и неполном удалении полимеров эффективность осаждения новых полимеров на стенках камеры в некоторых случаях становится низкой, что может приводить к образованию частиц, потенциально являющихся дополнительным источником загрязнения.

В системах плазменного травления с использованием удержания плазмы типа устройства, предложенного в патенте США №5,534,751 Ленцем и др. под названием "Устройство для плазменного травления с удержанием плазмы", выданном 9-го июля 1996 г., в целом область формирования плазмы ограничивается специальным ограничительным кольцом, которое удерживает плазму в некоторой области на расстоянии от стенки камеры. Хранение плазмы в некоторой области в целом позволяет получать достаточно плотную и достаточно горячую плазму в окрестности ограничительного кольца, способную обеспечить очистку этого ограничительного кольца.

Известны случаи создания устройств для химического осаждения из паровой фазы (ПФХО) с автономными источниками плазмы, которые, как правило, используются для очистки камеры ПФХО. Обычно действие этих плазменных устройств основано на химии фтора. Такие ПФХО-устройства используются для осаждения из паровой фазы.

Есть сведения о применении автономного источника плазмы в камере для удаления (например, остатков резиста), в которой плазма, полученная от автономного источника, обычно используется при удалении маски для травления.

На основании сказанного выше можно сделать вывод о желательности создания в системах с плазмой средней плотности, в которых используемая плазма имеет плотность, недостаточно высокую для обеспечения очистки стенки камеры, средства для получения плазмы, обеспечивающей достаточно полную очистку стенок камеры.

КРАТКОЕ ИЗЛОЖЕНИЕ СУЩНОСТИ ИЗОБРЕТЕНИЯ

Изобретение касается в одном из примеров своего осуществления системы травления диэлектрика в плазме средней плотности с дополнительным автономным источником плазмы, обеспечивающим очистку этой системы плазменного травления и возможность удаления остатков резиста внутри системы травления.

Во втором примере своего осуществления изобретение касается системы травления в плазме средней плотности с дополнительным автономным источником плазмы и нагревателем для нагрева стенок камеры, обеспечивающего возможность очистки стенки камеры.

В третьем примере осуществления изобретения рассматривается система травления в удерживаемой плазме средней плотности с дополнительным автономным источником плазмы, обеспечивающим увеличение скорости удаления резиста.

Ниже приводится более подробное описание этих и других особенностей настоящего изобретения, сопровождаемое ссылками на нижеследующие фигуры.

КРАТКОЕ ОПИСАНИЕ ЧЕРТЕЖЕЙ

Представленные на прилагаемых чертежах фигуры, иллюстрирующие настоящее изобретение, носят чисто показательный, а не ограничительный характер, причем одинаковые элементы на этих фигурах обозначены одними и теми же позициями.

Фиг.1 - схематическое изображение камеры травления.

Фиг.2 - схема последовательности операций в процессе травления с использованием камеры травления, представленной на фиг.1.

Фиг.3 - схематическое изображение другого варианта камеры травления.

Фиг.4 - схема последовательности операций в процессе травления с использованием камеры травления, представленной на фиг.3.

ПОДРОБНОЕ ОПИСАНИЕ ПРЕДПОЧТИТЕЛЬНЫХ ПРИМЕРОВ ОСУЩЕСТВЛЕНИЯ

Далее приводится подробное описание настоящего изобретения со ссылками на несколько предпочтительных примеров осуществления, иллюстрируемых прилагаемыми чертежами. В следующем ниже описании многочисленные конкретные детали настоящего изобретения изложены в форме, обеспечивающей его полное понимание. Специалисту в данной области техники, однако, очевидно, что настоящее изобретение может быть осуществлено без некоторых или без всех этих конкретных деталей. В других случаях подробное описание известных технологических операций и/или структур опущено с целью предотвращения возникновения затруднений в понимании предмета настоящего изобретения.

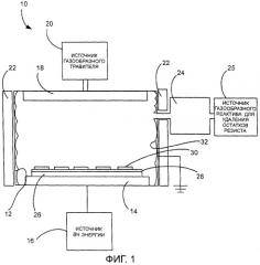
Для облегчения подробного обсуждения на фиг.1 представлено схематическое изображение камеры травления 10, соответствующей предпочтительному примеру осуществления изобретения. Камера травления 10 имеет в своем составе заземленную стенку камеры 12, электростатический держатель 14, соединенный с источником высокочастотной энергии 16, систему распределения газообразного травителя 18 в верхней части камеры травления 10, соединенную с источником газообразного травителя 20, нагреватели 22, установленные с примыканием к стенке камеры 12 с ее внешней стороны, и автономный источник плазмы 24, соединенный с источником газообразного реактива для удаления остатков резиста 25. Стенка камеры 12 может быть выполнена из анодированного алюминия или проводящей керамики.

На фиг.2 представлена схема последовательности операций, осуществляемых в камере травления, используемой в предпочтительном примере осуществления изобретения. Полупроводниковую пластину 26 крепят на электростатическом держателе 14, установленном в камере травления 10 в нижней ее части (операция 201). На своей поверхности полупроводниковая пластина 26 имеет слой диэлектрика 28 типа оксидного слоя, например слой диоксида кремния, или нитридного слоя, причем часть слоя диэлектрика 28 покрыта резистной маской 30, а другая часть слоя диэлектрика 28 не покрыта этой резистной маской 30.

Затем в камере травления 10 стравливают часть слоя диэлектрика 28, который не покрыт резистной маской 30 (операция 202). Стравливание выполняют, обеспечивая приток газообразного травителя в камеру травления 10. При этом давление в камере травления доводят до значения 20÷200 мТорр. В предпочтительном примере осуществления изобретения газообразный травитель включает в свой состав газообразный фторуглерод с общей молекулярной формулой CyFx и кислород. Количество используемого газообразного травителя известно из прототипа. Газообразный травитель поставляется источником газообразного травителя 20 через специальную систему распределения 18 в верхней части камеры травления 10. Источник высокочастотной энергии 16 подает на электростатический держатель 14 высокочастотный сигнал, вызывающий высокочастотные колебания между электростатическим держателем 14 и заземленной стенкой камеры 12, возбуждающие газообразный травитель, причем электростатический держатель 14 выступает в качестве катода, а стенка камеры 12 - в качестве анода. Возбужденный газообразный травитель диссоциирует на ионы, которые в результате возбуждения под действием высокочастотных колебаний образуют в камере травления плазму, окружающую полупроводниковую пластину 26. Так как полупроводниковая пластина находится в окружении плазмы, то при этом происходит стравливание части слоя диэлектрика 28, которая не покрыта резистной маской 30. Стенка камеры 12, электростатический держатель 14, источник энергии 16, система распределения газообразного травителя 18 и источник газообразного травителя 20 формируют, а также поддерживают плазму вокруг полупроводниковой пластины и поэтому поставляют локальную плазму. В результате процесса травления на стенке камеры 12 формируется полимерное отложение 32, образуемое из материала резистной маски 30 и газообразного фторуглерода, используемого в качестве травителя. По достижении достаточной глубины травления слоя диэлектрика 28 операция травления (операция 202) заканчивается в результате прекращения генерации локальной плазмы.

Автономный источник плазмы 24 показан соединенным со стенкой камеры 12. Причем этот автономный источник плазмы 24 может быть размещен в другом месте в окрестности камеры травления камеры 10. Вход между автономным источником плазмы 24 и внутренней частью камеры 10 должен быть достаточно большим, чтобы обеспечивать возможность прохождения достаточного количества кислородных радикалов, образовавшихся в автономном источнике плазмы 24, от этого автономного источника плазмы 24 внутрь камеры 10 без потерь. Действие автономного источника плазмы 24 может быть основано на использовании как микроволнового, так и индуктивного разряда или какого-нибудь другого автономного источника высокоплотной плазмы, обеспечивающего диссоциацию газообразных реактивов. Примером такого автономного источника является ASTRON фирмы ASTeX из г.Вобурн штата Массачусетс, США. Кислород поставляется в автономный источник плазмы 24 от источника газообразного реактива для удаления остатков резиста 25. В автономном источнике плазмы 24 происходит диссоциация кислорода и появление кислородных радикалов, направляемых в камеру травления 10. При этом давление в камере доводят до значения 100÷1000 мТорр. В результате реакции, в которую кислородные радикалы вступают с резистной маской 30, происходит удаление этой резистной маски 30 (операция 204). В этом предпочтительном примере осуществления на стадии удаления остатков резиста подача газообразного травителя от источника газообразного травителя 20 и мощности от источника высокочастотной энергии 16 прекращается, так что удаление резистной маски 30 обеспечивается исключительно кислородными радикалами. В другом примере осуществления для удаления резистной маски локальная плазма может использоваться в комбинации с плазмой от автономного источника. В еще одном примере осуществления в качестве газообразного реактива для удаления остатков резиста может быть использована смесь водорода и азота или эта смесь в комбинации с кислородом.

Для прерывания операции удаления остатков резиста подачу реактивов от автономного источника плазмы 24 останавливают. Полупроводниковую пластину 26 удаляют из камеры травления 10 (операция 206). Для очистки стенки камеры 12 от полимерного отложения 32 ее подвергают нагреву с помощью специального нагревателя 22. В предпочтительном примере осуществления стенку камеры нагревают до температуры 80÷300°С. В более предпочтительном примере осуществления изобретения стенку камеры нагревают до температуры 120÷200°С, а в самом предпочтительном примере осуществления изобретения - до температуры 150°С. Кислород поставляется в автономный источник плазмы 24 от источника газообразного реактива для удаления остатков резиста 25. В автономном источнике плазмы 24 происходит диссоциация кислорода и появление кислородных радикалов, направляемых в камеру травления 10. При этом давление в камере доводят до значения 100÷1000 мТорр. В результате реакции, в которую кислородные радикалы вступают с нагретой стенкой камеры 12, происходит очистка этой стенки от полимерного отложения 32 (операция 208). В другом предпочтительном примере для получения плазмы от автономного источника может быть использована смесь водорода и азота или эта смесь в комбинации с кислородом. При достижении достаточного уровня очистки стенки камеры 12 подача плазмы от автономного источника 24 прекращается и камера травления 10 может быть использована для обработки следующей полупроводниковой пластины.

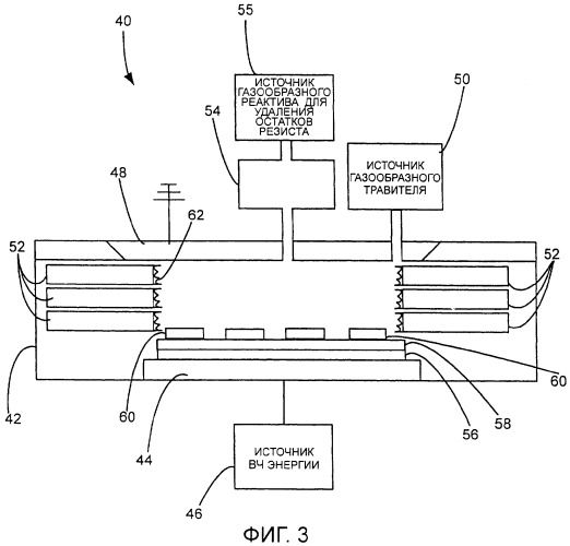
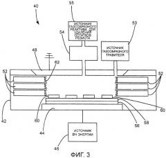
На фиг.3 представлено схематическое изображение камеры травления 40, соответствующей другому предпочтительному примеру осуществления изобретения, в котором используется удерживаемая плазма. Камера травления 40 имеет в своем составе стенку камеры 42, электростатический держатель 44, соединенный с источником высокочастотной (ВЧ) энергии 46, заземленный анод 48, источник газообразного травителя 50, ограничительные кольца 52 и автономный источник плазмы 54, соединенный с источником газообразного реактива для удаления остатков резиста 55. Установленный в нижней части камеры травления 40 электростатический держатель 44, который выступает в качестве катода, и анод 48 в верхней части камеры травления 40 размещены на близком расстоянии друг от друга, чтобы ограничить размеры области формирования плазмы. Для еще большего ограничения размеров области формирования плазмы со своей боковой поверхности эта область окружена ограничительными кольцами 52, удерживающими плазму в окрестности центра камеры травления 40 и на расстоянии от стенки камеры 42. Ограничительные кольца 52 могут быть выполнены из кварца в виде кольцеобразных пластин, установленных отдельно друг от друга с образованием узких зазоров. В этом примере показаны три ограничительных кольца 52, однако в других примерах осуществления может быть использовано одно или большее количество таких ограничительных колец. Узкие зазоры между ограничительными кольцами 52 позволяют предотвратить распространение плазмы до стенки камеры 42, так как их величина настолько мала, что почти вся плазма, проникающая через эти зазоры, гасится в результате соударений с ограничительными кольцами 52 прежде, чем достигает стенки камеры 42.

На фиг.4 представлена схема последовательности операций, выполняемых в камере травления, используемой в предпочтительном примере осуществления изобретения. Полупроводниковую пластину 56 крепят на электростатическом держателе 44, установленном в камере травления 40 в нижней ее части (операция 401). На своей поверхности полупроводниковая пластина 56 имеет слой диэлектрика 58 типа оксидного слоя, например слой диоксида кремния, или нитридного слоя, причем часть слоя диэлектрика 58 покрыта резистной маской 60, а другая часть слоя диэлектрика 58 не покрыта этой резистной маской 60.

Затем в камере травления 40 стравливают часть слоя диэлектрика 58, который не покрыт резистной маской 60 (операция 402). Стравливание выполняют, обеспечивая приток газообразного травителя в камеру травления 40. При этом давление в камере травления доводят до значения 20÷200 мТорр. В предпочтительном примере осуществления изобретения газообразный травитель включает в свой состав газообразный фторуглерод с общей молекулярной формулой CyFx и кислород. Количество используемого газообразного травителя известно из прототипа. Газообразный травитель поставляется источником газообразного травителя 50, соединенным с камерой травления 40. Источник высокочастотной энергии 46 подает на электростатический держатель 44 высокочастотный сигнал, вызывающий высокочастотные колебания между электростатическим держателем 44 и заземленным анодом 48, которые возбуждают газообразный травитель. Возбужденный газообразный травитель диссоциирует на ионы, которые в результате возбуждения под действием высокочастотных колебаний образуют в камере травления плазму, окружающую полупроводниковую пластину 56. Так как полупроводниковая пластина находится в окружении плазмы, то при этом происходит стравливание части слоя диэлектрика 58, которая не покрыта резистной маской 60. Электростатический держатель 44, источник энергии 46, анод 48 и источник газообразного травителя 50 формируют, а также поддерживают плазму вокруг полупроводниковой пластины и поэтому поставляют локальную плазму. В результате процесса травления на ограничительных кольцах 52 формируется полимерное отложение 62, образуемое из материала резистной маски 60 и газообразного фторуглерода, используемого в качестве травителя. По достижении достаточной глубины травления слоя диэлектрика 58 операция травления (операция 402) заканчивается в результате прекращения генерации локальной плазмы.

Автономный источник плазмы 54 показан соединенным со стенкой камеры 42 через анод 48. Вход между автономным источником плазмы 54 и внутренней частью камеры 40 должен быть достаточно большим, чтобы обеспечивать возможность прохождения достаточного количества кислородных радикалов, образовавшихся в автономном источнике плазмы 54, от этого автономного источника плазмы 54 внутрь камеры 40 без потерь. Действие автономного источника плазмы 54 может быть основано на использовании как микроволнового, так и индуктивного разряда или какого-нибудь другого автономного источника высокоплотной плазмы, обеспечивающего диссоциацию газообразных реактивов. Примером такого автономного источника является ASTRON фирмы ASTeX из г.Вобурн штата Массачусетс. Кислород поставляется в автономный источник плазмы 54 от источника газообразного реактива для удаления остатков резиста 55. В автономном источнике плазмы 54 происходит диссоциация кислорода и появление кислородных радикалов, направляемых в камеру травления 40. При этом давление в камере доводят до значения 100÷1000 мТорр. В результате реакции, в которую кислородные радикалы вступают с резистной маской 60, происходит удаление этой резистной маски 60 (операция 404). В этом предпочтительном примере осуществления на стадии удаления остатков резиста подача газообразного травителя от источника газообразного травителя 50 и мощности от источника высокочастотной энергии 46 продолжается, так что удаление резистной маски 60 обеспечивается кислородными радикалами от автономного источника плазмы 54 и локальной плазмой. В другом предпочтительном примере для получения плазмы от автономного источника может быть использована смесь водорода и азота или эта смесь в комбинации с кислородом. Для прерывания операции удаления остатков резиста подачу реактивов от автономного источника плазмы 54 и генерацию локальной плазмы останавливают.

Полупроводниковую пластину 56 удаляют из камеры травления 40 (операция 406). Для очистки ограничительных колец 52 от полимерного отложения 62 обеспечивают приток газообразного травителя, представляющего собой кислород или азот/водород, в камеру травления 40. При этом давление в камере травления доводят до значения 100÷1000 мТорр. Количество используемого газообразного травителя известно из прототипа. Источник высокочастотной энергии 46 подает на электростатический держатель 44 высокочастотный сигнал, вызывающий высокочастотные колебания между электростатическим держателем 44 и заземленным анодом 48, которые возбуждают газообразный травитель. Возбужденный газообразный травитель диссоциирует на ионы, которые в результате возбуждения под действием высокочастотных колебаний образуют в камере травления плазму, окружающую полупроводниковая пластину 56. Так как локальная плазма удерживается в области малых размеров, ограниченной электростатическим держателем 44, анодом 48 и ограничительными кольцами 52, то плотность и энергия этой локальной плазмы достигают значений, обеспечивающих возможность очистки ограничительных колец 52 от полимерного осаждения 62. При достижении достаточного уровня очистки ограничительных колец 52 генерация локальной плазмы прекращается и камера травления 40 может быть использована для обработки следующей полупроводниковой пластины.

В другом примере осуществления оба вида плазмы - и локальная, и плазма от автономного источника используются для очистки как камеры травления без удерживаемой плазмы, так и камеры травления с удерживаемой плазмой.

Выше настоящее изобретение было описано на нескольких предпочтительных примерах его осуществления, допускающих изменения, перестановки и эквиваленты, которые не выходят за пределы объема изобретения. Следует также отметить, что имеются многочисленные альтернативные пути осуществления способов и устройств, являющихся объектами настоящего изобретения. Поэтому следующую ниже прилагаемую формулу изобретения следует интерпретировать с включением всех таких изменений, перестановок и эквивалентов как не выходящих за пределы законной сущности и объема настоящего изобретения.

1. Устройство для травления слоя диэлектрика, расположенного на подложке, содержащее камеру травления диэлектрика, имеющую стенку камеры, автономный источник плазмы, соединенный с камерой травления диэлектрика для поставки частиц реактива внутрь камеры травления диэлектрика, источник газообразного травителя для поставки газообразного травителя в границах стенки камеры, приспособление для получения локальной плазмы, обеспечивающее превращение газообразного травителя в локальную плазму, и множество ограничительных колец, установленных с зазорами друг относительно друга в границах стенки камеры вокруг области формирования плазмы.

2. Устройство по п.1, отличающееся тем, что газообразный травитель включает в свой состав фторуглерод.

3. Устройство по п.2, отличающееся тем, что газообразный травитель включает в свой состав также кислород.

4. Устройство по любому из пп.1-3, отличающееся тем, что автономный источник плазмы содержит источник газа для получения плазмы от автономного источника и приспособление для активации плазмы от автономного источника, которое возбуждает газ, поступающий от источника газа для получения плазмы от автономного источника, и превращает его в плазму.

5. Устройство по п.4, отличающееся тем, что в состав газа, поступающего от источника газа для получения плазмы от автономного источника, входят кислород, азот и водород.

6. Устройство по п.1, отличающееся тем, что содержит также нагреватель для нагрева стенки камеры до температуры выше 80°С.

7. Способ травления по меньшей мере части расположенного на подложке слоя диэлектрика, имеющего участки, покрытые маской для травления, и участки, не покрытые маской для травления, отличающийся тем, что содержит операции размещения подложки в камере травления; обеспечения притока газообразного травителя в камеру травления; возбуждения локальной плазмы из газообразного травителя в камере травления; стравливания участков слоя диэлектрика, не покрытых маской для травления; генерации плазмы в автономном источнике плазмы; подачи плазмы от автономного источника в камеру травления; удаления маски для травления с подложки, находящейся в камере травления; и удаления подложки из камеры травления.

8. Способ по п.7, отличающийся тем, что содержит также операцию очистки камеры травления плазмой, проводимую после операции удаления подложки из камеры травления.

9. Способ по п.7, отличающийся тем, что газообразный травитель содержит также кислород.

10. Способ по п.7, отличающийся тем, что содержит также операцию прерывания подачи газообразного травителя в камеру травления, проводимую перед операцией подачи плазмы от автономного источника в камеру травления.

11. Способ по любому из пп.7-10, отличающийся тем, что в качестве плазмообразующего газа в автономном источнике плазмы используют кислород, азот и водород.

12. Способ по п.8, отличающийся тем, что операция очистки камеры травления плазмой содержит операцию нагрева стенки камеры травления до температуры выше 80°С.

13. Способ по п.12, отличающийся тем, что операция очистки камеры травления плазмой содержит также операции генерации плазмы в автономном источнике плазмы; подачи плазмы от автономного источника в камеру травления и использования плазмы от автономного источника для удаления отложений с нагретой стенки камеры.

14. Способ по п.7, отличающийся тем, что содержит также операцию удержания плазмы в пределах ограничительных колец, а также тем, что операция очистки камеры травления плазмой содержит операции подачи газообразного травителя в камеру травления возбуждения локальной плазмы из газообразного травителя в камере травления и использования локальной плазмы из газообразного травителя для удаления отложений с ограничительных колец.