Подшипник качения (варианты)

Иллюстрации

Показать все

Изобретение относится к области машиностроения и приборостроения, а именно к изготовлению шариковых и роликовых подшипников качения, и может быть использовано в любых отраслях промышленности. Подшипник качения содержит наружное и внутреннее кольца с дорожками качения, размещенные между ними тела качения, выполненные в виде шариков или роликов. При выполнении тел качения в виде роликов больший диаметр ступени ролика, контактирующий только с дорожкой качения наружного кольца подшипника, выполнен с двумя участками. Меньший диаметр средней ступени ролика, контактирующий только с дорожкой качения внутреннего кольца подшипника, имеет один участок. Наружное кольцо установлено с натягом. На одном из колец подшипника выполнена выемка для снятия напряжений в сепараторах, заполненная упругим материалом с антифрикционным покрытием. Согласно другому варианту в подшипнике качения используется корректор в виде закрепленных в выемке на одном из колец подшипника штырей с закругленными концами и выполненных на роликах углублений для захода штырей. На одном из торцевых концов роликов выполнены прорези. При выполнении тел качения в виде шариков на дорожке качения внутреннего кольца подшипника выполнена канавка. Используется корректор в виде закрепленных на наружном кольце подшипника штырей с закругленными концами и выполненных на шариках углублений для захода штырей. Между штырями на наружном кольце выполнена выемка, заполненная упругим материалом с антифрикционным покрытием. На боковых поверхностях шарика выполнены прорези. Технический результат заключается в повышении надежности и долговечности работы подшипников качения. 3 н. и 3 з.п. ф-лы, 10 ил.

Реферат

Изобретение относится к области машиностроения и приборостроения, а именно к изготовлению шариковых и роликовых подшипников качения, и может быть использовано в любых отраслях промышленности.

Широко известны серийно изготавливаемые стандартные шариковые и роликовые подшипники качения радиального и радиально-упорного типа. Они содержат внутреннее и наружное кольца с дорожками качения, размещенные между ними тела качения, выполненные в виде шариков или роликов, установленные в гнездах сепаратора. Недостатками их являются наличие трения качения с проскальзыванием тел качения и применение смазки.

Известен подшипник качения (патент РФ №2232926 от 25.03.02 г.), содержащий внутреннее и наружное кольца с дорожками качения, размещенные между ними тела качения, установленные в гнездах сепаратора. Подшипник выполнен радиального и радиально-упорного типа с духступенчатыми цилиндрическими или коническими роликами, больший диаметр которых обкатывается только по дорожке качения наружного кольца подшипника и выполнен с одним участком, а меньший диаметр ступеней ролика, выполненный с двумя участками, обкатывается только по дорожке качения внутреннего кольца подшипника. При этом должно выполняться условие сборки подшипника

,

где

D - диаметр дорожки качения внутреннего кольца подшипника,

D' - диаметр дорожки качения наружного кольца подшипника,

d - диаметр меньшей ступени ролика,

d' - диаметр большей ступени ролика.

Подшипник теоретически обеспечивает чистое качение тел качения без проскальзывания, но практически его нет, так как из-за погрешностей при изготовлении и сборке подшипника создаются напряжения в сепараторе и соответственно трение тел качения в гнездах сепаратора. Кроме того, данный подшипник требует смазки сопрягающихся (рабочих) поверхностей, которая выгорает в процессе работы подшипника и происходит его нагрев.

Заявляемый подшипник качения (варианты), как и известные, содержит внутреннее и наружное кольца с дорожками качения, размещенные между ними тела качения, выполненные в виде шариков или роликов, при этом должно выполняться условие сборки подшипника

,

где

D - диаметр дорожки качения внутреннего кольца подшипника,

D' - диаметр дорожки качения наружного кольца подшипника,

для роликовых подшипников качения:

d - диаметр меньшей ступени ролика,

d' - диаметр большей ступени ролика.

Цель изобретения - повышение надежности и долговечности работы подшипников путем обеспечения чистого качения шариковых и роликовых подшипников без смазки сопрягающихся (рабочих) поверхностей, снятия напряжений в сепараторах, а также изготовления подшипников без сепараторов, позволяющих полностью исключить применение смазки в подшипниках и их нагрев.

Цель изобретения достигается тем, что:

- при выполнении тел качения в виде двухступенчатых роликов, установленных в гнездах сепаратора, больший диаметр ступени ролика, контактирующий только с дорожкой качения наружного кольца подшипника, выполнен с двумя участками, а меньший диаметр средней ступени ролика, контактирующий только с дорожкой качения внутреннего кольца подшипника, имеет один участок, на одном из колец подшипника выполнена выемка для снятия напряжений в сепараторах, заполненная упругим материалом с антифрикционным покрытием. Двухступенчатые ролики могут быть выполнены разной ширины и установлены в подшипнике таким образом, что ступени роликов с большим диаметром, выполненные с двумя участками, перекрывают друг друга;

- при выполнении тел качения в виде двухступенчатых роликов без использования сепаратора больший диаметр ступени ролика, выполненный с двумя участками, контактирует только с дорожкой качения наружного кольца подшипника, а меньший диаметр средней ступени ролика, имеющий один участок, контактирует только с дорожкой качения внутреннего кольца подшипника, для обеспечения определенного расстояния между роликами и их осевого расположения установлен корректор, представляющий собой закрепленные на одном из колец подшипника штыри с закругленными концами и выполненные на роликах углубления для захода штырей, при этом на одном из торцевых концов роликов выполнены прорези. Двухступенчатые ролики могут быть выполнены разной ширины и установлены в подшипнике таким образом, что ступени роликов с большим диаметром, выполненные с двумя участками, перекрывают друг друга;

- при выполнении тел качения в виде шариков, установленных в гнездах сепаратора, на дорожке качения внутреннего кольца подшипника или на дорожках качения обоих колец подшипника выполнена канавка для обеспечения точечного контакта тел качения с дорожкой качения, при этом d - диаметр контактной окружности вращения шарика по дорожке качения внутреннего кольца подшипника, d' - диаметр контактной окружности вращения шарика по дорожке качения наружного кольца подшипника. При выполнении канавки на дорожке качения внутреннего кольца подшипника наружное кольцо может быть установлено с натягом, при этом на дорожке качения наружного кольца может быть выполнена выемка для снятия напряжений в сепараторах, заполненная упругим материалом с антифрикционным покрытием. Подшипник может быть выполнен радиально-упорного типа, при этом поверхности дорожек качения обоих колец подшипника должны иметь общую вершину;

- при выполнении тел качения в виде шариков без использования сепаратора на дорожке качения внутреннего кольца подшипника выполнена канавка для обеспечения точечного контакта тел качения с дорожкой качения, для сохранения определенного расстояния между шариками и их осевого расположения используется корректор, представляющий собой закрепленные на наружном кольце подшипника штыри с закругленными концами и выполненные на шариках углубления для захода штырей, между штырями на наружном кольце выполнена выемка, заполненная упругим материалом с антифрикционным покрытием, при этом на боковых поверхностях шарика выполнены прорези, при этом d - диаметр контактной окружности вращения шарика по дорожке качения внутреннего кольца подшипника, d' - диаметр контактной окружности вращения шарика по дорожке качения наружного кольца подшипника.

Заявляемое изобретение поясняется с помощью чертежей, где изображены:

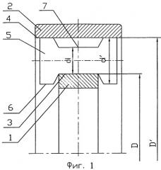
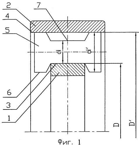
На фиг.1 - однорядный радиальный роликовый подшипник качения;

На фиг.2 - вид сверху однорядного радиального роликового подшипника качения с выемкой для снятия напряжения в сепараторах;

На фиг.3 - радиальный роликовый подшипник качения с роликами разной ширины;

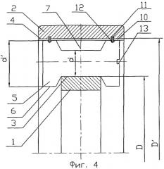
На фиг.4 - радиальный роликовый подшипник качения с корректором расстояния между роликами, установленном на наружном кольце;

На фиг.5 - радиальный роликовый подшипник качения с корректором расстояния между роликами, установленном на внутреннем кольце;

На фиг.6 - однорядный радиальный шариковый подшипник качения с канавкой, выполненной на дорожке качения внутреннего кольца;

На фиг.7 - однорядный радиальный шариковый подшипник качения с канавками, выполненными на дорожках качения обоих колец;

На фиг.8 - двухрядный радиальный шариковый подшипник качения;

На фиг.9 - однорядный радиально-упорный шариковый подшипник качения;

На фиг.10 - однорядный радиальный шариковый подшипник качения с канавкой, выполненной на дорожке качения внутреннего кольца, и с корректором расстояния между шариками.

Подшипник качения (см. фиг.1) состоит из внутреннего 1 и наружного 2 кольца с дорожками качения 3, 4 и размещенных между ними тел качения, выполненных в виде двухступенчатых роликов 5, установленных в гнездах сепаратора (на чертеже не показан). При этом должно выполняться условие сборки подшипника, обеспечивающее чистое качение тел качения без проскальзывания:

.

Больший диаметр ступени ролика 5, контактирующий только с дорожкой качения 4 наружного кольца 2 подшипника, выполнен с двумя участками 6, а меньший диаметр средней ступени ролика 5, контактирующий только с дорожкой качения 3 внутреннего кольца 1 подшипника, имеет один участок 7. Ролики 5 установлены в гнездах 8 сепаратора 9 (см. фиг.2). Наружное кольцо 2 установлено с натягом, при этом на дорожке качения 4 наружного кольца 2 выполнена выемка 10 для снятия напряжений в сепараторе 9, заполненная упругим материалом, например резиной, с антифрикционным покрытием. Выемка 10 обеспечивает минимально допустимое сцепление, которое может регулироваться.

Двухступенчатые ролики 5 могут быть выполнены разной ширины (см. фиг.3) и установлены в подшипнике таким образом, что ступени роликов с большим диаметром, выполненные с двумя участками 6, перекрывают друг друга. Средние ступени 7 роликов выполнены при этом разной длины.

Роликовый подшипник может быть выполнен радиально-упорного типа (на чертеже не показан), при этом на наружном кольце должен быть выполнен выступ-ограничитель, воспринимающий осевую нагрузку и обеспечивающий чистое качение роликов без трения торцевых поверхностей.

На фиг.4 изображен радиальный роликовый подшипник качения с корректором расстояния, установленном на наружном (неподвижном в данном случае) кольце подшипника. Корректор представляет собой установленные в выемке 10 на наружном кольце 2 штыри 11 со сферически закругленными концами и выполненные на двух участках 6 соответствующие им сферические углубления 12 для захода сферической части штырей 11. На концах одного из участков 6 роликов 5 выполнены прорези 13 для сборки подшипника.

При выполнении неподвижным внутреннего кольца 1 (см. фиг.5) корректор представляет собой один штырь 14, установленный в выемке 14 внутреннего кольца 1, углубления 16 выполняются на средней ступени 7 роликов. При выполнении роликов 5 разной ширины для обеспечения надежности осевого расположения роликов 5 в выемке 14 внутреннего кольца 1 устанавливаются два штыря (на чертеже не показано), и на роликах 5 выполняются соответствующие им углубления.

На фиг.6 представлен однорядный радиальный шариковый подшипник качения с канавкой, выполненной на дорожке качения внутреннего кольца. Подшипник также состоит из внутреннего 1 и наружного 2 кольца с дорожками качения 3, 4 и размещенных между ними тел качения, выполненных в виде серийно изготавливаемых шариков 17, установленных в гнездах сепаратора (на чертеже не показан). При этом должно выполняться условие сборки подшипника, обеспечивающее чистое качение тел качения без проскальзывания:

,

где для всех вариантов шариковых подшипников d - это диаметр контактной окружности вращения шарика по дорожке качения внутреннего кольца подшипника, d' - диаметр контактной окружности вращения шарика по дорожке качения наружного кольца подшипника. Для подшипников с одной канавкой 18 d' - это диаметр шарика. На дорожке качения 3 внутреннего кольца 1 подшипника выполнена канавка 18 шириной, определяемой по теореме Пифагора в зависимости от рассчитываемого по вышеуказанной формуле диаметра контактной окружности вращения шарика по дорожке качения внутреннего кольца подшипника и от диаметра в данном варианте выполнения выбранного шарика 17. Глубина канавки 18 должна быть больше разности d'-d. В данном варианте исполнения наружное кольцо 2 может быть установлено с натягом, при этом на дорожке качения 4 наружного кольца 2 выполнена выемка аналогично выемке 10 (см. фиг.2) для снятия напряжений в сепараторах 9, заполненная упругим материалом с антифрикционным покрытием.

Канавки 18 и 19 (см. фиг.7) могут быть выполнены на обоих кольцах 1 и 2 подшипника, причем их ширина будет разной и рассчитывается также по формуле Пифагора в зависимости от d, d' и диаметра шарика 17.

Шариковый подшипник качения с одной или двумя канавками может быть выполнен и многорядным (см. фиг.8), состоящим из двух и более рядов шариков 17 (двух рядов в данном варианте выполнения, с канавками 18, выполненными на внутреннем кольце 1 подшипника).

Шариковый подшипник качения может быть выполнен радиально-упорного типа (см. фиг.9), при этом поверхности дорожек качения 3 и 4 имеют общую вершину. Расчет размеров радиально-упорного подшипника проводится по средним значениям диаметров D, D', d, d' и в зависимости от диаметра выбираемого шарика 17 с учетом угла осевого расположения тел качения.

На фиг.10 изображен однорядный радиальный шариковый подшипник качения с канавкой 18, выполненной на дорожке качения 3 внутреннего кольца 1, и с корректором расстояния между шариками 17, представляющим собой закрепленные на наружном кольце 2 подшипника штыри 20 со сферически закругленными концами и выполненные на шариках 17 сферические углубления 21 для захода сферически закругленных концов штырей 20. Между штырями 20 на наружном кольце 2 выполнена выемка 22, заполненная упругим материалом, например резиной, с антифрикционным покрытием, при этом на боковых поверхностях шариков 17 выполнены прорези 23 для сборки подшипника.

Работа подшипников осуществляется следующим образом.

Подшипники качения с двухступенчатыми роликами 5, установленными в гнездах 8 сепаратора 9 (фиг.1, 2, 3), работают следующим образом: при вращении вала получает вращение кольцо 1 или кольцо 2 подшипника. Ролик 5 средней ступенью 7 обкатывается по дорожке качения 3 внутреннего кольца 1, а двумя участками 6 обкатывается только по дорожке качения 4 наружного кольца 2. При соблюдении условия сборки подшипника и при установке наружного кольца 2 с натягом вращение роликов 5 происходит в условиях чистого качения без проскальзывания относительно дорожек 3 и 4, без трения и без смазки. Смазка производится только в гнездах 8 сепаратора 9. Снятие возможных напряжений в сепараторах 9 происходит при прохождении роликами 5 выемки 10. Для исключения трения выемка 10 заполнена упругим материалом с антифрикционным покрытием.

При работе роликовых подшипников качения без сепаратора 9 (фиг.4, 5) корректировка расстояния между роликами 5 и их осевого расположения в случае их смещения из-за технологических погрешностей при изготовлении происходит при заходе сферически закругленных концов штырей 11 или 14 в соответствующие им углубления 12 или 16 роликов 5 при минимальном сцеплении тел качения с кольцами 1, 2 в районе выемки 10.

Подшипники качения шариковые (фиг.6-8) с сепараторами 9 за счет выполнения канавки 18 или канавок 18, 19 обеспечивают при вращении вала точечный контакт шариков 17 с дорожкой (дорожками) качения 3 или 3, 4 колец подшипника и соответственно вращение шариков 17 по контактной окружности без трения и без проскальзывания. Смазка производится также только в гнездах 8 сепаратора 9. Снятие возможных напряжений в сепараторах 9 при установке наружного кольца 2 с натягом происходит при прохождении шариками 17 выемки 10, заполненной упругим материалом с антифрикционным покрытием, при минимально допустимом сцеплении шариков 17 с кольцами 1, 2.

При выполнении шариковых подшипников качения без сепараторов 9 (фиг.9, 10) корректировка расстояния между шариками 17 происходит путем захода сферически закругленных концов штырей 20 в углубления 21.

Выполнение тел качения в виде двухступенчатых роликов 5, установленных в гнездах сепаратора 9, при этом больший диаметр ступени ролика, контактирующий только с дорожкой качения наружного кольца подшипника, имеет два участка 6, а меньший диаметр средней ступени ролика, контактирующий только с дорожкой качения внутреннего кольца подшипника, имеет один участок 7, обеспечивает чистое качение роликов как по наружной, так и по внутренней дорожкам качения обоих колец подшипника, что исключает трение качения с проскальзыванием роликов 5 на жестко сопрягающихся поверхностях. Снятие возможных напряжений в сепараторе 9, возникающих при сборке и при работе подшипника из-за погрешностей изготовления отдельных его частей, обеспечивает установление наружного кольца 2 подшипника с натягом и выполнение на одном из колец подшипника (являющегося неподвижным) выемки 10, заполненной упругим материалом с антифрикционным покрытием. Это обеспечивает также работу данных подшипников без смазки сопрягающихся (рабочих) поверхностей, обеспечивает минимальное трение тел качения в гнездах 8 сепаратора, что, в итоге, повышает надежность и долговечность работы подшипников.

Выполнение подшипника с телами качения в виде двухступенчатых роликов 5 без использования сепаратора позволяет полностью исключить применение смазки в подшипниках, что повышает надежность и долговечность работы подшипника, исключает охлаждение, а также дает возможность использования подшипника для работы в воде, в открытом виде, с ржавчиной. При этом для обеспечения определенного расстояния между роликами 5 и их осевого расположения установлен корректор, представляющий собой закрепленные на одном из колец подшипника штыри 11 или 14 с закругленными концами и выполненные на роликах углубления 12 или 16 для захода штырей. Для сборки данного подшипника используется специально изготовленная матрица с выступами (на чертежах не показана), на которые с помощью прорезей 13, выполненных на одном из торцевых концов роликов, устанавливаются ролики 5.

Выполнение двухступенчатых роликов 5 разной ширины с установкой их в подшипнике таким образом, что ступени роликов с большим диаметром, выполненные с двумя участками 6, перекрывают друг друга, обеспечивает увеличение передаваемых радиальных нагрузок и расширяет область использования данных типов подшипников.

Изготовление тел качения в виде шариков 17, установленных в гнездах сепаратора 9, с выполненной на дорожке качения 3 внутреннего кольца 1 подшипника канавкой 18 или на дорожках качения 3,4 обоих колец подшипника канавок 18, 19 для обеспечения точечного контакта тел качения с дорожкой качения, с соблюдением условия сборки подшипника, где для шариковых подшипников d - это диаметр контактной окружности вращения шарика по дорожке качения внутреннего кольца подшипника, a d' - диаметр контактной окружности вращения шарика по дорожке качения наружного кольца подшипника обеспечивает чистое качение шариков 17 как по наружной 4, так и по внутренней 3 дорожкам качения обоих колец подшипника, что исключает трение качения с проскальзыванием и применение смазки рабочих поверхностей, что повышает надежность и долговечность работы подшипника. При выполнении канавки 18 на дорожке качения 3 внутреннего кольца 1 подшипника наружное кольцо 2 может быть установлено с натягом, при этом на дорожке качения 4 наружного кольца 2 может быть выполнена выемка для снятия возможных напряжений в сепараторах 9, заполненная упругим материалом с антифрикционным покрытием, что также повышает надежность и долговечность работы подшипника. Подшипник радиально-упорного типа (см. фиг.9) позволяет воспринимать как радиальные, так и осевые нагрузки, а выполнение поверхностей дорожек качения 3, 4 обоих колец подшипника с общей вершиной обеспечивает большую долговечность при резкопеременных нагрузках и бесшумность в работе.

При изготовлении тел качения в виде шариков 17 без использования сепаратора 9 с выполненной на дорожке качения 3 внутреннего кольца 1 подшипника канавкой 18, для сохранения определенного расстояния между шариками 17 и их осевого расположения используется корректор, представляющий собой закрепленные на наружном кольце 2 подшипника штыри 20 с закругленными концами и выполненные на шариках углубления 21 для захода штырей, между штырями 20 на наружном кольце выполнена выемка 22, заполненная упругим материалом с антифрикционным покрытием. Данное решение позволяет обеспечить чистое качение без проскальзывания рабочих контактных поверхностей и полностью исключить применение смазки в подшипнике за счет минимального сцепления шариков 17 в выемке 22, заполненной упругим материалом с антифрикционным покрытием, что повышает надежность и долговечность его работы. Для сборки данного типа подшипника также используется специально изготовленная матрица с выступами (на чертежах не показана), на которые с помощью прорезей 23, выполненных на боковых поверхностях шариков, устанавливаются шарики 17 с расчетом их поочередного соединения со штырями 20 при работе подшипника.

Предложенные подшипники качения надежны и долговечны в работе, работают практически без трения рабочих поверхностей, не требуют их смазки и охлаждения, могут работать в открытом виде, в воде, с ржавчиной, экологичны. Шариковые подшипники могут найти применение в приборостроении и машиностроении для передачи небольших радиальных и осевых нагрузок, роликовые - в любых отраслях промышленности для передачи больших радиальных нагрузок.

1. Подшипник качения, содержащий наружное и внутреннее кольца с дорожками качения, размещенные между ними в один или несколько рядов тела качения, выполненные в виде двухступенчатых роликов, установленные в гнездах сепаратора, при этом должно выполняться условие сборки подшипника

где D - диаметр дорожки качения внутреннего кольца подшипника,

D′ - диаметр дорожки качения наружного кольца подшипника,

d - диаметр меньшей ступени ролика,

d′ - диаметр большей ступени ролика,

отличающийся тем, что больший диаметр ступени ролика, контактирующий только с дорожкой качения наружного кольца подшипника, выполнен с двумя участками, а меньший диаметр средней ступени ролика, контактирующий только с дорожкой качения внутреннего кольца подшипника, имеет один участок, наружное кольцо установлено с натягом, на одном из колец подшипника выполнена выемка для снятия напряжений в сепараторах, заполненная упругим материалом с антифрикционным покрытием.

2. Подшипник качения по п.1, отличающийся тем, что двухступенчатые ролики выполнены разной ширины и установлены в подшипнике таким образом, что ступени роликов с большим диаметром, выполненные с двумя участками, перекрывают друг друга.

3. Подшипник качения, содержащий наружное и внутреннее кольца с дорожками качения, размещенные между ними в один или несколько рядов тела качения, выполненные в виде двухступенчатых роликов, при этом должно выполняться условие сборки подшипника

где D - диаметр дорожки качения внутреннего кольца подшипника,

D′ - диаметр дорожки качения наружного кольца подшипника,

d - диаметр меньшей ступени ролика,

d′ - диаметр большей ступени ролика,

отличающийся тем, что больший диаметр ступени ролика, контактирующий только с дорожкой качения наружного кольца подшипника, выполнен с двумя участками, а меньший диаметр средней ступени ролика, контактирующий только с дорожкой качения внутреннего кольца подшипника, имеет один участок, для обеспечения определенного расстояния между роликами и их осевого расположения используется корректор, представляющий собой закрепленные в выемке на одном из колец подшипника штыри с закругленными концами и выполненные на роликах углубления для захода штырей, на одном из торцевых концов роликов выполнены прорези.

4. Подшипник качения по п.3, отличающийся тем, что двухступенчатые ролики выполнены разной ширины и установлены в подшипнике таким образом, что ступени роликов с большим диаметром, выполненные с двумя участками, перекрывают друг друга.

5. Подшипник качения, содержащий наружное и внутреннее кольца с дорожками качения, размещенные между ними в один или несколько рядов тела качения, при этом должно выполняться условие сборки подшипника

где D - диаметр дорожки качения внутреннего кольца подшипника,

D′ - диаметр дорожки качения наружного кольца подшипника,

d - диаметр контактной окружности вращения шарика по дорожке качения внутреннего кольца подшипника,

d′ - диаметр контактной окружности вращения шарика по дорожке качения наружного кольца подшипника,

отличающийся тем, что тела качения выполнены в виде шариков, на дорожке качения внутреннего кольца подшипника выполнена канавка для обеспечения точечного контакта тел качения с дорожкой качения, для сохранения определенного расстояния между шариками и их осевого расположения используется корректор, представляющий собой закрепленные на наружном кольце подшипника штыри с закругленными концами и выполненные на шариках углубления для захода штырей, между штырями на наружном кольце выполнена выемка, заполненная упругим материалом с антифрикционным покрытием, при этом на боковых поверхностях шарика выполнены прорези.

6. Подшипник качения по п.5, отличающийся тем, что он выполнен радиально-упорного типа, при этом поверхности дорожек качения обоих колец подшипника имеют общую вершину.