PatentDB.ru — поиск по патентным документам

Иллюстрации к патенту 2319046

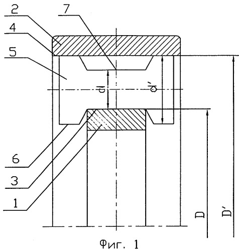
Подшипник качения (варианты)

Подшипник качения (варианты) (патент 2319046)