Система и способ для обеспечения множественных воспроизведений содержания документов
Иллюстрации
Показать всеИзобретение относится к электронным документам и форматам хранения данных, может быть использовано для обеспечения единственного файла, который включает в себя множественные представления содержания одного и того же документа. Техническим результатом является возможность использования одного и того же файла несколькими приложениями и устройствами. Данный результат достигается благодаря тому, что множество воспроизведений одного и того же содержания объединены в единственный файл составного формата. При этом каждое из воспроизведений документа оптимизировано для обеспечения лучшего представления для конкретного устройства или приложения. В единственный файл включена также метаинформация, которая описывает каждое из множественных воспроизведений вместе с любыми поддерживающими файлами, которые могут использоваться с этими воспроизведениями. 3 с. и 18 з.п. ф-лы, 8 ил., 1 табл.
Реферат
Эта заявка подана как заявка РСТ, зарегистрированная 17 мая 2003 года MICROSOFT CORPORATION, находящейся в США, с указанием всех стран за исключением США.
ОБЛАСТЬ ТЕХНИКИ
Данное изобретение относится к электронным документам. Более конкретно, данное изобретение относится к формату хранения данных для множественных электронных документов.
ПРЕДШЕСТВУЮЩИЙ УРОВЕНЬ ТЕХНИКИ
Пользователи компьютеров сегодня имеют большое многообразие средств для просмотра электронных документов. Настольные компьютеры, портативные компьютеры, карманные компьютеры и планшетные компьютеры являются всего лишь несколькими примерами многих различных типов устройств, с помощью которых пользователь может просматривать электронные документы. Каждый из этих типов устройств имеет различный форм-фактор и показывает документы по-разному. Например, электронный секретарь имеет очень отличающуюся просматриваемую область, чем монитор, используемый настольным компьютером. Настольный компьютер, возможно, имеет отличающуюся просматриваемую область, чем портативный компьютер. Чтобы составить проблему, электронные документы создаются в очень многих различных форматах, каждый из которых может иметь различные атрибуты просмотра.
Пользователи часто сталкиваются с проблемой, что конкретный документ может хорошо отображаться на одном устройстве, таком как портативный компьютер, и все же этот документ может не отображаться хорошо на другом устройстве, таком как электронный секретарь. Разработчики программного обеспечения пытались создать формат документа, который может отображаться на многих типах устройств. Например, представление «переформатируемого» документа, такое как HTML, учитывало некоторую величину изменения размеров, когда размер окна изменялся без серьезного вредного влияния на макет документа. Однако использование этого формата часто препятствует способности автора документа точно контролировать, каким окажется документ. Кроме того, поскольку переформатируемые документы предназначены для отчасти хорошего просмотра на многих различных устройствах, они не обеспечивают должным образом оптимизированного опыта просмотра на любом одном устройстве.
Напротив, форматы, которые позволяют больше контролировать то, как документ отображается, обычно делают этот документ применимым к ограниченному числу устройств. Например, документ обработки текста может быть просмотрен на настольном компьютере визуально удовлетворительным способом. Однако документ обработки текста, если он отображается в электронном секретаре, может оказаться размазанным или не подходящим иным образом. Кроме того, документ, созданный текстовым процессором для конкретного размера бумаги, такого как размер письма, может не напечататься правильно на бумаге другого размера, такого как размер А4.
Некоторые форматы документов позволяют строго контролировать то, как просматривается документ, делая содержание документа по существу графическим изображением. Одним недостатком этого формата документа является то, что несколько различных версий всего документа должны быть сделаны доступными для каждого устройства, на котором этот документ предназначен для просмотра. Кроме того, содержание документа фиксированного формата не является редактируемым.
КРАТКОЕ ИЗЛОЖЕНИЕ СУЩНОСТИ ИЗОБРЕТЕНИЯ
Данное изобретение посвящено системе и способу для обеспечения множественных представлений содержания документов в пределах единственного файла. Короче говоря, изобретение использует формат составного файла для содержания множественных потоков данных, причем каждый поток данных является наглядным воспроизведением содержания документа. Другие ресурсы, которые используются одним или множественными воспроизведениями, также хранятся в составном файле. В пределах составного файла хранится метаинформация, которая описывает каждое воспроизведение содержания документа. Эта метаинформация может также включать в себя правила, которые являются критериями выбора для поддержки в идентификации соответствующего воспроизведения для данного устройства или приложения.
КРАТКОЕ ОПИСАНИЕ ЧЕРТЕЖЕЙ
Фиг.1 является функциональной блок-схемой, которая показывает вычислительное устройство, которое может использоваться в реализациях данного изобретения.
Фиг.2 является функциональной блок-схемой, в общем иллюстрирующей компоненты системы, имеющей составной файл, созданный в соответствии с данным изобретением.
Фиг.3 является графическим представлением древовидной иерархии, которая представляет составной файл, показанный на фиг.2.
Фиг.4 является табличным представлением информации, которая может содержаться в составном файле, построенном в соответствии с данным изобретением, которое описывает каждое из множественных воспроизведений в составном файле.
Фиг.5 является графической иллюстрацией одного конкретного примера составного файла, имеющего несколько потоков и одно хранилище, в соответствии с одной реализацией изобретения.
Фиг.6 является графической иллюстрацией другого примера составного файла, имеющего несколько потоков, в соответствии с одной реализацией изобретения.
Фиг.7 является логической блок-схемой последовательности операций, в общем иллюстрирующей процесс для создания соответствующего воспроизведения в пределах составного файла, доступного для запрашивающего приложения, в соответствии с изобретением.
Фиг.8 является логической блок-схемой последовательности операций, в общем иллюстрирующей процесс для создания составного файла множественных воспроизведений, в соответствии с изобретением.
ПОДРОБНОЕ ОПИСАНИЕ ПРЕДПОЧТИТЕЛЬНОГО ВАРИАНТА
Изобретение обеспечивает механизм для обеспечения единственного документа, который включает в себя множественные представления содержания одного и того же документа. Каждое из представлений может быть оптимизировано для обеспечения лучшего представления для конкретного устройства или приложения. Механизм согласно изобретению предпочтительно основан на формате составного файла, который позволяет хранить множественные воспроизведения в единственном документе. В пределы единственного документа включена метаинформация, которая описывает каждое из множественных воспроизведений вместе с любыми поддерживающими файлами, которые могут использоваться с этими воспроизведениями. Авторы изобретения определили, что формат составного файла связывания и встраивания объектов (OLE) особенно хорошо подходит к реализациям изобретения.
Изобретение будет описано здесь сначала со ссылкой на один пример иллюстративного вычислительного окружения, в котором варианты осуществления изобретения могут быть реализованы. Затем будет описан подробный пример одной специфической реализации изобретения. Альтернативные реализации могут быть также включены по отношению к некоторым подробностям специфической реализации. Наконец, описаны примеры реализации составных файлов, построенных в соответствии с изобретением. Будет оценено, что варианты изобретения не ограничены вариантами, описанными здесь.
ИЛЛЮСТРАТИВНОЕ ВЫЧИСЛИТЕЛЬНОЕ ОКРУЖЕНИЕ ИЗОБРЕТЕНИЯ
Фиг.1 иллюстрирует вычислительное устройство, которое может использоваться в иллюстративных реализациях данного изобретения. Со ссылкой на фиг.1 одна примерная система для реализации изобретения включает в себя вычислительное устройство, такое как вычислительное устройство 100. В базовой конфигурации вычислительное устройство 100 обычно включает в себя по меньшей мере один процессор 102 и системную память 104. В зависимости от точной конфигурации и типа вычислительного устройства системная память 104 может быть энергозависимой (как, например, ОЗУ), энергонезависимой (как, например, ПЗУ, флэш-память и т.д.) или некоторой комбинацией этих двух видов. Системная память 104 обычно включает в себя операционную систему 105, один или несколько программных модулей 106 и может включать в себя программные данные 107. Эта базовая конфигурация вычислительного устройства 100 показана на фиг.1 компонентами в пределах пунктирной линии 108.
Вычислительное устройство 100 может иметь дополнительные особенности или функциональность. Например, вычислительное устройство 100 может также включать в себя дополнительные устройства хранения данных (сменные или не удаляемые), такие как, например, магнитные диски, оптические диски или лента. Такая дополнительная память иллюстрирована на фигуре 1 сменной памятью 109 и не удаляемой памятью 110. Компьютерная запоминающая среда (носитель) может включать в себя энергозависимую и энергонезависимую, сменную или не удаляемую среду, реализованную в любом способе или технологии для хранения информации, таком как считываемые компьютером команды, структуры данных, программные модули или другие данные. Системная память 104, сменная память 109 и не удаляемая память 110 являются примерами компьютерной запоминающей среды. Компьютерная запоминающая среда включает в себя, но не ограничена этим, ОЗУ, ПЗУ, ЭСППЗУ, флэш-память или другую технологию памяти, ПЗУ на компакт-диске, цифровые универсальные диски («DVD») или другую оптическую память, магнитные кассеты, магнитную ленту, память на магнитных дисках или другие устройства магнитного хранения, или какую-либо другую среду, которая может использоваться для хранения желаемой информации и которая может быть доступна вычислительному устройству 100. Любая такая компьютерная запоминающая среда может быть частью устройства 100. Вычислительное устройство 100 может также иметь устройства ввода 112, такие как клавиатура 122, мышь 123, перо, устройство речевого ввода, устройство сенсорного ввода, сканер и т.д. Также могут быть включены устройства вывода 114, такие как дисплей, громкоговорители, принтер и т.д. Эти устройства хорошо известны в данной области техники и не нуждаются в подробном описании здесь.
Вычислительное устройство 100 может также содержать соединения связи 116, которые позволяют устройству устанавливать связь с другими вычислительными устройствами 118, как например, по сети. Соединения связи 116 являются одним примером среды передачи данных. Среда передачи данных может обычно воплощаться считываемыми компьютером командами, структурами данных, программными модулями или другими данными в модулированном сигнале данных, таком как несущая или другой механизм переноса, и включает в себя любую среду распространения информации. Термин «модулированный сигнал данных» означает сигнал, который имеет одну или несколько своих характеристик установленными или измененными таким образом, чтобы кодировать информацию в этом сигнале. Посредством примера, а не ограничения, среда передачи данных включает в себя проводную среду, такую как проводная сеть или прямое проводное подключение, и беспроводную среду, такую как акустическая, радиочастотная, инфракрасная или другая беспроводная среда. Термин «считываемая компьютером среда», используемый здесь, включает в себя как запоминающую среду, так и среду передачи данных.
ОБЩЕЕ ОПИСАНИЕ КОМПОНЕНТОВ
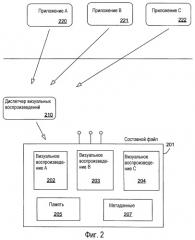
Фиг.2 является функциональной блок-схемой, в общем иллюстрирующей компоненты окружения, реализующего данное изобретение. Проиллюстрированы несколько приложений 220, 221, 222, «диспетчер воспроизведения» 210 и составной файл 201. Каждое из приложений 220, 221, 222 имеет конфигурацию для манипулирования или показа документа в формате, особом (конкретном) для этого приложения. Например, приложением А 220 может быть текстовый процессор или т.п., приложением В 221 может быть приложение электронной почты, способное отображать сообщения HTML, и приложением С 222 может быть программа просмотра документов фиксированного формата, такая как программа просмотра изображений или т.п.
Составной файл 201 предпочтительно является составным файлом OLE. Модель документа OLE известна в данной области техники и широко распознается как механизм для охвата многих несравнимых типов данных в единственном документе. Однако составной файл OLE обычно используется вместе с содержанием единственного документа, имеющего встроенные файлы или другое поддерживающее содержание, которое также содержится в одном составном файле OLE. Важно, что каждый элемент в составном файле хранится таким образом, что он может подвергаться манипуляции приложением, которое создало его. Составной файл 201 будет описан более подробно ниже вместе со ссылками на фиг.3 и 4.
Короче говоря, составной файл 201 является единственным файлом, который включает в себя множественные представления (интерпретации, воспроизведения) содержания конкретного документа. Эти представления могут быть визуальными или другого типа. Каждое воспроизведение «нацелено на» (оптимизировано для представления на) конкретный класс устройств или сред. Например, воспроизведением А 202 может быть документ обработки текстов, воспроизведением В 203 может быть переформатируемая версия языка разметки документа обработки текста, и воспроизведением С 204 может быть версия фиксированного формата документа обработки текстов. В дополнение к множественным воспроизведениям, память 205 включена в составной файл 201 для содержания других файлов или ресурсов, которые могут использоваться одним или несколькими из множественных воспроизведений 202, 203, 204. Метаданные 207 включают в себя информацию, которая описывает каждое из множественных воспроизведений 202, 203, 204, включая то, какие поддерживающие файлы в памяти 205 используются вместе с конкретным воспроизведением.
Каждое воспроизведение включает в себя «содержание» (такое как текст и разметка) и может включать в себя коллекцию «ресурсов» (таких как изображения, шрифты и т.п.). Хотя это и не является необходимым, предусматривается, что множественные воспроизведения, возможно, имеют различное содержание, так как разметка, необходимая для отображения содержания на различных устройствах, изменяется от воспроизведения к воспроизведению. Однако эти воспроизведения часто могут относиться к одним и тем же ресурсам. Аспектом изобретения является то, что каждый совместный ресурс появляется только один раз в составном файле 201. В отличие от некоторых форматов документов из многих частей, составной файл 201 позволяет одному экземпляру конкретного ресурса содержаться в памяти 205 и использоваться вместе с любым числом множественных воспроизведений 202, 203, 204.
Кроме того, способность комбинировать в единственном файле редактируемое воспроизведение (например, документ обработки текста) с воспроизведением фиксированного формата (например, XAML) является преимуществом изобретения перед другими форматами документов. Эти различные типы файлов могут сосуществовать в документе с множеством воспроизведений, и правильное воспроизведение будет использоваться на основе множественных факторов, таких как доступность программного обеспечения во время потребления или намерение пользователя (например, совместная разработка/редактирование документа против печати, или т.п.).
Диспетчером 210 воспроизведений может быть служба или функция операционной системы, которая отвечает за создание файлов документов, доступных для приложений. Составной файл 201 имеет стандартные (например, модель компонентных объектов или «СОМ») интерфейсы таким образом, что каждое воспроизведение может подвергаться манипуляции как целое или как индивидуальные потоки. Каждое одно или несколько приложений 220, 221, 222 может открыть и редактировать составной файл 201 путем запрашивания доступа к нему через диспетчер 210 воспроизведений. Диспетчер 210 воспроизведений открывает составной файл 201 и возвращает интерфейсы для конкретного воспроизведения к запрашивающему приложению на основе типа запрашивающего приложения или другого критерия.
Фиг.3 является графическим представлением структуры составного файла 201, представленной как древовидная иерархия. Составные файлы обычно рассматриваются как «файловая система в файле». В пределах составного файла 201 имеется иерархия «хранилищ», которые аналогичны директориям в файловой системе, и «потоков», которые аналогичны файлам в файловой системе.
В соответствии с изобретением, содержание каждого воспроизведения помещается в отдельный поток или коллекцию потоков. Таким образом, данные, которые представляли бы весь файл документа при стандартном формате документа, хранятся в конкретном потоке составного файла 201. Каждый ресурс, на который ссылается один или несколько воспроизведений, также помещен в отдельный поток. Однако несколько ресурсов могут быть собраны в общем хранилище.
Под корнем 301 иерархии этого примера расположено несколько потоков (т.е. поток 302, поток 304 и поток 306) и одно хранилище 308. В этом примере поток 302 содержит первое воспроизведение (воспроизведение А), поток 304 содержит второе воспроизведение (воспроизведение В), и поток 306 содержит третье воспроизведение (воспроизведение С). В соответствии с этим примером, каждое из этих воспроизведений представляет отличающееся визуальное представление документа.
Специальный поток, названный «\x0006RenditionList» 310 в этом примере, содержит метаинформацию о каждом воспроизведении в составном файле 201. Список 310 воспроизведений включает в себя таблицу 312, которая описывает каждое из воспроизведений в составном файле 201. Таблица 312 подробно описана ниже со ссылкой на фиг.4. Говоря кратко, таблица 312 идентифицирует каждый компонент каждого воспроизведения в составном файле 201.
Фиг.4 является табличным представлением информации, которая может храниться в списке 310 воспроизведений. Список 310 воспроизведений может быть представлен как таблица 401, в которой каждая строка связана с одним воспроизведением. В одном варианте столбцы в таблице включают в себя столбец 410 идентификаторов воспроизведений, столбец 412 имен файлов, столбец 414 правил и столбец 416 описания. Далее следует краткое описание назначения каждого из этих столбцов:
где API - интерфейс прикладного программирования, MIME - многоцелевые расширения передачи сообщений в сети Интернет.
Формат таблицы воспроизведений позволяет обозначить один поток в каждом воспроизведении как «начальный поток» для этого воспроизведения. Когда этот поток запрашивается, начальный поток является первым потоком, подлежащим представлению.
Специальное замечание должно быть сделано об информации «Правила». Как отмечалось, информация в столбце «Правила» предназначена для того, чтобы обеспечить возможность принятия решения о том, какое воспроизведение возвратить в конкретное приложение. Соответственно, информация правил может быть такой же простой, как тип многоцелевых расширений передачи сообщений (MIME) в сети Интернет, связанный с конкретным файлом воспроизведения, таким как первый файл, идентифицированный в столбце имен файлов. В этом случае процесс мог бы проходить список воспроизведений в поиске типа многоцелевых расширений передачи сообщений в сети Интернет, который совместим с конкретным запрашивающим приложением. Другие идентифицируемые характеристики могли бы равным образом служить в качестве критерия выбора, такие как логическое разрешение и геометрия, глубина цвета, человеческий язык или классификация визуальной способности читателя.
Альтернативно, критерии выбора, включенные в столбец правил, могут быть относительно усложненными. Например, в столбец правил могла бы быть включена ссылка, которая указывает на код либо в составном файле, либо где-либо еще, что помогает процессу выбора. Кроме того, в столбец правил может быть включено больше сложной информации, которая описывает каждое воспроизведение способом, достаточным для поддержки конкретного приложения или диспетчера 210 воспроизведений, идентифицированного соответствующим воспроизведением. Эти и другие альтернативы очевидны для специалистов в данной области техники.
ОПИСАНИЕ КОНКРЕТНЫХ ВАРИАНТОВ ОСУЩЕСТВЛЕНИЯ ИЗОБРЕТЕНИЯ
Конкретные реализации изобретения описаны ниже посредством примера со ссылкой на фиг.5 и 6, которые вместе иллюстрируют то, как изобретение может быть использовано для создания составного файла, подлежащего использованию с типом устройства для чтения рабочей документации приложения (фиг.5) и для типа обработки текста приложения.
Фиг.5 является графической иллюстрацией одного конкретного варианта составного файла 501, имеющего несколько потоков и одно хранилище 503. В этом примере составной файл 501 включает в себя шесть различных воспроизведений одного и того же экземпляра содержания документа. Включено воспроизведение 505 переформатирования, которое представляет содержание документа способом, сутью которого является изменением размера согласно конкретному устройству отображения. Воспроизведение 505 включает в себя язык разметки и т.п., который может ссылаться на конкретные шрифты 506 или изображения 507. Соответственно, эти шрифты 506 или изображения 507 хранятся в одном или нескольких отдельных потоках, которые содержатся в пределах хранилища 503.
Также включено воспроизведение 509 с фиксированным размером экрана, которое может быть предназначено для показа на конкретном размере экрана. Например, воспроизведение 509 с фиксированным размером экрана может быть фиксированного размера, которое правильно отображает на монитор, имеющий разрешение 800 пикселов на 600 пикселов. Альтернативно, воспроизведение 509 с фиксированным размером экрана может быть настроено для показа на малом, таком как карманный размер, ручном устройстве.
Включены два воспроизведения, которые имеют фиксированный размер для конкретных компьютерных принтеров. Например, воспроизведение 511 размера письма включает в себя версию содержания документа, которая имеет фиксированный формат и правильно печатается на бумаге, имеющей размер "письмо". Воспроизведение 513 размера А4 включает в себя версию содержания документа, которая имеет фиксированный формат и правильно печатается на бумаге размера А4. Как упоминалось, эти два воспроизведения принтера могут также ссылаться на ресурсы в пределах хранилища 503.
Составной файл 501 может также включать в себя воспроизведение 515 изображения содержания документа и звуковое представление 517 содержания документа. Например, содержанием документа может быть содержание книги, и в этом случае воспроизведением 515 изображения может быть фотография страниц книги, а звуковым представлением 517 может быть слышимый комментарий содержания книги. Следует заметить, что воспроизведения не обязательно должны быть ограничены визуальными представлениями одного и того же содержания.
Фиг.6 является графической иллюстрацией другого примера составного файла 601, имеющего несколько потоков. В этом примере составной файл 601 включает в себя поток 603 обработки текста, поток 605 переформатирования и поток 607 фиксированного формата. В этом примере поток 603 обработки текста может иметь встроенные картинки и шрифты, которые хранятся в составном файле 601 в потоке 609 общих ресурсов. Список воспроизведений (не показан) для этого конкретного примера мог бы затем включать в себя информацию воспроизведения, которая позволяет осуществить конкретное воспроизведение двух исходных частей потока ресурсов шесть или девять. Это могло бы быть достигнуто путем использования ссылок подпотока при идентификации файлов в части имен файлов списка воспроизведений.
Фиг.7 является функциональной блок-схемой последовательности операций, в общем иллюстрирующей стадии процесса для того, чтобы сделать множественные воспроизведения документа доступными через составной файл. Процесс 700 начинается на этапе 701 начала, где существует составной файл, который включает в себя множественные представления содержания подобного документа.
На этапе 703 принимают запрос для доступа к составному файлу. Этот запрос может идентифицировать конкретное запрашивающее приложение и включает информацию, полезную в определении соответствующего воспроизведения, как например, особый формат, поддерживаемый приложением и т.п.
На этапе 705 конкретный тип приложения, а также другие критерии идентифицируется из запроса. Любая дополнительная информация, необходимая для идентификации соответствующего воспроизведения, может быть запрошена из приложения или какого-либо другого источника. Например, может быть запрошен конкретный тип устройства (например, карманный компьютер или настольный компьютер), на котором находится составной файл.
На этапе 707 список воспроизведений, связанный с составным файлом, запрашивается для определения подходящего воспроизведения для приложения. Как подробно описано выше, список воспроизведений может быть запрошен для идентификации конкретного воспроизведения, имеющего тип многоцелевого расширения передачи сообщений в сети Интернет, который совместим с приложением. Альтернативно, список воспроизведений может включать в себя множество правил или условий, которые могут применяться или сравниваться с критериями, связанными с приложением.
На этапе 709 ссылка (например, множество интерфейсов) на подходящее воспроизведение возвращается к запрашивающему приложению. В этот момент запрашивающее приложение может манипулировать воспроизведением как объектом. Запрашивающее приложение представляется представлением содержания документа, которое предназначено для приложения или конкретного устройства.
Фиг.8 является логической блок-схемой последовательности операций, в общем иллюстрирующей процесс для создания файла множественных воспроизведений, в соответствии с изобретением. Процесс 800 начинается на этапе 801 начала, где приложение или приложения создали множественные воспроизведения содержания документа и готовятся записать множественные воспроизведения в составной файл.
На этапе 803 выдается команда добавить первое воспроизведение в составной файл. Первым воспроизведением может быть визуальное представление содержания документа в редактируемой форме, такой как документ обработки текста. Подобным же образом первое воспроизведение может быть в любом одном из многих других представлений содержания документа.
На этапе 805 метаданные о первом воспроизведении добавляются в составной файл. Как указано выше, метаданные могут находиться под потоком списка воспроизведений составного файла. Метаданные описывают первое воспроизведение, включая любые файлы, которые могут быть частью первого воспроизведения. Метаданные также могут включать в себя правила или критерии выбора для того, чтобы сделать возможным выбор подходящего воспроизведения на основе запрашивающего приложения.
На этапе 807 второе воспроизведение добавляется в составной файл. Второе воспроизведение может быть также визуальным представлением содержания документа, или оно может быть некоторой другой формой, такой как слышимое представление или представление изображения.
На этапе 809 метаданные о втором воспроизведении добавляются в составной файл. Опять метаданные описывают второе воспроизведение, включая любые файлы, которые могут быть частью второго воспроизведения. Метаданные могут также включать в себя правила или критерии выбора для того, чтобы сделать возможным выбор подходящего воспроизведения на основе запрашивающего приложения.
На этапе 811 в составной файл добавляются общие описательные метаданные, такие как информация об авторе документа или другая нейтральная к воспроизведению информация о документе или составном файле. В этот момент составной файл включает в себя два полных воспроизведения, которые могут совместно использовать или не использовать ресурсы. Этот составной файл теперь может подвергаться манипуляции с использованием процесса, подобного процессу, описанному выше со ссылкой на фиг.7.
Вышеприведенное описание, примеры и данные обеспечивают полное описание идей и иллюстративных реализации изобретения. Поскольку много вариантов изобретения может быть осуществлено не выходя за рамки сущности и объема изобретения, изобретение определяется в прилагаемой далее формулой изобретения.
1. Считываемый компьютером носитель, имеющий выполняемые компьютером компоненты, содержащие составной файл, включающий в себя первый поток и второй поток, причем первый поток включает в себя содержание документа, соответствующее его первому воспроизведению в формате одного из приложений, второй поток включает в себя содержание того же документа, соответствующее его второму воспроизведению в формате другого приложения, при этом составной файл дополнительно содержит третий поток, включающий в себя метаинформацию, которая описывает первое воспроизведение и второе воспроизведение, а также информацию для идентификации для каждого воспроизведения начального потока, связанного с каждым воспроизведением.
2. Считываемый компьютером носитель по п.1, в котором составной файл дополнительно содержит четвертый поток, включающий в себя ресурс, совместно используемый первым воспроизведением и вторым воспроизведением.
3. Считываемый компьютером носитель по п.1, в котором первое воспроизведение содержит первое визуальное представление документа.
4. Считываемый компьютером носитель по п.3, в котором второе воспроизведение содержит второе визуальное представление документа.
5. Считываемый компьютером носитель по п.1, в котором первое воспроизведение содержит слышимое представление документа.
6. Считываемый компьютером носитель по п.1, в котором информация содержит множество элементов воспроизведений, причем каждый элемент воспроизведения имеет, по меньшей мере, идентификатор воспроизведения и идентификатор файлов, причем идентификатор воспроизведения используется для уникальной идентификации конкретного воспроизведения, с которым связан элемент воспроизведения, и идентификатор файлов используется для идентификации каждого файла, связанного с конкретным воспроизведением.
7. Считываемый компьютером носитель по п.6, в котором каждый элемент воспроизведения дополнительно содержит, по меньшей мере, запись о правилах, которая включает в себя критерии, полезные для определения того, какое воспроизведение является подходящим для конкретного устройства или приложения.
8. Считываемый компьютером носитель по п.7, в котором каждый элемент воспроизведения дополнительно содержит, по меньшей мере, запись описания, которая включает в себя читаемую человеком информацию, связанную с конкретным воспроизведением.
9. Выполняемый компьютером способ обеспечения множественных воспроизведений содержания документов, предусматривающий прием команды от запрашивающего приложения, причем эта команда связана с воспроизведением содержания документа в заданном формате; анализ метаинформации, представляющей собой описание, по меньшей мере, первого и второго воспроизведений содержания документа в различных форматах, предназначенной для идентификации подходящего воспроизведения содержания документа, по результатам которой обеспечивают доступ к идентифицированному воспроизведению для запрашивающего приложения.
10. Выполняемый компьютером способ по п.9, в котором множественные воспроизведения содержания документа хранятся в составном файле.
11. Выполняемый компьютером способ по п.10, в котором анализ метаинформации предусматривает запрашивающие данные о множественных воспроизведениях для определения критерия выбора для использования в идентификации подходящего воспроизведения.
12. Выполняемый компьютером способ по п.11, в котором критерий выбора содержит характеристику для каждого из множественных воспроизведений.
13. Выполняемый компьютером способ по п.12, в котором характеристика содержит, по меньшей мере, одно, выбранное из группы, содержащей тип многоцелевых расширений передачи сообщений в сети Интернет, логическое разрешение и геометрию, глубину цвета, язык, а также классификацию визуальной способности читателя.
14. Выполняемый компьютером способ по п.11, в котором критерий выбора содержит правила для использования конкретного воспроизведения вместе с конкретным приложением или устройством.
15. Выполняемый компьютером способ по п.9, в котором множественные воспроизведения содержат, по меньшей мере, одно визуальное представление содержания документа.
16. Выполняемый компьютером способ по п.15, в котором множественные воспроизведения дополнительно содержат, по меньшей мере, одно другое представление содержания документа.
17. Выполняемый компьютером способ по п.16, в котором упомянутое другое представление содержания документа содержит слышимое представление содержания документа.
18. Считываемый компьютером носитель со структурой данных, содержащей первый поток, включающий в себя содержание документа, соответствующее его первому воспроизведению в формате одного из приложений; второй поток, включающий в себя содержание того же документа, соответствующее его второму воспроизведению в формате другого приложения; хранилище, содержащее ресурсы, на которые ссылается содержание документа; таблицу, которая описывает первое воспроизведение, включенное в первый поток, и ресурсы, на которые оно ссылается, и второе воспроизведение, включенное во второй поток, и ресурсы, на которые оно ссылается.
19. Считываемый компьютером носитель по п.18, в котором таблица включает в себя информацию о каждом воспроизведении, включающем в себя идентификатор для каждого воспроизведения и список файлов, связанный с каждым воспроизведением.
20. Считываемый компьютером носитель по п.19, в котором таблица дополнительно включает в себя критерий выбора для связывания конкретного воспроизведения с конкретным приложением или устройством.
21. Считываемый компьютером носитель по п.18, в котором структура данных дополнительно содержит интерфейс для манипулирования первым воспроизведением как объектом.



