PatentDB.ru — поиск по патентным документам

Иллюстрации к патенту 2322687

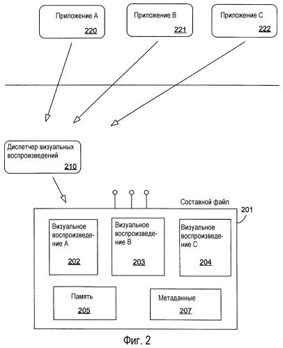
Система и способ для обеспечения множественных воспроизведений содержания документов

Система и способ для обеспечения множественных воспроизведений содержания документов (патент 2322687)