Спортивный тренажер для тренировки мышц груди, дельтовидной мышцы, кости-трапеции и трехглавой мышцы

Иллюстрации

Показать все

Спортивный тренажер для тренировки мышц груди, дельтовидной мышцы, мышц кости-трапеции и трехглавой мышцы, который имеет подвижную скамью, рычаги с держателями, которые несут гимнастическое оборудование, дополнительно содержит защитные панели, а упомянутые рычаги выполнены подвижными по горизонтали под действием приводных средств, управляемых пользователем, который лежит на подвижной скамье, и регулируемыми по вертикали. Использование данного изобретения обеспечивает безопасность тренировки с тяжестями. ф-лы, 5 ил. 6 з.п.

Реферат

Объект настоящего изобретения используется для тренировок в области культуризма, для мышц груди, дельтовидной мышцы, мышц кости-трапеции и трехглавой мышцы.

В настоящее время имеется много тренажеров, которые позволяют пользователям тренировать мышцы груди, дельтовидную мышцу, мышцы кости-трапеции и трехглавую мышцу, но ни один из них не имеет системы, которая может прямо подавать оборудование (гантели, гири для гимнастики и пр.) пользователю, позволяя спортсмену подготовиться к проведению тренировки без каких-либо начальных приготовлений.

Уже существующие на рынке снаряды имеют скамью с подвижными держателями или с неподвижными держателями для удержания грузов.

Ни в одном из этих находящихся в продаже снарядов нет системы, которая является оборудованием для спортсмена, уже сидящего на скамье.

Действительно, перед началом упражнения спортсмен (уже сидящий) должен поднять тяжести, и в конце упражнения он в том же положении тела должен их опустить.

Один из находящихся в продаже тренажеров, раскрытый в патенте ЕР-1-029-562-А1, имеет упоминаемые выше недостатки.

Настоящий тренажер устраняет трудности и недостатки, присущие имеющемуся в продаже оборудованию.

В частности, настоящее изобретение относится к безопасной системе, специально используемой вместе с грузами, подъем которых позволяет уменьшить усилия, прилагаемые спортсменом как до, так и после упражнения, сокращает время, физические усилия и поэтому уменьшает риск растяжения мышц.

Действительно, во время выполнения упражнений с гимнастическими гирями и гантелями на горизонтальной, вертикальной или наклонной скамье спортсмену приходится брать тяжести и ставить их обратно на место.

При увеличении веса грузов значительными становятся физическая усталость и умственное утомление.

Поэтому имеется много случаев травм в области поясницы и суставов предплечья и шеи.

В связи с этим технической задачей настоящего изобретения стало создание тренажера, который позволил бы спортсмену совершенно безопасно тренироваться с тяжестями, обеспечивая возможность управления действием снаряда ступнями ног.

Кроме того, технической задачей изобретения стало создание тренажера, обеспечивающего защиту механических частей от случайного наружного воздействия.

Данные технические задачи были решены за счет создания спортивного тренажера для тренировки мышц груди, дельтовидной мышцы, мышц кости-трапеции и трехглавой мышцы, имеющего подвижную скамью (Н), рычаги с держателями (F), несущими гимнастическое оборудование, который согласно изобретению дополнительно содержит боковые защитные панели, а упомянутые рычаги выполнены подвижными по горизонтали под действием приводных средств, управляемых пользователем, лежащим на подвижной скамье, и регулируемыми по вертикали.

Предпочтительно приводные средства являются пневматическими средствами, управляемыми пользователем с помощью педалей.

Предпочтительно педали, управляющие пневматическими средствами, размещены в упоре для ног подвижной скамьи.

Приводные средства могут быть механическим устройством с рычагами и шкивами.

Приводные средства также могут быть электромеханическим устройством, управляемым пользователем с помощью переключателей.

Приводные средства могут быть электрогидравлическим устройством, управляемым пользователем с помощью тяг.

Предпочтительно приводные средства выполнены управляемыми с электронного пульта управления, имеющего память для запоминания различных положений, выбираемых пользователем.

Далее изобретение будет пояснено более подробно со ссылкой на прилагаемые чертежи, на которых:

Фиг.1 - вид, представляющий вариант воплощения настоящего изобретения, имеющего каркас (А), подвижную скамью (Н), упор (В) для ног, на котором установлены управляющие приводными средствами устройства (С) и в который упираются ноги пользователя во время упражнений, защитные панели (I) и другие элементы безопасности.

Фиг.2 - вид упора для ног, на котором установлены управляющие приводными средствами устройства (С) для осуществления перемещения подвижных рычагов.

Фиг.3 - вид, иллюстрирующий размещение воздушного баллона для приведения в действие подвижных рычагов,

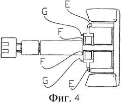
Фиг.4 - вид сверху на подвижные рычаги с фиг.1,

Фиг.5 - вид, показывающий регулируемые по высоте крюки (G), которые удерживают грузы.

Как видно из фиг.1, вариант воплощения тренажера согласно настоящему изобретению, такой тренажер представляет собой каркас А, на котором установлена подвижная скамья Н для размещения пользователя при выполнении упражнений, и упор В для ног, в который упираются ноги пользователя при выполнении упражнений. В тренажере имеется подвижная система рычагов (сервомеханизм) для удержания грузов (гантелей и гимнастических гирь), например, блоки (Е) и (F). Для осуществления управления перемещением рычагов имеется управляющее устройство (С).

Блоки (Е) и (F) после того, как грузы загружены пользователем с помощью пневматического управляющего устройства (на фиг.3 можно видеть положение (D) воздушного бака, который питает пневматический контур) или механического, гидравлического, электрического управляющих устройств, приводятся с помощью управляющего устройства (С), выполненного в виде педалей или тяг, переключателей, нажимных кнопок соответственно.

Блоки (Е) и (F) размещаются на высоте, подходящей для пользователя, как видно на фиг.5.

Теперь спортсмен может захватить грузы и посредством активации педалями возвратить рычаги в их первоначальное положение, не отвлекаясь на это во время тренировки.

Скамья (Н) представляет собой регулируемую скамью, которая позволяет пользователю выполнять упражнения с держателями скамьи в горизонтальном положении для выполнения упражнений на растяжение и для грудных мышц, и вертикальную скамью для выполнения упражнений над головой для развития дельтовидной мышцы, и упражнений с гимнастическими гирями для трехглавой мышцы.

Устройство согласно настоящему изобретению позволяет спортсмену брать и использовать грузы, не меняя своего положения при тренировке, чтобы снизить усилия, которые, особенно в конце тренировки, когда спортсмен устал, могут вызвать воспаление и травмы, не говоря о психологической нагрузке, вызванной мышечным напряжением.

Устройство, которое активирует устройства управления, размещенное на регулируемом упоре для ног, может перемещать сервомеханизмы как пневматической системой, так и механической системой рычагов и шкивов, или любой другой электромеханической или электрогидравлической системой.

Еще одна характеристика заключается в том, что регулируемый упор для ног имеет размеры, которые обеспечивают место для размещения устройств, отдающих команды, и образуют упор для ног во время выполнения упражнений.

К тому же тренажер имеет боковые панели I, размещаемые как для защиты самого механизма, так и обеспечения безопасности спортсмена и проходящих мимо людей, которые могут ненамеренно войти в контакт с частями установки при движении.

Кроме того, боковые панели I могут быть использованы для размещения рекламных материалов.

Дополнительным признаком является возможность использования электронного пульта для управления сервомеханизмами, которые будут запоминать разные положения тела спортсмена в соответствии с типом выполняемых упражнений.

Основные преимущества изобретения заключаются в том, что оно:

1. Обеспечивает повышенную комфортность во время тренировки, т.к. спортсмену не приходится делать такие неестественные движения, как устанавливать оборудование (грузы) в нужное положение до и после упражнения.

2. Повышает физическую безопасность спортсмена, т.к. тяжести должны быть перемещены один раз в начале упражнений, в результате чего снижается риск травм.

3. Повышает физическую безопасность спортсмена, т.к. необходимость поднимать с пола гантели и опускать их на пол в начале и в конце упражнения, часто в горизонтальном положении тела, означает, что мышцы растягиваются неестественным образом, что нередко становится причиной воспаления и припухлости.

4. Удобное пользование снарядом. Для предлагаемой системы не нужно присутствие второго человека, помогающего спортсмену поднимать и опускать грузы.

5. Устраняет проблемы кровяного давления, возникающие из-за чрезмерных физических усилий, особенно в завершающей части упражнений.

6. Устраняет ненужное расходование физической энергии, которую можно использовать для последующих упражнений.

7. Обеспечивает легкое перемещение телескопических рычагов при помощи команд, отдаваемых с помощью ног спортсмена, что позволяет ему оставаться в одном и том же положении тела в течение всего времени выполнения упражнений.

Другой очень важный момент, который следует помнить, состоит в том, что обеспечивается возможность установки гимнастических гирь любого типа или грузов на телескопических рычагах благодаря универсальным кронштейнам, удерживающим грузы.

Это оборудование можно модифицировать, не изменяя сути патента.

1. Спортивный тренажер для тренировки мышц груди, дельтовидной мышцы, мышц кости-трапеции и трехглавой мышцы, имеющий подвижную скамью (Н), рычаги с держателями (F), несущими гимнастическое оборудование, отличающийся тем, что дополнительно содержит защитные панели, а упомянутые рычаги выполнены подвижными по горизонтали под действием приводных средств, управляемых пользователем, лежащим на подвижной скамье, и регулируемыми по вертикали.

2. Спортивный тренажер по п.1, отличающийся тем, что упомянутые приводные средства являются пневматическими средствами, управляемыми пользователем с помощью педалей (С).

3. Спортивный тренажер по п.2, отличающийся тем, что упомянутые педали, управляющие пневматическими средствами, размещены в упоре (В) для ног подвижной скамьи (Н).

4. Спортивный тренажер по п.1, отличающийся тем, что упомянутые приводные средства являются механическим устройством с рычагами и шкивами.

5. Спортивный тренажер по п.1, отличающийся тем, что упомянутые приводные средства являются электромеханическим устройством, управляемым пользователем с помощью переключателей.

6. Спортивный тренажер по п.1, отличающийся тем, что упомянутые приводные средства являются электрогидравлическим устройством, управляемым пользователем с помощью тяг.

7. Спортивный тренажер по п.1, отличающийся тем, что упомянутые приводные средства выполнены управляемыми с электронного пульта управления, имеющего память для запоминания различных положений, выбираемых пользователем.