PatentDB.ru — поиск по патентным документам

Иллюстрации к патенту 2329843

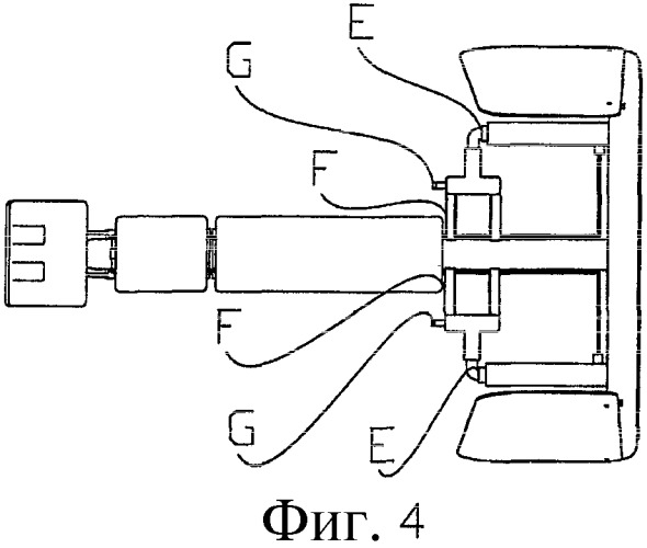
Спортивный тренажер для тренировки мышц груди, дельтовидной мышцы, кости-трапеции и трехглавой мышцы

Спортивный тренажер для тренировки мышц груди, дельтовидной мышцы, кости-трапеции и трехглавой мышцы (патент 2329843)