Автомат распределения данных с регулируемой атмосферой
Иллюстрации
Показать всеИзобретение относится к распределению данных, в частности, на оптических носителях. Техническим результатом является увеличение срока использования носителей путем записи выбранных из массовой памяти данных внутри герметичного корпуса автомата. При этом в герметичный корпус подаются через герметичную камеру чистые оптические диски, чувствительные к кислороду, они упакованы в герметичную упаковку. Эти диски извлекаются из герметичной упаковки средством для их извлечения, передаются на устройство записи и снова помещаются в герметичную упаковку средством герметичной упаковки. После этого они выводятся автоматом из герметичного корпуса через выходную камеру. 7 з.п. ф-лы, 2 ил.
Реферат
ОБЛАСТЬ ИЗОБРЕТЕНИЯ
Изобретение относится к распределению цифровых данных, в частности, к передаче таких данных для использования.
УРОВЕНЬ ТЕХНИКИ
Все знают, что существуют оптические диски, материал которых подвержен изменению цвета под воздействием кислорода и/или света, что делает их непригодными для считывания данных по истечении определенного периода времени и/или определенного количества считываний (не считая случаев случайного попадания света).
Эти оптические диски предназначены для дальнейшего использования. Они продаются в воздухонепроницаемых или светонепроницаемых конвертах, которые необходимо открыть для считывания диска.
Более высокая стоимость дисков и стоимость их конвертов приводит к росту цен на весь комплект дисков.
ЦЕЛЬ ИЗОБРЕТЕНИЯ
Целью изобретения является стимулирование передачи таких оптических дисков для использования путем устранения расходов, вызванных совместным использованием комплектов дисков при предшествующем уровне техники.
СУЩНОСТЬ ИЗОБРЕТЕНИЯ
Преследуемая цель достигается посредством интегрирования в автономный автомат для распределения дисков предшествующего уровня техники (заявка Франции № Fr 0307104) герметичного корпуса, непроницаемого для газов и/или светонепроницаемого, защищенного от кислорода [воздуха], в котором имеется комплект неиспользованных дисков, средство для записи на эти неиспользованные диски, а также средство упаковки записанных дисков в отдельные емкости, защищенные от кислорода, воздухо- и/или светонепроницаемые.
Автономный автомат распределения данных включает в себя, как минимум:
Средство массовой памяти
Средство считывания этого средства массовой памяти
Средство выбора данных из этого средства массовой памяти
Средство записи выбранных данных на отдельные носители данных
Запас отдельных носителей данных
Средство транспортирования отдельных носителей данных внутри распределяющего автомата
Средство подачи отдельных носителей данных, содержащих выбранные данные
Отдельные носители данных, являющиеся самостоятельными портативными средствами, имеющими, по крайней мере, средство хранения информации, и сочетающиеся со средством записи выбранных данных, например, оптические диски.
КРАТКОЕ ОПИСАНИЕ ЧЕРТЕЖЕЙ
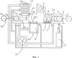
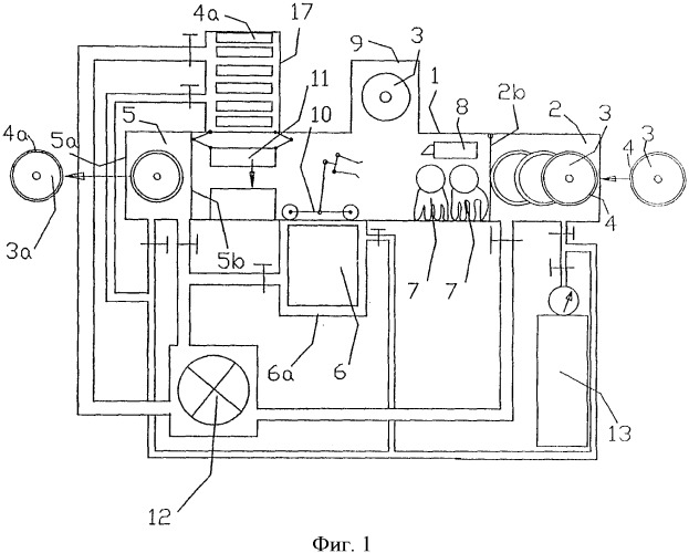
Фиг.1 - схематическое изображение герметичного корпуса 1 и его дополнительных устройств 12 и 13;
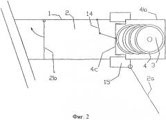
Фиг.2 - схематическое изображение контейнера 4b, установленного на раме дверцы предкамеры (Предкамерой названо устройство воздушного шлюза аппарата) входа 2.
Перечень деталей
1 - Воздухонепроницаемый корпус, защищенный от кислорода
2 - Предкамера входа для неиспользованных носителей данных 3
2а - Внешняя дверца предкамеры 2 входа
2b - Внутренняя дверца предкамеры 2 входа
3 - Неиспользованные носители данных
3а - Носители данных с записями
4 - Индивидуальная упаковка неиспользованных носителей данных 3
4а - Индивидуальная упаковка записанных носителей данных 3а
4b - Контейнер с упаковками неиспользованных носителей данных 3
4с - Крышка контейнера 4b
5 - Переходная камера выхода для носителей данных с записями 3а
5а - Внешняя дверца переходной камеры 5 выхода
5b - Внутренняя дверца переходной камеры 5 выхода
6 - Средство записи на носители данных 3
7 - Устройство извлечения чистых дисков 3 из упаковки 4
8 - Инструмент, используемый устройством извлечения 7
9 - Устройство промежуточного накопления неиспользованных носителей данных 3, извлеченных из упаковки 4
10 - Устройство подачи и транспортирования неиспользованных носителей данных 3 и записанных носителей данных 3а
11 - Устройство индивидуальной упаковки носителей данных с записями 3а
12 - Средство удаления воздуха
13 - Запас инертного газа
14 - Средство предкамеры 2, позволяющее открывать крышку 4 с контейнера 4b
15 - Защитное устройство предкамеры 2
16 - Вторичный контур циркуляции для анализа и очистки воздуха в корпусе 1
17 - Запас непроницаемых упаковок 4а для упаковки носителей данных с записями 3а
ПОДРОБНОЕ ОПИСАНИЕ
Первое предпочтительное исполнение (Фиг.1). В структуру распределяющего автомата, содержащего по крайней мере массовую память, средство извлечения данных из этой массовой памяти, введен воздухонепроницаемый, непрозрачный и защищенный от кислорода корпус 1, который имеет, по крайней мере:
предкамеру входа 2 с внешней 2а и внутренней 2b дверцами, посредством которой неиспользованные носители данных 3 можно поместить в воздухонепроницаемую, защищенную от кислорода упаковку 4, индивидуальную или общую;
переходную камеру выхода 5 с внешней 5а и внутренней 5b дверцами, посредством которой записанные носители данных 3а выходят из устройства в индивидуальной воздухонепроницаемой, защищенной от кислорода упаковке 4а;
устройство извлечения 7 неиспользованных носителей данных 3 из герметичной упаковки 4, общей или индивидуальной, например, герметичные перчатки 7а, доступные снаружи корпуса 1 и позволяющие удерживать простые инструменты 8, находящиеся внутри корпуса, например, резак;
устройство накопления 9 неиспользованных носителей данных 3, извлеченных из защитной упаковки 4;
средство записи 6 выбранных данных на чистые носители данных 3;
средство индивидуальной упаковки 11, закрывающее записанные носители данных 3а в индивидуальной герметичной защищенной от кислорода упаковке 4а;
запас 17 индивидуальных непроницаемых упаковок 4а или материалов и средств для формирования таких непроницаемых индивидуальных упаковок, или первоначальных упаковок 4, предназначенных для повторного использования, возможно, в воздушном шлюзе;
средство подачи и транспортирования 10, например, специальная тележка, оснащенная захватными устройствами и способная перемещаться от предкамеры входа 2 к выходной переходной камере 5 для введения извлеченных из упаковки неиспользованных носителей данных 3 в устройство записи 6 и последующего выхода из нее записанных носителей данных 3а, затем для введения записанных носителей данных в средство индивидуальной упаковки 11, и для ввода упакованных носителей данных в переходную камеру выхода 5;
устройство 12 удаления воздуха, проникающего в предкамеру входа 2 и переходную камеру выхода 5, например, вакуумный насос;
запас инертного газа 13.
Второе предпочтительное исполнение - это исполнение отличается от предыдущего следующим:
Предкамера входа 2 имеет форму и размеры такие, что воздухонепроницаемая упаковка
4 может точно разместиться в ней;
воздухонепроницаемая упаковка 4 состоит из жесткого или полужесткого контейнера 4b, имеющего крышку 4 с;
остаточный воздух между предкамерой 2 и контейнером 4b удаляется посредством циркуляции нейтрального газа, возможно, связанной с удалением воздуха при помощи средства 12;
устройство 14 предкамеры 2 открывает и закрывает крышку 4 с, давая возможность использовать чистые носители данных 3 с помощью устройства подачи 10.
Третье предпочтительное исполнение - это исполнение отличается от предыдущих следующим:
Форма и размеры предкамеры 2 входа таковы, что крышка контейнера 4b точно и плотно входит в раму внутренней дверцы 2b этой предкамеры 2 входа;
воздух, содержащийся между крышкой 4 с контейнера 4b и внутренней дверцей 2b прекамеры 2, удаляется посредством циркуляции нейтрального газа, возможно, связанной с удалением воздуха при помощи средства 12;
соединение предкамеры 2 и контейнера 4b обеспечивается устройством 15, предотвращающим удаление контейнера, когда не закрыты внутренняя дверца 2b и крышка 4 с контейнера;
устройство 14 предкамеры 2 открывает и закрывает крышку 4 с контейнера 4b, позволяя использовать чистые носители данных с помощью устройства подачи 10;
устройство 15 не позволяет открывать внутреннюю дверцу 2b предкамеры 2, если не была произведена циркуляция нейтрального газа.
Четвертое предпочтительное исполнение (Фиг.2) - это исполнение отличается от предыдущих следующим:
Форма и размеры предкамеры 2 входа таковы, что что крышка контейнера 4b точно и плотно входит в раму внешней дверцы 2b этой предкамеры входа 2;
воздух, содержащийся в предкамере 2 между крышкой 4 с контейнера 4b и внутренней дверцей 2b прекамеры 2, удаляется посредством циркуляции нейтрального газа, возможно, связанной с удалением воздуха при помощи средства 12;
соединение предкамеры 2 и контейнера 4b обеспечивается устройством 15, предотвращающим удаление контейнера 4b, если внутренняя дверца 2b предкамеры 2 и крышка 4 с контейнера 4 не закрыты;
устройство 14 камеры 2 открывает и закрывает крышку 4 с контейнера 4b.
Пятое предпочтительное исполнение (Фиг.1) - это исполнение отличается от предыдущих следующим:
В герметичном корпусе 1 или снаружи его, во вторичном контуре 16, осуществляющем рециркуляцию воздуха внутри корпуса 1, имеется средство связывания кислорода в корпусе, например простой окисляемый элемент;
В герметичном корпусе 1 или во вторичном контуре 16 имеется датчик кислорода, возможно, подключенный к системе предупреждения.
Шестое предпочтительное исполнение (Фиг.1) - это исполнение отличается от предыдущих следующим:
Устройство записи 6 на чистые носители данных 3 помещено в герметичную камеру 6а, что позволяет его извлечь без попадания воздуха в герметичный корпус 1.
Седьмое предпочтительное исполнение - это исполнение отличается от предыдущих следующим:
Если неиспользованные носители, данных 3 имеют индивидуальную герметичную свободную от кислорода упаковку 4, эта упаковка открывается и используется повторно как упаковка для носителей с записью За, например, упаковка 4 для носителей данных 3 имеет диаметр, значительно превышающий диаметр носителей данных 3 и обеспечивается запечатывание упаковки близко к ее краю;
при таких условиях средство 7 извлечения носителей данных 3 из упаковки удаляет край упаковки, оставляя вокруг носителей данных 3 достаточно места для обеспечения повторного запечатывания;
остальные элементы упаковки 4 передаются к устройству 11 упаковки записанных носителей данных 3а, которое помещает носители с записью между упомянутыми оставшимися элементами и обеспечивает запечатывание новой упаковки сваркой этих элементов с краем.
1. Автомат распределения данных, включающий, по меньшей мере, массовую память;
средство выбора данных из этой массовой памяти;
при этом автомат включает герметичный корпус, в котором размещены
средство ввода в этот герметичный корпус носителей данных в первоначальной индивидуальной или общей плотной упаковке;
средство извлечения носителей данных из их первоначальной герметичной упаковки;
средство записи данных, выбранных из массовой памяти, на носители данных;
средство повторной упаковки в окончательную герметичную упаковку носителей данных с записанными выбранными данными, с использованием заготовленных или изготовляемых упаковок, либо с повторным использованием первоначальных упаковок;
средство извлечения из герметичного корпуса носителей данных в окончательной плотной упаковке;
средство транспортирования носителей данных от средства ввода в герметичный корпус к средству извлечения носителей данных из первоначальной герметичной упаковки, а затем к средству записи, затем к средству повторной упаковки, и затем к средству вывода из герметичного корпуса.
2. Автомат распределения данных по п.1, характеризующийся тем, что указанные средства ввода в герметичный корпус носителей данных и указанные средства извлечения из герметичного корпуса упакованных носителей данных являются предкамерами воздушного шлюза.
3. Автомат распределения данных по п.2, характеризующийся тем, что носители данных находятся в защищенном от кислорода герметичном контейнере, и что размеры предкамеры входа и этого контейнера таковы, что контейнер плотно помещается в предкамере входа.
4. Автомат распределения данных по п.2, характеризующийся тем, что носители данных размещаются в защищенном от кислорода герметичном контейнере, имеющем крышку, которая точно и плотно точно входит в предкамеру входа.
5. Автомат распределения данных по п.1, характеризующийся тем, что в составе автомата имеется средство извлечения газа из герметичного корпуса, а также запас инертного газа.
6. Автомат распределения данных по п.1, характеризующийся тем, что первоначальные индивидуальные герметичные упаковки носителей данных запечатываются таким образом, чтобы обеспечить достаточно места для повторного запечатывания указанным средством индивидуальной упаковки после их открытия устройством извлечения.
7. Автомат распределения данных по п.1, характеризующийся тем, что средство записи размещено в герметичной камере, что позволяет извлекать его без возможности попадания кислорода внутрь герметичного корпуса.
8. Автомат распределения данных по п.1, характеризующийся тем, что устройство накопления чистых носителей данных в герметичном корпусе имеет предкамеру, позволяющую извлекать эти носители данных из герметичного корпуса.

