PatentDB.ru — поиск по патентным документам

Иллюстрации к патенту 2343572

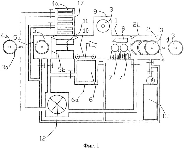
Автомат распределения данных с регулируемой атмосферой

Автомат распределения данных с регулируемой атмосферой (патент 2343572)