Способ и устройство для поддержания или снижения уровня жидкостей в забое газовой скважины
Иллюстрации
Показать всеНастоящая группа изобретений относится к устройству и способу для удаления жидкостей из интервала забоя газовой скважины. Техническим результатом изобретений является обеспечение эффективного и экономичного способа и устройства для очистки газовых скважин. Устройство содержит суживающуюся или горловинную секцию, в которой поток добываемого газа из скважины обеспечивает возможность создания зоны низкого давления, имеющую давление, более низкое, чем давление газа окружающей формации. Устройство имеет и канал, обеспечивающий проход для потока из предшествующего местоположения в скважине в зону низкого давления. Этот канал имеет первый конец, заканчивающийся в предшествующем местоположении, и второй конец, заканчивающийся в сужающейся секции или над или под сужающейся секцией, имеющей наименьший диаметр, и выполненный в виде трубы с, по меньшей мере, одним отверстием для входа газа формации в расположение между предшествующим положением и зоной низкого давления. Труба имеет гибкую секцию или телескопическое соединение и поплавок, соединенный с первым концом канала. По способу обеспечивают применение вышеописанного устройства. 2 н. и 14 з.п. ф-лы, 9 ил.
Реферат
Настоящее изобретение в общем относится к устройству и способу для удаления жидкостей из интервала забоя газовой скважины.
Многие газовые скважины помимо газа производят также и жидкости. Эти жидкости включают воду, нефть и конденсат. Как указано в статье SPE 2198 Society of Petroleum Engineers of AIME, R.G.Turner, A.E.Dukler and M.G.Hubbard: «во многих случаях углеводороды газовой фазы, получаемые в подземных пластах, будут иметь сопутствующий им материал жидкой фазы, присутствие которого может вызвать реологические свойства скважины. Жидкости могут поступать в результате конденсации углеводородного газа (конденсата) или от внутрипоровой воды в основной породе пласта. И в том, и в другом случаях жидкая фаза с более высокой плотностью, будучи по существу прерывистой, должна транспортироваться на поверхность газом. Если газовая фаза не обеспечивает достаточную энергию транспортирования для подъема жидкостей из скважины, то жидкость будет скапливаться в стволе скважины. Скапливание жидкости будет создавать дополнительное противодавление на формацию и может в значительной степени отрицательно повлиять на производительность скважины». С течением времени скопившаяся жидкость полностью блокирует скважину и обусловит ее преждевременную ликвидацию. Удаление этой жидкости восстановит поток газа и повысит используемость и производительность газовой скважины.
Известный уровень техники предложил многие технические решения для решения проблемы скопления жидкостей. Некоторые из них вкратце характеризуют Е.J.Hutlas и W.R.Granberry в статье "A Practical Approach to Removing Gas Well Liquids", Journal of Petroleum Technology, August 1972, p.916-922. Обзор прочих решений изложен в патенте США №5904209. С более новыми достижениями в эксплуатации газовых и других углеводородных скважин можно ознакомиться, например, в патентах США №№5636693; 5937946; 5957199 и 6059040.
Известно устройство для подержания или снижения уровня жидкости в забое газовой скважины, содержащее суживающуюся или горловинную секцию, в которой поток добываемого газа из скважины создает зону низкого давления, имеющую давление, более низкое, чем давление газа окружающей формации, и по меньшей мере один канал, обеспечивающий проход для потока из предшествующего местоположения в скважине в зону низкого (см., например, авторское свидетельство СССР 977725 от 30.11.82).
Известен способ подержания или снижения уровня жидкостей в забое газовой скважины, согласно которому суживают поток добываемого газа в местоположении в скважине для создания зоны низкого давления, в которой давление ниже давления газа окружающей формации, и создают канал, обеспечивающий проход для потока от предшествующего местоположения в скважине в зону низкого давления (см., например, авторское свидетельство СССР 977725 от 30.11.82).
Для решения вышеуказанной проблемы можно также использовать погружные насосы. Но затраты на применение этих насосов нередко не оправдываются экономическим эффектом их применения.
С другой стороны, известно, что добычу из пластов с низким давлением можно повысить с помощью струйных насосов и методами насосно-компрессорной добычи. Например, струйные гидронасосы использовались как скважинные насосы для насосно-компрессорной добычи газа. В этих типах гидравлических насосов перекачивающее действие обеспечивается за счет передачи энергии между двумя подвижными потоками текучей среды. Силовая текучая среда с высоким давлением (с низкой скоростью) преобразуется в струю низкого давления (с высокой скоростью) с помощью соплового или горловинного интервала на пути потока силовой текучей среды. Давление в горловине снижается при повышении расхода силовой текучей среды, что известно как «эффект Вентури». Когда это давление становится ниже давления во всасывающем проходе, текучая среда вытягивается из ствола скважины. Всасываемая текучая среда увлекается струей высокой скорости, и таким образом начинается перекачивающее действие. После смешивания в горловине объединенные силовая текучая среда и всасываемая текучая среда перекачиваются на поверхность.
Техническим результатом настоящего изобретения является создание эффективных и экономичных способа и устройства для очистки газовых скважин.
Этот технический результат достигается тем, что устройство для поддержания или снижения уровня жидкостей в забое газовой скважины содержит суживающуюся или горловинную секцию, в которой поток добываемого газа из скважины создает зону низкого давления, имеющую давление, более низкое, чем давление газа окружающей формации, и канал, обеспечивающий проход для потока из предшествующего местоположения в скважине в зону низкого давления и имеющий первый конец, заканчивающийся в предшествующем местоположении, и второй конец, заканчивающийся в сужающейся секции или над или под сужающейся секцией, имеющей наименьший диаметр, и выполненный виде трубы с, по меньшей мере, одним отверстием для входа газа формации в расположение между предшествующим положением и зоной низкого давления, имеющей гибкую секцию или телескопическое соединение и поплавок, соединенный с первым концом канала.
Суживающейся секцией может быть конструкция Вентури.
Канал может иметь отверстия для входа газа формации по существу в одном местоположении между предшествующим местоположением и зоной низкого давления.
Отверстия могут быть расположены по окружности канала, по существу, в одном положении между предшествующим местоположением и зоной низкого давления.
Канал может иметь единственное отверстие для входа газа формации в положении между предшествующим местоположением и зоной низкого давления.
Канал может быть выполнен с возможностью обеспечения по существу постоянного расстояния между отверстиями и уровнем жидкостей в скважине.
Канал может быть, по существу, прямым.
Предшествующее местоположение может находиться ниже самой низкой перфорации добычи газа.
Сужающаяся секция может быть расположена над зоной перфорации добычи газа.
Сужающаяся секция может быть расположена над зоной перфораций добычи газа, и предшествующее местоположение находится ниже указанной зоны.
Канал может иметь длину, превышающую 5 метров. Соотношение площади поперечного сечения отверстия канала к площади сечения канала может иметь значения в пределах от 0 до 1.
Согласно изобретению создан способ подержания или снижения уровня жидкостей в забое газовой скважины, согласно которому сужают поток добываемого газа в местоположении в скважине для создания зоны низкого давления, в которой давление ниже давления газа окружающей формации, и создают канал, обеспечивающий проход для потока от предшествующего местоположения в скважине в зону низкого давления и имеющий первый конец, заканчивающийся в предшествующем местоположении, и второй конец, заканчивающийся в зоне низкого давления, и выполненный в виде трубы с отверстиями для входа газа формации в расположение между предшествующим положением и зоной низкого давления, имеющей гибкую секцию или телескопическое соединение, способные реагировать на перемещение поплавка, соединенного с первым концом канала.
При осуществлении способа можно дополнительно определять расход газа, высоту поднятия жидкости для достижения зоны низкого давления и число, представляющее размер сужения, при котором низкое давление в зоне низкого давления является достаточным для подъема жидкостей на указанную высоту, создавать сужение потока в интервале забоя эксплуатационных труб в скважине, обеспечивать положение, по меньшей мере, одного отверстия канала, по существу, на постоянной высоте над уровнем жидкости в скважине.
Эти и прочие особенности настоящего изобретения поясняются в приводимом ниже подробном описании неограничивающих примеров со ссылками на чертежи, на которых изображено следующее:
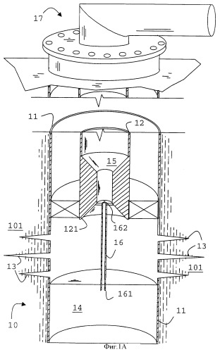
фиг.1А показывает элементы устройства для откачки жидкостей из отстойника газовой скважины согласно настоящему изобретению;
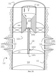
фиг.1 В показывает вариант устройства, показанного на фиг.1А;
фиг.2А-С показывают другие варианты устройства для откачки жидкости из отстойника газовой скважины;
фиг.3 показывает основные параметры для адаптирования устройства согласно изобретению к условиям данной скважины;
фиг.4 - график, целесообразный для адаптирования устройства согласно изобретению к условиям данной скважины;
фиг.5 - блок-схема, показывающая процесс адаптирования устройства согласно изобретению к условиям данной скважины;
фиг.6 - график сравнения показателей вариантов настоящего изобретения.
На Фиг.1 показаны газовая скважина 10 с обсадной трубой 11 и насосно-компрессорной трубой 12 добычи газа. Перфорации 13 проходят в обсадную трубу для открытия газоносной формации 101. Отстойник 14 в забое скважины 10 показан наполненным водой или углеводородными конденсатами.
Настоящее изобретение предлагает установить на конце 121 добывающей трубы сужающуюся секцию 15 для сужения потока. Сужающаяся секция 15 может быть выполнена в виде конструкции «Вентури», и она создает перепад давления между суженным интервалом и соседними интервалами напорной трубы. Величина перепада давления в основном зависит от размеров сужения, т.е. диаметра сужающейся секции 15 относительно номинального диаметра добывающей трубы 12 и от расхода проходящей по ней среды. Из сужающейся секции 15 меньшая труба или стояк 16 обеспечивает сообщение посредством текучей среды с местоположением 161 ближе к забою скважины. На поверхности установлены средства 17 отбора газа, которые отбирают газ и подают его далее.
В процессе работы газ входит в скважину 10 через перфорации 13 и проходит через секцию 15, при этом создавая перепад давления DP=Р0-Р1. Низкое давление Р1 в секции 15 поднимает жидкости из отстойника. Жидкость выходит из верхнего отверстия или сопла 162 стояка 16 в виде тумана или в распыленном виде и уносится к поверхности потоком газа.
Необходимо отметить, что перепад давления Р, создаваемый сужающейся секцией, возможно и не будет достаточным для подъема жидкости из отстойника при некоторых режимах расхода. Для усовершенствования этого устройства можно предусмотреть выходное отверстие 163 в стояке в местоположении между нижним концом 161 трубы 16 и его верхним соплом 162. Этот вариант настоящего изобретения показан на Фиг.1В.
Через выходное отверстие 163 газ из зоны добычи входит в канал и смешивается с жидкостями. Получаемая таким образом смесь имеет более низкую плотность и поэтому может подниматься выше за счет того же перепада давления.
Фиг.2 показывает еще один вариант устройства согласно настоящему изобретению с использованием элементов, аналогичных или идентичных тем, которые упомянуты в излагаемых выше вариантах и поэтому используют аналогичные или идентичные ссылочные обозначения. В данном варианте стояк 26 смещен с центра по отношению к сужающейся секции 25. Стояк по существу прямой, без сгибов и представляет собой меньшее препятствие в сужении. Сопло 262 расположено над горловинной или суживающейся секцией в виде конструкции Вентури в зоне, где перепад давления может быть несколько пониженным по сравнению с перепадом давления в самой сужающейся секции. Но преимущества наличия прямого стояка могут перевешивать эту потерю. Выходное отверстие 263 выполнено вблизи нижнего конца 261 стока 26.
Согласно варианту, показанному на фиг.2В, стояк 26 оканчивается в воронке 262, которая сгибом выходит в сужающуюся секцию 25, которая имеет наименьший диаметр и, следовательно, наибольший перепад давления. Отверстие 262 расширяется и поэтому сводит к минимуму перепад давления из-за сгиба в проходе потока жидкости. Выходное отверстие 262 выполнено вблизи нижнего конца 261 стока 26.
Еще один вариант показан на фиг.2С, в котором стояк 26 на своем конце имеет поплавковый элемент 264. В связи с гибкой секцией 265 трубы поплавок обеспечивает расположение отверстия 263 на постоянной высоте над уровнем жидкости 14 в скважине 10. Поплавковый элемент 264 может быть выполнен как газонепроницаемый кожух. Гибкая секция 265 может быть выполнена как расширяющиеся меха (фиг.2С), или как телескопическое сочленение, или, фактически, как гибкая часть стояка 26, которая несколько сгибается и выпрямляется в зависимости от положения поплавка.
Точные параметры определения местоположения и размеров промежуточного отверстия 163, 263 или отверстий более подробно излагаются ниже. Роль этого отверстия заключается в обеспечении прохода добываемого газа в поток жидкости в стояке 16, 26. Получаемая при этом смесь газа и жидкости имеет более низкий вес, чем жидкость, и для подъема жидкостей из отстойника можно использовать даже низкий расход добываемого газа. Либо длину (или высоту) стояка 16, 26 и поэтому высоту подъема жидкости можно увеличить при постоянном, в иных случаях, расходе газа из скважины.
В излагаемом ниже подробном описании приводятся главные конструкционные и другие параметры, которые можно применять для установки и эксплуатации устройств в соответствии с настоящим изобретением. Ссылка делается на Фиг.3, где показаны параметры и координаты, используемые в приводимом ниже описании.
Насос 30 Вентури, в котором основной поток газа создает перепад давления для подъема жидкости из отстойника S в забое скважины в горловину V Вентури, где она распыляется и затем подается вверх с основным потоком газа. Капли жидкости затем могут касаться стенок ствола и формировать тонкую жидкую пленку, которая стекает обратно вниз, и потому способ может потребовать выполнения нескольких этапов.
Если перепад давления между местоположением S и V, представленный как Р=PS-PV, достаточно большой, то жидкость может подниматься с S к V при общей высоте Ht=Н1+Н2. Жидкость не будет течь, если перепад давления Р не сможет преодолеть гидростатический напор, т.е. пока не будет соблюдено следующее условие:
где D1 есть плотность жидкости, и g есть ускорение силы тяжести. Перепад давления, создаваемый эффектом Вентури, вероятно будет небольшим, и поэтому высота Н1+Н2 будет небольшой. В этих условиях Вентури необходимо будет установить достаточно близко к скоплению поднимаемой жидкости.
Если взаимосвязь [1] не будет соблюдена, то газ (с плотностью Dg<D1) можно будет вводить в вертикальный стояк в отверстии Ai, и поэтому плотность газо-жидкой смеси в трубе 31 будет снижена до Dm>D1, с достаточно небольшим значением Dm:
В типичной скважине имеются несколько параметров для оптимизации, и в их числе: перепад давления Р, создаваемый сужением Вентури; высота Н впуска газа и площадь Ai его поперечного сечения, и площадь At поперечного сечения стояка.
Перепад давления DP в Вентури, обусловленный потоком добываемого газа, можно определить следующим образом:
где Ugv - скорость газа в сужении, и k - диаметр сужения Вентури как часть k номинального диаметра dw трубы добычи газа. Перепад гидростатического давления в наполненной газом скважине вводится в это давление DP с получением:
Поток можно анализировать с точки зрения скорости U1 жидкости в нижнем стояке (длиной H1), отношения А=Ai/At площади Ai поперечного сечения впуска газа к площади сечения стояка At. В=Asqrt(D1/Dg), где sqrt обозначает возведение в квадрат, и G=H2gD1/Р. Параметр G можно интерпретировать как отвлеченное число, указывающее способность устройства поднимать жидкости из отстойника S с G=1, что соответствует случаю, когда перепад давления Р будет именно таким, чтобы смочь поднимать жидкость на минимальное расстояние Н2, требуемое для работы устройства.
Используя эти параметры в качестве приближения, Р можно вычислить следующим образом:
Р=(1/2)U12D1(1+2A2+2D(1+Dg/D1)+
где F1 - доля жидкого объема
P1=1/(1+Bsqrt(1+GH1/(H2U12)))
Уравнение (5) можно вычислить в числах или приблизительно. На Фиг.4 показан график зависимости U12 D1/2P от Н1/Н2 для разных значений параметра В (Кривые а, b, с, d).
При использовании новых устройств важно знать перепад давления Р, который можно создать с помощью насоса Вентури, при вероятном расходе Q газа в скважине, и также высоту Н2, на которую поднимается жидкость. Зная Р, можно оценить вероятное значение для G, предпочтительно с помощью минимального вероятного значения для Р. При этом используя значение В как B>G-1. Для оптимизирования расхода жидкости предпочтительно сделать В как можно меньшим, при соблюдении B>G-1. График, аналогичный графику Фиг.4, можно использовать для выведения вероятной скорости U1 жидкости, и затем выбрать площадь At поперечного сечения главного стояка, чтобы объемный расход (U1 At), перекачиваемый вверх, превышал расход, при котором вода, вероятно, будет поступать в скважину.
Указанные этапы представлены на блок-схеме Фиг.5, включая следующие этапы:
1. Определение целесообразного значения для А=Ai/At (этап 50). Площадь Ai отверстия, через которое газ входит в главный стояк (который поднимает жидкость в горловину V Вентури (фиг.3), вероятно будет порядка площади At поперечного сечения самого стояка. Например, А=0.5 будет вероятным выбором.
2. Если плотность воды - D1, и плотность газа в забое - Dg, то можно оценить В=Asqrt(D1/Dg) (этап 51).
3. Зная высоту Н2, на которую вода должна подниматься, чтобы устройство работало, т.е. без блокирования отверстия Ai, можно определить перепад давления Р, создаваемый сужением Вентури (этап 52).
4. Отвлеченное количество G=Н2gD1/Р должно быть меньше, чем В+1, чтобы устройство работало; и рациональный запас надежности дается, например, выбором G=2(В+1)2/(4В+3). Это дает значение для G и целевое расчетное значение для Р. Если G<1, то будет возможно поднять воду на высоту Н2 без введения газа, но настоящий пример основывается на предположении G>1.
5. Для определения конструкции Вентури, значение k для соотношения диаметра сужения Вентури к его впускному диаметру является наиболее соответствующим расчетным параметром. Помимо этого, необходима оценка или знание скорости Ug газа в забое и плотности Dg газа в забое (этап 53). Перепад давления DP=(1/2)DgUgv2 (1-k4) позволяет вычислить параметр k сужения (этап 54).
Значение k не должно быть настолько малым, чтобы появилась вероятность блокирования конструкции Вентури. Если получаемое значение k оказывается слишком малым (этап 55), то можно выбрать значение G ближе к максимуму В+1 (этап 56) - с тем риском, что эта конструкция будет ближе к теоретическому рабочему пределу и поэтому - менее надежной в эксплуатации.
6. Если расход газа в скважине высокий, то значение k, получаемое на этапе 5, будет очень близким к 1 (этап 57). При этих условиях количество газа, требуемое для подъема воды в главном стояке, снизится, тем самым снизив неопределенность расчета, допустив меньший диаметр горловины (напр., k=0,5). Это приводит к увеличению перепада давления Р, и указанный метод расчета можно выполнить в обратном порядке, чтобы получить А (этап 58), которое будет меньше, чем А=0,5, полученное на этапе 50 в качестве исходного момента расчета. Поэтому в скважине с достаточным расходом газа имеется повышенная степень свободы выбора параметров k и А.
7. Уровень воды или конденсата в скважине является расстоянием H1 ниже точки, в которой газ входит в главный стояк. Чтобы устройство работало, требуется следующее условие: H1/H2<1/G. Диапазон приемлемых значений для H1 поэтому невелик, и предпочтительный выбор для H1 ближе к значению H2/(2G), или в непосредственной близости к отверстию забоя стояка.
8. Уравнение (5) можно оценить в числах или с помощью приближения, чтобы спрогнозировать скорость U1 жидкости в интервале стояка в забое. Типичные результаты уравнения (5) показаны на Фиг.4. Выбор U1 позволяет выбрать диаметр главного стояка (этап 59). Этот диаметр предпочтительно небольшой по сравнению с диаметром скважины и небольшой по сравнению с горловиной сужения Вентури, для обеспечения того, чтобы давления в конструкции Вентури не испытывали отрицательного воздействия со стороны слишком большого поступления смеси газа и жидкости.
Приводимое ниже описание представляет способ применения указанных этапов для конкретной скважины.
Расход газа в скважине равен 0.22×106 м3/сутки при нормальных температуре и давлении (1 бар, 15°С=28 8 К). Предполагается, что давление и температура в забое: 38 бар и 50°С.
Предположив, что газ идеальный, объемный расход в скважинных условиях составляет 0,079 куб.м/сек-1. Внутренний диаметр насосно-компрессорной трубы добычи газа составляет 4,4 дюйма. Площадь поперечного сечения стояка S=9,8×10-3 кв.м, и поэтому скорость в забое в стояке vd=8,1 мсек-1. Плотность газа можно принять равной 0,65, что соответствует плотности газа в стандартных условиях 0,78 кгм-3. Плотность Dg газа в условиях забоя составляет 25,3 кгм-3.
Перепад давления, создаваемый конструкцией Вентури при соотношении диаметров горловины и впуска k=0,5 составляет 12,4 кПа (1,8 фунт/кв.дюйм): с помощью уравнения (3). Оценка отвлеченного количества G=Н2gD1/Р, т.е. давление, нужное для подъема жидкости на высоту Н2, делится на перепад давления, создаваемый за счет эффекта Вентури. Плотность воды составляет D1=1000 кгм-3. Если Н2=15 м, то G=11,9; причем если Н2=40 м, то G=31,6.
При меньшем сужении Вентури k=0,35, создаваемый перепад давления равен 54,5 кПа (7,9 фунт/кв. дюйм). Если Н2=15 м, то G=2,7; в то время как если Н2=40 м, то G=7,2.
Выбор значения для В=Asqrt(D1/Dg), где отношение A=Ai/At площади Ai поперечного сечения впуска газа и площади At стояка; Dg - плотность газа в забое. Если В<G-1, то устройство не будет работать, поскольку в главный стояк будет поступать недостаточное количество газа.
Четыре найденные выше значения G соответствуют минимальным значениям В=10,9; 30,6; 1,7; 6,2, и поэтому минимальные значения А=1,7; 4,9; 0,27; 0,99. Первые два значения не считаются достаточно небольшими, чтобы быть действительными (площадь впуска превышает площадь стояка). Последнее значение близко к практическому пределу и соответствует впуску газа, который имеет ту же площадь поперечного сечения, что площадь поперечного сечения главного стояка. Наиболее рациональная конструкция, основанная на поясняемом выше расчете, соответствует Вентури, где k=0,35 и Н2=15 м, и в этом случае В=3 (при этом дополнительный запас надежности сравним с минимальным значением 1.7) и А=0,48.
Исходя из того, что нужный расход 80 куб.м воды на каждый миллион кубометров газа (при стандартных условия): расход, при котором вода должна подниматься, составляет 17,6 кубометров/сутки=2×10-4м3сек-1. Фиг.4 показывает, что скорости обычно превышают U1=1,0 м сек-1. Поэтому главный стояк должен иметь площадь 2×10-4 м2, что соответствует трубе диаметром 1,6 см, и это сравнимо с внутренним диаметром насосно-компрессорной трубы, равным 11,17 см.
Конструкцию Вентури можно расположить на насосно-компрессорной трубе вровень с верхом перфораций; при этом стояк будет соединять перфорированную зону добычи глубиной около 15 м, в результате чего вода поднимется на Н2=15 м. Излагаемая выше конструкция указывает, что конструкция Вентури имеет предпочтительное отношение горловины/впуска k=0,35, т.к. значение k=0,5 не будет достаточным, и что высота подъема Н2=15 м может быть достижимой. Главный стояк, который поднимает воду к горловине Вентури, будет иметь диаметр 1,6 см и площадь At=2 кв.см поперечного сечения. Площадь Ai впуска газа, по которому газ входит в главный стояк, составляет Ai=0,48 At.
Прочие экспериментальные данные представлены на Фиг.6 и иллюстрируют эффекты выходных отверстий разного размера (отверстия 163, 263 на Фиг.1 и 2). На графике значения ординаты показывают расход жидкости, извлекаемой из отстойника, в кубометрах в час. Абсцисса показывает перепад давления в паскалях. Эксперимент без применения выходного отверстия - соответствует устройству Фиг.1А - обозначен ромбами. Значения, выведенные из эксперимента с отверстием 1 мм в диаметре, показаны квадратами. Значения, выведенные из эксперимента с использованием отверстия размером 3 мм, показаны треугольниками.
Эксперименты демонстрируют целесообразные последствия дополнительного отверстия при низком DP. Также показано, что при использовании большей площади Ai отверстия имеет место снижение рабочих показателей.
Хотя настоящее изобретение излагается на описываемых выше приводимых в качестве примера осуществлениях, специалистам в данной области техники из данного описания будут очевидны многие эквивалентные модификации. Соответственно, приводимые в качестве примера осуществления настоящего изобретения, изложенные выше, нужно считать поясняющими, но не ограничивающими. В рамках идеи и объема настоящего изобретения в описываемых выше осуществлениях могут быть выполнены различные изменения.
1. Устройство для поддержания или снижения уровня жидкостей в забое газовой скважины, содержащее суживающуюся или горловинную секцию, в которой поток добываемого газа из скважины создает зону низкого давления, имеющую давление, более низкое, чем давление газа окружающей формации, и канал, обеспечивающий проход для потока из предшествующего местоположения в скважине в зону низкого давления, имеющий первый конец, заканчивающийся в предшествующем местоположении, и второй конец, заканчивающийся в сужающейся секции или над или под сужающейся секцией, имеющей наименьший диаметр, и выполненный в виде трубы с, по меньшей мере, одним отверстием для входа газа формации в расположение между предшествующим положением и зоной низкого давления, имеющей гибкую секцию или телескопическое соединение, и поплавок, соединенный с первым концом канала.
2. Устройство по п.1, в котором суживающейся секцией является конструкция Вентури.
3. Устройство по п.1, в котором отверстия канала расположены, по существу, в одном местоположении между предшествующим местоположением и зоной низкого давления.
4. Устройство по п.3, в котором отверстия канала расположены по окружности канала, по существу, в одном положении между предшествующим местоположением и зоной низкого давления.
5. Устройство по п.1, в котором отверстие канала является единственным.
6. Устройство по п.1, в котором канал выполнен с возможностью обеспечения, по существу, постоянного расстояния между отверстиями и уровнем жидкостей в скважине.
7. Устройство по п.1, отличающееся тем, что канал, по существу, является прямым.
8. Устройство по п.1, в котором предшествующее местоположение находится ниже самой низкой перфорации добычи газа.
9. Устройство по п.1, в котором сужающаяся секция расположена над зоной перфорации добычи газа.
10. Устройство по п.1, в котором сужающаяся секция расположена над зоной перфораций добычи газа, и предшествующее местоположение находится ниже указанной зоны.
11. Устройство по п.1, в котором канал имеет длину, превышающую 5 метров.
12. Устройство по п.1, в котором соотношение площади поперечного сечения дополнительного отверстия канала к площади сечения канала имеет значения в пределах от 0 до 1.
13. Способ подержания или снижения уровня жидкостей в забое газовой скважины, согласно которому суживают поток добываемого газа в местоположении в скважине для создания зоны низкого давления, в которой давление ниже давления газа окружающей формации, и создают канал, обеспечивающий проход для потока от предшествующего местоположения в скважине в зону низкого давления, имеющий первый конец, заканчивающийся в предшествующем местоположении, и второй конец, заканчивающийся в зоне низкого давления, и выполненный в виде трубы с, по меньшей мере одним, отверстием для входа газа формации в расположение между предшествующим положением и зоной низкого давления, имеющей гибкую секцию или телескопическое соединение, способные реагировать на перемещение поплавка, соединенного с первым концом канала.
14. Способ по п.13, отличающийся тем, что дополнительно определяют расход газа, высоту поднятия жидкости для достижения зоны низкого давления и число, представляющее размер сужения, при котором низкое давление в зоне низкого давления является достаточным для подъема жидкостей на указанную высоту.
15. Способ по п.13, в котором дополнительно создают сужение потока в интервале забоя эксплуатационных труб в скважине.
16. Способ по п.13, в котором дополнительно обеспечивают обеспечивают положение, по меньшей мере, одного отверстия канала, по существу, на постоянной высоте над уровнем жидкости в скважине.
 
                         
                            


