PatentDB.ru — поиск по патентным документам

Иллюстрации к патенту 2347889

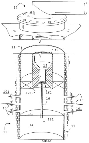
Способ и устройство для поддержания или снижения уровня жидкостей в забое газовой скважины

Способ и устройство для поддержания или снижения уровня жидкостей в забое газовой скважины (патент 2347889)