Дыропробивной пресс

Иллюстрации

Показать все

Изобретение относится к машиностроению. Дыропробивной пресс содержит основание, которое определяет верхний горизонтальный стол для обработки металлических листов и прутков; рабочую револьверную головку, установленную над указанным рабочим столом и вмещающую пробойный ползун; первое опорное средство для по меньшей мере одного держателя верхнего штампа, поворачиваемое соответствующим первым электромоторным узлом и опирающееся на указанную револьверную головку в вертикальной выверке под указанным пробойным ползуном; второе опорное средство для держателя нижнего штампа, установленное в указанном рабочем столе в вертикальной выверке с указанным первым опорным средством и поворачиваемое соответствующим вторым электродвигательным узлом, синхронизированным с указанным первым электродвигательным узлом; по меньшей мере один элемент для выбора и контактирования с верхним пробойником, расположенный между указанным ползуном и указанным держателем верхнего пробойника, поворачиваемый соответствующим третьим электродвигательным узлом; причем указанный держатель верхнего пробойника и держатель нижнего штампа выполнены с возможностью приведения их в действие соответствующими средствами привода с синхронным поворотным перемещением вокруг общей вертикальной оси (А) относительно указанного первого опорного средства и указанного второго опорного средства. Обеспечивается улучшение рабочих показателей и повышение работоспособности. 23 з.п. ф-лы, 5 ил.

Реферат

Настоящее изобретение относится к дыропробивному прессу.

Обычные дыропробивные прессы для механической обработки металлических листов и прутков имеют основание на своей верхней поверхности с опорным столом, по которому металлические листы или прутки перемещаются во время механической обработки, и рабочую револьверную головку, внутри которой установлен гидравлический цилиндр, действующий как ползун.

В револьверной головке, установленной над рабочим столом с заданным целесообразным зазором для прохождения через него металлических листов и прутков, также установлена - под ползуном - опора для одного или более пробойников, используемых для выполнения операций механической обработки разного типа. Выверка с ползуном достигается за счет поворота общей опоры, в которой расположен пробойник(и).

Соответственно, на вертикальной оси опоры для пробойников в опорном столе установлена поворотная опора для нижних штампов, которые нужно в вертикальном направлении выверять с указанными пробойниками.

В большинстве современных вариантов этих дыропробивных прессов обе указанные опоры в свою очередь могут вмещать в себе разнообразные цилиндрические магазины, называемые в данной области техники как «мульти-инструментальные». Они установлены на указанных опорах и закреплены с возможностью поворота. Каждая из них соответственно содержит заданное число распределенных по кругу пробойников и равное число нижних штампов, и поэтому когда тип операции механической обработки изменяется, нет необходимости в том, чтобы всякий раз прерывать процесс механической обработки, чтобы заменить пробойник и соответствующий нижний штамп.

Над указанными магазинами верхних пробойников, между магазинами пробойников и ползуном с надлежащим зазором установлен поворотный выбирающий элемент с выступающим вниз зубцом, на практике в виде молотка, для контактирования с головками пробойников. Выбирающий элемент время от времени позиционируется на одном из пробойников, чтобы выбрать его из числа других. Затем ход ползуна приводит выбранный пробойник, и только его, в действие посредством указанного зубца.

Общей работой этих дыропробивных прессов управляют электронные средства с помощью заданных программ. Согласно необходимости программы автоматически выбирают соответствующие пробойники для каждого типа нужной операции механической обработки и выверяют их в осевом направлении с соответствующими штампами.

Поворот указанных опор пробойника и штампа и поворот выбирающего элемента осуществляется отдельными электродвигателями, имеющими деления, определяющие положение.

Обычные дыропробивные прессы имеют револьверную головку и опорный стол, который включает в себя соответствующие первые опоры для пробойников и штампов, которые можно привести в движение с синхронным поворотом; и выбирающий элемент, который осуществляет поворот, чтобы выбрать пробойник, используемый в то или иное время.

Этот известный уровень техники можно усовершенствовать, чтобы обеспечить обычным дыропробивным прессам еще одну возможность перемещения пробойников штампов для улучшения их рабочих показателей и повышения их работоспособности.

Задача данного изобретения заключается в обеспечении указанного улучшения путем разработки усовершенствованного дыропробивного пресса, который сможет выполнять более детальные и точные операции механической обработки.

Настоящее изобретение обеспечивает усовершенствованный дыропробивной пресс согласно п. 1, содержащий основание, которое определяет верхний горизонтальный стол для обработки металлических листов и прутков; рабочую револьверную головку, установленную над указанным рабочим столом и вмещающую пробойный ползун; первое опорное средство для по меньшей мере одного держателя верхнего штампа, поворачиваемое соответствующим первым электродвигательным узлом и опирающееся на указанную револьверную головку в вертикальной выверке под указанным пробойным ползуном; второе опорное средство для держателя нижнего штампа, установленное в указанном рабочем столе в вертикальной выверке с указанным первым опорным средством и поворачиваемое соответствующим вторым электродвигательным узлом, синхронизированным с указанным первым электродвигательным узлом; и по меньшей мере один элемент для выбора и контактирования с указанным верхним пробойником, расположенный между указанным ползуном и указанным держателем верхнего пробойника, поворачиваемый соответствующим третьим электродвигательным узлом; причем указанный держатель верхнего пробойника и держатель нижнего штампа выполнены с возможностью приведения их в действие соответствующими средствами привода с синхронным поворотным перемещением вокруг общей вертикальной оси относительно указанного первого опорного средства и указанного второго опорного средства.

Прочие признаки и преимущества настоящего изобретения будут более очевидными из приводимого ниже подробного описания предпочтительного, но не исключительного, осуществления усовершенствованного дыропробивного пресса, иллюстрируемого в качестве неограничивающего примера на следующих чертежах, на которых:

Фиг. 1 - схематическая боковая проекция рабочей зоны усовершенствованного дыропробивного пресса согласно настоящему изобретению;

Фиг. 2 - подробная схематическая боковая проекция рабочей револьверной головки усовершенствованного дыропробивного пресса, показанного на Фиг. 1;

Фиг. 3 - подробная схематическая боковая проекция рабочего стола усовершенствованного дыропробивного пресса, показанного на Фиг. 1;

Фиг. 4 - схематическая горизонтальная проекция первого средства опоры держателя верхнего пробойника; и

Фиг. 5 - схематическая горизонтальная проекция второго средства держателя нижнего штампа.

Обращаясь к указанным выше чертежам, ссылочное обозначение 1 указывает усовершенствованный дыропробивной пресс, который содержит основание 2, определяющее верхний горизонтальный стол 3, на котором располагаются металлические листы и прутки, которые подвергают операциям механической обработки.

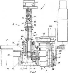
Над столом 3 на основании 2 установлена револьверная головка 4, которая вмещает в себе активные пробойные компоненты: ползун (не показан, так как известен специалистам данной области техники), первое опорное средство 5 для по меньшей мере одного держателя 6 верхнего пробойника; причем указанное средство 5 установлено, с возможностью поворота, на рабочей револьверной головке 4, с вертикальной выверкой, под указанным ползуном и приводится в движение первым электродвигательным узлом 100.

В основании 2, точнее в опорном столе 3, установлено второе опорное средство 7, на котором в свою очередь установлен держатель 8 нижнего штампа. Второе опорное средство 7 вертикально выверено с первым опорным средством 5 и также поворачивается вторым соответствующим электродвигательным узлом 200.

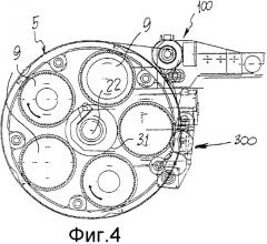
Между указанным вторым опорным средством 7 и ползуном также дополнительно обеспечен в рабочей револьверной головке 4 элемент 9, обычно круглой формы и имеющий зубец 109 внизу. Элемент 9 выполнен с возможностью выбора по меньшей мере одного верхнего пробойника 106 и нажатия на его головку зубцом 109. Элемент 9 также поворачивается соответствующим третьим электродвигательным узлом 300.

Согласно настоящему изобретению и держатель 6 верхнего пробойника, и держатель 8 нижнего штампа выполнены с возможностью приведения их в движение соответствующими средствами 10 и 11 привода в синхронном поворотном перемещении вокруг общей вертикальной оси, обозначенной пунктирной линией «А», относительно обоих - первого 5 и второго 7 - опорных средств.

Первое опорное средство 5 и второе опорное средство 7 - оба состоят из цилиндрических элементов 12 и 13 с некоторым числом гнезд 14 и 15, которые могут содержать некоторое число держателей 6 верхнего пробойника и одновременно такое же число держателей 8 нижнего штампа.

Согласно предпочтительному осуществлению и держатель 6 верхнего пробойника, и держатель 8 нижнего штампа имеют цилиндрические магазины, соответственно 16 и 17, выполненные с возможностью вмещения соответственно заданного числа верхних пробойников 106 и соответствующего числа нижних штампов 108, которые выполнены с возможностью вертикальной выверки с соответствующими верхними пробойниками 106.

Первое опорное средство 5 и второе опорное средство 7 - оба в осевом направлении имеют некоторое число полых гнезд 14 и 15, выполненных с возможностью вмещения в них, в свободном повороте, цилиндрических магазинов 16 и 17 для верхних пробойников 106 и нижних штампов 108 соответственно.

Средство 18 для передачи поворотного перемещения обеспечено между держателями 6 верхнего пробойника, держателями 8 нижнего штампа и соответствующими средствами 10 и 11 поворотного привода.

По окружности и держателей 6 верхнего пробойника, и держателей 8 нижнего штампа установлено средство 19 для механического соединения с их соответствующими средствами 10 и 11 поворотного привода и, при необходимости, средством 18 для передачи поворотного движения.

Средства 10 и 11 поворотного привода для цилиндрических магазинов 16 и 17 имеют соответствующие электродвигательные/мотор-редукторные узлы 20 и 21, установленные соответственно на рабочей револьверной головке 4 и на основании 2. Они взаимно синхронизированы. Из каждого электродвигательного узла 20 и 21 соответственно выходят первый и второй приводные валы 22 и 23. На противоположных свободных концах приводных валов установлено - либо выполненное заодно, либо в соединении с ними - зубчатое средство 24, выполненное с возможностью зацепления со средством 19 механического соединения или, в зависимости от конкретного случая, с имеющим промежуточное местоположение средством 18 передачи поворотного движения. Указанные первый и второй приводные валы 22 и 23 также имеют опорное и направляющее средство 25.

Согласно настоящему изобретению приводные валы установлены вертикально, взаимно соосно, и их соответствующие свободные концы совпадают. Помимо этого, электродвигательными узлами 20 и 21 управляет средство 26 для углового деления поворота, которое состоит из датчиков нулевой точки.

Опорное и направляющее средство 25 для первого приводного вала 22 имеет упор 27, выступающий из револьверной головки 4 дыропробивного пресса 1, и указанный упор имеет осевую полость. Упор 27 выполнен с возможностью соосного проходящего по всей длине вмещения первого приводного вала 22, с установленным в промежуточном положении средством снижения трения, которое не показано, так как известно специалистам данной области техники.

Указанное средство 25 также содержит средство 28 для осевого фиксирования первого приводного вала 22 внутри упора 27 и средство 29 для поворотного свободного прохождения нижнего конца вала 22 через поворотное опорное средство 5 держателя или держателей 6 верхнего пробойника.

Между первым приводным валом 22 и опорным и направляющим средством 25 обеспечено средство 30 для регулирования осевого зазора первого приводного вала 22.

Средство 29 для поворотного свободного прохождения нижнего конца вала 22 через поворотное опорное средство 5 содержит сквозное отверстие 31, выполненное в центре указанного цилиндрического элемента 12 с несколькими гнездами, и средство 32 снижения трения, установленное между указанным нижним концом первого приводного вала 22 и отверстием 31, расположенным в соответствующих выполненных в нем гнездах 33.

Средство 28 для осевого фиксирования первого приводного вала 22 в указанном упоре 27 содержит поворотно фиксированную цилиндрическую втулку 34, внутри которой указанный первый приводной вал 22 может быть установлен с возможностью свободного поворота и которая установлена между ним и внутренней полостью упора 27, указанной ссылочным обозначением 127, и между ним и сквозным отверстием 31.

На цилиндрической втулке 34 сформирована, перед упором 27, резьба 35, на которую можно навинтить первую кольцевую гайку 36, которая обычно упирается в сам упор и соосно крепится к втулке 34, и выполнена с возможностью ее навинчивания на резьбе 35 таким образом, чтобы затягивание или ослабление указанной кольцевой гайки 36, контактирующей с упором 27, определяли осевые перемещения втулки 34.

На противоположном конце втулки 34 выполнен выступающий в радиальном направлении нижний край 37, выполненный с возможностью оставаться стационарным относительно средства 32 снижения трения и с возможностью осевого фиксирования втулки внутри отверстия 31, когда затягивается первая кольцевая гайка 36.

Средство 30 для регулирования осевого зазора первого приводного вала 22 содержит коробчатую опору 38, смонтированную заодно на верху втулки 34 и выполненную с возможностью ее вертикального пересечения верхним концом первого приводного вала 22; вторую выполненную по окружности резьбу 39, сформированную на нем, по существу, в положении указанной коробчатой опоры 38; и вторую кольцевую гайку 40, выполненную с возможностью ее фиксирования в коробчатой опоре 38 и навинчивания на указанной второй резьбе 39. Затягивание или ослабление второй кольцевой гайки 40 также определяет осевое перемещение первого приводного вала 22 относительно втулки 34.

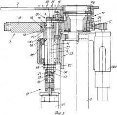
Опорное и направляющее средство 25 для указанного второго приводного вала 23 содержит соединительный фланец 41, который выступает из основания 2 дыропробивного пресса 1 и имеет осевую полость. Второй приводной вал 23 выполнен с возможностью его соосной проходящей по длине установки в указанном соединительном фланце; при этом специальное средство 42 осевого фиксирования предусмотрено для осевого фиксирования указанного приводного вала внутри фланца 41.

Аналогично второй приводной вал 23 имеет средство 43 для поворотного свободного прохождения верхнего конца указанного приводного вала через второе опорное средство 7 для цилиндрического магазина(ов) 17.

Между вторым приводным валом 23 и его опорным и направляющим средством 25 обеспечено средство 44 для регулирования осевого зазора второго приводного вала 23.

Средство 43 для поворотного свободного прохождения верхнего конца указанного приводного вала через второе опорное средство 7 содержит цилиндрический корпус 45, имеющий осевую полость и по центру контактирующий с аналогичным цилиндрическим элементом 13 с несколькими гнездами; средство 46 для снижения трения, установленное между верхним концом второго приводного вала 23 и указанным цилиндрическим корпусом 45, находящимся в соответствующих гнездах 47, сформированных в нем.

Средство 42 для осевого фиксирования второго приводного вала 23 в соединительном фланце 41 содержит вторую поворотно-фиксированную цилиндрическую втулку 48 с укрупненной головкой 48а, внутри которой указанный второй приводной вал 23 можно установить в свободном повороте и которая расположена между ним и внутренней полостью соединительного фланца 41 и между ним и цилиндрическим корпусом 45. На указанной второй цилиндрической втулке 48 выполнена по окружности третья резьба 49 непосредственно после соединительного фланца 41. Эта резьба выполнена с возможностью навинчивания на нее третьей кольцевой гайки 50, которая обычно упирается в соединительный фланец 41 и которая установлена соосно на второй втулке 48. Затягивание или ослабление третьей кольцевой гайки 50 определяет осевое перемещение второй втулки 48, прижимающейся к соединительному фланцу 41.

Средство 44 для регулирования осевого зазора второго приводного вала 23 содержит вторую коробчатую опору 51, которая смонтирована заодно на основании второй втулки 48 и через которую вертикально проходит нижний конец второго приводного вала 23; четвертую сформированную по окружности резьбу 52 на втором приводном вале 23, по существу, в положении второй коробчатой опоры 51 и четвертую кольцевую гайку 53, выполненную с возможностью ее фиксирования в указанной опоре и с возможностью навинчивания на четвертую резьбу 52, чтобы перемещать второй приводной вал 23 в осевом направлении относительно соединительного фланца 41.

Согласно предпочтительному осуществлению дыропробивного пресса 1 средство 19 передачи поворотного перемещения имеет кольцевые зубчатые колеса 54, которые заключают в себе цилиндрические магазины 16 и 17 по окружности полностью и которые выполнены с возможностью зацепления с зубчатым средством 24.

Средство 18 передачи поворотного движения включает в себя соответствующие неприводные ролики 55 и 56, имеющие расположенные по периметру зубцы и установленные между зубчатым средством 24 и кольцевыми зубчатыми колесами 54.

Зубчатое средство 24 состоит из соответствующих звездочек 57 и 58, которые поворотно-фиксированно зацепляются с совпадающими соответствующими концами первого и второго приводных валов 22 и 23.

Необходимо отметить, что упругое амортизирующее средство 59 расположено между соединительным фланцем 41 и цилиндрическим элементом 13, состоящим - в данном случае - из по меньшей мере одной тарельчатой пружины или группы тарельчатых пружин 60.

Согласно настоящему изобретению усовершенствованный дыропробивной пресс 1 работает следующим образом.

Первое опорное средство 5 обычно имеет несколько держателей 6 верхнего пробойника, внутри которых установлены соответствующие цилиндрические магазины 16, каждый из которых может иметь один или более верхних пробойников 106.

Соответственно, второе опорное средство 7 имеет эквивалентное число держателей 8 нижнего штампа, внутри которых установлены соответствующие цилиндрические магазины 17, каждый из которых выполнен с возможностью содержать совокупное число нижних штампов 108, равное числу верхних пробойников 106 вертикально выверенного цилиндрического магазина 16.

Первое опорное средство 5 и второе опорное средство 7 обычно приводятся в действие синхронным поворотом соответствующих электромоторных узлов 100 и 200 на величину шагов, угловая амплитуда которых регулируется делительным средством таким образом, чтобы перемещать магазины 16 и 17, выбранные для данного типа операции механической обработки металлического листа и прутка на опорном столе 3, в положение под ползуном.

Согласно настоящему изобретению по достижении этого первого положения цилиндрические магазины 16 и 17 могут поворачиваться в своих соответствующих гнездах вокруг их совпадающих вертикальных осей, чтобы переместить данный пробойник 106 и соответствующий нижний штамп 108, выбранные из числа имеющихся в них, в заданное положение для механической обработки металлического листа.

Поворот указанных цилиндрических магазинов 16 и 17 также регулируется средством углового деления (например, датчиками нулевой точки), указанным на чертеже под обозначением 26; синхронный поворот цилиндрических магазинов 16 и 17 обеспечивается соответствующими электромоторными узлами 20 и 21, которые воздействуют на кольцевые зубчатые колеса 54 расположенных по периметру указанных магазинов 16 и 17 с помощью приводных валов 22 и 23, звездочек 57 и 58 и холостых шкивов 55 и 56.

По достижении выбранными магазинами 16 и 17 положения, определенного по заданной программе электронным логическим устройством, управляющим дыропробивным прессом 1 приводится в действие выбирающий элемент 9, который аналогичным образом поворачивается над цилиндрическим магазином 16 и перемещает зубец 109 на головку выбранного пробойника 106.

Затем приводится в действие ползун, который нажимает на указанный выбирающий элемент 109, в свою очередь толкающий выбранный пробойник 10 к обрабатываемому металлическому листу внизу.

Нужно отметить, что если магазин 16 имеет только один пробойник, установленный в этом случае в его центре, то действие выбирающего элемента 109 становится ненужным.

Этот тип применения может потребоваться для выполнения ряда последовательных шагов сложных операций пробивки на одной и той же точке на металлическом листе; например, если требуется выполнить крестообразный сквозной профиль, когда для этой цели можно использовать один пробойник 106 с удлиненным прямоугольным профилем и соответствующим нижним штампом 108.

Первую операцию выполняют, чтобы сделать одну линию креста, и затем магазины 16 и 17 поворачиваются на заданный угол, и вторую операцию пробивки выполняют таким образом, чтобы пересечь первую линию и таким образом создать нужный крестообразный профиль.

Угловой поворот указанных цилиндрических магазинов 16 и 17 определяет угол пересечения линий крестообразного профиля.

Необходимо отметить, что оба приводных вала 22 и 23 выполнены с возможностью регулирования осевого зазора. На примере вала 22, аналогичном и для 23, указанное регулирование осуществляется поворотом второй кольцевой гайки 40, которая при ее затягивании или ослаблении на резьбе 39 производит осевое перемещение вала 22, надавливая на коробчатую опору 38, в которой он закреплен, тем самым регулируя его положение.

Оба вала 22 и 23 поворачиваются внутри своих соответствующих втулок 34 и 48, которые в свою очередь соответственно прикреплены к упору 27, выступающему из моноблока, образующего рабочую револьверную головку 4 дыропробивного пресса 1, и к фланцу 41, выполненному заодно с основанием 2. Первая кольцевая гайка 36 и третья кольцевая гайка 50 при их затягивании на соответствующих резьбах 35 и 49, сформированных на указанных втулках 34 и 48, прижимают к упору 27 и фланцу 41 узлы, состоящие из приводных валов 22 и 23, и соответствующие электродвигательные узлы 20 и 21, отверстие 31 и цилиндрический корпус 45, тем самым прикрепляя их все соответственно к револьверной головке 4 и основанию 2.

Тарельчатая пружина 60, установленная между фланцем 41 и укрупненной головкой 48а второй цилиндрической втулки 48, выполнена с возможностью амортизации ходов ползуна, чтобы те не повредили цилиндрический элемент 13 во время механической обработки, и с возможностью осуществления точного вертикального регулирования самого цилиндрического элемента 13.

Осуществление описываемого здесь изобретения продемонстрировало, что оно достигает указанные выше его цели.

В описываемое здесь изобретение можно вносить изменения и варианты в рамках защиты, определяемой излагаемой ниже формулой изобретения.

Причем все детали можно заменять другими техническими эквивалентами; и в соответствии с требованиями можно использовать любые материалы, формы и габариты. Например, термины «верхний», «нижний», «горизонтальный», «вертикальный», «над» и «под» используются только для указания взаимного расположения. В объем формулы также будут включаться и другие относительные взаимные расположения.

1. Дыропробивной пресс, содержащий основание, которое определяет верхний горизонтальный стол для обработки металлических листов и прутков; рабочую револьверную головку, установленную над указанным рабочим столом и вмещающую в себе пробойный ползун, первое опорное средство для по меньшей мере одного держателя верхнего пробойника, вмещающего по меньшей мере один верхний пробойник, указанное первое опорное средство поворачиваемое вокруг вертикальной оси (А) соответствующим первым электродвигательным узлом и опирающееся на указанную револьверную головку в вертикальной выверке под указанным пробойным ползуном, второе опорное средство для держателя нижнего штампа, указанное второе опорное средство установленное в указанном рабочем столе в вертикальной выверке с указанным первым опорным средством и выполненное с возможностью вращения вокруг вертикальной оси (А) соответствующим вторым электродвигательным узлом, синхронизированным с указанным первым электродвигательным узлом, по меньшей мере один элемент расположенный между указанным ползуном и указанным держателем верхнего пробойника и выполненный с возможностью вращения соответствующим третьим электродвигательным узлом для выбора и контактирования по меньшей мере с одним верхним пробойником, указанный держатель верхнего пробойника и держатель нижнего штампа выполнены с возможностью приведения их в движение соответствующими средствами привода с синхронным вращением вокруг общей вертикальной оси относительно указанного первого опорного средства и указанного второго опорного средства соответствующим средством привода вращения, отличающийся тем, что указанные соответствующие средства привода вращения имеют оси вращения, которые имеют общую ось вращения с указанной общей осью вращения (А) первого и второго опорного средства.

2. Дыропробивной пресс по п.1, отличающийся тем, что указанные первое и второе опорные средства состоят из цилиндрических элементов с несколькими расточными отверстиями, которые вмещают в себе несколько держателей верхних пробойников и держателей нижних штампов.

3. Дыропробивной пресс по п.2, отличающийся тем, что и указанный держатель верхнего пробойника, и указанный держатель нижнего штампа содержат цилиндрический магазин с размещенными в нем, соответственно, несколькими верхними пробойниками и нижними штампами в соответствующем количестве.

4. Дыропробивной пресс по п.2, отличающийся тем, что указанное первое опорное средство и указанное второе опорное средство содержат соответствующие осевые гнезда для введения в них, с возможностью свободного вращения, цилиндрических магазинов для верхних пробойников и нижних штампов.

5. Дыропробивной пресс по п.4, отличающийся тем, что средство для передачи указанного вращения размещено между указанным держателем верхнего пробойника и держателем нижнего штампа, и указанными соответствующими средствами привода вращения.

6. Дыропробивной пресс по п.4, отличающийся тем, что цилиндрические магазины, содержащие верхние пробойники и нижние штампы, по своей окружности обеспечены средством для механического соединения с указанным средством привода вращения и/или с указанным средством передачи вращения.

7. Дыропробивной пресс по п.6, отличающийся тем, что указанное средство привода вращения указанного держателя верхнего пробойника и держателя нижнего штампа содержит соответствующие электродвигательные/мотор-редукторные узлы, закрепленные, соответственно, на рабочей револьверной головке и на основании, и взаимно синхронизированные, первый и второй приводные валы, каждый из которых выступает соответственно из указанных электродвигательных/мотор-редукторных узлов, соответствующее зубчатое колесо, входящее в зацепление со свободными концами указанных первого и второго приводных валов и со средством механического соединения и/или с указанным средством передачи вращения, и опорное и направляющее средство для указанных первого и второго приводных валов.

8. Дыропробивной пресс по п.7, отличающийся тем, что указанные первый и второй приводные валы установлены вертикально, соосно, и их соответствующие свободные концы действуют совместно.

9. Дыропробивной пресс по п.7 или 8, отличающийся тем, что указанные электродвигательные узлы регулируются средством углового деления поворота.

10. Дыропробивной пресс по п.7, отличающийся тем, что указанное опорное и направляющее средство для указанного первого приводного вала содержит стойку, выступающую из указанной рабочей револьверной головки указанного дыропробивного пресса и имеющую осевую полость, в которой указанный первый приводной вал может помещаться в соосном по всей длине направлении, средство для осевого фиксирования указанного первого приводного вала в указанной стойке, и средство для поворотного свободного прохождения нижнего конца указанного первого приводного вала через указанное первое опорное средство по меньшей мере одного держателя верхнего пробойника.

11. Дыропробивной пресс по п.7, отличающийся тем, что по меньшей мере между указанным первым приводным валом и указанным опорным и направляющим средством обеспечено средство для регулирования осевого зазора указанного первого приводного вала.

12. Дыропробивной пресс по п.10, отличающийся тем, что указанное средство для поворотного свободного прохождения указанного первого приводного вала содержит сквозное отверстие, выполненное в центре первого из указанных цилиндрических элементов, с несколькими расточными отверстиями, и средство для снижения трения, установленное между указанным нижним концом указанного первого приводного вала и указанным отверстием, расположенное в соответствующих расточных отверстиях первого цилиндрического элемента.

13. Дыропробивной пресс по п.10 или 12, отличающийся тем, что указанное средство осевого фиксирования указанного первого приводного вала в стойке содержит зафиксированную с возможностью вращения цилиндрическую втулку, выполненную с возможностью расположения и вращения в ней первого приводного вала, и установленную между ним и внутренней полостью стойки, и между ним и указанным отверстием, резьбу, сформированную на наружной поверхности указанной втулки перед указанной стойкой, первую кольцевую гайку, контактирующую с указанной стойкой, установленную соосно на указанной втулке и навинчиваемую на резьбу для осуществления осевого перемещения указанной втулки, упирающейся в стойку; и нижний край, выступающий в радиальном направлении из указанной втулки, для фиксирования в осевом направлении указанной втулки внутри указанного отверстия, прижимающийся при затягивании указанной первой кольцевой гайки.

14. Дыропробивной пресс по п.11, отличающийся тем, что указанное средство осевого регулирования указанного первого приводного вала содержит коробчатую опору, смонтированную заодно на верхе указанной втулки, которая пересекается в вертикальном направлении верхним концом указанного первого приводного вала, вторую выполненную по на наружной поверхности приводного вала резьбу по существу в позиции указанной коробчатой опоры; и вторую кольцевую гайку, выполненную с возможностью ее фиксирования в указанной коробчатой опоре и навинчивания на указанную вторую резьбу для осевого перемещения указанного первого приводного вала относительно указанной втулки.

15. Дыропробивной пресс по п.9, отличающийся тем, что указанное опорное и направляющее средство для указанного второго приводного вала содержит соединительный фланец, выступающий из указанного основания указанного дыропробивного пресса и имеющий осевую полость, в которой второй приводной вал может помещаться в соосном по всей длине направлении, средство осевого фиксирования указанного второго приводного вала в указанном фланце, и средство для обеспечения свободного прохождения с возможностью вращения указанного второго приводного вала через указанное второе опорное средство по меньшей мере одного держателя нижнего штампа.

16. Дыропробивной пресс по п.15, отличающийся тем, что по меньшей мере между указанным вторым приводным валом и указанным опорным и направляющим средством обеспечено средство осевого регулирования указанного второго приводного вала.

17. Дыропробивной пресс по п.16, отличающийся тем, что указанное средство для обеспечения свободного прохождения с возможностью вращения указанного верхнего конца указанного второго приводного вала содержит цилиндрический корпус с осевой полостью, который закреплен по центру в указанных цилиндрических элементах с несколькими расточными отверстиями, и средство снижения трения, установленное между указанным верхним концом указанного второго приводного вала и указанным цилиндрическим корпусом, расположенное в расточных отверстиях цилиндрического корпуса.

18. Дыропробивной пресс по п.17, отличающийся тем, что указанное средство для осевого фиксирования указанного второго приводного вала в указанном соединительном фланце содержит вторую фиксированную с возможностью вращения цилиндрическую втулку, выполненную с возможностью размещения и вращения в ней указанного второго приводного вала и установленную между ним и указанной внутренней полостью указанного соединительного фланца, и между ним и указанным цилиндрическим корпусом, третью резьбу, сформированную на наружной поверхности второй втулки после указанного соединительного фланца, и третью кольцевую гайку, опирающуюся на указанный соединительный фланец, установленную соосно на указанной второй втулке и навинчиваемую на указанную третью резьбу для осуществления осевого перемещения указанной второй втулки, прижимающейся к указанному соединительному фланцу.

19. Дыропробивной пресс п.18, отличающийся тем, что указанное средство осевого регулирования указанного второго приводного вала содержит вторую коробчатую опору, смонтированную заодно в основании указанной второй втулки и пересекаемую в вертикальном направлении нижним концом указанного второго приводного вала, четвертую выполненную на наружной поверхности второго приводного вала резьбу по существу в позиции второй коробчатой опоры; и четвертую кольцевую гайку, выполненную с возможностью ее фиксирования в указанной второй коробчатой опоре и навинчивания на указанную четвертую резьбу для осевого перемещения указанного второго приводного вала относительно указанного соединительного фланца.

20. Дыропробивной пресс по п.7, отличающийся тем, что указанное средство для передачи вращения содержит кольцевые зубчатые колеса, которые расположены по периметру цилиндрических магазинов и выполнены с возможностью зацепления с указанным зубчатым средством.

21. Дыропробивной пресс по п.20, отличающийся тем, что указанное средство для передачи вращения содержит соответствующие неприводные ролики, имеющие зубцы по окружности и установленные между указанным зубчатым средством и указанными кольцевыми зубчатыми кольцами.

22. Дыропробивной пресс по п.20 или 21, отличающийся тем, что указанное зубчатое средство содержит соответствующие звездочки, выполненные фиксированными с возможностью поворота и зацепления с действующими совместно концами первого и второго приводных валов.

23. Дыропробивной пресс по п.15, отличающийся тем, что между укрупненной головкой указанной второй цилиндрической втулки и указанным фланцем, по меньшей мере, расположено упругое амортизирующее средство.

24. Дыропробивной пресс по п.23, отличающийся тем, что указанное упругое амортизирующее средство состоит по меньшей мере из одной тарельчатой пружины.