PatentDB.ru — поиск по патентным документам

Иллюстрации к патенту 2353458

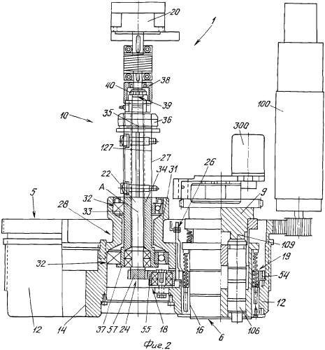
Дыропробивной пресс

Дыропробивной пресс (патент 2353458)