Способы и устройства управления источником для скважинной сейсморазведки
Иллюстрации
Показать всеЗаявленная группа изобретений относится к способам и устройствам для управления сейсмическими источниками. Способы и устройства обеспечивают возможность запуска сейсмических источников либо в точное время, либо при точном положении сейсмического источника (в частности, при предварительно заданной высоте относительно скважинных приемников, основанной на изменениях по высоте, обусловленных морскими условиями). Технический результат - повышение точности получения сейсмических данных и более состоятельной сигнатуры сейсмического источника. 5 н. и 55 з.п. ф-лы, 7 ил.
Реферат
Область техники, к которой относится изобретение
В общем настоящее изобретение относится к способам и устройствам для исследования подземных пластов. Более конкретно, настоящее изобретение относится к способам и устройствам для управления сейсмическими источниками.
Уровень техники
В течение нескольких последних десятилетий анализ подземных пластов обеспечивает возможность более эффективной добычи нефти и газа. В последние годы нефтепоисковые работы осуществляются на все более глубоких уровнях воды. По мере увеличения глубины воды и удлинения пробуриваемых скважин подземные пласты часто становятся очень сложными. Для содействия более эффективной добыче нефти часто желательно синтезировать вертикальный сейсмический профиль.
Получение вертикального сейсмического профиля (ВСП) относится к классу скважинных сейсмических измерений, используемых для нахождения корреляции между данными поверхностных сейсмических приемников и кабельного каротажа. Вертикальные сейсмические профили могут быть использованы для привязки поверхностных сейсмических данных к скважинным данным с обеспечением полезной привязки к измеряемым глубинам. Обычно вертикальные сейсмические профили позволяют получать данные с более высоким разрешением, чем обеспечивают поверхностные сейсмические профили. Вертикальные сейсмические профили дают возможность преобразовывать сейсмические данные в нуль-фазовые данные, а также позволяют отличать однократные отраженные волны от многократных волн. Кроме того, вертикальный сейсмический профиль часто используют для анализа участков пласта впереди бурового долота.
В узком определении вертикальный сейсмический профиль относится к результатам измерений, осуществляемым в вертикальном стволе скважине путем использования акустических приемников внутри ствола скважины и сейсмического источника на поверхности вблизи скважины. Однако в более общем смысле, употребляемом в настоящей заявке, вертикальные сейсмические профили изменяются в зависимости от конфигурации скважины, числа и местоположения источников и акустических приемников и от того, как они размещены. Тем не менее, вертикальное сейсмическое профилирование означает размещение в стволе скважины, по меньшей мере, нескольких приемников. При получении большей части вертикальных сейсмических профилей используют поверхностный сейсмический источник, который обычно представляет собой вибратор на суше или воздушную пушку в морских условиях.
Имеются различные конфигурации вертикальных сейсмических профилей, в том числе вертикальный сейсмический профиль с нулевым удалением источника от приемников, вертикальный сейсмический профиль с удалением источника от буровой установки, вертикальный сейсмический профиль с перемещением источника, вертикальный сейсмический профиль с вертикальным падением луча, вертикальный сейсмический профиль вблизи солевых отложений, вертикальный сейсмический профиль с многократным удалением источника и вертикальный сейсмический профиль с использованием шума бурового долота или с получением сейсмических данных в процессе бурения. Сейсмические каротажные диаграммы подобны вертикальному сейсмическому профилю в том, что акустические приемники размещены в стволе скважины, а поверхностный источник используется для возбуждения акустического сигнала. Однако вертикальный сейсмический профиль является более детализированным, чем сейсмическая каротажная диаграмма. При вертикальном сейсмическом профилировании приемники обычно расположены более близко друг к другу, чем при сейсмическом каротаже; сейсмические каротажные диаграммы могут включать в себя интервалы измерений, отстоящие на сотни метров. Кроме того, в вертикальном сейсмическом профиле используется энергия отраженных волн, содержащаяся в трассе, зарегистрированной в каждом пункте приема, а также первая траектория прямой волны от источника к приемнику, тогда как в сейсмической каротажной диаграмме используется только время пробега прямой волны по первой траектории.
Хотя вертикальные сейсмические профили могут обеспечить ценную информацию о пласте, возмущения источника (например, вариации сейсмической сигнатуры воздушной пушки от взрыва к взрыву) вносят погрешность в исходные сейсмические данные, которые проходят по обрабатывающей цепочке с образованием конечных изображений. Возмущения источника при вертикальном сейсмическом профилировании могут ограничивать широкий диапазон полезности, который могут обеспечить данные вертикальных сейсмических профилей. При регистрации сейсмических данных на поверхности моря эти возмущения источника могут быть хорошо управляемыми с помощью цифровых контроллеров пушек и процессов, таких, как нахождение оценки сигнала источника (см., например, патенты США №№4757482, 5581415, 5995905 и 4476553, которые включены в настоящую заявку посредством ссылки).
Однако в настоящее время нет типового контроллера пушки для ограничивания погрешностей, вносимых возмущениями источника, при регистрации вертикального сейсмического профиля, особенно вертикальных сейсмических профилей при морских исследованиях. Это вопрос, касающийся отсутствия управления, является нерешенным, поскольку изменения формы импульса источника от взрыва к взрыву часто бывают значительными. Эти погрешности обусловлены изменениями моментов запуска и давления запуска, которые могут быть резко выраженными. При сильных волнениях изменения высоты также могут вызывать погрешности. Кое-кто использует дополнительный некалиброванный гидрофон вблизи источника (обычно расположенный в нескольких метрах от источника) для получения частичной информации, полезной для коррекции погрешностей в определении моментов взрывов (погрешностей, вызванных разностями времен в случае высоких волн, нерегулярных запусков источника и т.д.). Тем не менее, частичной информации от дополнительного гидрофона недостаточно для полной деконволюции взрывов из-за близости источника, а на практике такие гидрофоны размещают произвольно относительно источника, и они не регистрируют сигналы с точностью, достаточной для того, чтобы они были полезными. В результате в настоящее время корректируют только значительные погрешности в данных вертикального сейсмического профиля, обусловленные источником. Поэтому сложные способы обработки сейсмических данных не могут быть использованы, поскольку применяемые способы не обеспечивают получение информации о сейсмическом источнике для вертикального сейсмического профиля с точностью, необходимой для придания смысла сложной обработке.
Сущность изобретения
Настоящее изобретение удовлетворяет указанным выше и другим потребностям. В частности, согласно настоящему изобретению предложена система управления источником, включающая в себя сейсмический источник, грузоподъемное устройство, шлангокабель и находящийся в море контроллер источника для управления запуском сейсмического источника, при этом сейсмический источник формирует сейсмические волны, принимаемые скважинными приемниками. Система также может включать в себя буй, закрепленный над сейсмическим источником и находящимся в море контроллером источника, с датчиком перемещения, таким, как устройство глобальной системы позиционирования (GPS), прикрепленным к бую. Датчик перемещения обнаруживает изменения высоты вследствие волн или вариаций прилива и отлива. Система может дополнительно содержать переключатель, управляемый находящимся в море контроллером источника, для инициирования запуска сейсмического источника при предварительно заданной высоте волны. Согласно некоторым объектам сейсмический источник представляет собой группу воздушных пушек. Система также может включать в себя один или несколько находящихся в море датчиков, имеющих фиксированную геометрию относительно сейсмического источника. Один или несколько находящихся в море датчиков могут включать в себя калиброванный гидрофон, датчик глубины и/или датчик давления запуска. Калиброванный гидрофон измеряет сигналы давления на сейсмическом источнике для ретрансляции в процессор. В одном варианте осуществления согласно изобретению аналоговые сигналы, передаваемые от сейсмического источника, преобразуются в цифровую форму находящимся в море контроллером для последующей ретрансляции в процессор. Поэтому система может включать в себя относительно короткие линии аналоговой связи, проходящие между сейсмическим источником и находящимся в море контроллером, при этом все остальные линии связи являются цифровыми. Шлангокабель может включать в себя линии цифровой связи, но не линии аналоговой связи.
Согласно другому объекту изобретения предложена система наблюдения, включающая в себя множество приемников, развернутых в стволе скважины, сейсмический источник на поверхности моря, грузоподъемное устройство, шлангокабель и находящийся в море контроллер источника для управления запуском сейсмического источника. Система также может включать в себя устройство глобальной системы позиционирования, в рабочем положении соединенное с находящимся в море контроллером и прикрепленное к бую, поддерживающему сейсмический источник и находящийся в море контроллер источника. Устройство глобальной системы позиционирования принимает время по Гринвичу, с помощью которого синхронизируются регистрация множеством приемников и запуск сейсмического источника. Система может дополнительно включать в себя множество находящихся в море датчиков, таких, как калиброванный гидрофон, датчик глубины и датчик давления. Согласно некоторым объектам сейсмический источник представляет собой группу воздушных пушек. Группа воздушных пушек может быть расположена по горизонтали в шахматном порядке. В некоторых объектах шлангокабель включает в себя линии цифровой связи, а также линию подачи сжатого воздуха. Система также может включать в себя буй, при этом буй включает в себя датчик перемещения для обнаружения изменений высоты вследствие волн или вариаций прилива и отлива. Система может содержать переключатель, управляемый находящимся в море контроллером источника, для инициирования запуска сейсмического источника при предварительно заданной высоте волны путем учета данных с датчика перемещения. Согласно некоторым аспектам системы грузоподъемное устройство включает в себя кран.
Согласно еще одному объекту изобретения предложен способ использования системы управления источником, включающий в себя увязывание запуска сейсмического источника с навигационной системой для запуска сейсмического источника либо в точное время, либо при точном положении источника. Способ также может включать в себя автоматическую настройку сейсмического источника, измерение волны давления сейсмического источника непосредственно на сейсмическом источнике и измерение глубины погружения сейсмического источника в воде непосредственно на источнике. Синхронизация запуска источника и регистрации скважинными сейсмическими приемниками может быть облегчена с помощью устройства глобальной системы позиционирования, а регистрация поверхностными сейсмическими приемниками также может быть синхронизирована с запуском источника и регистрацией скважинными сейсмическими приемниками. Способ также может включать в себя объединение результатов анализа статистическим методом контроля качества характеристик поверхностного источника и характеристик скважинных приемников и коррекцию вариаций сигнатуры источника. Коррекция может включать в себя калибровку сигнала датчика в ближнем поле, основанную на фиксированной геометрии между сейсмическим источником и локальным датчиком, реконструкцию сигнатуры сейсмического источника в дальнем поле по измеренной сигнатуре в ближнем поле и сохранение истинной амплитуды для привязок сейсмических данных к поверхности, исследований зависимости амплитуды отражения от удаления и периодических наблюдений.
Согласно еще одному объекту изобретения предложен способ усовершенствования вертикального сейсмического профилирования, включающий в себя автоматическую настройку сейсмического источника, измерение давления сейсмического источника непосредственно на сейсмическом источнике, измерение глубины погружения сейсмического источника в воде непосредственно на источнике, увязывание запуска сейсмического источника с навигационной системой для запуска сейсмического источника либо в точное время, либо при точном положении сейсмического источника; синхронизацию со временем по Гринвичу запуска сейсмического источника, регистрацию скважинными сейсмическими приемниками и регистрацию поверхностными сейсмическими приемниками; объединение результатов анализа статистическим методом контроля качества характеристик поверхностного источника и характеристик скважинных приемников и коррекцию вариаций сигнатуры источника. Коррекция может включать в себя калибровку сигнала датчика в ближнем поле, основанную на фиксированной геометрии между сейсмическим источником и локальным датчиком. Коррекция может дополнительно включать в себя реконструкцию сигнатуры сейсмического источника в дальнем поле по измеренной сигнатуре в ближнем поле. Способ также может включать в себя сравнение измеренных сигнатур источника с эталонной сигнатурой источника, при этом эталонная сигнатура источника основана на эталонной сигнатуре сейсмического источника в дальнем поле в файле на буровой площадке. Кроме того, способ может включать в себя увязывание запуска сейсмического источника с точным положением источника путем получения результатов измерений по вертикали глобальной системой позиционирования. В дополнение к этому способ может включать в себя сравнение результата измерения глубины погружения сейсмического источника с предварительно заданным уровнем и может включать в себя блокирование запуска сейсмического источника в случае, если результат измерения глубины погружения меньше, чем предварительно заданный уровень.
Согласно еще одному объекту изобретения предложена система управления источником, включающая в себя сейсмический источник, грузоподъемное устройство, шлангокабель, находящийся в море контроллер источника для управления запуском сейсмического источника и батиметрический датчик для осуществления коррекций, связанные приливно-отливным движением океана. Сейсмический источник формирует сейсмические волны, принимаемые скважинными приемниками, а система может включать в себя устройство синхронизации времени глобальной системы позиционирования.
Дополнительные преимущества и новые признаки изобретения будут изложены в описании, которое следует ниже, или могут быть изучены специалистами в данной области техники при чтении этих материалов или при практическом использовании изобретения. Преимущества изобретения могут быть получены с помощью средств, перечисленных в приложенной формуле изобретения.
Краткое описание чертежей
Сопровождающие чертежи иллюстрируют предпочтительные варианты осуществления настоящего изобретения и являются частью описания. Совместно с нижеследующим описанием чертежами показываются и поясняются принципы настоящего изобретения.
На чертежах:
фиг.1 - упрощенный вид морской буровой установки, находящейся над буровой скважиной, содержащей множество приемников; буровая установка показана несущей обычную аппаратуру для сейсморазведки;
фиг.2 - упрощенный вид морской буровой установки, находящейся над буровой скважиной, содержащей множество приемников; буровая установка показана несущей аппаратуру для сейсморазведки с системой управления источником согласно одному объекту настоящего изобретения;
фиг.3 - схема, иллюстрирующая систему управления источником согласно одному объекту настоящего изобретения;
фиг.4 - схематическое представление способа управления источником согласно одному объекту настоящего изобретения;
фиг.5 - схематическое представление способа управления источником согласно другому объекту настоящего изобретения;
фиг.6 - одна сигнатура в ближнем поле для воздушной пушки с иллюстрацией давления и частоты в зависимости от времени;
фиг.7А - иллюстрация настройки пиков воздушных пушек согласно одному объекту настоящего изобретения;
фиг.7В - иллюстрация настройки осцилляции воздушных пузырей воздушных пушек согласно другому объекту настоящего изобретения.
Повсюду на чертежах одинаковые позиции обозначают подобные, но необязательно идентичные элементы. Хотя изобретение допускает различные модификации и альтернативные формы, конкретные варианты осуществления изобретения на чертежах показаны только для примера и будут описаны в этой заявке подробно. Однако должно быть понятно, что изобретение не предполагается ограниченным конкретными раскрытыми формами. Точнее, изобретение охватывает все модификации, эквиваленты и варианты, попадающие в рамки объема изобретения, определяемого приложенной формулой изобретения.
Подробное описание предпочтительных вариантов осуществления изобретения
Иллюстративные варианты осуществления и объекты изобретения описаны ниже. В интересах ясности в этом описании рассмотрены не все признаки реального осуществления. Конечно, должно быть понятно, что при разработке любого такого реального варианта осуществления должны быть получены многочисленные специфические для осуществления решения, необходимые для достижения конкретных намерений разработчика, такие, как согласованность с системными ограничениями и с ограничениями, связанными с деловой активностью, которые будут изменяться от одного варианта осуществления к другому. Кроме того, должно быть понятно, что такая разработка может потребовать усилий, быть сложной и длительной, но тем не менее будет обычным делом для специалистов в данной области техники, имеющим преимущество от этого раскрытия.
Согласно настоящему изобретению предложены способы и устройства, предназначенные для использования при вертикальном сейсмическом профилировании (ВСП) и при других скважинных сейсмических исследованиях. Принципы, описанные в настоящей заявке, облегчают получение более точной информации о сейсмическом источнике, чем это было возможно ранее, повышают точность сейсмических данных, обеспечивая возможность сложной обработки сейсмических данных. Способы и устройства согласно настоящему изобретению реализуются преимущественно для коррекции или компенсации в случае изменений морских условий и/или для обеспечения синхронизации между запуском источника, регистрацией скважинными сейсмическими приемниками и (необязательно) регистрацией поверхностными сейсмическими приемниками. Однако, хотя способы и устройства показаны в вариантах осуществления изобретения для моря, они также могут быть использованы для применений на суше.
Способы и устройства способствуют лучшему анализу сейсмических данных путем более точного определения сигнатур источника. Более точные сигнатуры источника являются результатом использования системы управления источником, описанной ниже, которая может, например, изменять запуск сейсмического источника для совпадения с заданной высотой волны для каждого взрыва в случае применения на море. Морские волны и вариации прилива и отлива могут вносить шум в сейсмические данные и делать трудным или невозможным оценку сигнатуры источника. Например, трехметровые морские волны могут привести к сдвигу во времени, составляющему 2 мс, вследствие возможных различий вертикального смещения плавучего источника. Более крупные волны могут оказывать даже более значительное влияние. Например, когда взрывы суммируют в процессе получения вертикального сейсмического профиля на стороне буровой установки или вертикального сейсмического профиля с удалением источника от буровой установки, изменение времени пробега для каждого взрыва приводит к расползанию сейсмических сигналов, принимаемых во время суммирования и к утрате высоких частот. Фактически, вследствие шума, который может создаваться сильным волнением, ранее морские исследования ограничивались условиями, при которых морские волны были несколько меньше, чем приблизительно от 3 до 4 м.
Теперь обратимся к чертежам и, в частности, к фиг.1, на которой показан упрощенный вид морской буровой установки (100), расположенной над подводной буровой скважиной (102). Для обеспечения, например, регистрации вертикального сейсмического профиля (ВСП) в буровой скважине (102) в большом количестве размещены разнесенные приемники (103). Буровая установка (100) показана несущей обычную сейсморазведочную систему, в целом обозначенную как (104). Сейсморазведочная система (104) включает в себя воздушную пушку или пушку (106), подвешенную ниже поверхности на буе (108). Аналоговый гидрофон (110) подвешен ниже воздушной пушки (106). Как рассмотрено выше, гидрофон (110) может обеспечить частичную информацию для корректировки погрешностей в определении моментов взрывов (погрешностей, относимых на счет разностей времен между волнами, нерегулярных запусков источника и т.д.), но недостаточно информации для деконволюции взрывов. Гидрофон (110) типичного сейсморазведочной системы (104) устройства наблюдения не является автоматически калибрующимся и поэтому является зависимым от пользователя, который часто меняется.
Одна или несколько аналоговых линий (112) образуют часть шлангокабеля (114), который также может включать в себя воздушную линию. Аналоговые линии (112) обходят грузоподъемное устройство, такое, как кран (116). Аналоговые линии (112) обеспечивают линию аналоговой связи и управления между пушками (106), гидрофоном (110), контроллером (118) пушек и процессором (120) компьютера. Контроллер (118) пушек расположен на буровой установке (100) на удалении от пушек (106). На данный момент отсутствие при контроллере (118) пушек или при процессоре (120) компьютера индикатора данных гидрофона или глубины погружения воздушных пушек, или давления на пушке вызывает эксплуатационные недостатки. В дополнение к этому отключение аналоговых линий (112) во время приведения в действие пушки может приводить к непреднамеренному запуску воздушной пушки (106), которое может создавать угрозу безопасности.
Поэтому качество сейсмических данных, обеспечиваемых обычной компоновкой из фиг.1, является компромиссным. Положение (касательно главным образом глубины погружения) пушек (106) зависит от перемещения буровой установки, волн, работы крана и/или других факторов. До способов и устройств согласно изобретению, описанных в настоящей заявке, не осуществлялась компенсация или коррекция за изменениями глубины, не осуществлялась компенсация в случаях изменений давления воздуха, была очень ограниченной возможность синхронизации запуска пушек (106), и поэтому сигнатура источников-пушек (106) и амплитуда волн были далеки от оптимальных.
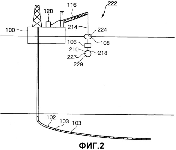
Однако система управления источником согласно одному объекту изобретения, показанная на фиг.2, способствует получению намного более точных сейсмических данных. В соответствии с компоновкой из фиг.2 также имеется морская буровая установка (100), расположенная над подводной буровой скважиной (102), содержащей множество приемников (103). Буровая установка (100) показана несущей систему управления источником, в целом обозначенную как (222). В соответствии с некоторыми вариантами осуществления буровая установка (100) может быть заменена подвижным судном. Система (222) управления источником включает в себя сейсмический источник, грузоподъемное устройство, шлангокабель (214) и находящийся в море контроллер (218) источника, предназначенный для управления запуском сейсмического источника. Система (222) управления источником и скважинные приемники (103) могут быть объединены для образования скважинной исследовательской системы.
В соответствии с вариантом осуществления из фиг.2 сейсмический источник представляет собой воздушную пушку (106), которая может быть единственной пушкой, группой пушек или может иметь любую другую компоновку. Грузоподъемное устройство включает в себя кран (116) и относящееся к нему оборудование для обеспечения развертывания и извлечения системы (222) управления источником и воздушной пушки (106). Шлангокабель (214) включает в себя линию подачи воздуха, которая в процессе работы соединена с компрессором. Предпочтительно, чтобы компрессор был расположен на буровой установке (100). Однако в отличие от типичной исследовательской аппаратуры с длинными линиями аналоговой связи шлангокабель (214) системы (222) управления источником согласно фиг.2 включает в себя только линии цифровой связи между находящемся в море контроллером (218) источника и процессором (120) на буровой установке (100). Использование линий передачи цифровой информации исключает любые перекрестные помехи, потери сигнала и возможность непреднамеренного запуска пушки при отключении линий связи. Как упоминалось выше, воздушная пушка (106) управляется находящимся в море контроллером (218) и формирует сейсмические волны, которые принимаются скважинными приемниками (103) для формирования, например, вертикального сейсмического профиля.
Кроме того, система (222) управления источником может включать в себя присоединенный буй (108) для поддержания воздушной пушки (106), находящегося в море контроллера (218) и любой другой находящейся в море аппаратуры. Преимущественно буй (108) может включать в себя навигационную систему или датчик перемещения, такой, как устройство (224) системы глобального позиционирования (GPS). Устройства системы глобального позиционирования можно легко получить от различных поставщиков. Помимо всего прочего устройство (224) системы глобального позиционирования облегчает обнаружение изменений вертикальной высоты (вследствие, например, волн или изменений в характере прилива и отлива). Как упоминалось выше, запуск воздушных пушек (106) при различных высотах волны может отрицательно сказаться на определении сигнатуры источника в виде воздушной пушки (106) и/или на других данных, собираемых посредством скважинных приемников (103). В соответствии с этим с устройства (224) глобальной системы позиционирования информация о положении передается в процессор (120) и/или в находящийся в море контроллер (218) источника, так что воздушная пушка (106) может быть запущена только при определенных высотах. Запуском воздушной пушки (106) при определенных высотах можно управлять посредством переключателя или другого механизма, связанного с устройством (224) системы глобального позиционирования или с находящимся в море контроллером (218), так что воздушная пушка автоматически запускается при некоторой предварительно заданной высоте волны. При обычных морских исследованиях воздушные пушки запускаются через регулярные интервалы времени вне зависимости от высоты. В соответствии с принципами, описанными в настоящей заявке, введение датчика перемещения повышает точность определения сигнатуры источника, что рассмотрено более подробно ниже.
В дополнение к обеспечению информацией о местоположении устройство (224) глобальной системы позиционирования также может принимать и транслировать эталон (единицы) времени в находящийся в море контроллер (218), процессор (120) и/или в любые навигационные подсистемы, которые могут быть использованы совместно с системой (222) управления источником. Эталоном (единицы) времени может быть, например, время по Гринвичу (UTC). Эталон времени по Гринвичу может быть передан в различные подсистемы наблюдений для синхронизации запуска воздушных пушек (106) с регистрацией данных посредством скважинных приемников (103). Согласно некоторым вариантам осуществления изобретения также могут иметься поверхностные приемники, регистрация данных от которых также может быть синхронизирована с запуском воздушных пушек (106) путем использования эталона времени, обеспечиваемого устройством (224) глобальной системы позиционирования.
Кроме того, согласно некоторым вариантам осуществления изобретения находящийся в море контроллер (218) может включать в себя один или несколько находящихся в море датчиков, формирующих сигналы для того, чтобы помимо всего прочего обеспечивать возможность оценки сигнатуры источника. Предпочтительно, чтобы находящиеся в море датчики были размещены в находящемся в море контроллере (218) источника и сохраняли фиксированную геометрию относительно воздушной пушки (106) или другого сейсмического источника. Один или несколько находящихся в море датчиков могут включать в себя, но без ограничения ими: калиброванный цифровой гидрофон (210), датчик (227) глубины или датчик (229) давления воздуха. Один или несколько находящихся в море датчиков могут также включать в себя короткие линии аналоговой связи с находящимся в море контроллером (218) источника, при этом сигналы могут быть преобразованы в цифровую форму на источнике для ретрансляции в процессор (120). Поэтому согласно варианту осуществления изобретения из фиг.2 в случае, если система (222) управления источником включает в себя аналоговые линии, то эти линии являются относительно короткими, а не очень длинными аналоговыми линиями, обнаруживаемыми в предшествующих исследовательских системах, которые развернуты на всем пути от сейсмического источника до буровой установки. Гидрофон (210) согласно настоящему изобретению обеспечивает повышенную точность воспроизведения сигнала в ближнем поле, поскольку он прокалиброван в море, а преобразование в цифровую форму осуществлено около сейсмического источника. В дополнение к этому датчик (229) давления воздуха контролирует давление воздуха, подаваемого в источник с воздушными пушками, и сообщает об изменениях давления при запуске, которые могут быть учтены при определении сигнатуры источника. Поэтому сигнатура сейсмического источника может быть оценена более точно с учетом временных вариаций, гидродинамических вариаций, вариаций давления подаваемого воздуха и т.д. путем использования сигнала калиброванного цифрового гидрофона (210) и отсчетов давления воздуха в сейсмическом источнике.
Для обработки вертикального сейсмического профиля очень важной является оценка точности сигнала источника. Сигнал источника обеспечивает возможность разделения волновых полей восходящих и падающих волн. Благодаря многоканальным скоростным фильтрам, используемым для разделения волновых полей, несостоятельные сигнатуры источника приводят к остаточным сигналам в собранных данных. Эти остаточные сигналы фактически представляют собой «шум» и могут вносить существенное искажение в обработанные результаты. При все возрастающем внимании к измерениям истинной амплитуды и к периодическим скважинным сейсмическим измерениям состоятельность сигнатуры источника является очень важной для вертикального сейсмического профилирования. Хорошая оценка сигнатуры источника, получаемая путем использования способов и устройств, рассматриваемых в настоящей заявке, повышает состоятельность сигнатуры источника.
Ранее калибровка сигнатур источника осуществлялась путем визуальных проверок качества. Эти визуальные проверки качества включают в себя, например, отыскание воздушных пушек, которые не запустились, и проверку того, что частотная характеристика охватывает как нижний, так и верхний концы. Однако такие проверки являются до некоторой степени субъективными и даже хуже того, если эталонная сигнатура в дальнем поле для источника с воздушной пушкой (106) является неизвестной. Однако согласно настоящему варианту осуществления с находящимся в море контроллером (218) источника эталонные сигнатуры в дальнем поле для источника с воздушной пушкой (106) находятся в файле на буровой площадке, поэтому система (222) управления источником может быть запрограммирована для автоматической проверки измеряемой сигнатуры источника в сравнении с эталонной сигнатурой источника. Путем выполнения автоматической проверки гарантируется, что для каждого местоположения буровой площадки сигнатуры источника с воздушной пушкой (106) будут удовлетворять приемлемому критерию качества. Калиброванные и состоятельные сигнатуры источника важны для оценивания подповерхностных изменений при периодических наблюдениях. В случае калиброванной сигнатуры источника вариации отражений сейсмических волн будут представлять подповерхностные изменения, а не изменения сигнатуры источника.
Сигнатуры сейсмических источников для вертикального сейсмического профиля должны быть привязаны к поверхности, и в случае, если имеется изменение начального уровня (например, когда воздушная пушка (106) поднимается и опускается при сильном волнении), будут небольшие временные сдвиги от 1 до 2 мс. Однако изменения начального уровня могут быть исключены или скомпенсированы путем использования устройства (224) системы глобального позиционирования или другого оборудования, воспринимающего перемещение. Кроме того, прежде при скважинных сейсмических измерениях не делали коррекцию на приливно-отливное движение океана. Хотя отказ от выполнения коррекции на приливно-отливное движение океана может быть приемлемым в случае глубоководных исследований, но в зависимости от времени суток и амплитуды прилива и отлива он может существенно влиять на времена пробега в прибрежных районах. Поэтому согласно некоторым вариантам осуществления система (222) управления источником включает в себя датчик (227) глубины для контроля глубины погружения воздушной пушки (106) ниже поверхности воды. Датчиком (227) глубины может быть, например, доступный для приобретения батиметрический датчик. Вариации прилива и отлива также могут быть учтены в соответствии с принципами, описанными в настоящей заявке. В дополнение к этому воздушная пушка (106) может быть автоматически блокирована в случае, если с датчика (227) глубины приходит сообщение о глубине погружения, которая меньше заданного уровня. Параметры, поступающие с находящихся в море датчиков, могут быть автоматически отображены на дисплее процессора (120) для наблюдения пользователем.
Конфигурация воздушных пушек (106) может быть в виде кластерной компоновки, например в виде трехпушечного кластера. Однако также могут быть использованы другие компоновки воздушных пушек. Например, согласно некоторым вариантам осуществления изобретения могут быть предусмотрены кластеры воздушных пушек, содержащие вплоть до восьми или более пушек. Предшествующие способы ограничены одновременным возбуждением воздушных пушек. В настоящем изобретении находящийся в море цифровой контроллер (218) обеспечивает возможность разновременного запуска группы пушек (106), что раньше было недоступно при использовании на буровой установке аналоговых контроллеров, в которых отсутствовала гибкость настройки, позволяющая осуществлять запуск последовательно.
Далее обратимся к фиг.3, на которой показана схематическая иллюстрация одной возможной конфигурации системы (400) управления источником согласно объектам настоящего изобретения. Как показано на фиг.3, процессор (120) может быть портативным компьютером, выполняющим программу цифрового управления источником. Процессор (120) может осуществлять управление и/или контроль находящимися в море контроллером и датчиками (218), описанными выше со ссылкой на фиг.2, в число которых также может быть включено устройство (224, фиг.2) глобальной системы позиционирования. Предпочтительно, чтобы связной интерфейс между процессором (120) и находящимися в море контроллером (218) и датчиками (227, 229) был цифровой линией (430) связи. Эта цифровая линия (430) связи может быть использована для предварительного тестирования системы при подготовке к регистрации данных. Процессор (120) также может быть связан с системой (432) регистрации и отображения, например с системой MAXIS™ (многозадачная система регистрации и отображения) от Schlumberger, через другой цифровой интерфейс (434). Как показано, система (432) регистрации и отображения может включать в себя цифровой интерфейс (436) данных глобальной системы позиционирования. В качестве альтернативы процессор (120) может содержать цифровой интерфейс (436) данных системы глобального позиционирования. В соответствии с примером из фиг.3 процес
 
                         
                            


