PatentDB.ru — поиск по патентным документам

Иллюстрации к патенту 2358291

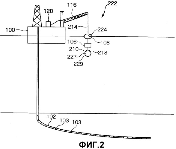
Способы и устройства управления источником для скважинной сейсморазведки

Способы и устройства управления источником для скважинной сейсморазведки (патент 2358291)