Устройство для отбора образцов текучей среды
Иллюстрации
Показать всеГруппа изобретений относится к устройству и способу для отбора образцов текучей среды, обогащенной выбранной фазой из многофазной смеси текучих сред. Устройство для отбора образцов текучей среды, втекающей в главную трубу и содержащую, по меньшей мере, выбранную фазу и еще одну фазу, содержит отборное приспособление для отбора образца текучей среды из многофазной смеси текучих сред. Устройство содержит отборную камеру, имеющую переменный объем, для сбора образца текучей среды из многофазной смеси текучих сред и обеспечения расслоения под действием силы тяжести образца текучей среды на текучую среду, обогащенную выбранной фазой, и текучую среду, обогащенную, по меньшей мере, еще одной фазой. Устройство также снабжено клапанным коллектором, присоединяющим отборное приспособление к отборной камере для направления образца текучей среды в отборную камеру и направления текучей среды, обогащенной выбранной фазой, в выпускной канал для образца и текучей среды, обогащенной другой фазой, обратно в главную трубу. Способ отбора образцов текучей среды, втекающей в главную трубу, соединенную с устройством для отбора образцов текучей среды, осуществляется в три этапа. Первый этап содержит операции отбора образца текучей среды из многофазной смеси текучих сред присоединением одного отборного зонда к отборной камере и увеличением объема камеры и обеспечения расслоения под действием силы тяжести образца текучей среды в отборной камере на текучую среду, обогащенную выбранной фазой, и, по меньшей мере, одну текучую среду, обогащенную ненужной фазой. Второй этап содержит операции сливания, по меньшей мере, одной текучей среды, обогащенной ненужной фазой, обратно в главную трубу соединением отборной камеры с одним отборным зондом и уменьшением объема камеры. Затем осуществляют повторение первого и второго этапов для получения данного количества текучей среды, обогащенной выбранной фазой, в отборной камере. Третий этап заключается в выталкивании текучей среды, обогащенной выбранной фазой, из камеры, подсоединении камеры к выпускному каналу и уменьшении объема камеры. Достигаемый при этом технический результат заключается в отсутствии засорения стоков жидкости и обеспечении достаточного для анализа количества отобранного образца, обогащенного выбранной фазой. 2 н. и 14 з.п. ф-лы, 2 ил.
Реферат
Область техники, к которой относится изобретение
Настоящее изобретение относится к устройству для отбора одной фазы из многофазной смеси текучих сред.
Конкретное применение изобретения относится к отбору различных фаз многофазной смеси текучих сред из углеводородной скважины. Такая многофазная смесь текучих сред обычно содержит три фазы: водную фазу, жидкую углеводородную фазу и газообразную углеводородную фазу.
Предпосылки создания изобретения
После бурения и обеспечения безопасности углеводородной скважины, обычно выполняются различные операции, такие как операции тестирования скважины, предназначенные для характеристики различных компонентов отходящего потока, вытекающего из скважины, и оценки продуктивных возможностей скважины, а затем операция эксплуатации скважины, пока добываемая нефть удовлетворяет требованиям качества, расхода и т.д.
В ходе этих операций состав отходящего потока изменяется. Отходящий поток первоначально состоит в основном из воды. Затем процент водного остатка постепенно снижается и состав отходящего потока обогащается нефтью и газом. Таким образом, отходящий поток является многофазной смесью текучих сред. Кроме того, многофазная смесь текучих сред может иметь сложные режимы течения, например аэрозольный, пузырьковый, снарядный, эмульсионный режимы и т.д., в стволе скважины или в выкидных линиях. В ходе операций тестирования и эксплуатации важно как можно точнее идентифицировать и/или анализировать различные фазы, составляющие многофазную смесь текучих сред. На предварительном этапе получают репрезентативный образец многофазной смеси текучих сред, вытекающей из углеводородной скважины. Известные системы раскрыты в патентах США 6,182,505 и 6,212,948 и относятся к устройству для отбора образцов текучих сред.
Для отбора фазы из многофазной смеси текучих сред согласно известному уровню техники обеспечивают трубу, по которой течет многофазная смесь текучих сред, снабженную отстойниками-ловушками (верхней и нижней ловушками), подсоединенную к соответствующему стоку для сбора конкретной фазы. Представление фаз, собранных отстойниками-ловушками, проблематично, поскольку фазы в отстойниках-ловушках не обновляются непрерывно. Кроме того, в нижней ловушке собираются все тяжелые фазы, например жидкости (нефть, вода) и твердые тела. Эти твердые тела часто засоряют сток, препятствуя дальнейшему отбору, и если важен поток самой тяжелой жидкости (воды), очень трудно сливать более легкую (нефть), поскольку скорость накопления может превышать скорость стока.
Также известен способ, согласно которому одноразовый образец (заборный цилиндр) извлекают из трубы, по которой течет многофазная смесь текучих сред, для дальнейших операций восстановления образца и разделения фаз в лаборатории. Восстановление образца в лаборатории состоит в воссоздании условий температуры и давления, имеющихся в трубе, для достижения первоначального термодинамического равновесия и, таким образом, первоначального состава фаз текучей среды. Затем стабилизированные фазы разделяют и переносят в несколько ячеек для физико-химических измерений. Этот способ не позволяет управлять отобранным объемом каждой фазы, что может приводить к недостаточному количеству данной фазы для измерений после отбора.
Сущность изобретения
Одной целью настоящего изобретения является создание устройства для отбора образцов, которое преодолевает, по меньшей мере, один из недостатков известных устройств.
Согласно изобретению устройство для отбора образцов текучей среды представляет собой активное устройство для отбора образцов, собирающее из многофазной смеси текучих сред, втекающей в главную трубу, образец выбранной фазы, не изменяя ее состав и состояние. Устройство для отбора образцов отбирает образец текущих текучих сред в выбранном положении трубы, собирает образец в камере переменного объема и обогащает образец в данной фазе, сбрасывая обратно в главную трубу ненужные фазы в итерационном процессе. Устройство для отбора образцов содержит детектор фазы для восприятия типа текучей среды, взятой и вытолкнутой из камеры, и детектор измерения объема для измерения объема камеры.
Устройство для отбора образцов позволяет отобрать значительный и управляемый объем выбранной фазы для дальнейшего анализа.
Устройство для отбора образцов позволяет поддерживать образец в условиях (давления и температуры) линейного течения в ходе всего процесса отбора во избежание изменения состава вследствие переноса массы.
В частности, настоящее изобретение относится к устройству для отбора образцов текучей среды, обогащенной выбранной фазой, из многофазной смеси текучих сред, втекающей в главную трубу, и содержащей, по меньшей мере, выбранную фазу и еще одну фазу, содержащему отборное приспособление для отбора образца текучей среды из многофазной смеси текучих сред, втекающей в главную трубу, отборную камеру, имеющую переменный объем, для сбора образца текучей среды из многофазной смеси текучих сред и обеспечения расслоения под действием силы тяжести образца текучей среды на текучую среду, обогащенную выбранной фазой, и текучую среду, обогащенную, по меньшей мере, еще одной фазой, и клапанный коллектор, подсоединяющий отборное приспособление к отборной камере, для направления образца текучей среды в отборную камеру и для направления текучей среды, обогащенной выбранной фазой, в выпускной канал для образца и текучей среды, обогащенной другой фазой, обратно в главную трубу.
Устройство для отбора образцов дополнительно содержит приспособление для управления температурой для поддержания отборной камеры и клапанного коллектора при температуре многофазной смеси текучих сред, имеющей место в главной трубе. Приспособление для управления температурой может содержать теплоизолятор, нагревательное устройство и регулятор температуры.
Отборное приспособление может содержать отборную трубу, приспособленную для подсоединения к главной трубе и содержащую, по меньшей мере, один отборный зонд. Отборная камера содержит верхний канал и нижний канал. Клапанный коллектор подсоединяет отборный зонд к камере и имеет выпускной канал для образца для обеспечения текучей среды, обогащенной выбранной фазой. Он содержит, по меньшей мере, один клапан зонда, подключающий отборный зонд к детектору фазы, клапан верхнего канала, подключающий детектор фазы к верхнему каналу, клапан нижнего канала, подключающий детектор фазы к нижнему каналу, и выпускной клапан, подключающий детектор фазы к выпускному каналу для образца.
Детектор фазы представляет собой, например, оптический детектор фазы.
Отборная камера может содержать поршень, способный двигаться вверх и назад в отборной камере под действием привода поршня. Переменный объем определяется положением поршня в отборной камере. Поршень отделен от стенки отборной камеры кольцевым отверстием для создания условий стекания текучей среды, присутствующей в камере, к нижнему каналу.
Отборная труба может содержать нижний, средний и верхний отборные зонды, соответственно расположенные в глубинной части, центральной части и верхней части отборной трубы. Верхний, средний и нижний отборные зонды обращены к потоку многофазной смеси текучих сред.
Отборная труба может дополнительно содержать отборный зонд для газа, расположенный либо в средней части, либо в верхней части отборной трубы, и ориентированный в противоположном направлении относительно нижнего, среднего и верхнего отборных зондов.
Отборная труба может содержать один отборный зонд, имеющий регулируемое положение в отборной трубе.
Устройство для отбора образцов может дополнительно содержать датчик для измерения объема отборной камеры (например, измеряющий положение поршня в отборной камере).
Настоящее изобретение также относится к способу отбора образцов текучей среды, обогащенной выбранной фазой, из многофазной смеси текучих сред, втекающей в главную трубу, соединенную с устройством для отбора образцов согласно изобретению. Способ отбора образцов содержит первый этап, содержащий этапы отбора образца текучей среды из многофазной смеси текучих сред соединением одного отборного зонда к отборной камере и увеличением объема камеры и обеспечения расслоения под действием силы тяжести образца текучей среды в отборной камере на текучую среду, обогащенную выбранной фазой, и, по меньшей мере, одну текучую среду, обогащенную ненужной фазой, второй этап, содержащий этапы сливания, по меньшей мере, одной текучей среды, обогащенной ненужной фазой, обратно в главную трубу соединением отборной камеры с одним отборным зондом и уменьшением объема камеры, повторение первого и второго этапов для получения данного количества текучей среды, обогащенной выбранной фазой, в отборной камере и третий этап выталкивания текучей среды, обогащенной выбранной фазой, из камеры соединением камеры с выпускным каналом и уменьшением объема камеры.
В ходе операции отбора образцов устройство для отбора образцов поддерживается при температуре многофазной смеси текучих сред, втекающих в главную трубу. Кроме того, фазы текучей среды, втекающей в отборную камеру и вытекающей из нее, отслеживаются.
Краткое описание чертежей
Настоящее изобретение проиллюстрировано на примерах и не ограничивается прилагаемыми чертежами, снабженными сквозной системой обозначений, на которых показано следующее:
фиг.1 изображает схему углеводородной скважины и скважинного оборудования, содержащего устройство для отбора образцов;
фиг.2 изображает схему устройства для отбора одной фазы из многофазной смеси текучих сред согласно изобретению.
Подробное описание изобретения
На фиг.1 схематически показана буровая установка OR для добычи углеводородов. Отходящий поток E вытекает из скважины через устье WH скважины. Устье WH скважины соединено с разнообразным скважинным оборудованием OE через главную трубу FL. Скважинное оборудование может содержать любое известное оборудование для тестирования скважины или эксплуатации скважины, которое не будет дополнительно описано. Главная труба FL содержит устройство 1 для отбора образцов текучей среды, обогащенной выбранной фазой, из отходящего потока E, образованного многофазной смесью текучих сред. Устройство для отбора образцов подает отобранную текучую среду SF либо на соответствующий анализатор ANA для анализа в условиях эксплуатации, либо в сосуд SB для образцов для последующего анализа в лаборатории LAB.
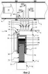
На фиг.2 схематически показано устройство для отбора одной фазы из многофазной смеси текучих сред согласно изобретению.
Устройство 1 для отбора образцов содержит отборную трубу 2, отборную камеру 3 переменного объема, клапанный коллектор 4 и приспособление 6 для управления температурой.
Отборная труба 2 приспособлена для подсоединения к главной трубе FL, например, известными средствами фланцев/ниппелей и соединений. Отборная труба 2 содержит четыре отборных зонда: отборный зонд SP1 для газа, нижний отборный зонд SP2, средний отборный зонд SP3 и верхний отборный зонд SP4.
Нижний отборный зонд SP2 расположен в нижней части отборной трубы 2. Средний отборный зонд SP3 расположен в центральной части трубы. Верхний отборный зонд SP4 расположен в верхней части трубы. Верхний, средний и нижний отборные зонды обращены к потоку многофазной смеси текучих сред FF (т.е. отборные наконечники верхнего, среднего и нижнего отборных зондов направлены против течения). Отборный зонд SP1 для газа расположен в средней части трубы и ориентирован в направлении течения многофазной смеси текучих сред FF, т.е. в противоположном направлении относительно верхнего, среднего и нижнего отборных зондов (т.е. отборный наконечник отборного зонда для газа направлен по течению).
Отборные зонды SP1, SP2, SP3, SP4 позволяют отбирать образцы в разных положениях и направлениях в главной трубе. В частности, это расположение позволяет захватывать преобладающую фазу многофазной смеси текучих сред FF, втекающей в главную трубу 2, в зависимости от ее качества (газ, жидкость) и от режимов течения (аэрозольный, пузырьковый, снарядный, эмульсионный режимы и т.д.). Для захвата преобладающей фазы один из отборных зондов можно выбирать посредством встроенного клапанного коллектора, дополнительно описанного ниже.
Форма отборной трубы и положение отборных зондов SP1, SP2, SP3 на одной вертикальной линии, как показано на фиг.2, не являются ограничениями. Альтернативно отборная труба может иметь формы и конфигурации, отличные от показанных на фиг.2, например, это может быть участок трубы, имеющий T-образное разветвление, колено и т.д. Кроме того, положение отборных зондов, а также их количество может варьироваться в зависимости от характеристик течения текучей среды. В частности, характеристики течения текучей среды зависят от положения точки отбора после коленчатого или прямолинейного участка главной трубы и т.д. Такая конфигурация главной трубы возможна, и поэтому положение отборного зонда может быть адаптировано к конфигурации. Таким образом, отборные зонды SP1, SP2, SP3, SP4 могут располагаться в соответствии с различными положениями, углами и направлениями относительно направления течения текучей среды в главной трубе.
Неподвижное расположение отборных зондов в трубе и отсутствие в них движущихся частей имеет то преимущество, что отборная труба и отборные зонды очень надежны в отношении утечек и проблем застревания независимо от характеристик течения многофазной смеси текучих сред (режима течения, давления, температуры, состава …).
Отборная камера 3 переменного объема содержит верхний канал 3A и нижний канал 3B. Отборная камера 3 дополнительно содержит поршень 7A. Поршень может двигаться в камере, поэтому переменный объем отборной камеры 3 определяется положением поршня 7A в ней. Размер поршня и его положение в камере определяет кольцевое отверстие 9, позволяющее текучей среде поступать в камеру или выходить из нее через нижний канал 3B. Камера изолирована от поршня сальником 7B. Преимущественно нижний канал расположен на уровне сальника поршня, т.е. в самой нижней точке, где можно собирать текучую среду, присутствующую в камере (например, тяжелую жидкую фазу).
Поршень 7A приводится в действие его приводом 7D. Привод 7D поршня может представлять собой гидравлический приводной агрегат, содержащий гидропривод для перемещения поршня в камере и нагруженную пружину для перемещения поршня из камеры. Альтернативно поршень отборной камеры может приводиться в действие любым другим известным механическим приводом (в зависимости от доступной энергии).
Устройство для отбора образцов дополнительно содержит датчик (не показан) для измерения объема (незаполненного пространства) отборной камеры. Датчик, например кодер, измеряет положение поршня в отборной камере. Значение этого объема может быть доступно для считывания с механического средства (верньера) и/или цифрового средства (дисплея).
Отборная камера с поршнем аналогична шприцу высокого давления, позволяя всасывать в камеру текучую среду, отобранную отборным зондом, и выбрасывать его из камеры. Камера действует как гравитационный сепаратор для отобранной текучей среды.
Для конкретного применения в разработке нефтяных месторождений смесь углеводородных текучих сред, протекающая в главной трубе, представляет собой смесь, которая обычно содержит три фазы: водную фазу (водяную фазу - фактически фазу, обогащенную водой), жидкую углеводородную фазу (нефтяную фазу - фактически фазу, обогащенную нефтью) и газообразную углеводородную фазу (газовую фазу). Отобранная текучая среда (смесь углеводородных текучих сред), поступающая в камеру, разделяется под действием силы тяжести на слой жидкости и слой GE газа. Слой жидкости состоит из слоя WE, обогащенного водой (воды с растворенными в ней газами, солями и примесями, а именно нефтью), и слоя, обогащенного нефтью, OE (нефти с растворенными в ней газами и примесью, а именно водой). Слой жидкости может дополнительно содержать эмульсионный слой между слоем, обогащенным водой, и слоем, обогащенным нефтью. Толщина эмульсионного слоя зависит от относительных физических и химических свойств (например, плотности, межфазного натяжения, и т.д.) нефтяной и водяной фаз. Текучая среда, отобранная одним из отборных зондов, может всасываться в камеру либо через верхний канал 3A, либо через нижний канал 3B. Предпочтительно текучая среда всасывается через верхний канал 3A.
Текучая среда, находящаяся в камере, может выпускаться из камеры через верхний канал 3A или через нижний канал 3B. Предпочтительно более легкие фазы (газовая фаза, но также фаза, обогащенная нефтью) выбрасываются из камеры через верхний канал 3A, а более тяжелые фазы (фаза, обогащенная водой, но также фаза, обогащенная нефтью) выбрасываются через нижний канал 3B. Любой отборный зонд SP1, SP2, SP3, SP4 можно использовать для сброса ненужной фазы обратно в главную трубу FL. Преимущество состоит в том, что камеру можно сконструировать так, чтобы минимизировать неиспользуемый объем.
Клапанный коллектор 4 подключает отборные зонды SP1, SP2, SP3 и SP4 с отборной камерой 3. Клапанный коллектор обеспечивает гидравлическую и механическую связь между зондами и камерой.
Клапанный коллектор 4 содержит выпускной канал 5 для образца для подачи текучей среды, обогащенной одной фазой, например, на соответствующий анализатор для непосредственного анализа текучей среды или в транспортировочный цилиндр или сосуд для последующего анализа в лаборатории.
Клапанный коллектор 4 также содержит детектор 8 фазы для определения типа фазы, текущей из отборных зондов в камеру и обратно или из камеры к выпускному каналу. Преимущественно детектор фазы представляет собой оптический детектор фазы. Зонд с оптическим детектором фазы встроен в клапанный коллектор, что позволяет воспринимать все текучие среды, втекающие в камеру и вытекающие из нее.
Клапанный коллектор 4 содержит, по меньшей мере, один клапан V1, V2, V3, V4 зонда, клапан V5 верхнего канала, клапан V6 нижнего канала и выпускной клапан V7.
Четыре клапана V1, V2, V3, V4 зонда соответственно подключают газовый SP1, нижний SP2, средний SP3 и верхний SP4 отборные зонды к детектору 8 фазы.
Клапан V5 верхнего канала подключает детектор 8 фазы к верхнему каналу 3A камеры 3.
Клапан V6 нижнего канала подключает детектор фазы к нижнему каналу 3B камеры 3.
Выпускной клапан V7 подключает детектор 8 фазы к выпускному каналу 5 для образца.
Клапанный коллектор 4 допускает выбор отборных зондов, подключение к отборной камере (сверху или снизу) и активацию выпускного канала для образца.
Клапанный коллектор 4 позволяет выбрасывать отобранную текучую среду из камеры либо в главную трубу через один из отборных зондов SP1, SP2, SP3 или SP4, либо в выпускной канал для образца 5 для дальнейшего использования (непосредственного анализа или транспортировочного цилиндра).
Клапанным коллектором 4 может вручную управлять оператор в зависимости от индикации, обеспечиваемой детектором фазы, или же блок управления (не показан) в автоматическом или полуавтоматическом режиме. Блок управления может открывать или закрывать различные клапаны и управлять перемещением поршня в соответствии с измерениями, проведенными детектором фазы, и запрограммированной фазой, которая в основном подлежит отбору.
Устройство 1 для отбора образцов содержит приспособление 6 для управления температурой для поддержания отборной камеры 3 и клапанного коллектора 4 при температуре многофазной смеси текучих сред FF, втекающей в главную трубу FL. Приспособление 6 для управления температурой содержит теплоизолятор (не показан). Теплоизолятор позволяет клапанному коллектору и отборной камере пользоваться теплом, переносимым отобранной текучей средой через различные соединения.
Приспособление для управления температурой также может содержать нагревательное устройство и регулятор температуры (не показан). Эта альтернатива применима в случае, когда очень важен температурный градиент между главной трубой и отборной камерой вследствие недостаточной теплопередачи.
Кроме того, поршень 7A и привод 7D поршня могут быть теплоизолированы от камеры теплоизолятором 7C поршня. Преимущественно изолятор представляет собой особое соединение материалов.
Приспособление для управления температурой позволяет поддерживать образец текучей среды при той же температуре, при которой находится многофазная смесь текучих сред, втекающая в главную трубу, во избежание переноса массы между разными фазами в соответствии с законами термодинамики.
Преимущественно все смачиваемые детали устройства для отбора образцов выполнены из надлежащего сплава для обеспечения наилучшей химической стойкости и инертности и наилучшей механической прочности. Максимальные рабочие давление и температура зависят от применения, например, в нефтяной промышленности, устройство отбора образцов работает под давлением до 700 бар и при температуре до 150°C.
Вышеописанное устройство для отбора образцов действует следующим образом.
После подключения устройства для отбора образцов к главной трубе углеводородной скважины на первом этапе осуществляется операция отбора образцов. Вначале все клапаны находятся в закрытом состоянии. При осуществлении операции отбора образцов отбирают в основном образец текучей среды, обогащенный выбранной фазой, из многофазной смеси текучих сред, втекающей в главную трубу. В зависимости от того, какая фаза выбрана для отбора, выбирают конкретный отборный зонд из четырех отборных зондов SP1, SP2, SP3, SP4. Выбор отборного зонда осуществляется клапанным коллектором 4. Например, для отбора образца текучей среды, обогащенного газом, выбирают отборный зонд SP1 для газа, открывая газовый отборный клапан V1, для отбора образца текучей среды, обогащенного нефтью, выбирают средний SP3 и/или верхний SP4 отборный зонд, открывая соответственно средний отборный клапан V3 и/или верхний отборный клапан V4, для отбора образца текучей среды, обогащенной водой, выбирают нижний отборный зонд SP2, открывая нижний отборный клапан V2.
Однако в зависимости от режима течения, преобладающего в главной трубе, и конфигурации трубы каждый из зондов SP2, SP3, SP4, обращенных к потоку, можно выбирать для отбора в основном данной тяжелой фазы (текучей среды, обогащенной водой, или текучей среды, обогащенной нефтью).
Отборный зонд SP1 для газа расположен в верхней части трубы и в соответствии с направлением течения используется для отбора в основном текучей среды, обогащенной газом. Благодаря различиям в плотностях, а следовательно, во внутренних силах между жидкостью и газом отборный зонд SP1 для газа отбирает больше газа, поскольку жидкость не будет легко изменять направление своего течения.
На этом первом этапе клапан V5 верхнего канала также предпочтительно открывается, позволяя отобранной текучей среде втекать в камеру 3 через верхний канал 3A. Альтернативно может открываться клапан V6 нижнего канала, позволяя отобранной текучей среде втекать в камеру 3 через нижний канал 3В. Альтернативно могут отрываться клапаны обоих каналов, позволяя отобранной текучей среде втекать в камеру 3.
Одновременно поршень 7A перемещается назад для всасывания отобранной текучей среды в камеру. Предпочтительно поршень движется со скоростью, которая обеспечивает малый перепад давления между главной трубой и камерой.
Поэтому на первом этапе отобранная текучая среда переносится из главной трубы в отборную камеру с минимальным перепадом давления.
На первом этапе детектор фазы используется для управления типом фазы текучей среды, втекающей в отборную камеру.
На втором этапе отобранная текучая среда, присутствующая в камере, обогащается выбранной фазой. Это осуществляется за счет всасывания отобранной текучей среды в отборную камеру и сброса ненужной фазы обратно в главную трубу. Отобранная текучая среда, всосанная в отборную камеру, осаждается с образованием слоя под действием силы тяжести. Предпочтительно устройство отбора образцов работает в вертикальном положении для усиления гравитационной сегрегации разных фаз. В частности, тяжелая фаза (например, текучая среда WE, обогащенная водой) осаждается к нижнему каналу 3B через кольцевое отверстие 9 между поршнем 7A и стенкой камеры 3, тогда как более легкая фаза (например, фаза GE, обогащенная газом, и/или фаза OE, обогащенная нефтью) остается вблизи верхней части камеры. Ненужные фазы сбрасываются обратно в главную трубу либо через верхний канал 3A, либо через нижний канал 3B в зависимости от их плотности по отношению к выбранной фазе. Операция сброса осуществляется путем перемещения поршня 7A вверх в камере 3 и открытия соответствующего канального клапана V5 или V6. Ненужная фаза сбрасывается в главную трубу FL через один из отборных зондов SP1, SP2, SP3 или SP4 через соответствующий клапан V1, V2, V3 или V4.
Эти этапы можно повторять в итерационном процессе для накопления значительного или достаточного объема образца текучей среды, обогащенного выбранной фазой, в отборной камере. Детектор фазы можно использовать для восприятия типа текучей среды, покидающей отборную камеру, и определения, заполнена ли отборная камера в основном выбранной фазой, подлежащей отбору.
В общем случае отбор текучей среды, обогащенной данной фазой, в потоке многофазной смеси текучих сред невозможен как таковой вследствие большого разнообразия режимов течения и соотношений между фазами, с которыми приходится сталкиваться. Однако в выкидном трубопроводе всегда имеется положение, где фаза в основном присутствует. Таким образом, правильный выбор отборного зонда может сократить количество итераций для обогащения отобранной текучей среды данной фазой.
На третьем этапе известный объем образца текучей среды, обогащенной выбранной фазой, выбрасывается через выпускной канал во внешнее приспособление (например, транспортировочный сосуд, анализирующее устройство). Это осуществляется путем открытия выпускного клапана V7 и одного или обоих из верхнего V5 и нижнего V6 канальных клапанов и перемещения поршня 7A вверх в камере 3. Детектор фазы можно использовать для восприятия типа текучей среды, выходящей из отборной камеры, и подтверждения, что она соответствует выбранной фазе, подлежащей отбору.
На этих этапах образец поддерживается в условиях давления и температуры главной трубы. Это позволяет избежать переноса массы между разными фазами согласно законам термодинамики.
Предпочтительно давление поддерживается на клапане давления главной трубы благодаря тому, что остается открытым соединение через отборный зонд в течение всего процесса, в то время как в камере присутствует более одной фазы (в ходе процесса отбора или сброса). Управление давлением в ходе переноса отобранной текучей среды с выбранной фазой на приспособление осуществляется вручную или автоматически путем регулировки скорости поршня 7A и отверстия выпускного клапана V7.
Согласно вышеописанному варианту осуществления устройство для отбора образцов содержит четыре отборных зонда для отбора разных фаз. Однако из вышеописанного принципа работы специалистам в данной области ясно, что отборная труба может содержать меньше или больше отборных зондов, но, по меньшей мере, один отборный зонд. В частности в порядке альтернативы (не показанной) отборная труба может содержать один отборный зонд, имеющий регулируемое положение по высоте в отборной трубе. Этот один отборный зонд, подключенный к детектору фазы, позволяет размещать отборный зонд в соответствующем положении в трубе для преимущественного отбора текучей среды, обогащенной данной фазой.
Один зонд можно активно размещать в нужной фазе посредством привода с гидравлическим или механическим управлением в зависимости от сигнала детектора фазы.
Хотя устройство для отбора образцов было описано применительно к конкретному примеру, состоящему в отборе значительного объема образца воды, нефти или газа, текущего в главной трубе после устья скважины на поверхности, его, очевидно, можно использовать в других вариантах применения, например в подводном месторождении, или в трубопроводе, или совместно с многофазным расходомером и т.д.
Было описано конкретное применение изобретения в нефтяной промышленности. Однако изобретение применимо также к другим отраслям промышленности, где необходимо анализировать конкретную фазу многофазной смеси текучих сред, втекающей в главную трубу (например, в пищевой промышленности, химической промышленности и т.д.).
Чертежи и их вышеприведенное описание иллюстрируют, но не ограничивают изобретение.
Любое условное обозначение в формуле изобретения не следует рассматривать в порядке ее ограничения. Слово «содержащий» не исключает наличия других элементов помимо перечисленных в формуле изобретения. Употребление элемента в единственном числе не исключает наличия совокупности таких элементов.
1. Устройство (1) для отбора образцов текучей среды, обогащенной выбранной фазой из многофазной смеси текучих сред (FF), втекающей в главную трубу (FL) и содержащую, по меньшей мере, выбранную фазу и еще одну фазу, содержащее отборное приспособление (2, SP1, SP2, SP3, SP4) для отбора образца текучей среды из многофазной смеси текучих сред (FF), втекающей в главную трубу (FL), отборную камеру (3), имеющую переменный объем, для сбора образца текучей среды из многофазной смеси текучих сред и обеспечения расслоения под действием силы тяжести образца текучей среды на текучую среду, обогащенную выбранной фазой, и текучую среду, обогащенную, по меньшей мере, еще одной фазой, и клапанный коллектор (4), соединяющий отборное приспособление к отборной камере (3) для направления образца текучей среды в отборную камеру (3) и направления текучей среды, обогащенной выбранной фазой, в выпускной канал (5) для образца и текучей среды, обогащенной другой фазой, обратно в главную трубу (FL).
2. Устройство для отбора образцов по п.1, которое дополнительно содержит приспособление (6) для управления температурой для поддержания отборной камеры (3) и клапанного коллектора (4) при температуре многофазной смеси текучих сред (FF), имеющей место в главной трубе (FL).
3. Устройство для отбора образцов по п.2, в котором приспособление (6) для управления температурой содержит теплоизолятор, нагревательное устройство и регулятор температуры.
4. Устройство для отбора образцов по любому из предыдущих пунктов, в котором отборное приспособление содержит отборную трубу (2), приспособленную для соединения с главной трубой (FL), и содержащую, по меньшей мере, один отборный зонд (SP1, SP2, SP3, SP4), отборная камера (3) имеет переменный объем и содержит верхний канал (3A) и нижний канал (3B), и клапанный коллектор (4), соединяющий отборный зонд с камерой и имеющий выпускной канал (5) для образца для обеспечения текучей среды, обогащенной выбранной фазой, содержит, по меньшей мере, один клапан (V1, V3, V3, V4) зонда, подсоединяющий отборный зонд к детектору (8) фазы, клапан (V5) верхнего канала, подсоединяющий детектор фазы к верхнему каналу, клапан (V6) нижнего канала, подсоединяющий детектор фазы к нижнему каналу, и выпускной клапан (V7), подсоединяющий детектор фазы к выпускному каналу для образца.
5. Устройство для отбора образцов по любому из пп.1-3, в котором отборная камера содержит поршень (7А), и дополнительно имеется привод (7D) поршня для перемещения поршня в отборной камере (3), причем переменный объем этой камеры определяется положением поршня в ней.
6. Устройство для отбора образцов по п.5, в котором поршень (7A) отделен от стенки отборной камеры (3) кольцевым отверстием (9) для обеспечения протекания текучей среды, присутствующей в камере, к нижнему каналу (3B).
7. Устройство отбора образцов по любому из пп.1-3, 6, в котором отборная труба (2) дополнительно содержит нижний отборный зонд (SP2), расположенный в нижней части отборной трубы, средний отборный зонд (SP3), расположенный в центральной части отборной трубы, верхний отборный зонд (SP4), расположенный в верхней части отборной трубы, причем верхний, средний и нижний отборные зонды обращены к потоку многофазной смеси текучих сред.
8. Устройство для отбора образцов по любому из пп.1-3, 6, в котором отборная труба (2) дополнительно содержит отборный зонд (SP1) для газа, расположенный в средней части отборной трубы и ориентированный в противоположном направлении относительно нижнего, среднего и верхнего отборных зондов (SP2, SP3, SP4).
9. Устройство для отбора образцов по любому из пп.1-3, 6, в котором отборная труба (2) дополнительно содержит отборный зонд (SP1) для газа, расположенный в верхней части отборной трубы и ориентированный в противоположном направлении относительно нижнего, среднего и верхнего отборных зондов (SP2, SP3, SP4).
10. Устройство для отбора образцов по любому из пп.1-3, 6, в котором отборная труба содержит один отборный зонд, имеющий регулируемое положение в отборной трубе.
11. Устройство для отбора образцов по любому из пп.1-3, 6, в котором детектор (8) фазы представляет собой оптический детектор фазы.
12. Устройство для отбора образцов по любому из пп.1-3, 6, которое дополнительно содержит датчик для измерения объема отборной камеры.
13. Устройство для отбора образцов по п.12, в котором датчик измеряет положение поршня в отборной камере.
14. Способ отбора образцов текучей среды, обогащенной выбранной фазой, из многофазной смеси текучих сред (FF), втекающей в главную трубу (FL), соединенную с устройством для отбора образцов текучей среды по любому из пп.1-13, содержащий следующие этапы:первый этап, содержащий этапы отбора образца текучей среды из многофазной смеси текучих сред соединением одного отборного зонда к отборной камере и увеличением объема камеры, и обеспечение расслоения под действием силы тяжести образца текучей среды в отборной камере на текучую среду, обогащенную выбранной фазой, и, по меньшей мере, одну текучую среду, обогащенную ненужной фазой,второй этап, содержащий этапы сливания, по меньшей мере, одной текучей среды, обогащенной ненужной фазой, обратно в главную трубу, соединением отборной камеры с одним отборным зондом и уменьшением объема камеры, повторение первого и второго этапов для получения данного количества текучей среды, обогащенной выбранной фазой, в отборной камере, итретий этап выталкивания текучей среды, обогащенной выбранной фазой, из камеры подсоединением камеры к выпускному каналу и уменьшением объема камеры.
15. Способ отбора образцов по п.14, который дополнительно содержит этап поддерживания устройства для отбора образцов при температуре многофазной смеси текучих сред (FF), втекающей в главную трубу.
16. Способ отбора образцов по п.14 или 15, который дополнительно содержит этап наблюдения за фазами текучей среды, втекающей в отборную камеру и вытекающей из нее.
 
                         
                            
