Иллюстрации к патенту
2372602
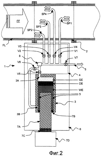
Устройство для отбора образцов текучей среды