Устройство, система и способ для нагнетания текучей среды в скважину
Иллюстрации
Показать всеГруппа изобретений относится к нефтедобывающей промышленности, в частности к инструменту для нагнетания текучей среды в скважину. Устройство содержит инструмент, предназначенный для размещения в стволе скважины и имеющий отверстие для нагнетания текучей среды в скважину, кожух для, по меньшей мере, частичного охвата инструмента для обеспечения размещения инструмента эксцентрически относительно продольной оси ствола скважины, имеющий часть с большей толщиной в радиальном направлении, проходящую в первом диапазоне углов вокруг продольной оси инструмента. Отверстие инструмента ориентировано под углом, находящимся в пределах первого диапазона. Достигается уменьшение повреждений обсадной колонны. 3 н. и 13 з.п. ф-лы, 6 ил.
Реферат
Предпосылки создания изобретения
Настоящее изобретение в целом относится к дроссельному инжектору, расположенному эксцентрически относительно ствола скважины.
Дроссельный инжектор представляет собой скважинный инструмент, который, как правило, используется для нагнетания текучей среды, такой как морская вода, в кольцевое пространство скважины. Как означает его название, дроссельный инжектор, как правило, имеет регулируемую скорость потока. Однако проблема, связанная с использованием дроссельного инжектора, заключается в том, что текучая среда, которая выходит из его радиально направленных отверстий, может вызвать эрозию обсадной колонны скважины.
Таким образом, целью настоящего изобретения является создание устройства, системы и способа нагнетания текучей среды в скважину, обеспечивающих уменьшение повреждения обсадной колонны скважины.
Согласно изобретению создано устройство для нагнетания текучей среды в скважину, содержащее инструмент, предназначенный для размещения в стволе скважины и имеющий отверстие для нагнетания текучей среды в скважину, и кожух, предназначенный для, по меньшей мере, частичного охвата инструмента для обеспечения размещения инструмента эксцентрически относительно продольной оси ствола скважины и имеющий часть с большей толщиной в радиальном направлении, проходящую в первом диапазоне углов вокруг продольной оси инструмента, при этом отверстие инструмента ориентировано под углом, находящимся в пределах первого диапазона.
Кожух может быть выполнен с возможностью уменьшения скорости текучей среды посредством увеличения расстояния, проходящего текучей средой от отверстия инструмента до контакта обсадной колонной скважины по сравнению с инструментом, расположенным концентрически относительно ствола скважины.
Отверстие инструмента может быть ориентировано для, по существу, максимизации расстояния, проходящего текучей средой от отверстия до контакта с обсадной колонной скважины.
Инструмент может представлять собой дроссельный инжектор.
Инструмент может содержать дроссельный корпус и внутреннюю дроссельную гильзу, расположенную в дроссельном корпусе. Дроссельный корпус может быть концентрически расположен относительно внутренней дроссельной гильзы. Внутренняя дроссельная гильза может иметь отверстие и плавно перемещаться в продольном направлении в дроссельном корпусе, при этом дроссельный корпус имеет окно для открытия отверстия при перемещении внутренней дроссельной гильзы в заданное положение в продольном направлении. Инструмент может содержать приводное средство для перемещения внутренней дроссельной гильзы относительно дроссельного корпуса.
Согласно изобретению, создан способ для нагнетания текущей среды в скважину, включающий размещение в стволе скважины инструмента для нагнетания текучей среды в скважину через отверстие инструмента, размещение, по меньшей мере, частично вокруг инструмента кожуха для обеспечения размещения инструмента эксцентрически относительно продольной оси ствола скважины, имеющего часть с большей толщиной в радиальном направлении, проходящую в первом диапазоне углов вокруг продольной оси инструмента, регулирование скорости текучей среды в кольцевое пространство скважины, которое содержит ориентацию отверстия инструмента под углом, находящимся в пределах первого диапазона.
Регулирование скорости текучей среды может включать увеличение расстояния, проходящего текучей средой от отверстия инструмента до контакта с обсадной колонной по сравнению с инструментом, расположенным, по существу, концентрически относительно продольной оси ствола скважины.
Инструмент может представлять собой дроссельный инжектор.
Способ может дополнительно включать избирательное перемещение внутренней гильзы инструмента относительно наружного корпуса инструмента для регулирования нагнетания текучей среды посредством отверстия.
Согласно изобретению система для нагнетания текучей среды в скважину содержит колонну, содержащую дроссельный инжектор, предназначенный для размещения в стволе скважины и имеющий отверстия для нагнетания текучей среды в скважину, и кожух, предназначенный для, по меньшей мере, частичного охвата дроссельного инжектора для обеспечения размещения дроссельного инжектора эксцентрически относительно продольной оси ствола скважины и имеющий часть с большей толщиной в радиальном направлений, проходящую в первом диапазоне углов вокруг продольной оси дроссельного инжектора, при этом отверстия дроссельного инжектора ориентированы под углами, которые находятся в пределах первого диапазона.
Кожух может быть выполнен с возможностью максимизации расстояния, проходящего текучей средой от отверстий дроссельного инжектора до контакта с обсадной колонной скважины для уменьшения скорости текучей среды, выходящей из отверстий по сравнению с инструментом, расположенным концентрически относительно ствола скважины.
Отверстия дроссельного инжектора могут быть ориентированы для, по существу, максимизации расстояния, проходимого текучей средой от отверстий до контакта с обсадной колонной скважины.
Кожух может содержать часть, расположенную эксцентрически относительно продольной оси дроссельного инжектора, и отверстия дроссельного инжектора ориентированы под углами, которые совмещены с указанной частью кожуха.
Преимущества и другие признаки изобретения станут очевидными из нижеприведенных чертежей, описания и формулы изобретения.
Краткое описание чертежей
Фиг.1 представляет собой схематическое изображение скважины в соответствии с одним вариантом осуществления изобретения.
Фиг.2 и 5 представляют собой схематические изображения различных частей дроссельного инжектора в сборе по фиг.1 в соответствии с одним вариантом осуществления изобретения.
Фиг.3 представляет собой поперечное сечение, выполненное по линии 3-3 на фиг.2, в соответствии с одним вариантом осуществления изобретения.
Фиг.4 представляет собой поперечное сечение, выполненное по линии 4-4 на фиг.2, в соответствии с одним вариантом осуществления изобретения.
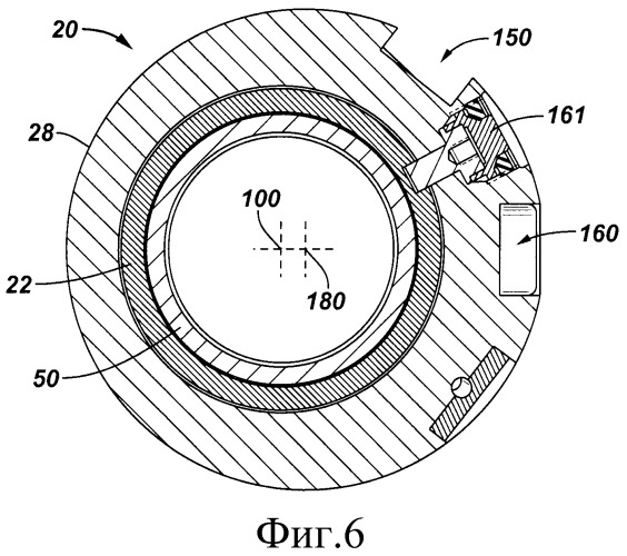
Фиг.6 представляет собой поперечное сечение, выполненное по линии 6-6 на фиг.5, в соответствии с одним вариантом осуществления изобретения.
Подробное описание
Как показано на фиг.1, в соответствии с одним вариантом осуществления изобретения скважина (подземная или подводная) включает в себя колонну 16 труб, которая содержит дроссельный инжектор (часть узла 20 дроссельного инжектора, предусмотренного в колонне 16), а именно инструмент, который может быть использован для нагнетания текучей среды (например, морской воды) в радиальном направлении в скважину. В отличие от обычных дроссельных инжекторов дроссельный инжектор расположен эксцентрически относительно продольной оси ствола скважины. Как описано ниже, благодаря эксцентрическому расположению дроссельного инжектора отверстия дроссельного инжектора будут располагаться достаточно далеко от обсадной колонны 14, что позволяет минимизировать повреждения обсадной колонны 14, вызванные нагнетанием текучей среды из отверстий.
В соответствии с некоторыми вариантами осуществления изобретения эксцентрическое расположение дроссельного инжектора обеспечивается посредством наружных кожухов 28 (при этом кожухи 28а и 28b показаны на фиг.1 в качестве примеров) узла 20 дроссельного инжектора, которые, по существу, проходят в радиальном направлении наружу от колонны 16. Каждый кожух 28 имеет неравномерную толщину в радиальном направлении, что проявляется в том, что каждый кожух 28 имеет большую толщину в радиальном направлении в определенном непрерывном диапазоне углов вокруг продольной оси узла 20 дроссельного инжектора по сравнению с толщиной в радиальном направлении в остальной части кожуха 28.
Как отмечено выше, нецентрированность дроссельного инжектора обеспечивает максимизацию расстояния, которое проходит текучая среда (после выхода из его отверстий) перед тем, как она достигнет обсадной колонны 14, по сравнению с обычным дроссельным инжектором, который является концентрическим относительно продольной оси ствола скважины. Благодаря данному дополнительному расстоянию, которое проходит выходящая текучая среда, скорость текучей среды уменьшается, в результате чего уменьшается, если не предотвращается, эрозия обсадной колонны 14, вызванная контактом текучей среды с обсадной колонной 14.
Как показано на фиг.1, обсадная колонна 14, по существу, покрывает ствол 12 скважины, в котором размещена колонна 16 и узел 20 дроссельного инжектора. Дроссельный инжектор образован, по меньшей мере, из внутренней дроссельной гильзы 50 (фиг.2-6) и наружного трубчатого дроссельного корпуса 22. Внутренняя дроссельная гильза приспособлена для перемещения в продольном направлении в наружном дроссельном корпусе 22 для регулирования потока текучей среды наружу из дроссельного инжектора. Внутренняя дроссельная гильза включает в себя радиальные каналы или отверстия, которые, будучи открытыми посредством одного или нескольких окон 24 (при этом одно окно 24 показано на фиг.1, и несколько окон 24 показаны на фиг.4) наружного дроссельного корпуса 22, обеспечивают нагнетание текучей среды в скважину. Число отверстий, которые открываются посредством окна (окон) 24, зависит от конструкции дросселя и местоположения внутренней дроссельной гильзы.
Положение внутренней дроссельной гильзы в продольном направлении (относительно наружного дроссельного корпуса 22) можно механически изменять посредством манипулирования с поверхности скважины в соответствии с некоторыми вариантами осуществления изобретения. Однако в соответствии с другими вариантами осуществления изобретения узел 20 дроссельного инжектора включает в себя приводное устройство 26, которым можно дистанционно управлять с поверхности скважины в целях перемещения внутренней дроссельной гильзы в продольном направлении вверх и вниз внутри дроссельного корпуса 22 для регулирования потока текучей среды из дроссельного инжектора.
В некоторых вариантах осуществления изобретения приводным устройством 26 можно управлять с помощью гидравлической линии управления. Альтернативно, в других вариантах осуществления изобретения приводным устройством 26 можно управлять посредством других механизмов, например, посредством проводного соединения (например, электрического или оптического кабеля) между приводным устройством 26 и поверхностью скважины. В других вариантах осуществления изобретения приводным устройством 26 можно управлять посредством управляющих воздействий, передаваемых беспроводным образом, которые передаются приводному устройству 26 с поверхности скважины. В качестве примеров управляющие воздействия, передаваемые беспроводным образом, могут включать в себя импульсы давления текучей среды, акустические волны, электромагнитные волны и т.д. в зависимости от конкретного варианта осуществления изобретения.
На фиг.2 и 5 показаны приведенные в качестве примера соответственно нижняя 20А и верхняя 20В части узла 20 дроссельного инжектора в соответствии с некоторыми вариантами осуществления изобретения. Изображение частей 20А и 20В приведено для примера и не предназначено для ограничения объема притязаний приложенной формулы изобретения. Например, в других вариантах осуществления изобретения узел 20 дроссельного инжектора 20 может включать в себя дополнительные части, помимо показанных на чертежах, которые имеют дополнительные множества отверстий и секции дросселирования, которые представляют собой часть одной и той же внутренней дроссельной гильзы. Таким образом, многие варианты возможны и находятся в пределах объема притязаний приложенной формулы изобретения.
Как показано на фиг.2 и 5, в соответствии с некоторыми вариантами осуществления изобретения узел 20 дроссельного инжектора включает в себя дроссельный инжектор и один или несколько кожухов 28. Дроссельный инжектор, который, как можно увидеть, образован из внутренней дроссельной гильзы 50 и наружного дроссельного корпуса 22, является концентрическим относительно продольной оси 100 (фиг.6), и узел 20 дроссельного инжектора является концентрическим относительно продольной оси 180 (фиг.6).
Внутренняя дроссельная гильза 50 выполнена с возможностью и предназначена для перемещения вверх и вниз в продольном направлении относительно наружного дроссельного корпуса 22 для регулирования потока, выходящего из дроссельного инжектора. Как показано на фиг.2, внутренняя дроссельная гильза 50 имеет центральный канал 40 для перемещения текучей среды от поверхности скважины, и некоторая часть данной текучей среды, в зависимости от состояния дроссельного инжектора, может быть подана в радиальном направлении в скважину.
Внутренняя дроссельная гильза 50 включает радиальные каналы или отверстия 54 и 56. Как показано на фиг.2, отверстия 54 могут иметь, по существу, большие площади сечения потока, чем отверстия 56. Таким образом, в соответствии с некоторыми вариантами осуществления изобретения приводное устройство 26 обеспечивает перемещение внутренней дроссельной гильзы 50 для открытия у окна (окон) 24 (фиг.1) наружного дроссельного корпуса 22 отверстия 54 для создания большего потока в радиальном направлении из дроссельного инжектора и обеспечивает перемещение внутренней дроссельной гильзы 50 для открытия меньших отверстий 56 у окна (окон) 24 для создания уменьшенного потока из дроссельного инжектора. В целях установки дроссельного инжектора в его закрытом состоянии приводное устройство 26 обеспечивает установку внутренней дроссельной гильзы 50 в такое положение, что никакое радиальное отверстие не будет открыто у окна 24.
Как показано на фиг.2, один или несколько уплотнительных узлов 60 могут быть образованы между внутренней поверхностью наружного дроссельного корпуса 22 и наружной поверхностью внутренней дроссельной гильзы 50 в целях образования уплотнений для текучей среды между дроссельной гильзой 50 и наружным дроссельным корпусом 22.
Отверстия 54 и 56 направлены радиально от внутренней дроссельной гильзы 50 под углами, которые совмещены с эксцентрическими частями кожухов 28. Таким образом, отверстия 54 и 56 ориентированы под углами, находящимися в пределах непрерывного диапазона углов, который охватывает эксцентрические части кожухов 28. Следовательно, как показано на фиг.2, отверстия 54 и 56 ориентированы так, чтобы использовать эксцентрическое расположение дроссельного инжектора 20. Как также показано на фиг.4, в целях ориентирования отверстий 54 и отверстий 56 под надлежащим углом, в соответствии с некоторыми вариантами осуществления изобретения, дроссельный инжектор включает в себя проходящую в радиальном направлении направляющую 66, расположенную в продольном пазу 64, который открыт со стороны внутренней поверхности наружного дроссельного корпуса 22. Таким образом, паз 64 и направляющая 66 обеспечивают угловую ориентацию отверстий 54 и 56 так, чтобы они совмещались с эксцентрическими частями кожухов 28.
Фиг.3 представляет собой поперечное сечение, показывающее угловые ориентации отверстий 56. Внутренняя дроссельная гильза 50 и наружный дроссельный корпус 22 являются, по существу, концентрическими относительно продольной оси 100, и отверстия 56 благодаря конструкции, состоящей из паза 64 и направляющей 66 (фиг.2), проходят в радиальном направлении от продольной оси 100 и ориентированы под углами, которые совмещены с эксцентрическими частями кожухов 28, как будет дополнительно рассмотрено ниже.
Как показано на фиг.2, 3 и 4, отверстия 54а и 54b (фиг.3) дроссельного инжектора за счет конструкции, состоящей из паза 64 и направляющей 66, ориентированы в угловом направлении так, что при перемещении в продольном направлении (когда установка в данное положение обеспечивается приводным устройством 26) они будут совмещены с окном 24а (фиг.4) в наружном дроссельном корпусе 22; и отверстия 54с и 54а (фиг.3) аналогичным образом ориентированы в угловом направлении так, что при перемещении в продольном направлении (когда установка в данное положение обеспечивается приводным устройством 26) они будут совмещены с окном 24b (фиг.4) в наружном дроссельном корпусе 22.
На фиг.6 показано поперечное сечение узла дроссельного инжектора, выполненное по линии 6-6 на фиг.5. Как проиллюстрировано на фиг.6, при наличии расположенных эксцентрически кожухов 28 продольная ось 180 узла 20 дроссельного инжектора будет смещена от продольной оси 100 дроссельного инжектора (образованного из внутренней дроссельной гильзы 50 и наружного дроссельного корпуса 22). Если наружный диаметр узла 20 дроссельного инжектора близок к внутреннему диаметру обсадной колонны 14, то обсадная колонна 14 (не показанная на фиг.6) также будет, по существу, симметричной относительно продольной оси 180. Поскольку продольная ось 100 дроссельного инжектора смещена от продольной оси 180, дроссельный инжектор является эксцентрическим относительно обсадной колонны 14 скважины.
Как показано на фиг.6, среди других признаков узла 20 дроссельного инжектора в соответствии с некоторыми вариантами осуществления изобретения кожух 28 включает в себя один или несколько продольных каналов 150 и 160 для размещения кабелей и линий управления в скважине. В этой связи кожух 28 может включать в себя, например, внутренний продольный канал 160, а также каналы 150, которые открыты со стороны наружной поверхности кожуха 28. Один или несколько стопорных штифтов 161 могут проходить в радиальном направлении между кожухом 28 и наружным дроссельным корпусом 22.
Несмотря на то что термины, обозначающие направление и ориентацию, такие как "вверх", "вниз", "вертикальный" и т.д., были использованы в вышеприведенном описании для описания определенных вариантов осуществления изобретения, следует понимать, что данные направления и ориентации необязательны для реализации изобретения на практике. Например, в других вариантах осуществления изобретения дроссельный узел 20 дроссельного инжектора может быть использован в вертикальном или боковом стволе скважины. В качестве другого примера, в других вариантах осуществления изобретения дроссельный инжектор может перемещаться в направлении вверх для постепенного открытия сообщения по текучей среде в радиальном направлении и, наоборот, перемещаться в направлении вниз для постепенного перекрытия сообщения по текучей среде в радиальном направлении. Таким образом, многие варианты возможны и находятся в пределах объема притязаний приложенной формулы изобретения.
Несмотря на то что настоящее изобретение было описано в связи с ограниченным числом вариантов осуществления, специалисты в данной области техники, воспользовавшись данным описанием, смогут создать многочисленные модификации и варианты на его основе. Предусмотрено, что приложенная формула изобретения охватывает все подобные модификации и варианты, которые находятся в пределах истинной сущности и объема данного настоящего изобретения.
1. Устройство для нагнетания текучей среды в скважину, содержащее инструмент, предназначенный для размещения в стволе скважины и имеющий отверстие для нагнетания текучей среды в скважину, и кожух, предназначенный для, по меньшей мере, частичного охвата инструмента для обеспечения размещения инструмента эксцентрически относительно продольной оси ствола скважины и имеющий часть с большей толщиной в радиальном направлении, проходящую в первом диапазоне углов вокруг продольной оси инструмента, при этом отверстие ориентировано под углом, находящимся в пределах первого диапазона.
2. Устройство по п.1, в котором кожух выполнен с возможностью уменьшения скорости текучей среды посредством увеличения расстояния, проходящего текучей средой от отверстия инструмента до контакта с обсадной колонной скважины, по сравнению с инструментом, расположенным концентрически относительно ствола скважины.
3. Устройство по п.1, в котором отверстие ориентировано для, по существу, максимизации расстояния, проходящего текучей средой от отверстия до контакта с обсадной колонной скважины.
4. Устройство по п.1, в котором инструмент представляет собой дроссельный инжектор.
5. Устройство по п.1, в котором инструмент содержит дроссельный корпус и внутреннюю дроссельную гильзу, расположенную в дроссельном корпусе.
6. Устройство по п.5, в котором дроссельный корпус концентрически расположен относительно внутренней дроссельной гильзы.
7. Устройство по п.5, в котором внутренняя дроссельная гильза имеет отверстие и способна плавно перемещаться в продольном направлении в дроссельном корпусе, при этом дроссельный корпус имеет окно для открытия отверстия при перемещении внутренней дроссельной гильзы в заданное положение в продольном направлении.
8. Устройство по п.5, в котором инструмент содержит приводное устройство для перемещения внутренней дроссельной гильзы относительно дроссельного корпуса.
9. Способ для нагнетания текучей среды в скважину, включающий размещение в стволе скважины инструмента для нагнетания текучей среды в скважину через отверстие инструмента, размещение, по меньшей мере, частично вокруг инструмента кожуха для обеспечения размещения инструмента эксцентрически относительно продольной оси ствола скважины, имеющего часть с большей толщиной в радиальном направлении, проходящую в первом диапазоне углов вокруг продольной оси инструмента, и регулирование скорости текучей среды, нагнетаемой в кольцевое пространство скважины, содержащее ориентацию отверстия инструмента под углом, находящимся в пределах первого диапазона.
10. Способ по п.9, в котором регулирование скорости текучей среды включает увеличение расстояния, проходящего текучей средой от отверстия инструмента до контакта с обсадной колонной, по сравнению с инструментом, расположенным, по существу, концентрически относительно продольной оси ствола скважины.
11. Способ по п.9, в котором инструмент представляет собой дроссельный инжектор.
12. Способ по п.9, дополнительно включающий избирательное перемещение внутренней гильзы инструмента относительно наружного корпуса инструмента для регулирования нагнетания текучей среды посредством отверстия инструмента.
13. Система для нагнетания текучей среды в скважину, содержащая колонну, содержащую дроссельный инжектор, предназначенный для размещения в стволе скважины и имеющий отверстия для нагнетания текучей среды в скважину, и кожух, предназначенный для, по меньшей мере, частичного охвата дроссельного инжектора для обеспечения размещения дроссельного инжектора эксцентрически относительно продольной оси ствола скважины и имеющий часть с большей толщиной в радиальном направлении, проходящую в первом диапазоне углов вокруг продольной оси дроссельного инжектора, при этом отверстия дроссельного инжектора ориентированы под углами, которые находятся в пределах первого диапазона.
14. Система по п.13, в которой кожух выполнен с возможностью максимизации расстояния, проходящего текучей средой от отверстий дроссельного инжектора до контакта с обсадной колонной скважины для уменьшения скорости текучей среды, выходящей из отверстий, по сравнению с инструментом, расположенным концентрически относительно ствола.
15. Система по п.13, в которой отверстия дроссельного инжектора ориентированы для, по существу, максимизации расстояния, проходимого текучей средой от отверстий до контакта с обсадной колонной скважины.
16. Система по п.13, в которой кожух содержит часть, расположенную эксцентрически относительно продольной оси дроссельного инжектора, и отверстия ориентированы под углами, которые совмещены с указанной частью кожуха.
 
                         
                            


