PatentDB.ru — поиск по патентным документам

Иллюстрации к патенту 2379477

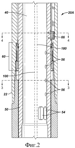
Устройство, система и способ для нагнетания текучей среды в скважину

Устройство, система и способ для нагнетания текучей среды в скважину (патент 2379477)