Теплообменник и способ изготовления трубной решетки

Иллюстрации

Показать все

Изобретение относится к теплотехнике, в частности к охладителям наддувочного воздуха для безрельсового транспортного средства, и может быть использовано при изготовлении трубных решеток теплообменников Изобретение заключается в том, что в теплообменнике, содержащем трубки и, по меньшей мере, один коллектор, включающий, по меньшей мере, одну трубную решетку, трубная решетка содержит пропускные закраины, в которые вставляются трубки, каждая пропускная закраина трубной решетки охвачена проходящей по периметру боковой поверхностью, примыкающей к пропускной закраине под тупым углом, причем торцы боковой поверхности с одной стороны под тупым углом переходят в пропускную закраину, а с другой стороны также под тупым углом переходят в отогнутый вверх краевой участок трубной решетки с образованием S-образного сечения трубной решетки, при этом боковые поверхности двух соседних пропускных закраин граничат друг с другом с образованием желобка. Технический результат - создание теплообменника, в частности охладителя наддувочного воздуха, в котором механические нагрузки на соединения "трубка-решетка" уменьшены без дополнительного расхода материала за счет повышения прочности соединений "трубка-решетка". 2 н. и 8 з.п. ф-лы, 5 ил.

Реферат

Данное изобретение касается теплообменника, в частности охладителя наддувочного воздуха для безрельсового транспортного средства. Кроме того, изобретение касается способа изготовления трубной решетки теплообменника.

Для повышения мощности двигателя внутреннего сгорания существует возможность с помощью, например, турбонагнетателя производить сжатие воздуха, подаваемого на сгорание, еще до его поступления в камеры сгорания двигателя. Однако сжатие воздуха одновременно ведет к его нагреву, который вредит оптимальному процессу горения. Этим может быть вызвано преждевременное зажигание или повышенная эмиссия оксидов азота. Чтобы исключить неблагоприятные последствия при подаче перегретого воздуха на горение, к турбонагнетателю подключают теплообменник, выполненный в виде охладителя наддувочного воздуха, с помощью которого сжатый воздух перед процессом сгорания может быть охлажден до допустимой температуры.

Охладитель наддувочного воздуха описан, например, в DE 19757034 А1. Здесь в первый сборный канал теплообменника подается горячий воздух, где он распределяется и поступает в плоские трубки, входящие в сборный канал. Плоские трубки расположены рядом параллельно друг другу своими боковыми поверхностями, содержащими длинные стороны их поперечного сечения, формируя траекторию течения, по которой пропускается охлаждающий воздух. На траектории течения между плоскими трубками установлены ребра охлаждения, обеспечивающие эффективный теплообмен между плоскими трубками и охлаждающим воздушным потоком. После пересечения охлаждающего воздушного потока плоские трубки входят во второй сборный канал, который подает поступающий в него охлажденный сжатый наддувочный воздух на сгорание в двигателе.

В теплообменниках, в частности в охладителях наддувочного воздуха указанного вида, трубки обычно вставлены в отверстия трубной решетки и запаяны герметично относительно текучей среды. При каждой зарядке сжатым воздухом это паяное соединение из-за резких изменений давления подвергается высоким механическим нагрузкам. Возрастающим требованиям прочности не отвечают, в особенности, узкие стороны плоских трубок, вследствие чего возможно появление неплотностей прежде всего в обращенных к боковым сторонам трубной решетки зонах соединений «трубка-решетка».

Простым путем повышения прочности соединений "трубка-решетка" является использование трубок и/или трубных решеток с большей толщиной стенок или же применение наружных и/или внутренних ребер с большей толщиной материала. Повышенная механическая стойкость в обоих случаях очевидна, однако необходимые при этом дополнительные затраты, связанные со стоимостью материала и его весом, весьма велики.

Другие решения направлены на уменьшение механической нагрузки на соединения "трубка-решетка" за счет применения стяжных болтов в ресиверах наддувочного воздуха. Эти стяжные болты стабилизируют ресиверы наддувочного воздуха и тем самым разгружают соединения "трубка-решетка", но приводят к увеличению расхода материала и повышению потерь давления, вызываемых охладителем наддувочного воздуха.

Задачей изобретения является создание теплообменника, в частности охладителя наддувочного воздуха, в котором механические нагрузки на соединения "трубка-решетка" были бы уменьшены без дополнительного расхода материала.

Эта задача решается теплообменником с признаками пункта 1 формулы изобретения.

Согласно пункту 1 формулы изобретения теплообменник содержит трубки, выполненные так, что через них протекает первая среда, а снаружи их обтекает вторая среда, в результате чего тепло может передаваться от первой среды ко второй среде или наоборот. По меньшей мере, один коллектор, сообщающийся с трубками, включает, по меньшей мере, одну трубную решетку, причем трубная решетка выполнена по существу плоской и имеет пропускные закраины, в которые вставляются трубки для сообщения с коллектором.

Сущность изобретения заключается в геометрическом выполнении зон трубной решетки, окружающих пропускные закраины, в виде углублений или возвышений, причем так, чтобы пропускные закраины располагались соответственно на "дне" углубления или на "вершине" возвышения. В результате этого пропускные закраины охвачены по периметру боковыми поверхностями, а именно боковыми поверхностями углублений или возвышений. Благодаря такой геометрической форме, особенно благодаря конфигурации боковой поверхности, при которой она проходит по периметру, изгибная прочность трубной решетки повышается по сравнению с плоской трубной решеткой в нескольких направлениях, в результате чего уменьшаются деформации, появляющиеся при нагружении коллектора давлением, чем достигается механическая разгрузка соединений трубок с трубной решеткой. Предпочтительно, чтобы углубления или возвышения имели такую ширину, при которой боковые поверхности каждых двух соседних пропускных закраин граничили бы друг с другом с образованием желобка усиления.

Благодаря предложенной согласно изобретению форме выполнения теплообменника повышается его механическая прочность и, тем самым, его долговечность без необходимости увеличения расхода материала или количества деталей.

Предпочтительные варианты осуществления изобретения являются предметом зависимых пунктов формулы.

Согласно одной из предпочтительных форм выполнения боковые поверхности имеют по периметру каждой пропускной закраины по существу постоянную ширину. За счет этого изгибная прочность трубной решетки повышается во всех направлениях по существу равномерно.

Согласно одному из предпочтительных вариантов выполнения трубки являются плоскими и расположены в один или несколько рядов. Пропускные закраины и промежуточные желобки, образованные боковыми поверхностями, выполнены в этом случае продолговатыми соответственно поперечному сечению трубок.

Предпочтительно, чтобы каждая боковая поверхность имела закругление с примерно постоянным радиусом кривизны или несколько закруглений с различными радиусами кривизны. Этим достигается особенно хорошее приближение к полукруглому поперечному сечению желобков, расположенных между пропускными закраинами, что позволяет в результате этого получать особенно высокую прочность при изгибе.

Согласно другому варианту выполнения каждая боковая поверхность содержит один или несколько ровных участков, в результате чего боковые поверхности или желобки между пропускными закраинами имеют граненую форму. Этим обеспечивается надежность изготовления с низкими производственными допусками.

Особенно предпочтительно, чтобы, по меньшей мере, один ровный участок образовывал с соответствующей пропускной закраиной тупой угол. Это означает, что пропускная закраина сама способствует дополнительному повышению изгибной прочности трубной решетки, поскольку направление пропускной закраины совпадает с направлением углубления или возвышения, на "дне" или соответственно на "вершине" которого находится пропускная закраина.

Угол между ровным участком боковой поверхности и пропускной закраиной составляет предпочтительно от 30 до 60°, особенно же предпочтительным является угол, равный примерно 45°. В этом случае ширина боковой поверхности при определенных условиях примерно равна высоте боковой поверхности, что обеспечивает особенно высокую устойчивость трубной решетки к деформациям.

Согласно предпочтительной форме выполнения пропускные закраины выступают, по меньшей мере, из одного коллектора. Преимущество здесь состоит в том, что в каждом случае участок боковых поверхностей, граничащий с краем трубной решетки, переходит в край трубной решетки, отогнутый при определенных условиях вверх, что приводит к дальнейшему увеличению прочности трубной решетки.

Согласно предпочтительному усовершенствованному варианту теплообменник, предложенный в соответствии с изобретением, выполнен в виде охладителя наддувочого воздуха, применяемого преимущественно в безрельсовых транспортных средствах. Охладитель наддувочого воздуха содержит, в частности, два коллектора, первый из которых предусмотрен для распределения, а второй для накопления наддувочного воздуха. Предпочтительно, чтобы каждый из коллекторов имел только одну трубную решетку, снабженную рядом отверстий для трубок. Целесообразно также применять ряд плоских трубок с промежуточными, в частности запаянными, волнистыми ребрами, поскольку этим достигается увеличение теплопередающей поверхности. В качестве охлаждающей среды служит предпочтительно воздух, при этом возможны и другие охлаждающие среды, такие как вода или хладагенты.

Согласно предпочтительному выполнению изобретения трубную решетку изготовляют способом обработки давлением, при котором один или несколько краевых участков плоского металлического листа отгибают вверх и образуют в этом листе граничащие друг с другом углубления. Каждое из углублений имеет по существу ровную поверхность дна и охватывающую эту поверхность дна по периметру боковую поверхность. Затем поверхность дна углублений продавливают способом вытяжки с образованием пропускных закраин. Если необходимо вставлять трубки в трубную решетку со стороны углублений, то особенно предпочтительно производить формовку направляющих скосов для облегчения ввода трубок в пропускные закраины.

Технологически предпочтительной является форма выполнения трубной решетки с одним или несколькими рядами одинаковых боковых поверхностей и/или пропускных закраин.

Ниже изобретение поясняется примерами выполнения со ссылками на чертежи, где

фиг.1 показывает трубную решетку в перспективе,

фиг.2 - вид сбоку трубной решетки со вставленной трубкой,

фиг.3 - продольный разрез трубной решетки со вставленными трубками,

фиг.4 - продольный разрез фрагмента трубной решетки со вставленной трубкой,

фиг.5 - продольный разрез фрагмента трубной решетки со вставленной трубкой.

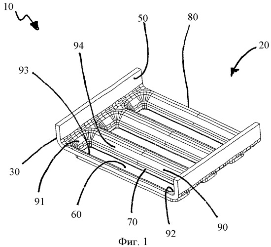
На фиг.1 показан фрагмент теплообменника 10 в перспективном изображении. Коллектор 20 для распределения первой среды состоит из трубной решетки 30 и крышки коллектора (не показана), которые сварены друг с другом по общей контактирующей поверхности 50. Крышка коллектора вставлена при этом в трубную решетку 30. Крышка коллектора может быть также надета на трубную решетку 30 или закреплена на ней как-то иначе. В других, не рассматриваемых здесь примерах выполнения трубная решетка и крышка коллектора могут быть соединены между собой пайкой, склейкой или посредством соединения с геометрическим замыканием или же могут быть выполнены из одного целого, то есть, например, из пластины, сформованной посредством обработки давлением.

Трубная решетка 30 имеет отверстие 60 под трубку, край которого 70 посредством обработки давлением сформован в виде так называемой пропускной со стороны коллектора закраины. Плоская трубка, будучи по существу прямоугольной, вставляется в отверстие 60 и припаивается или приваривается к трубной решетке 30. Не показаны волнистые ребра, примыкающие с обеих сторон к (также не показанной) плоской трубке и припаянные к ней, в результате чего повышается теплопередача от среды, протекающей через трубку, к среде, обтекающей трубку и ребра, или наоборот. Теплообменник 10 включает целый ряд чередующихся плоских трубок и волнистых ребер, образующих так называемый блок "трубки-ребра".

При подаче в коллектор 20 среды под давлением последний при определенных условиях деформируется так, что форма его поперечного сечения приближается к форме круга. Для противодействия такой деформации пропускная закраина 70 охвачена проходящей по периметру боковой поверхностью 90, которая примыкает к пропускной закраине под тупым углом. Боковая поверхность имеет ширину, которая по существу является постоянной вокруг пропускной закраины 70. Это дает равномерное повышение жесткости трубной решетки 30 как в ее продольном направлении за счет участков 91, 92 боковой поверхности на торцах пропускной закраины 70, так и в поперечном направлении трубной решетки за счет участков 93, 94 боковой поверхности на длинных сторонах пропускной закраины 70.

В результате этого уменьшается деформация трубной решетки 30 при нагружении коллектора 20 давлением. Такое уменьшение деформации трубной решетки 30 ведет к снижению механической нагрузки на трубку или на соединение "трубка-решетка". Благодаря этому разгружаются, в частности, торцы плоской трубки, которые при таких деформациях, обусловленных давлением, подвержены наиболее сильным механическим нагрузкам.

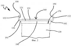
Как видно на фиг.2, где показан вид сбоку теплообменника 110, трубка 120 вставлена в отверстие 160 гак, что верхний краевой участок 121 трубки 120 выступает за трубную решетку 130. Этим обеспечивается хорошее использование невидимой внутренней поверхности пропускной закраины 170, обращенной к трубке 120, в качестве поверхности контакта для соединения "трубка-решетка". Это важно, например, для герметичной запайки. Для предотвращения излишне высокого перепада давления первой среды по теплообменнику следует устанавливать высоту выступа трубки 120 над трубной решеткой 10 по возможности минимальной. По этой причине отверстие 160 для трубки находится в средней зоне 131 трубной решетки 130, которая является по существу ровной.

Пропускная закраина 170 охвачена боковой поверхностью 190, торцы которой 191, 192 переходят с одной стороны под тупым углом в пропускную закраину 170, а с другой стороны также под тупым углом переходят в отогнутый вверх краевой участок 132 трубной решетки 130. За счет обусловленного этим S-образного поперечного сечения трубной решетки 130 в зоне "соединительная поверхность крышки 150 - краевой участок 132 - участок 191/192 боковой поверхности - пропускная закраина 170" происходит дополнительное снижение нагрузки на трубку 120 или на соединение "трубка-решетка".

На фиг.3 в продольном разрезе показан фрагмент следующего примера выполнения теплообменника 210. Трубки 220, 221, 222 вставлены в пропускные закраины 270, 271, 272 трубной решетки 230. Для уменьшения по теплообменнику 210 перепада давления среды, протекающей через теплообменник 210 и, в том числе, через трубки 220, 221, 222, пропускные закраины 270, 271, 272 выступают из коллектора (не показан) наружу, а трубки 220, 221, 222 не выходят за пределы трубной решетки 230 или ее пропускных закраин 270, 271, 272.

При этом пропускные закраины 270, 271, 272 охвачены боковыми поверхностями 290, каждая из которых имеет ровный участок 295. Ровный участок 295 образует с пропускной закраиной 270 тупой угол, благодаря чему придающее жесткость действие углубления в трубной решетке 230, которое образовано боковой поверхностью 290, дополнительно усиливается. Причем боковые поверхности 290 непосредственно граничат друг с другом, образуя желобки 299, показанные на фиг.3 в поперечном сечении. Как ясно видно на этом сечении, желобки 299 не имеют горизонтальных участков, расположенных между боковыми поверхностями 290.

Предпочтительно, чтобы ширина b боковых поверхностей 290 была аналогична их высоте h, а в особенно предпочтительном случае была бы приблизительно равна ей. Поэтому угол между ровным участком 295 боковой поверхности 290 и пропускной закраиной 270 составляет примерно 45°. Для желобков 299 угол изгиба а составляет вследствие этого около 90°, с чем связан особенно высокий эффект повышения жесткости желобков 299.

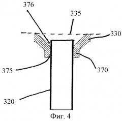
На фиг.4 показан фрагмент измененной формы выполнения теплообменника согласно фиг.3. Здесь трубка 320 выступает за пределы пропускной закраины 370, но заканчивается ниже поверхности 335 трубной решетки 330. Это дает повышенную технологическую надежность соединения между трубной решеткой 330 и трубкой 320 в смысле непроницаемости для текучей среды. Паяное соединение, например, улучшается за счет паяльного зазора 376, предусмотренного дополнительно к паяльному зазору 375. Паяльный зазор одновременно служит при этом направляющим скосом для облегчения ввода трубки 320 в трубную решетку 330.

В противоположность этому в примере выполнения, показанном на фиг.5, трубка 420 выступает за пределы пропускной закраины 470 и поверхности 435 трубной решетки 430. За счет связанных с этим больших допусков в отношении длины трубки 420 происходит дальнейшее повышение технологической надежности.

1. Теплообменник, содержащий трубки и, по меньшей мере, один коллектор, при этом коллектор включает, по меньшей мере, одну трубную решетку, причем трубная решетка содержит пропускные закраины, в которые вставляются трубки, отличающийся тем, что каждая пропускная закраина трубной решетки охвачена проходящей по периметру боковой поверхностью, примыкающей к пропускной закраине под тупым углом, причем торцы боковой поверхности с одной стороны под тупым углом переходят в пропускную закраину, а с другой стороны также под тупым углом переходят в отогнутый вверх краевой участок трубной решетки с образованием S-образного сечения трубной решетки, при этом боковые поверхности двух соседних пропускных закраин граничат друг с другом с образованием желобка.

2. Теплообменник по п.1, отличающийся тем, что каждая боковая поверхность имеет по периметру пропускной закраины, по существу, постоянную ширину.

3. Теплообменник по п.1, отличающийся тем, что трубки представляют собой расположенные, по меньшей мере, в один ряд плоские трубки, пропускные закраины выполнены продолговатыми в соответствии с поперечным сечением трубок, а боковые поверхности пропускных закраин граничат друг с другом с образованием продолговатых желобков.

4. Теплообменник по п.1, отличающийся тем, что боковые поверхности имеют в поперечном сечении соответственно одно закругление, по существу, с постоянным радиусом кривизны.

5. Теплообменник по п.1, отличающийся тем, что боковые поверхности имеют в поперечном сечении соответственно несколько закруглений с различными радиусами кривизны.

6. Теплообменник по п.1, отличающийся тем, что боковые поверхности имеют соответственно, по меньшей мере, один ровный участок.

7. Теплообменник по п.6, отличающийся тем, что, по меньше мере, один ровный участок образует с соответствующей пропускной закраиной тупой угол.

8. Теплообменник по п.1, отличающийся тем, что пропускные закраины выступают из, по меньшей мере, одного коллектора.

9. Теплообменник по п.1, отличающийся тем, что он установлен на безрельсовом транспортном средстве в качестве охладителя наддувочного воздуха.

10. Способ изготовления трубной решетки по любому из пп.1-9, отличающийся следующими технологическими стадиями:а) подготовка плоского металлического листа,б) отгибание вверх одного или нескольких краевых участков плоского металлического листа способом обработки давлением,в) выполнение граничащих друг с другом углублений в металлическом листе способом обработки давлением, при этом каждое углубление имеет, по существу, ровную поверхность дна и боковую поверхность, охватывающую поверхность дна и проходящую по периметру,г) продавливание поверхностей дна способом вытяжки с образованием пропускных закраин, охваченных проходящей по периметру боковой поверхностью, примыкающей к пропускным закраинам под тупым углом и, в частности,д) формовка направляющих скосов для облегчения ввода трубок в пропускные закраины, полученные на стадии г).