PatentDB.ru — поиск по патентным документам

Иллюстрации к патенту 2380642

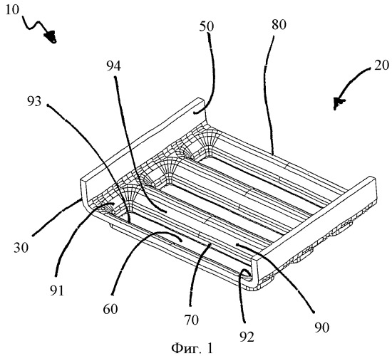
Теплообменник и способ изготовления трубной решетки

Теплообменник и способ изготовления трубной решетки (патент 2380642)