Снабженный полозом спортивный снаряд с разъемно закрепленным сменным лезвием
Иллюстрации
Показать всеИзобретение относится к снабженному полозом спортивному снаряду, в частности, к коньку с разъемно закрепленным на основании сменным лезвием. Снаряд содержит держатель сменного лезвия, на котором расположено по меньшей мере две пары зажимных фиксаторов в передней и задней областях для разъемного крепления и фиксации сменного лезвия. По другому варианту снаряд выполнен в виде конька, ботинок которого соединен с образованной в виде держателя сменного лезвия основной частью, на которой закреплено с возможностью фиксации и расфиксации сменное лезвие. Сменное лезвие имеет носитель, в нижнюю сторону которого встроено лезвие конька, причем держатель сменного лезвия имеет V-образное поперечное сечение, а носитель - соответствующий поперечному сечению сменного лезвия V-образной приемный элемент, причем носитель охватывает держатель и при этом держатель и носитель выполнены из пластмассы или другого способного к литью под давлением материала. Изобретение обеспечивает упрощение замены лезвия без ухудшения прочности на кручение и на изгиб без увеличения веса конструкции. 2 н. и 14 з.п. ф-лы, 6 ил.
Реферат
Изобретение относится к снабженному полозом спортивному снаряду с разъемно закрепленным на основной части сменным лезвием.
Снабженные полозьями спортивные снаряды, а именно коньки со сменными стальными лезвиями, известны из различных публикаций, например из ЕР 0427920 B1, US 5641169 и AT 143261.
По причинам стабильности эти конструкции предполагают относительно стабильное, то есть состоящее исключительно из стали беговое лезвие.
Они лишь в незначительной степени пригодны для снабженного полозом спортивного снаряда, полоз которого состоит из, например, пластмассовой основной части с закрепляемым на ней с возможностью замены композитным беговым лезвием, как известно из DE 4233880 Cl.
Сконструированные по такой концепции коньки хорошо зарекомендовали себя на практике.
Композитное беговое лезвие у таких коньков соединено с основной частью распределенными по его длине винтами.
Предлагаемое изобретение должно улучшить и упростить замену сменного лезвия без ухудшения прочности на кручение и на изгиб и без увеличения веса.
В соответствии с предложенным изобретением эта задача решается снабженным полозом спортивным снарядом с признаками пункта 1 формулы изобретения, по которому основная часть имеет держатель сменного лезвия, который в передней и задней областях имеет, по меньшей мере, две пары зажимных фиксаторов для разъемного крепления и фиксации сменного лезвия.
Описанное в пункте 2 формулы изобретения V-образное выполнение держателя сменного лезвия или подогнанный к сменному лезвию принимающий элемент сменного лезвия обеспечивает высокую стабильность даже при небольшой толщине стенок.
Дальнейшие предложения по пунктам 3-6 формулы изобретения без ухудшения осуществляемый без использования инструмента замены сменного лезвия и без увеличения веса обеспечивают дальнейшее улучшение стабильности. Заявленное предложение подходит, в частности, для коньков, у которых ботинок соединен с несущей сменное лезвие основной частью.
В пунктах 7, 8 и 9 формулы изобретения предложены особенно предпочтительные мероприятия для улучшения стабильности, динамических свойств.
Для сбережения беговых поверхностей, в частности острых кромок лезвий, предложен в соответствии с пунктами 10-12 известный из DE 3104483 C2 чехол полоза, который, тем не менее, подогнан к особенной конструкции соответствующего изобретению снабженного полозом спортивного снаряда.
Другие выполнения снабженного полозом спортивного снаряда, предназначенные прежде всего для профессиональной области применения, описаны в пунктах 13-16 формулы изобретения.
Далее, предмет изобретения описан более подробно с помощью особенно предпочтительного варианта выполнения, изображенного на чертежах, на которых:
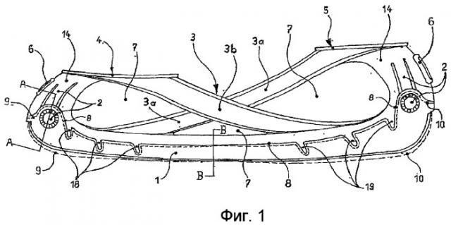
Фиг.1 - вид сбоку полоза конька со сменным лезвием,
Фиг.2 - вид сверху полоза в соответствии с фиг.1,
Фиг.3 - увеличенный фрагмент сечения по линии А-А на фиг.1 с установленным чехлом полоза,
Фиг.4 - увеличенное сечение по линии В-В на фиг.1,
Фиг.5 - увеличенное изображение фрагмента сменного лезвия в передней области и
Фиг.6 - вид сбоку полоза с установленным чехлом полоза.
На чертежах изображен полоз 20 в соответствии с изобретением, закрепляющийся с помощью подошвенной пластины 4 держателя полоза и пяточной пластины 5 держателя полоза на не изображенном ботинке.
Полоз имеет расположенный симметрично относительно средней линии V-образный держатель 14 сменного лезвия, который состоит из пластмассы или другого способного к литью под давлением материала. На держателе 14 сменного лезвия закрепляется выполненное как композитная деталь сменное лезвие 1. Оно имеет, как описано подробно в DE 4233880 C1, состоящий из пластмассы или подобного материала носитель 1а, в нижнюю сторону которого встроено состоящее из стали лезвие конька 1b.
Сменное лезвие 1 имеет в передней и задней областях расположенные с двух сторон фиксирующие отверстия 17, в которые вводятся интегрированные в держатель сменного лезвия, расположенные с двух сторон зажимные (пружинные) фиксаторы 2.
Для обеспечения беззазорной фиксации сменного лезвия 1 на держателе 14 сменного лезвия соответствующими зажимными фиксаторами 2 сменное лезвие 1 в области своих фиксирующих отверстий 17 предварительно напряжено относительно внутренней стороны держателя так, как показано штриховой линией 13 на фиг.3.
Для крепления сменного лезвия 1 на держателе 14 сменного лезвия сперва вводятся находящиеся в задней области зажимные фиксаторы 2 в соответствующие фиксирующие отверстия 17, затем сменное лезвие по фиг.1 поворачивается по часовой стрелке к передней области держателя 14 сменного лезвия и сменное лезвие 1 через заднюю линию 10 предварительного напряжения, так же как и переднюю линию 9 предварительного напряжения, прижимается вверх до тех пор, пока расположенные в передней области и предусмотренные с двух сторон держателя 14 сменного лезвия зажимные фиксаторы 2 не выйдут в соответствующие фиксирующие отверстия 17.
В зафиксированном состоянии сменное лезвие 1 напряжено так, что оно имеет в передней и задней областях обратный изгиб, соответствующий обеим линиям 9 и 10 предварительного напряжения. После ввода зажимных фиксаторов 2 в фиксирующие отверстия 17 сменное лезвие 1 с помощью интегрированной в держатель 14 сменного лезвия повышающей жесткость и стабилизирующей планкой 16, воспринимающей поперечные усилия и служащей для центрирования, фиксируется с силовым замыканием в своей окончательной позиции на держателе 14 сменного лезвия.
Создающий предварительное напряжение обратный изгиб сменного лезвия 1 влечет за собой то, что по всей длине сменного лезвия 1, в частности в области переднего и заднего зажимных фиксаторов 2, поддерживается постоянное вертикально ориентированное напряжение, благодаря которому гарантируется беззазорная и с силовым замыканием посадка сменного лезвия 1 на держатель 14 сменного лезвия.
Держатель 14 сменного лезвия имеет на своем нижнем конце соответствующую толщине стенок расположенных сверху язычков сменного лезвия 1 выемку 8 так, что сменное лезвие 1 примыкает заподлицо к держателю 14 сменного лезвия.
Как можно видеть из чертежей, сменное лезвие 1 имеет в передней и задней областях прорези 18 и 19, которые предотвращают деформирование внешних стенок сменного лезвия 1 при установке на держатель 14 сменного лезвия, то есть при изменении линий 9 и 10 предварительного напряжения.
Для снятия сменного лезвия 1 передние и задние зажимные фиксаторы 2 нажимаются в направлении друг к другу и вовнутрь из фиксирующих отверстий 17 до положения 15, обозначенного на фиг.3, после чего сменное лезвие 1 благодаря своему предварительному напряжению отпружинивает (возвращается) в положение, обозначенное линиями 9 и 10 предварительного напряжения на фиг.1. Сменное лезвие 1 может теперь сниматься без приложения силы с держателя 14 сменного лезвия. Установка сменного лезвия 1 происходит в обратном порядке.
Описанная зажимная фиксирующая техника предназначена также и для обычных цельных стальных лезвий.
В этом случае стальное лезвие снабжено имеющими фиксирующие отверстия язычками, которые отлиты, наклеены или приварены, причем цельное стальное лезвие вместо придающей жесткость планки 16 вставляется в находящуюся в держателе 14 сменного лезвия прорезь 5.
Специальная конструкция сменного лезвия 1 согласно изобретению допускает минимальную толщину стенок так, как предусмотренные спереди и сзади с обеих сторон тонкостенные гибкие язычки, в которых расположены фиксирующие отверстия 17, обеспечивают достаточную жесткость. Эти язычки предварительно напряжены так, что они до надвигания сменного лезвия на держатель 14 сменного лезвия, то есть не в растянутом состоянии, занимают позицию 13. Это предварительное напряжение гарантирует вместе с оптимальной подгонкой контуров зажимных фиксаторов 2 и фиксирующих отверстий 17 беззазорную посадку.
Требуемую стабильность предельно тонкостенного и тем самым легкого сменного лезвия 1 обеспечивает интегрированная в держатель 14 сменного лезвия придающая жидкость и стабилизирующая планка 16, которая глубоко встроена в предусмотренную в сменном лезвии 1 прорезь.
Эта конструкция сменного лезвия позволяет беспроблемную, простую и очень быструю замену сменного лезвия без механических вспомогательных средств.
Специальный V-образный контур в сочетании с интегрированной в держатель 14 сменного лезвия придающей жесткость и стабилизирующей планкой 16 гарантирует при относительно незначительном весе очень эффективное и выдерживающее высокие нагрузки соединение между сменным лезвием 1 и держателем 14 сменного лезвия. Взаимодействующие с фиксирующими отверстиями 17 зажимные фиксаторы 2, расположенные в передней и задней областях, позволяют при применении незначительной силы быструю замену изношенных лезвий новыми быстрее, чем за 10 секунд. Также изготовление системы с этим композитным лезвием является беспроблемным и экономичным.
Требующая значительных затрат времени заточка полозов и дорогостоящие работы по обслуживанию и текущему ремонту, выполняемые высокооплачиваемыми специалистами при использовании дорогих шлифовальных машин, не требуются.
Для выполнения специалистом обычным способом с использованием относительно дорогих шлифовальных машин заточки полоза необходимо при обычном износе кромок примерно пятнадцатикратное время работы при плохом качестве кантов полоза.
Как отчетливо показывают фиг.1, 2 и 6, подошвенная пластина 4 держателя полоза и пяточная пластина 5 держателя полоза проходящими диагонально и наискось друг к другу, пересекающимися торсионными и изгибными стержнями 3а и 3b соединены с держателем 14 сменного лезвия в задней или передней областях. Как показано далее, торсионные и изгибные стержни 3а и 3b соединяют при образовании торсионной двойной крестовины 3 краевую область подошвенной пластины 4 держателя полоза и соответственно пяточной пластины 5 держателя полоза с соответствующими противолежащими краями держателя 14 сменного лезвия. Эта торсионная двойная крестовина 3 служит для снижения возникающих при эксплуатации в сменном лезвии 1 и держателе 14 сменного лезвия крутящих и изгибающих усилий. Таким образом воспринимаются и в значительной степени нейтрализуются возникающие из-за динамического воздействия крутящие и изгибающие усилия между подошвенной пластиной 4 держателя полоза или пяточной пластиной 5 держателя полоза и несущим сменное лезвие 1 держателем 14 сменного лезвия.
Возникающие при поперечной нагрузке внутренней стороны передней области сменного лезвия 1 крутящие и изгибающие усилия между передним внутренним фиксирующим отверстием 17 передаются через введенные зажимные фиксаторы 2 и внутреннюю сторону подошвенной пластины 4 держателя полоза, а также через линейно проходящую в держателе 14 сменного лезвия придающую жесткость и стабилизирующую планку 16 диагонально через торсионную двойную крестовину 3 на расположенное в области пятки на внешней стороне фиксирующее отверстие 17 с введенным зажимным фиксатором 2, а также на внешнюю сторону пяточной пластины 5.
По такому же принципу при поперечной нагрузке с внутренней стороны возникающие в области пятки поперечные и изгибающие усилия передаются диагонально через торсионную двойную крестовину 3 на внешнюю сторону передней области полоза.
Таким образом передаются возникающие при ускорении на внутренней стороне подошвенной пластины 4 поперечные и вертикальные усилия через торсионную двойную крестовину 3 диагонально на внешнюю сторону пяточной пластины 5 держателя полоза. В обратной последовательности, например, при прохождении экстремально крутых поворотов названные выше усилия передаются, наоборот, от внешней стороны пяточной пластины 5 держателя полоза диагонально через торсионную двойную крестовину 3 на внутреннюю сторону подошвенной пластины 4 держателя полоза.
Между торсионной двойной крестовиной 3 и держателем 14 сменного лезвия выполнены проемы 7, которые без потери стабильности ведут к снижению веса.
Дальнейшему улучшению стабильности и связанному с этим улучшенному восприятию крутящих и изгибающих усилий способствует показанная на фиг.2 конструкция подошвенной пластины держателя полоза и соответственно пяточной пластины держателя полоза 4 и 5.
Эти пластины состоят соответственно из замкнутого кольца 4а и 5а, в котором для образования торсионной крестовины 11 или 12 предусмотрены проходящие диагонально, перекрещивающиеся в середине спицы 11а, 11b или 12а, 12b.
Также действующие вертикально на сменное лезвие 1 усилия воспринимаются и в значительной степени нейтрализуются торсионными и изгибными стержнями 3а и 3b торсионной двойной крестовины 3.
Выполнение в соответствии с изобретением основной части, состоящей из держателя 14 сменного лезвия, подошвенной пластины 4 держателя полоза, пяточной пластины 5 держателя полоза и торсионной двойной крестовины 3, позволяет предельно легкую, филигранную и экономичную в отношении расхода материала конструкцию при чрезвычайной прочности на кручение и изгиб держателя 14 сменного лезвия.
Торсионная двойная крестовина 3 держателя 14 сменного лезвия гарантирует совместно с приклепанным, прикрученным, приклеенным или прилитом ботинком прямолинейное сменное лезвие 1, не теряющее свою форму даже при высоких поперечных нагрузках.
Эта конструкция с торсионной двойной крестовиной и проходящей в продольном направлении придающей жидкость и стабилизирующей планкой гарантирует, в частности во время фазы ускорения, высокую прочность на кручение и изгиб системы полоза.
Благодаря достигнутой при помощи торсионной двойной крестовины прочности на кручение и изгиб держатели 14 сменного лезвия могут иметь сравнительно малую толщину стенок, что ведет, с одной стороны, к снижению веса и, с другой стороны, к снижению стоимости изготовления.
Для предохранения беговой поверхности и, в частности кромок лезвия 1b конька, и для безопасной ходьбы вне ледового покрытия можно, как показано на фиг.3 и 6, устанавливать на держатель 14 сменного лезвия чехол 20 полоза, полностью закрывающий сменное лезвие 1. Он имеет на своем переднем и заднем конце направленные друг против друга цапфы 21 и 22, которые вводятся в выемки 2а кольцеобразных и введенных в фиксирующие отверстия 17 зажимных фиксаторов 2. Фиксирующие цапфы 21 и 22 имеют на верхней кромке чехла 20 полоза размыкающие язычки 23, с помощью которых цапфы 21 и 22, преодолевая пружинящее действие состоящего из упругого материала чехла 20 полоза, могут выдавливаться наружу до выхода цапф 21 и 22 из выемок 2а, после чего чехол 20 полоза может быть снят. Боковые стенки U-образного в поперечном сечении чехла 20 полоза снабжены распределенными по длине прорезями 24, благодаря которым повышается гибкость чехла 20 полоза и он подгоняется по контуру к держателю 14 сменного лезвия со сменным лезвием 1 и фиксируется на нем.
При такой точно подгоняемой форме чехол 20 полоза может состоять из легкого, предельно гибкого и стойкого при наступании материала, предпочтительно пластмассы.
Держатель 14 сменного лезвия выполнен так, что на выбор в своей передней или задней области может быть размещен, предпочтительно зафиксирован, зажим 6 с источником света или передатчиком для радиопередачи данных, информирующих об использовании.
В качестве источника света, в частности, подходит испускающий свет диод, так называемый LED (светодиод), который по желанию может мигать несколькими цветами.
Этот источник света может включаться датчиком движения, например, от сотрясений при катании на коньках, и автоматически выключаться замедляющим выключателем после некоторого времени нахождении в покое спортивного снаряда.
Если коньки согласно изобретению используются в профессиональной области, то есть в прокате коньков, вместо источника света или дополнительно к нему может быть предусмотрен передатчик, с помощью которого могут передаваться данные о использовании, то есть по существу данные об идентификации конька и о регистрации эксплуатационных и расходных данных.
Список позиций
1 Сменное лезвие
1а Носитель
1b Лезвие конька
2 Зажимной фиксатор
2а Выемка
3 Торсионная двойная крестовина
3а Торсионные и изгибные стержни
3b Торсионные и изгибные стержни
4 Подошвенная пластина держателя полоза
4а Кольцо
5 Пяточная пластина держателя полоза
5а Кольцо
6 Зажим для светодиода или передатчика
7 Проемы держателя полоза
8 Выемка для сменного лезвия 1
9 Передняя линия предварительного напряжения сменного лезвия
10 Задняя линия предварительного напряжения сменного лезвия
11 Внутренняя торсионная крестовина подошвенной пластины
11а Спицы
11b Спицы
12 Внутренняя торсионная крестовина пяточной пластины
12а Спицы
12b Спицы
13 Положение не растянутых язычков сменного лезвия 1
14 Держатель сменного лезвия
15 Положение вдавленных зажимных фиксаторов 2
16 Придающая жесткость и стабилизирующая планка
17 Фиксирующие отверстия
18 Прорези сменного лезвия
19 Задние прорези сменного лезвия
20 Чехол полоза
21 Передние цапфы
22 Задние цапфы
23 Расцепляющие язычки
24 Прорези
1. Снабженный полозом спортивный снаряд с разъемно закрепляемым на основной части сменным лезвием, отличающийся тем, что основная часть имеет держатель (14) сменного лезвия, на котором расположено по меньшей мере две пары зажимных фиксаторов (2) в передней и задней областях для разъемного крепления и фиксации сменного лезвия (1).
2. Снаряд по п.1, отличающийся тем, что зажимные фиксаторы (2) интегрированы в упруго деформируемую стенку держателя (14) сменного лезвия и пружинно введены в соответствующие фиксирующие отверстия (17) сменного лезвия (1).
3. Снабженный полозом спортивный снаряд в виде конька, ботинок которого соединен с образованной в виде держателя сменного лезвия основной частью, на которой закреплено с возможностью фиксации и расфиксации сменное лезвие, отличающийся тем, что сменное лезвие (1) имеет носитель (1а), в нижнюю сторону которого встроено лезвие (1b) конька, причем держатель (14) сменного лезвия имеет V-образное поперечное сечение, а носитель (1а) сменного лезвия - соответствующий поперечному сечению сменного лезвия, V-образный приемный элемент, причем носитель (1а) сменного лезвия охватывает держатель (14) сменного лезвия, и при этом держатель (14) сменного лезвия и носитель (1а) сменного лезвия состоят из пластмассы или другого способного к литью под давлением материала.
4. Снаряд по любому из пп.1-3, отличающийся тем, что сменное лезвие (1) имеет обратный изгиб (9, 10), отклоняющийся от изгиба держателя (14) сменного лезвия так, что зафиксированное сменное лезвие (1) напряжено относительно держателя (14) сменного лезвия.
5. Снаряд по п.1 или 3, отличающийся тем, что сменное лезвие (1) предпочтительно в передней и задней областях имеет вертикальные прорези (18, 19).
6. Снаряд по п.1 или 3, отличающийся тем, что в сменное лезвие (1) входит проходящая в продольном направлении придающая жесткость и стабилизирующая планка (15) держателя (14) сменного лезвия.
7. Снаряд по п.1 или 3, отличающийся тем, что основная часть имеет подошвенную пластину (4) держателя полоза и пяточную пластину (5) держателя полоза, которые соединены при помощи проходящих диагонально и наискось друг к другу пересекающихся торсионных и изгибных стержней (3а, 3b) для снижения возникающих при использовании в сменном лезвии (1) и держателе (14) сменного лезвия крутящих и изгибающих усилий с держателем (14) сменного лезвия в задней и соответственно передней областях.
8. Снаряд по п.7, отличающийся тем, что торсионные и изгибные стержни (3а, 3b) при образовании торсионной двойной крестовины (3) соединяют краевую область подошвенной пластины (4) держателя полоза или пяточной пластины (5) держателя полоза с соответствующими противолежащими краевыми областями держателя (14) сменного лезвия.
9. Снаряд по п.7 или 8, отличающийся тем, что подошвенная пластина (4) держателя полоза и пяточная пластина (5) держателя полоза состоят из замкнутого кольца (4а, 5а), в котором соответственно предусмотрена торсионная крестовина (11, 12) с проходящими диагонально, пересекающимися в середине спицами (11а, 11b, 12a, 12b).
10. Снаряд по п.1 или 3, отличающийся тем, что предусмотрен надвигаемый на держатель (14) сменного лезвия и перекрывающий, точно повторяя контур и подходя по форме, сменное лезвие (1) чехол (20) полоза, который имеет цапфы (21, 22), вводимые в выемки (2а) зажимных фиксаторов (2) держателя (14) сменного лезвия.
11. Снаряд по п.10, отличающийся тем, что стенки U-образного в поперечном сечении чехла (20) полоза имеют вертикальные прорези (24).
12. Снаряд по п.10 или 11, отличающийся тем, что чехол (20) полоза имеет вблизи вводимых в фиксирующие отверстия (17) фиксирующих цапф (21, 22) расцепляющие язычки (23), причем чехол (20) полоза, по меньшей мере, в этой области состоит из упруго пружинного материала.
13. Снаряд по п.1 или 3, отличающийся тем, что в переднюю и/или заднюю области держателя (14) сменного лезвия вставлен, предпочтительно зафиксирован, зажим (6) источника света.
14. Снаряд по п.13, отличающийся тем, что источником света является мигающий несколькими цветами имитирующий свет светодиод (LED).
15. Снаряд по п.13 или 14, отличающийся тем, что источник света управляется датчиком движения и/или замедляющим выключателем.
16. Снаряд по п.1 или 3, отличающийся тем, что в передней или задней частях держателя (14) сменного лезвия размещен, предпочтительно зафиксированный, передатчик для радиопередачи данных, информирующих об использовании.



