PatentDB.ru — поиск по патентным документам

Иллюстрации к патенту 2382666

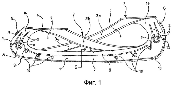
Снабженный полозом спортивный снаряд с разъемно закрепленным сменным лезвием

Снабженный полозом спортивный снаряд с разъемно закрепленным сменным лезвием (патент 2382666)