Основанные на применении компьютера формирование и проверка тренировочных образов, предназначенных для многоточечного геостатистического анализа
Иллюстрации
Показать всеИспользование: для моделирования поля характеристик посредством многоточечной геостатистики. Сущность: заключается в том, что оценка и анализ стационарности/нестационарности изображения содержит этапы на которых: с использованием компьютера анализируют цифровые данные, представляющие изображение, которое представляет собой одно из печатной копии изображения, цифрового изображения либо оба из них, чтобы сформировать по меньшей мере один статистический показатель, характеризующий стационарность изображения; получают по меньшей мере один количественный показатель на основании по меньшей мере одного статистического показателя; определяют, удовлетворяет ли или нет указанный, по меньшей мере, один количественный показатель критерию стационарности; и при установлении, что указанный по меньшей мере один количественный показатель удовлетворяет указанному критерию стационарности, сохраняют или выводят указанное изображение для использования в качестве сетки стационарного тренировочного образа при по меньшей мере одном многоточечном геостатистическом анализе, или при установлении того, что указанный по меньшей мере один количественный показатель не удовлетворяет указанному критерию стационарности, сохраняют или выводят указанное изображение для использования в качестве сетки нестационарного тренировочного образа при, по меньшей мере, одном многоточечном геостатистическом анализе. Технический результат: обеспечение возможности создания тренировочного образа, являющегося подходящим для многоточечных геостатистических способов, а также формирование структур данных, характеризующих свойства тренировочного образа, которое может быть использовано в многоточечных геостатистических способах. 22 з.п. ф-лы, 16 ил.
Реферат
Область техники, к которой относится изобретение
В широком смысле это изобретение относится к статистическому анализу случайных переменных, посредством которого моделируют поле характеристик. Точнее, это изобретение относится к многоточечным геостатистическим способам и имитационным моделям.
Уровень техники
Геостатистика является дисциплиной, относящейся к пространственно распределенным случайным переменным (также называемым «регионализированными переменными»), обычно применяемой к задачам наук о Земле, таким как оценка запасов полезных ископаемых и выявление месторождений полезных ископаемых, углеводородных коллекторов и водоносных горизонтов. Многоточечная (или основанная на множестве точек) геостатистика отличается от остальной геостатистики в основном тем, что в ней пространственная изменчивость характеризуется с использованием образов (наборов из точек), которые содержат более двух точек.
Одна из задач многоточечной геостатистики заключается в моделировании, а именно, в образовании числовых значений вдоль линии, на поверхности или в объеме, так что посредством набора значений оценивают некоторые заданные характеристики пространственной корреляции (обычно получаемые на основании набора данных, называемых «аналогом» или «тренировочным образом»), тогда как при желании (в случае, называемом «условным моделированием») оценивают заранее заданные данные. На практике «аналогом» может быть, например, хорошо известный объем породы, который статистически аналогичен все еще малоизвестному оконтуренному нефтяному коллектору, а заранее заданные данные, подлежащие оцениванию, могут быть наблюдениями литологии в скважинах или вероятностями литологических показателей, полученных на основании сейсмических данных. Таким образом, с помощью имитационных моделей многоточечной геостатистики оценивают абсолютные или так называемые жесткие ограничения на основании данных, зарегистрированных в скважинах или на обнажениях горных пород, и условные или мягкие ограничения на основании сейсмических данных, полей вероятностей фаций и сеток ограничения поворота и аффинности (или масштаба). Такие данные используют в процессе стохастического моделирования для образования одномерных, двумерных и/или трехмерных карт геологических фаций или свойств породы. Поскольку имеется случайная компонента, включенная в имитационные модели многоточечной геостатистики, отдельные реализации полей характеристик, получаемые с помощью алгоритмов многоточечной геостатистики, различаются, но множество реализаций обеспечивает геофизикам и специалистам по разработке месторождений получение улучшенных количественных оценок пространственного распределения и неопределенности геологических фаций или свойств породы в полученном моделированием объеме коллектора.
Недавно было обнаружено, что многоточечные геостатистические способы являются целесообразными в вычислительном отношении, и они были проверены на реальных базах данных, что изложено в: i) Strebelle, “Conditional simulation of complex geological structures using multiple-point statistics”, Mathematical Geology, v.34, №1, 2002, p.1-22, ii) Strebelle et al., “Modeling of deepwater turbidite reservoir conditional to seismic data using principal component analysis and multiple-point geostatistics”, SPE Journal, vol.8, №3, 2003, p.227-235, и iiii) Liu et al., “Multiple-point simulation integrating wells, three-dimensional seismic data, and geology”, American Association of Petroleum Geologists Bulletin, v.88, №8, 2004, p.905-921.
Традиционные геостатистические способы основаны на вариограмме, предназначенной для описания геологической непрерывности. Однако вариограмма, которая является двухточечным показателем пространственной изменчивости, не может описать реальные криволинейные или геометрически сложные картины. В многоточечных геостатистических способах для получения геологической информации используют тренировочный образ (вместо вариограммы). Тренировочный образ обеспечивает концептуальное описание подземной геологической неоднородности, содержащей, возможно, сложные многоточечные картины геологической неоднородности. При многоточечном статистическом моделировании эти картины связывают со скважинными данными (и/или с данными обнажения горных пород) и с полученной сейсмическим способом информацией (и/или с информацией о поле вероятностей или с сеткой (сетками) ограничения).
Тренировочный образ часто, но необязательно, имеет низкое разрешение (а именно, обычно несколько сотен пикселов вдоль стороны). Каждый пиксел тренировочного образа имеет уровень (который может быть двоичным значением, значением серого или значением цвета), относящийся к нему. Уровень при каждом пикселе в настоящей заявке именуется категорией. Обычно имеются приблизительно от 5 до 10 возможных категорий при каждом пикселе тренировочного образа, но это число может быть больше или меньше. Формы геологических элементов (элемента), определяемые с помощью тренировочного образа, представляют модель реальных геологических элементов, при этом каждая категория обычно представляет особую геологическую фацию или геологическое тело особого вида.
Геостатистика основана на хорошо известной концепции случайных переменных. Говоря просто, свойства коллектора на различных местах сетки являются в основном неизвестными или неопределенными; поэтому каждое представляющее интерес свойство на каждом месте сетки преобразуют в переменную, изменчивость которой описывается функцией вероятности. Чтобы выполнить геостатистическое моделирование любого вида, необходимо иметь решение или предположение относительно стационарности. В многоточечных геостатистических способах использование тренировочных образов ограничивается принципом стационарности, что описано в: Caers et al., “Multiple-point geostatistics: a quantitative vehicle for integrating geologic analogs into multiple reservoir models”, AAPG Memoir, Integration of Outcrop and Modern Analogs in Reservoir Modeling, (eds.) Grammer, G.M, 2002. В случае двумерного или трехмерного моделирования коллектора считается, что случайная переменная случайного процесса является стационарной, если все ее статистические параметры не зависят от местоположения ее в пространстве (инвариантны к любому параллельному переносу). В случае тренировочных образов стационарность может состоять из, но без ограничения ими,
- стационарности ориентации, когда направленные элементы не поворачиваются в пределах тренировочного образа; и
- стационарности масштаба (когда размер элементов изображения не изменяется в пределах тренировочного образа).
Хотя концепцию стационарности привязывают к статье Caers и соавторов под названием “Multiple-point geostatistics: a quantitative vehicle for integrating geologic analogs into multiple reservoir models”, эта статья не оправдывает надежд в части раскрытия способа для автоматической оценки и проверки стационарности заданного тренировочного образа, необходимых для уверенности в том, что тренировочный образ является подходящим для многоточечных геостатистических способов.
Сущность изобретения
Поэтому задача изобретения заключается в создании способа для автоматической оценки и проверки стационарности заданного тренировочного образа для уверенности в том, что тренировочный образ является подходящим для многоточечных геостатистических способов.
Другая задача изобретения заключается в формировании структур данных, характеризующих свойства тренировочного образа, которое может быть использовано в многоточечных геостатистических способах.
В соответствии с этими задачами, которые будут рассмотрены подробно ниже, предложен реализуемый с использованием компьютера способ, который автоматически характеризует и проверяет стационарность тренировочного образа, предназначенного для использования при многоточечном геостатистическом анализе. Предпочтительно характеризовать тренировочный образ статистическими показателями стационарности ориентации, стационарности масштаба и стационарности распределения категорий.
Следует учесть, что реализуемые с использованием компьютера способы настоящего изобретения обеспечивают автоматическое и точное определение, является или не является отобранный тренировочный образ стационарным и, следовательно, пригодным для реализаций многоточечной геостатистики, для которых необходимы такие стационарные тренировочные образы. Вследствие этого геологи, использующие реализуемые с использованием компьютера способы настоящего изобретения, сберегут время и исключат прогон ненужных реализаций многоточечной геостатистики с использованием неподходящих тренировочных образов.
Согласно предпочтительному осуществлению изобретения статистические показатели, которые характеризуют стационарность ориентации тренировочного образа, включают в себя по меньшей мере один из следующих: (i) первый набор статистических показателей, которые характеризуют неравномерность поля ориентации и поэтому обеспечивают указание на то, что имеется одно или несколько предпочтительных направлений в сетке ориентации, (ii) второй набор статистических показателей, которые характеризуют нормальность распределения направлений в сетке ориентации и поэтому обеспечивают указание на то, что имеется главное направление в поле ориентации, и (iii) третий набор статистических показателей, которые характеризуют повторяемость поля ориентации, которые обеспечивают указание на то, что поле ориентации является аналогичным на протяжении различных зон изображения. Предпочтительно, чтобы статистические показатели, которые характеризуют стационарность масштаба тренировочного образа, включали в себя расстояния между первым набором векторов признаков и вторым набором векторов признаков. Первый набор векторов признаков получают на основании первого набора изображений смещения, который формируют, подвергая изображение воздействию множества операций зависящего от поворота взятия выборок. Второй набор векторов признаков получают на основании второго набора изображений смещений, который формируют, подвергая эталонный образ, выбранный из изображения, воздействию операций зависящего от поворота и масштаба взятия выборок.
Дополнительные задачи и преимущества изобретения станут понятными для специалистов в данной области техники при обращении к подробному описанию, предоставленному совместно с сопровождающими чертежами.
Краткое описание чертежей
На чертежах:
фиг.1(А) - структурная схема компьютерной системы обработки информации, посредством которой реализуется способ настоящего изобретения;
фиг.1(В) - блок-схема последовательности операций, иллюстрирующая последовательность действий реализуемого с использованием компьютера способа для автоматического формирования и проверки тренировочного образа и последующего, основанного на них многоточечного геостатистического анализа согласно настоящему изобретению;
фиг.2(А)-2(Е) - последовательность изображений, которыми иллюстрируются операции обработки изображения, выполняемые относительно отобранного изображения, в рамках последовательности действий из фиг.1(В); в этом примере отобранное изображение представляет собой цветной аэрофотоснимок дельты реки;
фиг.3(А)-3(D) - последовательность изображений, которыми иллюстрируются операции обработки изображения, посредством которых выделяют поле ориентации для категории тренировочного образа в рамках последовательности действий из фиг.1(В); при этом на фиг.3(А) представлен тренировочный образ; на фиг.3(В) представлено изображение, иллюстрирующее компоненту Y двумерного поля градиентов, которое формируют, применяя фильтр Gy Превитта в пределах категории тренировочного образа из фиг.3(А); на фиг.3(С) представлено изображение, иллюстрирующее компоненту X двумерного поля градиентов, которое формируют, применяя фильтр Gx Превитта в пределах типичной категории тренировочного образа из фиг.3(А); и на фиг.3(D) представлено изображение, иллюстрирующее поле ориентации категории тренировочного образа из фиг.3(А);
фиг.4 - блок-схема, иллюстрирующая операции, посредством которых формируют статистические показатели ориентации и количественный показатель, основанный на них, в рамках последовательности действий из фиг.1(В);
фиг.5(А) и 5(В) - графики, которыми иллюстрируется плотность распределения вероятностей для случая распределения фон Мизеса;
фиг.6(A)-6(I) - диаграммы, которыми иллюстрируется разделение категории тренировочного образа на перекрывающиеся зоны; эти перекрывающиеся зоны используют при вычислении статистических показателей стационарности ориентации (и количественного показателя, основанного на них), статистических показателей стационарности масштаба (и количественного показателя, основанного на них) и статистических показателей стационарности распределения категорий (и количественного показателя, основанного на них) в рамках последовательности действий из фиг.1(В);
фиг.7 - блок-схема, иллюстрирующая операции, посредством которых формируют статистические показатели стационарности масштаба и количественный показатель, основанный на них, в рамках последовательности действий из фиг.1(В);
фиг.8 - график, иллюстрирующий круговую систему 4-го порядка взятия выборок в окрестности;
фиг.9 - график, иллюстрирующий круговую систему 4-го порядка взятия выборок в окрестности, приспособленную для зависящего от поворота и масштаба взятия выборок; при этом зависящее от поворота взятие выборок используют для взятия выборок из тренировочного образа и выделения векторов признаков из тренировочного образа; зависящее от поворота и масштаба взятие выборок используют для взятия выборок из эталонного образа и выделения векторов признаков из эталонного образа; эти векторы признаков анализируют для формирования статистических показателей стационарности масштаба и количественного показателя, основанного на них, в рамках последовательности действий из фиг.1(В);
фиг.10(A)-10(Y) - диаграммы, иллюстрирующие набор из 25 пар множителей аффинности; эти пары множителей аффинности используют при вычислении статистических показателей стационарности масштаба и количественного показателя, основанного на них, в рамках последовательности действий из фиг.1(В);
фиг.11 - схематическая диаграмма, иллюстрирующая операции, посредством которых вычисляют статистические показатели стационарности масштаба и аффинную карту, основанную на них, в рамках последовательности действий из фиг.1(В);
фиг.12(А) - пример тренировочного образа, которое получают копируя/вставляя верхний левый угол (очерченный прямоугольником) в другие части изображения при различных аффинных преобразованиях, применяемых к ним;
фиг.12(В) - набор аффинных карт, которыми иллюстрируются расстояние между векторами признаков для соответствующих частей в тренировочном образе и различные пары множителей аффинности в пределах эталонного образа для тренировочного образа из фиг.12(А), при этом верхний левый угол выбран в качестве эталонного образа; пикселы каждого двумерного изображения являются полутоновыми, при этом расстояния представлены пикселами, квантованными в полутоновом диапазоне значений;
фиг.12(С) - набор аффинных карт, которыми иллюстрируются расстояние между векторами признаков для соответствующих частей в тренировочном образе и различные пары множителей аффинности в пределах эталонного образа для тренировочного образа из фиг.12(А), при этом верхний левый угол выбран в качестве эталонного образа; пикселы каждого двумерного изображения являются двоичными, при этом расстояния представлены пикселами, приписанными к двоичному диапазону значений; наиболее близкие расстояния поставлены в соответствии одному двоичному значению (то есть, черному цвету), тогда как другие расстояния поставлены в соответствии другому двоичному значению (то есть, белому цвету);
фиг.13 - график, которым иллюстрируется результат измерений разброса точек в двумерном пространстве; этот результат измерений используют для вычисления статистических показателей стационарности масштаба и количественного показателя, основанного на них, в рамках последовательности действий из фиг.1(В);
фиг.14 - диаграмма, иллюстрирующая трехмерный график количественных показателей стационарности для некоторого количества тренировочных образов; оси соответствуют трем различным показателям стационарности, при этом ось X соответствует показателю стационарности распределения категорий, ось Y соответствует показателю стационарности масштаба и ось Z соответствует показателю стационарности ориентации; области этого трехмерного пространства могут быть определены как ограничивающие качественные тренировочные образа, и их используют в качестве критерия принятия решений для автоматического установления, является ли конкретный тренировочный образ в достаточной степени стационарным для использования при многоточечном геостатистическом анализе, для которого необходима такая стационарность;
фиг.15 - схематическая диаграмма, иллюстрирующая способ геостатистического анализа и моделирования на основе одного нормального уравнения;
фиг.16(А) - схематическая диаграмма, иллюстрирующая способ геостатистического анализа и моделирования на основе образов; и
фиг.16(В) - схематическая диаграмма, иллюстрирующая расширение способа моделирования на основе образов, в котором использована основанная на признаках геостатистика.
Подробное описание предпочтительного осуществления
На фиг.1(А) представлена структурная схема вычислительной системы 10 общего назначения, которая реализует настоящее изобретение. Вычислительная система 10 может включать в себя рабочую станцию (или высококачественный персональный компьютер), которая выполняет надлежащие вычисления и решающие логические операции, рассмотренные ниже, например, обработку тренировочных образов, формирование и оценку статистических показателей стационарности тренировочных образов и многоточечный статистический анализ, основанный на них. Например, вычислительная система 10 может включать в себя дисплейное устройство 12 и устройства ввода пользователя, такие как клавиатура 14 и мышь 16. Вычислительная система 10 также включает запоминающее устройство 18 (например, запоминающее устройство для долговременного хранения, такое как магнитный жесткий диск, а также запоминающее устройство для недолговременного хранения, такое как один или несколько модулей динамической оперативной памяти), в котором хранятся прикладные программы (программа), исполняемые на процессоре 20 для осуществления надлежащих вычислений и выполнения решающих логических операций, рассмотренных ниже, например, обработки тренировочных образов, формирования и оценки статистических показателей стационарности тренировочных образов и многоточечного статистического анализа, основанного на них. Такие прикладные программы, которые содержат запрограммированную последовательность команд и данные, обычно хранятся на одном или нескольких оптических дисках и загружаются в запоминающее устройство 18 с помощью накопителя на оптических дисках (непоказанным) для долговременного хранения в нем. В качестве альтернативы такие прикладные программы могут быть загружены в запоминающее устройство 18 через сетевое соединение (например, сеть Интернет) или другим подходящим средством для долговременного хранения в нем. В приведенном ниже описании «изображение» неопределенно относится к любой линии или поверхности или объему и состоит из непрерывной матрицы одинаковых пикселов, каждый из которых может иметь значение (или номер).
На фиг.1(В) показана последовательность действий, посредством которых согласно настоящему изобретению с использованием компьютера реализуется принцип автоматического формирования и подтверждения правильности тренировочных образов и выполнения многоточечного геостатистического моделирования, основанного на них. Отобранные изображения, используемые для формирования тренировочных образов, сохраняют в базе 101 данных изображений, которая может быть реализована в виде электронного, оптического или магнитного запоминающего устройства любого вида. В блоке 103 отобранное изображение импортируют из базы 101 данных изображений. На этой стадии отобранное изображение может быть любого вида, черно-белым, полутоновым, цветным или мультиспектральным изображением, и может быть с любой четкостью (разрешением). Для простоты описания отобранное изображение в блоке 105 называется изображением высокого разрешения.
В блоке 107 отобранное изображение из блока 105 обрабатывают для корректировки количества категорий пикселов изображения, если это желательно, и для корректировки разрешения, если это желательно. Для типичных многоточечных геостатистических способов требуется тренировочный образ с небольшим количеством категорий, например с менее чем 11. Часто размеры тренировочного образа должны составлять несколько сотен пикселов вдоль стороны. Задача уменьшения числа уровней серого/цвета отобранного изображения при сохранении геологической значимости заданных категорий отобранного изображения является задачей переменной трудности и зависит от сложности и качества отобранного изображения, в том числе от наличия шума и эффектов засветки. Перечень операций по обработке изображения, которые могут быть использованы в рамках этого этапа, включает в себя, но без ограничения ими, математические операции морфологии над изображениями, пороговую обработку или группировку по общему признаку цветных или полутоновых гистограмм, фильтрацию нижних частот изображения или полосовую фильтрацию. Часто желаемый результат может быть получен только путем сочетания последовательных операций по обработке изображения для исходного изображения. Может быть предусмотрен графический интерфейс пользователя, который предоставляет пользователю возможность осуществлять взаимосвязь таких блоков, визуализировать такие взаимосвязи с помощью графика и затем сохранять последовательность взаимосвязанных операций по обработке изображения для последующего использования. Окончательное изображение, сформированное с помощью процесса обработки изображения в блоке 107, в блоке 109 именуется тренировочным образом низкого разрешения с небольшим количеством категорий. Размеры и категории тренировочного образа из блока 109 соответствуют размерам и категориям, необходимым для последующих многоточечных геостатистических способов (блок 119).
На фиг.2(А)-2(Е) показан пример последовательности действий из блока 107 по обработке отобранного изображения, которое представляет собой цветной аэрофотоснимок дельты реки. На фиг.2(А) представлена полутоновая копия цветного аэрофотоснимка. На фиг.2(В) представлен результат исключения влияния засветки на изображение из фиг.2(А) путем применения морфологической операции. На фиг.2(С) представлен результат цветовой сегментации изображения из фиг.2(В) и удаления больших связанных участков (в данном случае реки и моря) способом сплошной заливки. На фиг.2(D) сохранен только уровень серого, соответствующий реке, а два других уровня серого слиты вместе. На фиг.2(Е) представлен вырезанный яркий участок изображения из фиг.2(D) и показана картина речных каналов, которая сохранена с целью применения отобранного тренировочного образа в многоточечных геостатистических способах. Эта картина имеет 2 категории, реку и фон.
В блоке 111 оценивают стационарность тренировочного образа из блока 109. Из таких операций получают статистические показатели стационарности, которые характеризуют стационарность тренировочного образа. Предпочтительно, чтобы такие статистические показатели характеризовали стационарность поля ориентации (блок 111А), стационарность масштаба изображения (блок 111В) и стационарность распределения категорий (блок 111С) для тренировочного образа из блока 109.
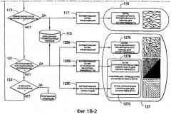
В блоке 113 статистические показатели стационарности, полученные в блоке 111, анализируют для определения, удовлетворяет ли тренировочный образ из блока 109 системе заданных ограничений, которыми определяется, должен или не должен использоваться тренировочный образ при последующем многоточечном геостатистическом анализе (например, в блоке 119). Если статистические показатели стационарности удовлетворяют таким заданным ограничениям, тренировочный образ добавляют в базу 115 данных тренировочного образа, которая может быть реализована в виде электронного, оптического или магнитного запоминающего устройства любого вида. Этот тренировочный образ может быть вызван из базы 115 данных (или выведен непосредственно из блока 113) для использования (блок 119) при многоточечном геостатистическом анализе (МТГА). Такие операции могут включать в себя представление (блок 117) тренировочного образа в формате сетки тренировочного образа в соответствии с форматом, необходимым для многоточечного геостатистического анализа (блок 119).
Если в блоке 113 определяют, что статистические показатели стационарности не удовлетворяют заданным ограничениям, пользователь выбирает, должен или не должен нестационарный тренировочный образ добавляться (блок 121) в базу 115 данных тренировочных образов или отбрасываться (блок 123). Нестационарный тренировочный образ может быть вызван из базы 115 данных (или выведен непосредственно из блока 121) для использования при многоточечном геостатистическом анализе (блок 127). При таких операциях нестационарный тренировочный образ может использоваться в качестве основы для сетки нестационарного тренировочного образа (блоки 125А, 127А), сетки ограничения масштаба (блоки 125В, 127В) или сетки ограничения ориентации (блоки 125С, 127С).
Для нестационарных изображений (например, изображений, не отброшенных в блоке 123) операции могут быть рекурсивно переведены обратно к блоку 107, согласно которому различные способы обработки изображений могут быть применены для выделения других признаков из отобранного изображения из блока 105, чтобы получить тренировочный образ, который удовлетворяет критериям стационарности (блоки 109-113).
На фиг.4 показаны операции блока 111А, которые характеризуют стационарность поля ориентации тренировочного образа из блока 109. Предполагается, что для каждого тренировочного образа категории тренировочного образа соответствуют различным геологическим элементам. Чтобы разделить статистические показатели стационарности ориентации по категориям и видам геологических элементов, каждую категорию изолируют, и поле ориентации и статистические показатели, устанавливаемые на основании этого, получают для конкретной категории. Чтобы изолировать конкретную категорию, все пикселы из любой другой категории приписывают к одной и той же исходной категории. Затем статистические показатели стационарности при категории могут быть усреднены или снабжены весами в соответствии со значимостью, которую пользователь захочет приписать им.
Операции над тренировочным образом (обозначенным блоком 401) начинают путем установки отсчета (переменной “k”) в 1 (блок 403) и затем преобразования копии тренировочного образа так, чтобы категория, соответствующая отсчету k (то есть, k-ой категории), была изолирована (блок 405) от других категорий. Это изображение ниже именуется «категорией тренировочного образа».
В соответствии с блоками 407 и 409 получают поле ориентации для категории тренировочного образа. Согласно предпочтительному осуществлению поле ориентации определяют, первоначально вычисляя поле градиентов категории тренировочного образа путем использования двумерной конволюции, такой как «вертикальный» и «горизонтальный» фильтры Превитта, и затем вычитая первую главную компоненту поля градиентов в пределах скользящего окна фиксированного размера (которое называется «ядром») с использованием анализа главных компонент (АГК). Такой анализ подробно описан в источниках: Feng X., “Analysis and approaches to image local orientation estimation”, thesis submitted for an MSc in Computer Engineering at University of California at Santa Cruz, 2003, и Randen et al., “Three-dimensional texture attributes for seismic data analysis”, Schlumberger Stavanger Research, SEG 2000 Expanded Abstracts, 2000, которые полностью включены в настоящую заявку посредством ссылок. «Вертикальным» фильтром Превитта
подчеркиваются «горизонтальные» края (то есть, края вдоль направления X). «Горизонтальным» фильтром Превитта
подчеркиваются «вертикальные» края (то есть, края вдоль направления Y).
Поле градиентов состоит из двумерного вектора для каждого пиксела категории тренировочного образа. Используя анализ главных компонентов, первую главную компоненту поля градиентов выделяют на протяжении круговой маски, сканируемой по изображению. Это аналогично вычислению собственных векторов и собственных значений матрицы
.
Круговую маску получают на основании квадратного окна (ядра) фиксированного размера N, где пикселы задаются весовой функцией W(x,y), как и в двумерном окне W(x,y) Гаусса, при этом:
,
где 0≤x<N и 0≤y<N.
При анализе главных компонент образуют два атрибута: (i) единичный корневой вектор V/|V| (как значение в радианах или как компоненты x и y); и (ii) соответствующее ему главное значение s1, которое также является модулем корневого вектора и которое подчеркивает сильные изотропные тренды. Следует отметить, что, поскольку векторы градиентов являются ортогональными к желаемой ориентации изображения, главное направление должно быть повернуто на π/2 радиан. Поле ориентации определяется единичным корневым вектором и соответствующим ему главным значением (или величиной) на фиксированных интервалах с типичными значениями, составляющими 64 пиксела для размера ядра или маски и 16 пикселов для разнесения двух последовательных выборок. Поле ориентации может быть представлено углом и величиной корневых единичных векторов (где все углы вычисляют по модулю 180°) или компонентами X и Y корневых единичных векторов и относящимися к ним главными значениями.
На фиг.3(A)-3(D) представлены последовательные изображения, которые иллюстрируют операции по обработке изображений, при которых поле ориентации для категории тренировочного образа выделяют в рамках последовательности действий из фиг.1(В). На фиг.3(А) представлен пример категории тренировочного образа. На фиг.3(В) представлено изображение, иллюстрирующее компоненту Y двумерного поля градиентов, которую образуют, применяя фильтр Gy Превитта в пределах категории тренировочного образа из фиг.3(А). На фиг.3(С) представлено изображение, иллюстрирующее компоненту X двумерного поля градиента, которую образуют, применяя фильтр Gx в пределах категории тренировочного образа из фиг.3(А). Главная компонента векторов ориентации может быть вычислена в скользящих, перекрывающихся, регулярно опрашиваемых окнах (также называемых ядрами ориентации). На фиг.3(D) представлено изображение, иллюстрирующее поле ориентации, где ядро ориентации имеет размер 64×64 пикселов и выбираются каждые 16 пикселов.
Вернемся к фиг.4, где в блоке 411 поле ориентации, образованное в блоке 409, используют для получения статистических показателей, которые характеризуют осевую ориентацию категории тренировочного образа и один или несколько количественных показателей, связанных с ними. Предпочтительно, чтобы такие статистические показатели были параметрами распределения, с помощью которых оценивают распределение фон Мизеса поля ориентации и количественные показатели (показатель), связанные с ним, которые характеризуют одно или несколько из следующих: (i) равномерность/неравномерность кругового распределения данных поля ориентации, которая обеспечивает указание на то, что имеется одно или несколько предпочтительных направлений на изображение, (ii) нормальность кругового распределения данных категории тренировочного образа, которая обеспечивает указание на то, что имеется доминирующее направление поля ориентации, и (iii) повторяемость поля ориентации, которая обеспечивает указание на то, что поле ориентации является подобным на протяжении различных зон на изображении.
В блоке 413 определяют, соответствует ли отсчет “k” последней категории (K) тренировочного образа. Если нет, осуществляют приращение отсчета “k” на единицу (то есть, k=k+1) в блоке 415 и возвращают процесс выполнения операций к блоку 405 для изоляции следующей категории тренировочного образа и вычисления статистических показателей стационарности ориентации для следующей категории (блоки 407-411). После того, как последняя категория обработана (k=K в блоке 413), выполнение операций продолжают в блоке 417 с целью визуального воспроизведения результатов обработки стационарности ориентации, полученных в блоках 407-411, для каждой категории тренировочного образа. Затем статистические показатели стационарности согласно категории могут быть усреднены или взвешены в соответствии со значимостью, которую пользователь захочет приписать им, для последующей обработки и принятия решения.
Согласно предпочтительному осуществлению предполагается, что поле ориентации подчиняется круговому нормальному распределению. В этом случае являются существенными углы ориентации векторов по модулю 180°, а величины таких векторов являются нерелевантными. Поэтому распределение должно иметь осевую симметрию. Конечно, гипотеза относительно нормальности является ограничивающей, но может быть оправдана тем, что поле ориентации вычисляют при больших ядрах. Этим обеспечивается гипотеза дважды свернутого распределения фон Мизеса, которое более подробно описано в источнике: Mardia, “Statistics of Directional Data”, Academic Press, New York, 1972, p.57-69, который полностью включен в настоящую заявку посредством ссылки. Распределение фон Мизеса задается двумя параметрами, масштабным параметром κ и параметром µ положения, и оно подчиняется функции плотности распределения вероятностей,
показанной на фиг.5(А) и 5(В). Переменная κ представляет собой концентрацию (обратную величину «разброса» угла θ ориентации), а переменная µ является средним направлением ее. Функция Io(κ) представляет собой функцию Бесселя нулевого порядка, определяемую через
Распределение фон Мизеса является по характеру одновершинным до тех пор, пока концентрация κ не станет равной 0, тогда оно становится равномерным. Все статистические показатели и критерии относительно распределения фон Мизеса могут быть получены путем умножения углов на 2. Простое распределение фон Мизеса подчиняется функции плотности распределения вероятностей,
В предположении одновершинного, нормально распределенного поля ориентации предпочтительно использовать следующие формулы для получения оценки среднего µ по окружности:
,
,
,
Здесь С и S являются направляющими косинусами и синусами, а величина определена как средняя результирующая длина и непосредственно связана с концентрацией κ. Детально эти уравнения описаны в источнике: Rock, “Lecture Notes in Earth Science 18 - Numerical Geology”, Springer Verlag, 1988, полностью включенном в настоящую заявку посредством ссылки. Отметим, что углы являются предварительно удвоенными, и поэтому должны быть разделены на два на завершающей стадии. Оценка может быть получена на основании оценки максимального правдоподобия. В качестве альтернативы оценка может быть получена путем использования следующего приближения:
Для оценивания стационарности ориентации категории тренировочного образа требуется анализ, заключающийся в том, что определяют, является ли распределение векторов поля ориентации автомодельным в различных областях категории тренировочного обр
 
                         
                            


