PatentDB.ru — поиск по патентным документам

Иллюстрации к патенту 2391686

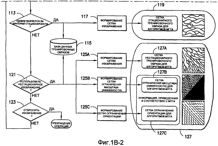
Основанные на применении компьютера формирование и проверка тренировочных образов, предназначенных для многоточечного геостатистического анализа

Основанные на применении компьютера формирование и проверка тренировочных образов, предназначенных для многоточечного геостатистического анализа (патент 2391686)