Способы и устройства для подавления вибраций буровой колонны
Иллюстрации
Показать всеПредложенная группа изобретений относится к буровому инструменту, в частности к устройствам для подавления вибраций буровой колонны. Техническим результатом является повышение эффективности бурения и продление срока службы буровой колонны за счет подавления вибраций. Устройство для подавления вибраций в промысловой буровой колонне выполнен в виде модуля, включающего корпус из двух трубчатых элементов, между которыми образована кольцевая полость, внутренние стенки которой имеют в частности выступающие ребра, улучшающие передачу энергии вибрации от указанной внутренней стенки к частицам, заполняющим кольцевую полость. Способ подавления вызванной бурением вибрации в промысловой буровой колонне основан на демпфировании частицами и поглощении энергии вибрации с помощью, по меньшей мере, одного указанного модуля. 5 н. и 23 з.п. ф-лы, 6 ил.
Реферат
Область техники изобретения
Настоящее изобретение в общем относится к способам и устройствам, связанным с бурением подземных формаций. Более конкретно, настоящее изобретение касается улучшения буровых операций и продления срока службы буровых колонн путем подавления вибраций буровой колонны.
Предшествующий уровень техники
Хорошо известно, что во время проведения буровых операций буровые колонны могут подвергаться потенциально разрушительным вибрациям. Осевые (например, подскакивание долота в забое), крутящие (например, прилипание-проскальзывание) и боковые (например, изгиб, кручение) вибрации являются хорошо известными факторами, которые могут разрушить буровые агрегаты (см. Jardine S., Malone, D., and Sheppard, M., "Putting a damper on drilling's bad vibrations," THE OILFIELD REVIEW, Schlumberger, January 1994). На протяжении многих лет проводилось обширное изучение и исследование для лучшего понимания, мониторинга и управления этими потенциальными разрушающими вибрациями буровой колонны (см. Rabia, H., "Oilwell drilling engineering principles and practice," Graham & Trotman, 1985; Clayer, F., Vandiver, J. K., and Lee, H. Y., "The effect of surface and downhole boundary conditions on the vibration of drillstring s," PROCEEDINGS 65 ANNUAL TECH. CONF. SPE, New Orleans, SPE 20447 1990; Tucker, R. W. and Wang, C, "An integrated model for drillstring dynamics," Lancaster University, 2000; Dykstra, M. W., Chen, D. C, Warren, T. M., and Azar, JJ., "Drillstring component mass imbalance: A major source of downhole vibrations," SPE,DRILLING AND COMPLETIONS, December 1996; Lesso W. G. Jr.,Chau, M. Т., and Lesso, W. G. Sr., "Quantifying bottomhole assembly: tendency using field directional drilling data and finite element model," SPE/IADC 52835, 1999).
Были предложены способы скважинного мониторинга и управления с поверхности для борьбы с некоторыми из упомянутых выше вибраций (см. Halsey G.W., Kyllingstad, A., and Kylling, A., "Torque feedback used to cure slip-stick motion " SPE 18049, 1988; Alley, S. D. and Sutherland, G. В., "The use of real-time downhole shock measurements to improve BHA component reliability," SPE 22537 1991; Aldred, W. D., and Sheppard, M. C., "Drillstring vibrations: A new generation mechanism and control strategies, "SPE 24582 1992; Chen, D. C-K., Smith M., and LaPierre S., "Integrated drilling dynamics system closes the model-measure -optimize loop in real time," SPE/IADC 79888). Однако стало ясно, что местное демпфирование вибраций будет иметь большее влияние на ограничение распространения разрушения, вызванного вибрациями буровой колонны.
В соответствии с этим были предложены способы местного демпфирования, которые, однако, имеют свои ограничения. Компания «APS Technology» предложила использовать изолирующий переходник, который включает в себя два гибко свинченных цилиндрических элемента с резьбовыми отверстиями, залитыми резиной. Резина между резьбовыми цилиндрическими элементами предназначена для демпфирования вызванных бурением вибраций. Тем не менее, зависимые от температуры свойства резины делают трудным или невозможным получение надежной работы при разных условиях бурения. В дополнение, огромные вращающие и осевые нагрузки, свойственные буровым операциям, должны быть переданы через резиновый демпфирующий материал, что является затруднительным. Коберн и Вэсселл предлагают модифицированный переходник, в котором магнитореологическая текучая среда, заполняющая узкий зазор между элементами бурового агрегата, используется как демпфирующий механизм (Cobern, М. Е., and Wassell, М. Е., "Drilling vibration monitoring and control system," APS TECHNOLOGY INC. TECH. REPORT APS-DVMCS, 2004). Вязкость текучей среды регулируется магнитной схемой для настройки демпфирования при различных буровых условиях. Но, однако, не ясно, будет ли это предложение эффективным.
Известно устройство для подавления вибраций в промысловой буровой колонне во время бурения, содержащее модуль подавления вибрации промысловой буровой колонны, содержащий оправку, имеющую внешнюю поверхность и внутреннюю поверхность, образующую канал через оправку, кольцевую полость, образованную между внутренней и внешней поверхностями и заполненную частицами, при этом вместо оправки используются также концентрические трубы, между которыми образована указанная полость (см., патент США 6364039 от 02.04.2002).
Известен также способ подавления вызванной бурением вибрации в промысловой буровой колонне, включающий введение, по меньшей мере, одного модуля подавления вибрации на основе демпфирования частицами в одно или несколько мест буровой колонны и поглощения энергии вибрации с помощью, по меньшей мере, одного модуля подавления вибрации (см., патент США 6364039 от 02.04.2002).
Данные устройства и способ не являются достаточно эффективными для подавления вызванной бурением вибрации в промысловой буровой колонне.
Целью настоящее изобретения является создание способа и устройства для подавления вибраций в промысловой буровой колонне во время бурения, обеспечивающих устранение или, по меньшей мере, уменьшение недостатков известных решений.
Сущность изобретения
Согласно настоящему изобретению созданы способ и устройства для подавления вибраций в промысловой буровой колонне во время бурения.
Согласно одному варианту осуществления изобретения создано устройство для подавления вибраций в промысловой буровой колонне во время бурения, содержащее модуль подавления вибрации промысловой буровой колонны, содержащий оправку, имеющую внешнюю поверхность и внутреннюю поверхность, образующую канал через оправку, кольцевую полость, образованную между внутренней и внешней поверхностями и содержащую внутреннюю стенку, имеющую элементы, улучшающие передачу энергии вибрации от внутренней стенки к частицам, заполняющим кольцевую полость. Энергия вибрации рассеивается посредством трения и неупругих столкновений частица-частица и частица-стенка, которые вызываются движением буровой колонны.
В одном варианте осуществления оправка содержит первый и второй резьбовые концы, предназначенные для введения между соседними буровыми трубами.
В одном варианте осуществления оправка содержит первую трубу и вторую трубу, подсоединенную с помощью резьбы к первой трубе и расположенную, по меньшей мере, частично внутри первой трубы, при этом кольцевая полость может быть расположена между первой и второй трубами.
В одном варианте осуществления оправка содержит первую трубу и вторую трубу, подсоединенную с помощью резьбы к первой трубе и концентрически расположенную по отношению к ней, при этом кольцевая полость расположена между первой и второй трубами.
Оправка может содержать вставляемый стабилизатор, предназначенный для модульного размещения в буровой колонне. Стабилизатор может содержать множество выступающих ребер, имеющих кольцевые полости, заполненные частицами.
В одном из вариантов оправка может содержать стабилизирующее кольцо, предназначенное для закрепления вокруг буровой колонны. Стабилизирующее кольцо может быть закреплено вокруг муфты. Стабилизирующее кольцо может содержать множество выступающих ребер, содержащих кольцевые полости, заполненные частицами.
В вариантах выполнения устройства элементы внутренней стенки могут содержать спираль, множество углублений и выступов, увеличивающих соударение частиц со стенкой, или шероховатую поверхность.
Согласно другому варианты выполнения устройство для подавления вибраций в промысловой буровой колонне содержит промысловую буровую колонну, имеющую, по меньшей мере, один модуль подавления вибрации, содержащий концентрические трубы и полость, сформированную между концентрическими трубами и имеющую элементы внутренней стенки, улучшающие передачу энергии вибрации от буровой колонны к частицам, заполняющим полость.
В вариантах выполнения устройства элементы внутренней стенки могут иметь геометрическую форму, облегчающую передачу энергии осевой, боковой и скручивающей вибрации от внутренней стенки к частицам. Элементы внутренней стенки могут содержать спираль, множество углублений и выступов, увеличивающих соударение частиц со стенкой, шероховатую поверхность или иметь зигзагообразный рисунок и шероховатую поверхность.
Частицы могут свободно заполнять полость, могут быть твердыми.
Устройство может содержать множество модулей подавления вибрации. При этом модули могут быть размещены на заранее определенных местах буровой трубы с максимальной вибрацией.
Согласно изобретению создано промысловое устройство, содержащее буровую колонну, имеющую буровую трубу, забойный агрегат, содержащий концентрические цилиндры, кольцевую полость и частицы твердого материала, свободно заполняющие кольцевую полость.
Согласно еще одному варианту выполнения устройство для подавления вибраций в промысловой буровой колонне содержит промысловую буровую колонну, имеющую, по меньшей мере, один модуль подавления вибрации, содержащий стабилизирующее кольцо, включающее в себя множество полых ребер, расположенных вокруг муфты, при этом, по меньшей мере, одно из полых ребер свободно заполнено частицами.
Каждое полое ребро может быть свободно заполнено частицами.
Согласно изобретению создан способ подавления вызванной бурением вибрации в промысловой буровой колонне, включающий введение в одно или несколько мест буровой колонны, по меньшей мере, одного модуля подавления вибрации на основе демпфирования частицами и поглощения энергии вибрации с помощью, по меньшей мере, одного модуля подавления вибрации, при этом указанный модуль имеет элементы его внутренней стенки, улучшающие передачу энергии вибрации от внутренней стенки к частицам.
Способ может содержать введение множества модулей подавления вибрации вдоль буровой колонны для уменьшения вибрации.
Способ может содержать введение множества модулей подавления вибрации вдоль буровой колонны в местах предполагаемой максимальной энергии вибрации.
Дополнительные преимущества и новые признаки изобретения изложены в следующем ниже описании.
Краткое описание чертежей
Прилагающиеся чертежи иллюстрируют определенные варианты осуществления и являются частью спецификации.
Фиг.1 является видом спереди бурового инструмента, который может быть использован, по меньшей мере, с одним из модулей подавления вибрации в соответствии с одним вариантом осуществления.
Фиг.2 является видом продольного сечения одного устройства подавления вибрации, которое может быть использовано с инструментом, показанным на фиг.1 (или другими) в соответствии с одним вариантом осуществления.
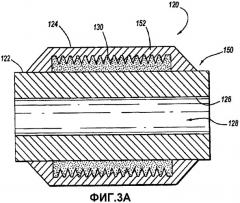
Фиг.3А является видом продольного сечения одного устройства подавления вибрации, которое может быть использовано с инструментом, показанным на фиг.1 (или другими) в соответствии с одним вариантом осуществления.
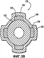
Фиг.3В является видом сверху поперечного сечения устройства подавления вибрации на фиг.3А в соответствии с одним вариантом осуществления.
Фиг.4 является видом поперечного сечения одного устройства подавления вибрации, которое может быть использовано с буровым инструментом в соответствии с одним вариантом осуществления.
Фиг.5 является видом спереди, частично в сечении, показывающим два устройства подавления вибрации на фиг.4 в положении на буровом инструменте.
Во всех чертежах идентичные ссылочные символы и описания обозначают подобные, но не обязательно идентичные элементы. Несмотря на то, что изобретение подвержено различным модификациям и альтернативным формам, конкретные изобретения были показаны в качестве примера на чертежах и будут подробно здесь описаны. Однако следует понимать, что изобретение не предназначено быть ограниченным конкретными раскрытыми вариантами. Точнее, изобретение покрывает все модификации, эквиваленты и альтернативы, попадающие в объем изобретения, определенный прилагаемой формулой изобретения.
Подробное описание
Ниже описываются иллюстративные варианты осуществления и аспекты изобретения. При разработке любого конкретного варианта осуществления должно быть сделано определенное количество специфических для реализации решений для достижения конкретных целей разработки, таких как совместимость с системо- и бизнес-зависимыми ограничениями, которые могут различаться от одной реализации к другой. Такие действия по разработке могут быть сложными и требующими времени, но, тем не менее, могут быть выполнены специалистами в данной области техники, имеющими преимущества данного раскрытия.
Ссылка во всем описании на «один вариант осуществления», «вариант осуществления», «некоторые варианты осуществления», «один аспект», «аспект» или «некоторые аспекты» означает, что конкретный признак, структура, способ или характеристика, описанные в связи с вариантом осуществления или аспектом, включена, по меньшей мере, в один вариант осуществления настоящего изобретения. Таким образом, появления фраз «в одном варианте осуществления» или «в варианте осуществления» или «в некоторых вариантах осуществления» (или «аспектах») в различных местах во всей спецификации не являются все обязательно ссылками на один и тот же вариант осуществления. Более того, конкретные признаки, структуры, способы или характеристики могут быть совмещены любым подходящим образом в одном или нескольких вариантах осуществления. Слова «включающий в себя» и «имеющий» должны иметь значение слова «содержащий». Более того, аспекты изобретения заключаются менее, чем во всех признаках раскрытого варианта осуществления. Таким образом, формула изобретения, следующая за подробным описанием, таким образом явно включена в подробное описание, при этом каждый независимый пункт является отдельным вариантом осуществления этого изобретения.
Настоящее раскрытие рассматривает, наряду с другими объектами, способы и устройства для подавления вибраций агрегата буровой колонны во время бурения. В некоторых вариантах осуществления вибрация подавляется путем введения одного или нескольких модулей подавления вибрации в подходящие места агрегата. Например, модули подавления вибрации могут быть введены в места, где энергия вибрации ожидается высокой или максимальной. В некоторых вариантах осуществления модули подавления вибрации включают в себя одну или несколько полостей, свободно заполненных частицами материала, который может быть твердым, таким как песок или металлический порошок. В некоторых вариантах осуществления твердые частицы материала содержат материал с высокой плотностью, такой как вольфрам или порошок подобного тяжелого металла. В некоторых вариантах осуществления частицы являются в основном круглыми (сферическими) и имеют диаметры в диапазоне от нескольких микрон до нескольких миллиметров. Однако могут быть использованы любые другие размеры частиц. Энергия вибрации рассеивается благодаря трению и упругим соударениям частица-частица и частица-стенка, которые происходят в результате движения буровой колонны. Рассеивание энергии вибрации посредством трения и упругого соударениям частица-частица и частица-стенка называется демпфированием частицами.
В общем, демпфирование частицами относится к структурному демпфированию и включает в себя использование заполненных частицами оболочек как части вибрирующей структуры, которая описана, например, в патенте США №5,365,842, который полностью включен в данное описание путем ссылки. Полости обычно свободно заполнены гранулированными материалами (песком, металлическим порошком и так далее), который поглощает кинетическую энергию вследствие соударений частица-частица и частица-стенка.
Было использовано, по меньшей мере, одно применение демпфирования частицами для подавления акустических вибраций в каротажных инструментах (см. раскрытое в патенте США №6,643,221, который полностью включен в данное описание путем ссылки. Предложенные структуры из маленьких отверстий и углублений, выполненных на муфтах, заполнены тяжелыми частицами. Однако высокочастотная (обычно около 3 кГц) и слабо амплитудная (обычно меньше чем один микрон) природа акустических вибраций устройства, которые нужно было подавить, сделала трудным или невозможным успешное применение предложенного демпфирования.
Однако изобретатели открыли, что вызванные бурением вибрации имеют гораздо меньшую частоту (обычно около 100 Гц) и могут иметь большие амплитуды (например, буровая колонна, ударяющая по стенке скважины), для которых демпфирование частицами может быть подходящим.
На фиг.1 показана буровая колонна 100. Буровая колонна 100 включает в себя забойный агрегат 102 и буровую трубу 104. Буровой агрегат 102 может включать в себя соединитель 106 с буровой трубой 104 и узел 108 запорного клапана. Ниже узла 108 запорного клапана может находиться прерыватель 110 давления. Если буровая колонна 100 предназначена для направленного бурения, она включает в себя инструмент 112 ориентации, который хорошо известен специалистам в данной области техники. В некоторых случаях вся буровая колонна 100 вращается и заставляет вращаться буровое долото 115 для облегчения бурения скважины. Однако некоторые системы могут включать в себя буровой двигатель 114 для приведения в действие и вращения бурового долота 115 и регулируемый механизм 116 искривления для облегчения направленного бурения. В соответствии с описанными здесь принципами подавление вибрации буровой колонны 100 может быть особенно эффективным, когда вся буровая колонна 100 вращается как единое целое без любой необходимости в буровом двигателе или регулируемом механизме искривления. Некоторые варианты осуществления могут не включать оборудование акустического каротажа, но несмотря на это описанные здесь принципы одинаково применимы к подавлению низкочастотных вибраций в буровых колоннах, которые выполняют измерения во время бурения.
Как упоминалось выше, буровые операции с использованием буровой колонны, такой как показанная на фиг.1 буровая колонна 100, создают сильные вибрации, уменьшающие срок службы буровых инструментов. Таким образом, показанный на фиг.2 вариант осуществления создает устройство, содержащее модуль 120 подавления вибрации в промысловой буровой колонне. Один или несколько модулей 120 подавления вибрации в промысловой буровой колонне могут быть введены в буровую колонну 100 (фиг.1). Модуль 120 содержит оправку 122, имеющую внешнюю поверхность 124 и внутреннюю поверхность 126. Внутренняя поверхность 126 определяет канал 128 через оправку 122, который позволяет буровому раствору и другим текучим средам проходить через участок буровой трубы и/или другие компоненты буровой колонны. Кольцевая полость 130 образована между внутренней и внешней поверхностями 124, 126, и частицы заполняют кольцевую полость 130. В одном варианте осуществления частицы свободно заполняют кольцевую полость 130 для облегчения подавления вибрации. Объем кольцевой полости 130 может быть максимизирован в некоторых аспектах для увеличения количества энергии, которая может быть поглощена. Максимизация объема кольцевой полости 130 может потребовать решения ограничений механики и потока бурового раствора, свойственных буровым операциям.
В варианте осуществления на фиг.2 оправка 122 содержит первый и второй концы 132, 134, которые предпочтительно, но не обязательно, имеют резьбу. Первый и второй концы 132, 134 обеспечивают возможность введения модуля 120 подавления вибрации между соседними участками буровой трубы 104 (фиг.1), между компонентами забойного агрегата 102 (фиг.1), между участками буровой трубы и забойным агрегатом или между другими компонентами.
Несмотря на то, что оправка 122 может содержать единственную деталь, в одном варианте осуществления оправка 122 содержит первую трубу 136 и вторую трубу 138, присоединенную к первой трубе 136 с помощью резьбы и, по меньшей мере, частично находящуюся в ней. Кольцевая полость может быть расположена между первой и второй трубами 136, 138. В варианте осуществления, показанном на фиг.2, первая труба 136 является цилиндрической трубой, и вторая труба 138 также является цилиндрической, подсоединена к первой трубе с помощью резьбы и является концентрической первой трубе 136.
В соответствии с некоторыми аспектами кольцевая полость 130 содержит внутреннюю стенку 140, которая включает в себя элементы, улучшающие передачу энергии вибрации от внутренней стенки 140 к частицам. В некоторых вариантах осуществления элементы внутренней стенки имеют геометрическую форму для облегчения передачи осевой, боковой и скручивающей энергии вибрации от внутренней стенки 140 к частицам. Например, элементы внутренней стенки могут содержать спираль. В другом варианте осуществления элементы внутренней стенки содержат множество углублений 142 и выступов 144, которые увеличивают столкновения частица-стенка. Углубления 142 и выступы 144 могут быть расположены по спирали или зигзагообразно, как показано на фиг.2. В одном варианте осуществления внутренняя стенка 140 содержит шероховатую поверхность, которая также облегчает взаимодействие частица-стенка. Предварительное моделирование может облегчить разработку элементов внутренней стенки таким образом, что обеспечит наилучшее соотношение между демпфированием при различных типах вибрации (осевой, боковой, скручивающей) для достижения максимальной общей производительности.
Некоторые варианты осуществления включают в себя два или более модулей 120 подавления вибрации, расположенных на всем протяжении буровой колонны 100 (фиг.1). Некоторые варианты осуществления могут включать в себя от трех до десяти модулей подавления вибрации. В одном варианте осуществления каждый из модулей 120 подавления вибрации расположен в заранее определенных местах буровой колонны 100 (фиг.1) с максимальной вибрацией. Таким образом, специалистам в данной области техники понятно, что стадия предварительного моделирования бурения и/или эксперименты выявят вероятные места максимальной вибрации.
В одном варианте осуществления оправка 122 содержит стабилизирующее кольцо 150, показанное на фиг.3А-3В. Стабилизирующее кольцо 150 может быть сконфигурировано для закрепления вокруг буровой колонны 100 (фиг.1). В одном варианте осуществления стабилизирующее кольцо 150 закреплено вокруг муфты буровой колонны 100 (фиг.1), но при этом могут также быть использованы другие места. Стабилизирующее кольцо 150 может включать в себя множество радиально выступающих ребер, например четыре одинаково удаленных друг от друга полых ребра 152. Однако может быть использовано любое количество ребер. Внутри ребер 152 имеется кольцеобразная полость 130, несмотря на то, что кольцевая полость 130 не является полностью круглой. Каждая из кольцевых полостей 130 может быть свободно заполнена теми же частицами, что и описанные выше со ссылкой на фиг.2. Демпфирование частицами в стабилизаторах буровой колонны (таких как стабилизирующие кольца 150) может значительно увеличить жизнь буровой колонны 100 (фиг.1) путем поглощения частицами большей части ударов и вибрации, вызванных бурением.
Несмотря на то, что модуль 120 подавления вибрации, содержащий стабилизирующее кольцо 150, может быть закреплен вокруг буровой колонны 100 (фиг.1), как описано выше, другие варианты осуществления могут содержать отдельные модули. Например, фиг.4 иллюстрирует модуль 120 подавления вибрации, содержащий вставляемый стабилизатор 250. Подобно варианту осуществления на фиг.2 вставляемый стабилизатор 250 может содержать первый и второй концы 232, 234, которые предпочтительно, но необязательно, имеют резьбу. Первый и второй концы 232, 234 с резьбой позволяют вводить модуль 120 подавления вибрации между соседними участками буровой трубы 104 (фиг.1), между компонентами забойного агрегата 102 (фиг.1), между участком буровой трубы и забойным агрегатом или между другими компонентами.
Подобно стабилизирующему кольцу 150 вставляемый стабилизатор 250 может включать в себя множество радиально выступающих ребер, например четыре одинаково удаленных друг от друга полых ребра 252 на фиг.4-5. Однако может быть использовано любое количество ребер. Внутри ребер 252 имеется кольцевая полость 130. Каждая из кольцевых полостей 130 может быть свободно заполнена теми же частицами, что и описанные выше со ссылкой на фиг.2. Несмотря на то, что на фиг.5 показаны два модуля 120 подавления вибрации, любое количество модулей 120 подавления вибрации, содержащих вставляемые стабилизаторы 250, может быть вставлено в буровую колонну 100. Как отмечалось выше, демпфирование частицами в стабилизаторах буровой колонны (таких как вставляемые стабилизаторы 250) могут значительно увеличить срок службы буровой колонны 100 благодаря поглощению частицами значительной части ударов и вибрации, вызванных бурением.
Каждое устройство, показанное и описанное выше, может быть использовано с любой буровой колонной и не ограничено вариантами осуществления, показанными на фиг.1 и 5. Более того, настоящая спецификация рассматривает любое демпфирование частицами буровой колонны и не ограничено конкретными вариантами осуществления, показанными на фиг.1 и 5. Один аспект рассматривает способ, содержащий подавление вызванных бурением вибраций в промысловой буровой колонне. Подавление содержит введение, по меньшей мере, одного модуля подавления вибрации на основе демпфирования частицами в одно или несколько мест буровой колонны и поглощение энергии вибрации, по меньшей мере, одним модулем подавления вибрации. В одном аспекте способ дополнительно содержит оперативное введение множества модулей подавления вибрации в буровую колонну для уменьшения вызванной бурением вибрации. Один аспект дополнительно содержит введение множества модулей подавления вибрации в буровую колонну в места, где энергия вибрации ожидается большей или максимальной.
Предшествующее описание было представлено только для иллюстрации и описывает определенные принципы. Оно не предназначено быть исчерпывающим или ограничивающим изобретение любым изложенным точным выражением. Множество модификаций и вариаций являются возможными в свете вышеизложенных идей.
Показанные и описанные варианты осуществления были выбраны и описаны в порядке наилучшего объяснения принципов изобретения и его практического применения. Предшествующее описание предназначено сделать возможным другим специалистам в данной области техники использовать наилучшим образом принципы, изложенные в различных вариантах осуществления и с различными модификациями, подходящими для рассмотренного конкретного использования. Надо понимать, что объем этого раскрытия определен следующей формулой изобретения.
1. Устройство для подавления вибраций в промысловой буровой колонне, содержащее модуль подавления вибрации промысловой буровой колонны, содержащий оправку, имеющую внешнюю поверхность и внутреннюю поверхность, образующую канал через оправку, кольцевую полость, образованную между внутренней и внешней поверхностями и содержащую внутреннюю стенку, имеющую элементы, улучшающие передачу энергии вибрации от внутренней стенки к частицам, заполняющим кольцевую полость.
2. Устройство по п.1, в котором оправка содержит первый и второй снабженные резьбой концы, предназначенные для введения между соседними буровыми трубами.
3. Устройство по п.1, в котором оправка содержит первую трубу и вторую трубу, подсоединенную с помощью резьбы к первой трубе и расположенную, по меньшей мере, частично внутри нее, при этом кольцевая полость расположена между первой и второй трубами.
4. Устройство по п.1, в котором оправка содержит первую трубу и вторую трубу, подсоединенную с помощью резьбы к первой трубе и концентрически расположенную по отношению к ней, при этом кольцевая полость расположена между первой и второй трубами.
5. Устройство по п.1, в котором оправка содержит вставляемый стабилизатор, предназначенный для модульного размещения в буровой колонне.
6. Устройство по п.5, в котором вставляемый стабилизатор содержит множество выступающих ребер, имеющих кольцевые полости, заполненные частицами.
7. Устройство по п.1, в котором оправка содержит стабилизирующее кольцо, предназначенное для закрепления вокруг буровой колонны.
8. Устройство по п.1, в котором стабилизирующее кольцо закреплено вокруг муфты.
9. Устройство по п.7, в котором стабилизирующее кольцо содержит множество выступающих ребер, содержащих кольцевые полости, заполненные частицами.
10. Устройство по п.1, в котором элементы внутренней стенки содержат спираль.
11. Устройство по п.1, в котором элементы внутренней стенки содержат множество углублений и выступов, увеличивающих соударение частиц со стенкой.
12. Устройство по п.1, в котором элементы внутренней стенки содержат шероховатую поверхность.
13. Устройство для подавления вибраций в промысловой буровой колонне, содержащее, по меньшей мере, один модуль подавления вибрации промысловой буровой колонны, содержащий концентрические трубы и полость, сформированную между концентрическими трубами и имеющую элементы внутренней стенки, улучшающие передачу энергии вибрации от буровой колонны к частицам, заполняющим полость.
14. Устройство по п.13, в котором элементы внутренней стенки имеют геометрическую форму, облегчающую передачу энергии осевой, боковой и скручивающей вибрации от внутренней стенки к частицам.
15. Устройство по п.13, в котором элементы внутренней стенки содержат спираль.
16. Устройство по п.13, в котором элементы внутренней стенки содержат множество углублений и выступов, увеличивающих соударение частиц со стенкой.
17. Устройство по п.13, в котором элементы внутренней стенки содержат шероховатую поверхность.
18. Устройство по п.13, в котором элементы внутренней стенки имеют зигзагообразный рисунок и шероховатую поверхность.
19. Устройство по п.13, в котором частицы свободно заполняют полость.
20. Устройство по п.13, в котором частицы являются твердыми.
21. Устройство по п.13, содержащее множество модулей подавления вибрации.
22. Устройство по п.13, содержащее множество модулей подавления вибрации, размещенных на заранее определенных местах буровой трубы с максимальной вибрацией.
23. Промысловое устройство, содержащее буровую колонну, имеющую буровую трубу, забойный агрегат, содержащий концентрические цилиндры, кольцевую полость и частицы твердого материала, свободно заполняющие кольцевую полость.
24. Устройство для подавления вибраций в промысловой буровой колонне, содержащее, по меньшей мере, один модуль подавления вибрации промысловой буровой колонны, содержащий стабилизирующее кольцо, включающее в себя множество полых ребер, расположенных вокруг муфты при этом, по меньшей мере, одно из полых ребер свободно заполнено частицами.
25. Устройство по п.24, в котором каждое полое ребро свободно заполнено частицами.
26. Способ подавления вызванной бурением вибрации в промысловой буровой колонне, включающий введение в одно или несколько мест буровой колонны, по меньшей мере, одного модуля подавления вибрации на основе демпфирования частицами и поглощение энергии вибрации с помощью, по меньшей мере, одного модуля подавления вибрации, при этом указанный модуль содержит элементы его внутренней стенки, улучшающие передачу энергии вибрации от внутренней стенки к частицам.
27. Способ по п.26, содержащий введение множества модулей подавления вдоль буровой колонны для уменьшения вибрации.
28. Способ по п.26, содержащий введение множества модулей подавления вибрации вдоль буровой колонны в местах предполагаемой максимальной энергии вибрации.
 
                         
                            


