PatentDB.ru — поиск по патентным документам

Иллюстрации к патенту 2401933

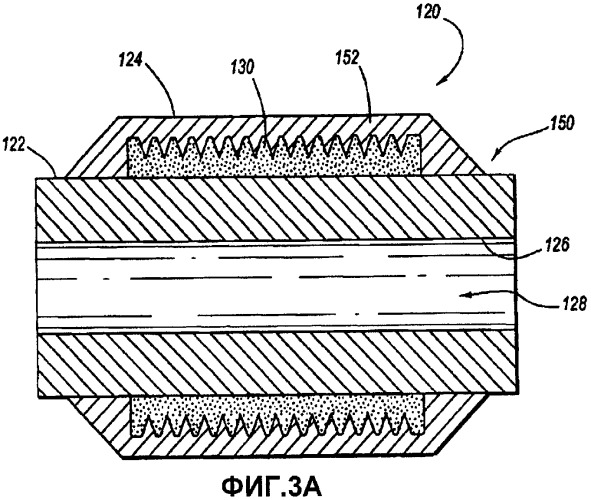
Способы и устройства для подавления вибраций буровой колонны

Способы и устройства для подавления вибраций буровой колонны (патент 2401933)