Информация о радиальной плотности с бетатронного зонда плотности
Иллюстрации
Показать всеИспользование: для определения характеристик подземных формаций, пересекаемых стволом скважины. Сущность: заключается в том, что устройство для определения характеристик подземных формаций, окружающих ствол скважины, содержит источник излучения, эффективный для образования первого и разнесенного во времени и пространстве другого, второго источника рентгеновского излучения, при этом первый и второй источники рентгеновского излучения предназначены для облучения подземных формаций под различными во времени и пространстве первым и вторым углами входа; один или более детекторов рентгеновского излучения, способных формировать первый и второй сигналы, показывающие интенсивность первого и второго источников рентгеновского излучения, поступающего обратно из подземных формаций к одному или нескольким детекторам рентгеновского излучения; и кожух, в котором размещены источник излучения и один или более детекторов рентгеновского излучения. Технический результат: уменьшение суммарного количества используемых детекторов при сохранении точности и надежности измерений плотностей формаций. 5 н. и 10 з.п. ф-лы, 6 ил.
Реферат
1. Область техники, к которой относится изобретение
Настоящее изобретение относится к каротажу плотности формации, а более конкретно к способам и устройствам для определения плотностей подземных формаций, окружающих ствол скважины, в которых осуществляется компенсация влияния глинистой корки и отклонения прибора от стенки скважины.
2. Уровень техники изобретения
Пробоотборник, известный как зонд, спускают в ствол нефтяной скважины и используют для определения плотности формации, окружающей ствол скважины. Плотность формации используют геологи для прогнозирования глубинных уровней продуктивных потоков нефти. Обычные каротажные зонды включают в себя источник гамма-излучения (или рентгеновского излучения), по меньшей мере один детектор и материал, который экранирует детектор от источника излучения, чтобы предотвращать подсчет излучения, испускаемого непосредственно из источника. Во время работы зонда гамма-излучение испускается из источника излучения и проходит через стенку ствола скважины и входит в формацию, подлежащую исследованию. Это гамма-излучение взаимодействует с атомными электронами формации; и в процессе комптоновского рассеяния некоторые из фотонов, излучаемых из источника в формацию, рассеиваются к детектору в каротажном приборе. Поскольку количество гамма-излучения, возвращающегося к детектору, зависит от плотности формации, по этой причине плотность формации вычисляют на основании скорости счета или интенсивностей обнаруживаемого гамма-излучения.
Из предшествующего уровня техники бетатроны известны как источники рентгеновского излучения. В патенте США №5525797 также раскрыт бетатрон, имеющий внутреннюю мишень, эффективную при формировании рентгеновского излучения высокой интенсивности. Этот патент полностью включен в настоящую заявку в качестве ссылки.
Одна проблема, влияющая на точность измерения плотности формации, заключается во влиянии глинистой корки и отклонения прибора от стенки скважины. Глинистая корка представляет собой слой монолитного материала, консолидированного из бурового раствора, который находится на всем протяжении внешней периферии ствола скважины. А отклонение является расстоянием от зонда до стенки ствола скважины. Обычно глинистая корка отличается по плотности от формации. Поскольку гамма-излучение проходит глинистую корку дважды до того, как оно достигает детектора, а детектор измеряет только скорость счета или интенсивность обнаруживаемого гамма-излучения, то получаемая плотность формации является очень неточной, если не осуществлять компенсацию за влияние глинистой корки.
Обычно по меньшей мере два детектора используют для компенсации отклонения, обусловленного наростом глинистой корки или отклонением прибора. Стандартный зонд с двумя детекторами включает в себя детектор вблизи источника излучения (ближний к источнику детектор) и детектор на дополнительном расстоянии от источника излучения (дальний от источника детектор). Ближний к источнику детектор имеет небольшую глубину исследования и является более чувствительным к скважинному флюиду или глинистой корке между зондом и формацией, тогда как дальний от источника детектор имеет большую глубину исследования и является менее чувствительным к скважинным условиям и более чувствительным к формации.
В каротажном приборе с двумя детекторами обычно используют способ «хребта и ребер» для коррекции за влияние отклонения прибора результатов измерений дальним от источника детектором. «Хребет» представляет собой геометрическое место точек скоростей счета для дальнего от источника детектора и ближнего к источнику детектора при различных плотностях формации в отсутствие глинистой корки. «Ребра» вытянуты от хребта и каждое из них образовано объединением точек данных скоростей счета для дальнего от источника детектора и ближнего к источнику детектора в случае фиксированной плотности формации и различных толщинах глинистой корки. При спуске и подъеме каротажного прибора местоположение кросс-плота, соответствующее точке на конкретном ребре, находят, используя скорости счета на основании дальнего от источника детектора и ближнего к источнику детектора. Путем трассирования этого ребра обратно на хребет плотность формации определяют по пересечению ребра и хребта. Для детального рассмотрения способа измерения плотности формации с использованием каротажных приборов с двумя детекторами можно обратиться к Ellis D.V., “Well logging for Earth scientists”, Springer, 2nd edition, 2007.
Чтобы дополнительно повысить точность вычисляемой плотности формации, иногда используют три или большее количество детекторов. В патенте США №5912460 раскрыт способ определения плотности формации с помощью трех или большего количества детекторов для компенсации большого отклонения. Этот патент полностью включен в настоящую заявку путем ссылки.
В обычном скважинном каротажном приборе с несколькими детекторами ближний к источнику детектор находится очень близко к источнику излучения, что затрудняет экранирование детектора от прямого излучения из источника. Кроме того, при использовании большего количества детекторов значительно возрастает стоимость каротажного прибора. Поэтому согласно аспекту этого изобретения отказываются от использования ближнего к источнику детектора, уменьшают суммарное количество используемых детекторов, одновременно сохраняя точность и надежность измерений плотностей формаций. Согласно другому аспекту этого изобретения получают больше информации о формации и условиях отклонения, используя несколько детекторов.
Сущность изобретения
В соответствии с осуществлением изобретения изобретение может включать в себя устройство и способ для определения характеристик подземных формаций, пересекаемых стволом скважины, в которых осуществляется компенсация за влияния глинистой корки и отклонения при меньшем количестве детекторов, чем обычно. Изобретение может быть основано на результате наблюдений, заключающемся в том, что чувствительность детектора по отношению к различным пространственным областям в формациях изменяется как функция угла, который образует с формацией пучок тормозного излучения.
Раскрытое устройство может включать в себя источник излучения, эффективный для образования первого, а также разнесенного в пространстве и во времени отдельного второго источников рентгеновского излучения для облучения подземных формаций под первым и вторым углами входа, и один или несколько детекторов рентгеновского излучения, способных формировать первый и второй сигналы, показывающие интенсивность первого и второго рентгеновских излучений, поступающих обратно из подземных формаций к детекторам. С помощью способа «хребта и ребер» построением кросс-плота двух различных сигналов можно получать плотность формации, компенсированную от влияния глинистой корки и отклонения.
Поскольку один детектор выполняет ту же самую функцию, для выполнения которой прежде требовалось два детектора, суммарное количество детекторов, используемых в каротажном приборе настоящего изобретения, уменьшается. И при использовании нескольких детекторов можно получать больше информации о пласте и условиях отклонения. Поэтому прибор является экономически эффективным. Кроме того, поскольку в настоящем изобретении ближний к источнику детектор не является необходимым, то это значительно упрощает процесс изготовления зонда.
В соответствии с осуществлением изобретения изобретение включает в себя устройство для определения характеристик подземных формаций в подземной среде. Устройство включает в себя источник излучения, эффективный для образования двух или более количеств источников рентгеновского излучения. Каждый из двух или более образованных источников рентгеновского излучения облучает подземные формации в различные моменты времени и под различными углами входа. Один или более детекторов рентгеновского излучения способны формировать первый и второй сигналы, показывающие интенсивность первого и второго рентгеновских излучений из двух или более рентгеновских излучений, поступающих обратно из подземных формаций к одному или нескольким детекторам рентгеновского излучения.
В соответствии с аспектом изобретения изобретение может включать в себя кожух, который сформирован и выполнен с возможностью размещения источника излучения и одного или нескольких детекторов рентгеновского излучения. Кроме того, устройство имеет один детектор. Более того, определяемой характеристикой подземной формации является плотность формации.
В соответствии с осуществлением изобретения изобретение включает в себя способ определения характеристик подземных формаций, окружающих ствол скважины. Способ включает в себя этап, на котором обеспечивают источник излучения, при этом источник излучения эффективен для образования первого и разнесенного во времени и пространстве другого, второго источника рентгеновского излучения. Способ также включает в себя этап, на котором облучают подземные формации первым и вторым рентгеновскими излучениями под пространственно различными первым и вторым углами входа. Более того, способ включает в себя этап, на котором обнаруживают первое и второе рентгеновское излучение, рассеиваемое из подземных формаций, и этап, на котором формируют первый и второй сигналы, показывающие интенсивность обнаруживаемых первого и второго рентгеновских излучений. Способ также включает в себя этап, на котором вычисляют плотности формации на основании первого и второго сигналов.
В соответствии с осуществлением изобретения изобретение включает в себя способ определения характеристик подземных формаций, окружающих скважину. Способ включает в себя этапы, на которых облучают подземную формацию источником гамма-излучений таким образом, что гамма-излучения формируются под различными во времени и пространстве углами входа. Способ также включает в себя этап, на котором обеспечивают по меньшей мере один детектор, способный формировать сигналы от каждого образованного гамма-излучения, рассеиваемого из подземной формации. Способ дополнительно включает в себя этап, на котором формируют сигналы, показывающие интенсивность обнаруживаемых гамма-излучений, и этап, на котором вычисляют плотности формации на основании формируемых сигналов.
В соответствии с осуществлением изобретения изобретение включает в себя способ определения характеристик подземных формаций, окружающих ствол скважины. Способ включает в себя этапы, на которых спускают зонд в ствол нефтяной скважины. Зонд содержит источник энергии, эффективный для генерирования первого и пространственно разнесенного другого, второго рентгеновского излучения, один или несколько детекторов рентгеновского излучения и кожух. Кожух сформирован и выполнен с возможностью размещения источника энергии и детекторов. Способ включает в себя этапы, на которых облучают подземные формации первым и вторым рентгеновскими излучениями под пространственно различными первым и вторым углами входа. Способ включает в себя этап, на котором обнаруживают первое и второе рентгеновское излучение, рассеиваемое из подземных формаций, и этап, на котором формируют первый и второй сигналы, показывающие интенсивность обнаруживаемых первого и второго рентгеновских излучений. Кроме того, способ включает в себя этап, на котором передают указанные первый и второй сигналы к наземному блоку обработки сигналов, и этап, на котором вычисляют плотность формации на основании первого и второго сигналов в наземном блоке обработки сигналов.
В соответствии с осуществлением изобретения изобретение включает в себя систему для определения характеристик подземных формаций, окружающих ствол скважины. Система включает в себя зонд, выполненный с возможностью перемещения на протяжении ствола скважины. Зонд содержит источник энергии, эффективный для образования первого и пространственно разнесенного другого, второго рентгеновского излучения, при этом указанные первое и второе рентгеновские излучения облучают подземные формации под пространственно различными первым и вторым углами входа. Система включает в себя один или несколько детекторов рентгеновского излучения, способных формировать первый и второй сигналы, показывающие интенсивность указанных первого и второго рентгеновских излучений, поступающих обратно из подземных формаций к детекторам. Система также включает в себя кожух, в котором размещены источник энергии и детекторы. Кроме того, система включает в себя наземный блок обработки сигналов для вычисления плотности подземной формации на основании первого и второго сигналов. Система включает в себя каротажный кабель, соединенный с зондом и наземным блоком обработки сигналов. Система также включает в себя кабель, эффективный для передачи первого и второго сигналов из зонда к блоку обработки сигналов.
Дополнительные признаки и преимущества изобретения станут более понятными из последующего подробного описания в сочетании с сопровождающими чертежами.
Краткое описание чертежей
Настоящее изобретение далее рассматривается в подробном описании, которое следует ниже, со ссылками на сопровождающие чертежи, с помощью не создающих ограничения примеров предпочтительных осуществлений настоящего изобретения, на которых:
фиг.1 изображает схематический вид зонда плотностного каротажа с одним детектором из предшествующего уровня техники, находящегося в скважинных условиях;
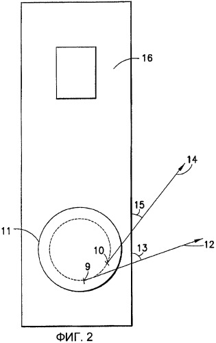
фиг.2 - вид зонда, имеющего бетатрон в качестве источника электронов для образования двух разнесенных в пространстве и времени источников рентгеновского излучения с различными углами входа в формацию, согласно изобретению;
фиг.3 - вид карты чувствительности, иллюстрирующей чувствительность сигнала детектора к изменениям плотности формации в зависимости от глубины внутрь формации, а также в зависимости от положения вдоль длины каротажного зонда, при различных углах входа рентгеновских излучений в формацию, согласно аспекту изобретения, при этом карта показана для угла входа рентгеновского излучения в формацию, составляющего 15°;
фиг.4 - вид другой карты чувствительности, иллюстрирующей чувствительность сигнала детектора к изменениям плотности формации в зависимости от глубины внутрь формации, а также в зависимости от положения вдоль длины каротажного зонда, при различных углах входа рентгеновских излучений в формацию, согласно аспекту изобретения, при этом карта показана для угла входа рентгеновского излучения в формацию, составляющего 45°;
фиг.5 - вид еще одной карты чувствительности, иллюстрирующей чувствительность сигнала детектора к изменениям плотности формации в зависимости от глубины внутрь формации, а также в зависимости от положения вдоль длины каротажного зонда, при различных углах входа рентгеновских излучений в формацию, согласно аспекту изобретения, при этом карта показана для угла входа рентгеновского излучения в формацию, составляющего 90°; и
фиг.6 - диаграмма «хребта и ребер» плотностей формации при одном детекторе рентгеновского излучения, согласно изобретению.
Подробное описание предпочтительных вариантов
осуществления изобретения
Подробности, показанные в настоящей заявке, являются примером и предназначены только для иллюстрации вариантов осуществлений настоящего изобретения и представлены, чтобы выявить считающееся наиболее полезным и легко понимаемым описание принципов и концептуальных аспектов настоящего изобретения. В этой связи не будет делаться попытка показать конструктивные детали настоящего изобретения с большей степенью подробности, чем это необходимо для глубокого понимания настоящего изобретения, при этом описание с учетом чертежей делает очевидным для специалистов в данной области техники, каким образом несколько осуществлений настоящего изобретения могут быть воплощены на практике. Кроме того, на различных чертежах одинаковыми позициями показаны аналогичные элементы.
В соответствии с осуществлением изобретения в состав изобретения входят устройство и способ для определения характеристик подземных формаций, пересекаемых стволом скважины, в которых осуществляется компенсация влияния глинистой корки и отклонения зонда при меньшем количестве обычных детекторов. Изобретение основано на результате наблюдений, заключающемся в том, что чувствительность детектора по отношению к различным пространственным областям в формациях изменяется как функция угла, который образует с формацией пучок тормозного излучения.
На фиг.1 показан схематический вид обычного зонда из предшествующего уровня техники. Зонд 1 содержит кожух 2, источник 3 гамма-излучения (рентгеновского излучения) и один или несколько детекторов 6. Он подвешен на кабеле 7 в стволе скважины, окруженном подземными формациями 4. Кабель 7 является эффективным для передачи данных от зонда к наземному блоку обработки данных. Стенки ствола скважины покрыты глинистой коркой 5.
На фиг.2 показано первое осуществление настоящего изобретения, при этом источником излучения может быть бетатрон или любой другой рентгеновский излучатель, который является эффективным для генерирования по меньшей мере двух рентгеновских излучений с пространственно различными углами входа в формацию. Пример зонда с использованием бетатрона 11 в качестве источника излучения показан на фиг.2.
На фиг.2 две мишени, мишень 9 и мишень 10, установлены внутри кольцевого пространства бетатрона и расположены так, что при использовании последовательности переключений электроны в тороиде бетатрона сначала попадают на мишень 9, затем через некоторое время задержки, составляющее номинально 500 мкс, попадают на мишень 10, и эти мишени, в свою очередь, генерируют соответствующие первое рентгеновское излучение 12 и пространственно другое, второе рентгеновское излучение 14. Как рентгеновское излучение 12, так и рентгеновское излучение 14 представляют собой излучения с максимумом рассеяния вперед. Когда зонд начинает работать, сначала рентгеновское излучение 12 облучает подземные формации под первым углом 13 входа, затем рентгеновское излучение 14 облучает подземные формации под другим, вторым углом 15 входа. Мишень 9 и мишень 10 выполнены из порождающих рентгеновское излучение металлов или сплавов металлов.
На фиг.2 показано также, что после того как рентгеновское излучение 12 и рентгеновское излучение 14 осуществили взаимодействие с электронами формаций, они рассеиваются обратно к зонду 1 и обнаруживаются детектором 6. В этом случае детектор 6 разделяет обнаруживаемые рентгеновские излучения на две составляющие на основе моментов времени, в которые рентгеновские излучения обнаруживаются. Эти две составляющие соответствуют интенсивностям рентгеновских излучений 12 и 14, поступающих обратно из формаций и отдельно регистрируемых как сигнал 1 и сигнал 2.
На фиг.3-5 показаны карты чувствительности, иллюстрирующие чувствительность сигнала детектора к изменениям плотности формации в зависимости от глубины проникновения в формацию, а также в зависимости от положения вдоль длины каротажного прибора при углах входа рентгеновского излучения в формацию 15°, 45° и 90°, соответственно. Из сравнения карт чувствительности видно, что чувствительность детектора по отношению к различным пространственным областям в формациях изменяется в зависимости от угла, под которым рентгеновское излучение входит в формацию. Как показано на фиг.3-5, при небольшом угле входа в формацию повышается чувствительность детектора к мелкозалегающим областям формаций, тогда как при большом угле входа повышается чувствительность детектора к глубоким областям формаций. Поскольку мелкозалегающие области представляют собой в основном глинистую корку и глубокие области представляют собой в основном формации, информацию о компенсированной плотности формации можно определять, используя скорость счета рентгеновских излучений с пространственно различными углами входа в формацию. Таким образом, один детектор выполняет ту же самую функцию, для выполнения которой прежде требовалось два детектора.
На фиг.6 показан результат вычисления компенсированной плотности формации с помощью способа «хребта и ребер». Для этого примера использовали только один детектор; и его располагали на расстоянии 15 дюймов (38,1 см) от источника излучения. Хребет получали объединением пар счетов обнаруживаемых рентгеновских излучений, одного, измеренного, когда угол входа составлял 15°, и другого, измеренного, когда угол входа составлял 60°, и при этом прибор располагали перед формациями с однородной плотностью без отклонения от стенки ствола скважины. Ребро образовывали путем объединения аналогичных пар скоростей счета, когда прибор располагали перед одной конкретной формацией с однородной плотностью, но в различных условиях отклонения. После получения детектором при спуске и подъеме каротажного прибора скорости счета рентгеновского излучения с углами входа в формацию, составлявшими 15° и 60°, компенсированную плотность формации определяли с помощью способа (фиг.6), описанного в публикации Ellis.
Поскольку в настоящем изобретении ближний к источнику детектор не является необходимым, это значительно упрощает процесс изготовления зонда. И поскольку меньше детекторов используется для получения такого же количества точной и надежной информации, стоимость зондов значительно снижается. Кроме того, если использовать такое же количество детекторов, как в известных зондах, можно получать больше информации о формации и условиях отклонения от стенки скважины.
Заявитель отмечает, что приведенные выше примеры представлены только для пояснения и никоим образом не должны толковаться как ограничивающие настоящее изобретение. Хотя настоящее изобретение описано с обращением к примеру осуществления, понятно, что слова, которые использованы в настоящей заявке, являются словами описания и иллюстрации, а не словами ограничения. В пределах рамок прилагаемой формулы изобретения, заявленной и уточненной к настоящему времени, изменения могут быть сделаны без отступления от объема и сущности настоящего изобретения в его аспектах. Хотя настоящее изобретение было описано в заявке со ссылкой на конкретные средства, материалы и осуществления, настоящее изобретение не предполагается ограниченным подробностями, раскрытыми в заявке; скорее настоящее изобретение распространяется на все функционально эквивалентные конструкции, способы и применения, которые находятся в объеме прилагаемой формулы изобретения.
1. Устройство для определения характеристик подземных формаций, окружающих ствол скважины, содержащее:источник излучения, эффективный для образования первого и разнесенного во времени и пространстве другого, второго источника рентгеновского излучения, при этом первый и второй источники рентгеновского излучения предназначены для облучения подземных формаций под различными во времени и пространстве первым и вторым углами входа;один или более детекторов рентгеновского излучения, способных формировать первый и второй сигналы, показывающие интенсивность первого и второго источников рентгеновского излучения, поступающего обратно из подземных формаций к одному или нескольким детекторам рентгеновского излучения; икожух, в котором размещены источник излучения и один или более детекторов рентгеновского излучения.
2. Устройство по п.1, в котором глубина исследования каждым детектором повышается с увеличением угла входа рентгеновского излучения в формацию.
3. Устройство по п.1, в котором источник излучения используется для ускорения электронов и для раздельного во времени соударения ускоренных электронов с первой и второй мишенями, расположенными на соответствующих пространственно разнесенных первом и втором местах, при этом первая и вторая мишени эффективны для образования первого и второго источников рентгеновского излучения.
4. Способ определения характеристик подземных формаций, окружающих ствол скважины, содержащий этапы, на которых:a) обеспечивают источник излучения, при этом источник излучения эффективен для образования разнесенных во времени и пространстве первого и другого второго источников рентгеновского излучения;b) облучают подземные формации первым и вторым источниками рентгеновского излучения под пространственно различными первым и вторым углами входа;c) детектируют первое и второе рентгеновские излучения, рассеиваемые из подземных формаций;d) генерируют первый и второй сигналы, показывающие интенсивность обнаруживаемых первого и второго источников рентгеновского излучения; ие) вычисляют плотность формации на основании первого и второго сигналов.
5. Способ по п.4, дополнительно содержащий этапы, на которых:a) обеспечивают первую мишень внутри источника излучения, при этом первая мишень эффективна для образования первого источника рентгеновского излучения;b) обеспечивают пространственно разнесенную другую вторую мишень внутри источника излучения, при этом вторая мишень эффективна для образования пространственно разнесенного другого второго источника рентгеновского излучения.
6. Устройство для определения характеристик подземных формаций в подземной среде, содержащее:источник излучения, эффективный для образования двух или более источников рентгеновского излучения, при этом каждый из двух или более образованных источников рентгеновского излучения предназначен для облучения подземных формаций в различные моменты времени и под различными углами входа; иодин или несколько детекторов рентгеновского излучения, способных формировать первый и второй сигналы, показывающие интенсивность первого и второго источников рентгеновского излучения из двух или большего количества источников рентгеновского излучения, поступающего обратно из подземных формаций к одному или нескольким детекторам рентгеновского излучения.
7. Устройство по п.6, в котором кожух конфигурирован и выполнен с возможностью размещения источника излучения и одного или нескольких детекторов рентгеновского излучения.
8. Устройство по п.6, в котором характеристика подземной формации, подлежащая определению, является плотностью формации.
9. Устройство по п.6, в котором глубина исследования каждым детектором повышается с увеличением угла входа рентгеновского излучения в формацию.
10. Устройство по п.6, в котором источник излучения используется для ускорения электронов и для раздельного во времени соударения ускоренных электронов с первой и второй мишенями, расположенными на соответствующих пространственно разнесенных первом и втором местах, при этом первая и вторая мишени эффективны для образования первого и второго источников рентгеновского излучения.
11. Способ определения характеристик подземных формаций, окружающих ствол скважины, содержащий этапы, на которых:а) спускают зонд в ствол нефтяной скважины, при этом указанный зонд содержит:источник энергии, эффективный для образования первого и пространственно разнесенного другого, второго рентгеновского излучения;один или несколько детекторов рентгеновского излучения икожух для размещения указанного источника энергии и указанных детекторов;b) облучают подземные формации указанным первым и указанным вторым рентгеновскими излучениями под пространственно различными первым и вторым углами входа;c) детектируют указанные первое и второе рентгеновские излучения, рассеиваемые из подземных формаций;d) генерируют первый и второй сигналы, показывающие интенсивность указанных обнаруживаемых первого и второго рентгеновских излучений;e) передают указанные первый и второй сигналы к наземному блоку обработки сигналов; иf) в указанном наземном блоке обработки сигналов вычисляют плотность формации на основании указанных первого и второго сигналов.
12. Способ по п.11, дополнительно содержащий этапы, на которых:a) обеспечивают первую мишень внутри источника энергии, при этом указанная первая мишень эффективна для образования первого рентгеновского излучения; иb) обеспечивают пространственно разнесенную другую, вторую мишень внутри источника энергии, при этом указанная вторая мишень эффективна для образования пространственно разнесенного другого, второго рентгеновского излучения.
13. Система для определения характеристик подземных формаций, окружающих ствол скважины, содержащая:зонд, выполненный с возможностью перемещения вдоль ствола скважины, при этом указанный зонд содержит:источник энергии, предназначенный для образования первого и пространственно разнесенного другого, второго рентгеновского излучения, при этом указанные первое и второе рентгеновские излучения облучают подземные формации под пространственно различными первым и вторым углами входа;один или несколько детекторов рентгеновского излучения, при этом указанные детекторы способны формировать первый и второй сигналы, показывающие интенсивность указанных первого и второго рентгеновских излучений, поступающих обратно из подземных формаций к указанным детекторам;кожух для размещения указанного источника энергии и указанных детекторов;наземный блок обработки сигналов для вычисления плотности подземной формации на основании указанных первого и второго сигналов; икаротажный кабель, соединенный с указанным зондом и указанным наземным блоком обработки сигналов, при этом указанный кабель эффективен для передачи указанных первого и второго сигналов из указанного зонда к указанному блоку обработки сигналов.
14. Система по п.13, в которой глубина исследования каждым указанным детектором повышается с увеличением угла входа рентгеновского излучения в формацию.
15. Система по п.13, в которой указанный источник энергии используется для ускорения электронов и для раздельного во времени соударения ускоренных электронов с первой и второй мишенями, расположенными в соответствующих пространственно разнесенных первом и втором местах, при этом указанные первая и вторая мишени эффективны для образования указанных первого и второго рентгеновских излучений.
 
                         
                            


