PatentDB.ru — поиск по патентным документам

Иллюстрации к патенту 2435177

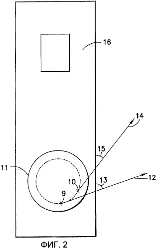
Информация о радиальной плотности с бетатронного зонда плотности

Информация о радиальной плотности с бетатронного зонда плотности (патент 2435177)