Узел соединения конструкционных элементов судна
Иллюстрации
Показать всеИзобретение относится к области судостроения, в частности к устройствам скрепления стыков соединяемых частей корпуса судна и/или его надстроек, выполненных из композитного материала. Узел соединения конструкционных элементов судна содержит закрепленные внутри него, вдоль стыкуемых кромок обшивки, угловые профили, средство изоляции стыка, средство стягивания кромок стыка. Стыкуемые части корпуса содержат обшивку, выполненную из композитного материала, оклеенную как минимум одним слоем стеклоткани. Угловые профили оклеены, по меньшей мере, одним слоем стеклоткани и состыкованы полками. Средство стягивания кромок стыка выполнено в виде болтов с гайками и шайбами, пропущенных через соосные отверстия, выполненные в стыкуемых полках угловых профилей. На поверхностях угловых профилей, обращенных вовнутрь судна, жестко закреплены выступы в виде полос, ориентированных параллельно друг другу и кромкам угловых профилей. Головки болтов и их гайки утоплены в накладках, зафиксированных на полках угловых профилей. Вдоль кромок угловых профилей, прилегающих к обшивке, размещены треугольные вкладыши. Стыковое соединение изнутри корпуса оклеено как минимум двумя слоями стеклоткани при их плотном прижиме к свободной поверхности уголков, их вкладышей и участку поверхности обшивки, примыкающему к уголкам. Со стороны внешней поверхности корпуса по стыку кромок обшивки сняты фаски, с образованием тупоугольного треугольного паза, который заполнен последовательно наклеенными друг на друга лентами из стеклоткани последовательно увеличивающейся ширины. Сверху на поверхность корпуса и заполнения паза последовательно наклеены как минимум два слоя стеклоткани. Технический результат заключается в повышении надежности соединения частей корпуса и повышении прочностных характеристик корпуса судна, выполненного из композитных материалов. 2 з.п. ф-лы, 2 ил.
Реферат
Изобретение относится к области судостроения, в частности к устройствам скрепления стыков соединяемых частей корпуса судна и/или его надстроек, выполненных из композитного материала.
Известен узел соединения частей корпуса судна, выполненных с возможностью транспортирования к месту сборки на удалении от судостроительного завода, для чего части корпуса снабжены фланцевыми соединениями, скрепленными с ними сваркой (см. RU №2378146, В63В 9/00, 2009).
Недостаток этого решения - оно легко реализуется для судов, корпусы которых выполнены из металла, тогда как для судов, выполненных их композитных материалов, особенно при отсутствии набора корпуса, например выклеенных из стеклоткани, надежная фиксация фланцев на обшивке сложна.
Известен также узел соединения частей корпуса судна, содержащий закрепленные внутри него вдоль стыкуемых кромок обшивки угловые профили, средство изоляции стыка, средство стягивания кромок стыка (см. SU №492420, кл. В63В 9/00, 1973).
Известный узел обеспечивает только временную фиксацию стыкуемых частей корпуса судна (фактически только обеспечивает герметизацию и удержание стыка при сборке судна на воде), а сама фиксация стыком осуществляется формированием сварных швов, по стыку листов обшивки посредством электросварки, в связи с этим, например, средство стягивания кромок стыка размещено снаружи обшивки, выполненной из металла. Таким образом, недостаток известного решения - невозможность надежного неразъемного скрепления частей судов, корпусы которых выполнены из композитных материалов.
Задача, на решение которой направлено заявляемое изобретение, выражается в обеспечении возможности надежного неразъемного скрепления частей судов, корпусы которых выполнены из композитных материалов.
Технический результат изобретения проявляется в обеспечении возможности надежного неразъемного скрепления частей судов, корпусы которых выполнены из композитных материалов. При этом узел соединения работает как элемент набора корпуса (ребро жесткости), повышающий прочностные характеристики корпуса, причем наружная поверхность обшивки корпуса остается гладкой. Наличие таких узлов соединения обеспечивает транспортирование узлов судна за пределы судостроительного завода к любым внутренним закрытым водоемам с использованием сухопутного транспорта и сборку судна на месте эксплуатации (при формировании частей корпуса, допускающих их перевозку соответствующим транспортом).
Для решения поставленной задачи узел соединения конструкционных элементов судна, содержащий закрепленные внутри него вдоль стыкуемых кромок обшивки угловые профили, средство изоляции стыка, средство стягивания кромок стыка, отличается тем, что стыкуемые части корпуса содержат обшивку, выполненную из композитного материала, оклеенную как минимум одним слоем стеклоткани, при этом угловые профили оклеены по меньшей мере одним слоем стеклоткани и состыкованы полками, причем средство стягивания кромок стыка выполнено в виде болтов с гайками и шайбами, пропущенными через соосные отверстия, выполненные в стыкуемых полках угловых профилей, кроме того, на поверхностях угловых профилей, обращенных вовнутрь судна, жестко закреплены выступы в виде полос, ориентированных параллельно друг другу и кромкам угловых профилей, при этом головки каждого болта и их гайки утоплены в накладках, зафиксированных на полках уголковых профилей, кроме того, вдоль кромок уголковых профилей, прилегающих к обшивке, размещены треугольные вкладыши, причем стыковое соединение изнутри корпуса оклеено как минимум двумя слоями стеклоткани при их плотном прижиме к свободной поверхности уголков, их вкладышей и участку поверхности обшивки, примыкающему к уголкам, кроме того, со стороны внешней поверхности корпуса по стыку кромок обшивки сняты фаски с образованием тупоугольного треугольного паза, который заполнен последовательно наклеенными друг на друга лентами из стеклоткани последовательно увеличивающейся ширины, а сверху на поверхность корпуса и заполнения паза последовательно наклеены как минимум два слоя стеклоткани. Кроме того, сечению выступов придана форма сегмента округа. Кроме того, перед затяжкой болтов стыкуемые поверхности уголковых профилей и болты смазаны твердеющими смолами, используемыми для закрепления стеклоткани.
Сравнение совокупности признаков заявленного решения с признаками аналогов и прототипа подтверждает его соответствие критерию "новизна".
При этом признаки отличительной части формулы изобретения решают следующие функциональные задачи.
Признаки «стыкуемые части корпуса содержат обшивку, выполненную из композитного материала» обеспечивают возможность использования изобретения при постройке неметаллических судов.
Признаки, указывающие, что листы обшивки и угловые профили «оклеены как минимум одним слоем стеклоткани», улучшают сцепление наклеиваемых материалов и деталей с корпусом судна и стеклотканью фиксирующего слоя.
Признак, указывающий, что угловые профили «состыкованы полками», обеспечивает возможность формирования фланцевого соединения, которое можно «стянуть» болтами, расположенными внутри корпуса судна, и исключает их мешающее воздействие последующей эксплуатации судна.
Признаки «средство стягивания кромок стыка выполнено в виде болтов с гайками и шайбами, пропущенными через соосные отверстия, выполненные в стыкуемых полках угловых профилей» обеспечивает надежное, при необходимости неразъемное скрепление частей корпуса судна, без использования сварочного оборудования.
Признаки «на поверхностях угловых профилей, обращенных вовнутрь судна, жестко закреплены выступы в виде полос, ориентированных параллельно друг другу и кромкам угловых профилей» увеличивают площадь склеивающей (сцепляющей) поверхности между металлом и листами стеклоткани, вернее, формируемым при ее использовании стеклопластиком, особенно при более чем двух фиксирующих слоях стеклоткани.
Признаки «головки каждого болта и их гайки утоплены в накладках, зафиксированных на полках уголковых профилей, кроме того, вдоль кромок уголковых профилей, прилегающих к обшивке, размещены треугольные вкладыши», «сглаживают» перед оклейкой поверхность, подлежащую оклейке (позволяют «убрать» выступы или впадины на участке оклейки стеклотканью, потому что стеклоткань достаточно жесткий материал, плохо «прорабатывающий» острые выступы или впадины).
Признаки «стыковое соединение изнутри корпуса оклеено как минимум двумя слоями стеклоткани при их плотном прижиме к свободной поверхности уголков, их вкладышей и участку поверхности обшивки, примыкающему к уголкам» обеспечивают «вмуровывание» фланцевого соединения в «тело» бортовой обшивки.
Признаки «со стороны внешней поверхности корпуса по стыку кромок обшивки сняты фаски с образованием тупоугольного треугольного паза» обеспечивают возможность формирования «стяжной накладки» по стыку, с внешней стороны корпуса, не выступающей за пределы наружной поверхности обшивки.
Признаки, указывающие, что тупоугольный треугольный паз «заполнен последовательно наклеенными друг на друга лентами из стеклоткани, последовательно увеличивающейся ширины», создают прочную «стяжную накладку» по стыку, с внешней стороны корпуса, не выступающую за наружную поверхность обшивки.
Признаки, указывающие, что сверху на поверхность корпуса и заполнения паза, последовательно наклеены как минимум два слоя стеклоткани», обеспечивают формирование внешнего фиксирующего слоя, который вместе с внутренним фиксирующим слоем обеспечивает «замуровывание» кромок стыка бортовой обшивки в глубине ее толщины.
Признаки второго пункта формулы изобретения обеспечивают плавность поверхности углового профиля и хорошую ее «проработку» наклеиваемой стеклотканью.
Признаки третьего пункта формулы изобретения обеспечивают повышение надежности скрепления соединяемых частей корпуса судна.
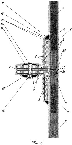
На фиг.1 показан поперечный разрез по узлу соединения; на фиг.2 показано разделение судна на части.
На чертежах показаны вышележащий 1 и нижележащий 2 участки обшивки, их стыкуемые кромки 3 и 4, угловые профили 5 и 6 с полками 7 и 8, первичные слои стеклоткани 9 и 10, соответственно, на обшивке и уголковых профилях, болт 11 с гайкой 12 и шайбами 13, соосные отверстия 14, выполненные в стыкуемых полках 7 угловых профилей 5 и 6, выступы 15, накладки 16 и 17, треугольные вкладыши 18, внутренние фиксирующие слои стеклоткани 19, паз 20, ленты 21 стеклоткани, внешние фиксирующие слои стеклоткани 22.
Угловые профили 5 и 6 выполнены из стали и закреплены своими полками 8 вдоль стыкуемых кромок 3 участков обшивки 1 и 2 и состыкованы полками 7. Первичные слои стеклоткани 9 и 10 на обшивке и уголковых профилях включают как минимум один слой стеклоткани. Болты 11 пропущены через соосные отверстия 14, выполненные в стыкуемых полках 7 угловых профилей 5 и 6. Каждый болт 11 снабжен гайкой 12 и шайбами 13, размещаемыми, соответственно, под головкой болта и гайкой, при этом длина болта минимизирована, так чтобы после затяжки болта он выступал из гайки не более чем на 2-3 мм. Выступы 15 имеют форму сегмента округа, выступающего над поверхностью уголковых профилей, обращенной в корпус судна, они жестко скреплены с уголковыми профилями, например, сваркой, их длина соответствует длине профилей. Накладки 16 и 17, а также треугольные вкладыши 18 сформированы из пенопласта заливкой и твердением клеящего состава (они нужны для того, чтобы не было выступов или впадин на участке оклейки стеклотканью - очень сложно оклеить острые углы, поэтому поверхности «сглаживают» перед оклейкой). Паз 20, образованный на внешней поверхности корпуса фасками, снятыми на стыке кромок обшивки, имеющий в сечении форму тупоугольного треугольника, заполнен последовательно наклеенными друг на друга лентами 21 из стеклоткани последовательно увеличивающейся ширины.
Внутренние фиксирующие слои стеклоткани 19 и внешние фиксирующие слои стеклоткани 22 выполнены по меньшей мере из двух слоев стеклоткани.
В качестве клеящего состава используют смолы (предпочтительно, эпоксидную или полиэфирную с эффективным количеством отвердителя). При необходимости используют смесь смолы с наполнителем (древесную или стеклянную пыль, волокно - стеклянное рубленое, стеклянное молотое, синтетическое и хлопчатобумажное и т.п.), при этом соотношения компонентов смеси варьируют в широких пределах, в зависимости от функционального назначения такой смеси.
Заявленный узел соединения формируют следующим образом.
Подготавливают угловые профили (закрепляют, например, сваркой), на них выступы 15, в полках 7 просверливают в них соосные отверстия 14 и оклеивают их вокруг стеклотканью - формируют первичные слои стеклоткани 10. Готовят вышележащий 1 и нижележащий 2 участки обшивки (снимают фаски, формируя стенки паза 20, и формируют первичные слои стеклоткани 9, при этом изнутри корпуса их формируют до непосредственно стыкуемых кромок 3, а снаружи - до начала стенки паза 6).
Далее угловые профили размещают на соответствующих участках обшивки, покрытых слоем клеящего состава, и обеспечивают их плотное поджатие до окончания твердения клеящего состава.
После стыковки угловых профилей с соответствующими участками обшивки, у концов (кромок полок 8) формируют треугольные вкладыши 18 (либо нанося соответствующий объем клеящего состава, загущенного наполнителем, либо приклеивая вкладыши треугольного сечения, выполненные из пенопласта, с катетом, соответствующим толщине полки 8). Далее стыкуют соединяемые участки обшивки сформированными фланцами (полками 7), при этом между полками 7 стыкуемых угловых профилей и стыкуемыми кромками 3 вышележащего 1 и нижележащего 2 участками обшивки прокладывают мокрый лист (ленту стеклоткани соответствующей ширины или стекломата, пропитанные смолой с отвердителем), затем, в соосные отверстия 14 вводят болты 11 с размещением под их головками шайб 12, после чего на выступающие концы болтов надевают шайбы 13 и накручивают гайки 12, обеспечивая плотное подтягивание фланцев друг к другу. Целесообразно перед установкой болтов макать их в смолу и тут же прикручивать. Далее известным образом формируют накладки 16 и 17, заглаживая поверхность фланцев на участках установки болтов, при этом используют технологии, аналогичные вышеописанным, применяемым при формировании треугольных вкладышей 18.
Затем подготовленный таким образом фланец (скрепленные друг с другом, сдвоенные угловые профили 5 и 6) оклеивают по внутренней стороне совместно с примыкающим участком обшивки, формируя внутренний фиксирующий слой 19 наклейкой по меньшей мере двух слоев стеклоткани. При этом стеклоткань в процессе наклейки плотно прижимают к соответствующей поверхности, полностью «прорабатывая» ее рельеф, т.е. стеклоткань плотно прилегает и к поверхности угловых профилей, и поверхности их выступов 15, и к поверхности накладок 16 и 17, и к поверхности треугольных вкладышей 18, и к участкам обшивки. Таким образом, формируется участок корпуса, включающий обшивку, с вформованным в нее жестким фланцевым соединением.
С наружной стороны обшивки паз 20 заполняют лентами 21 стеклоткани, которые последовательно наклеивают друг на друга до заполнения паза до уровня, соответствующего первичному слою стеклоткани 9 по внешней поверхности обшивки, затем, формируют внешний фиксирующий слой 22 наклейкой по меньшей мере двух слоев стеклоткани.
Вертикальный стык частей корпуса (вертикальное фланцевое соединение) формируют аналогичным образом, с единственным отличием, что стыкуемые кромки 3 будут ориентированы не горизонтально, а вертикально.
Таким образом, обеспечивается надежное неразъемное скрепление частей корпуса судна. Горизонтальное фланцевое соединение также играет роль довольно прочного (относительно пластикового) продольного набора, вертикальное фланцевое соединение образует собой мощный шпангоут, что легко сочетается с основным (пластиковым) продольным набором (стрингерами), высота которых должна быть несколько выше высоты фланца, чтобы охватывать его, включая в силовую работу.
Продольные выступы 15 обеспечивают увеличение склеивающей (сцепляющей) поверхности между металлом и листами стеклоткани, вернее, формируемым при ее использовании стеклопластиком.
1. Узел соединения конструкционных элементов судна, содержащий закрепленные внутри него, вдоль стыкуемых кромок обшивки, угловые профили, средство изоляции стыка, средство стягивания кромок стыка, отличающийся тем, что стыкуемые части корпуса содержат обшивку, выполненную из композитного материала, оклеенную, как минимум, одним слоем стеклоткани, при этом угловые профили оклеены, по меньшей мере, одним слоем стеклоткани и состыкованы полками, причем средство стягивания кромок стыка выполнено в виде болтов с гайками и шайбами, пропущенных через соосные отверстия, выполненные в стыкуемых полках угловых профилей, кроме того, на поверхностях угловых профилей, обращенных вовнутрь судна, жестко закреплены выступы в виде полос, ориентированных параллельно друг другу и кромкам угловых профилей, при этом головки каждого болта и их гайки утоплены в накладках, зафиксированных на полках угловых профилей, кроме того, вдоль кромок угловых профилей, прилегающих к обшивке, размещены треугольные вкладыши, причем стыковое соединение изнутри корпуса оклеено, как минимум, двумя слоями стеклоткани при их плотном прижиме к свободной поверхности уголков, их вкладышей и участку поверхности обшивки, примыкающему к уголкам, кроме того, со стороны внешней поверхности корпуса по стыку кромок обшивки сняты фаски с образованием тупоугольного треугольного паза, который заполнен последовательно наклеенными друг на друга лентами из стеклоткани, последовательно увеличивающейся ширины, а сверху на поверхность корпуса и заполнения паза последовательно наклеены, как минимум, два слоя стеклоткани.
2. Узел по п.1, отличающийся тем, что сечению выступов придана форма сегмента круга.
3. Узел по п.1, отличающийся тем, что перед затяжкой болтов стыкуемые поверхности угловых профилей и болты смазаны твердеющими смолами, используемыми для закрепления стеклоткани.

