PatentDB.ru — поиск по патентным документам

Иллюстрации к патенту 2470821

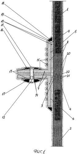
Узел соединения конструкционных элементов судна

Узел соединения конструкционных элементов судна (патент 2470821)