Компоновка со сбросом шара и способ ее использования в скважине
Иллюстрации
Показать всеГруппа изобретений относится к компоновкам скважинных систем со сбросом шара, способу приведения в действие скважинного инструмента и способу установки пакера. Обеспечивает уменьшение времени спуска посредством установки исходного положения шара относительно близко к инструменту установки. Способ приведения в действие скважинного инструмента содержит следующие стадии: спуск колонны с инструментом и объектом, перемещаемым потоком и удерживаемым в нужном положении в колонне на забое скважины; увеличение давления текучей среды снаружи колонны для высвобождения объекта; перемещение объекта в потоке и последующее размещение его на пути потока для блокировки движения текучей среды; приведение в действие инструмента в ответ на блокировку движения текучей среды. Способ установки пакера содержит следующие стадии: спуск пакера на забой скважины; использование модулятора потока бурильной колонны для передачи данных ориентации пакера на наземное оборудование; ориентация пакера в ответ на переданные данные; введение в центральный проход объекта для блокировки текучей среды; установка пакера в ответ на блокировку движения текучей среды. Скважинная система содержит объект, перемещаемый потоком, колонну, инструмент, приводимый в действие объектом, и удерживающее устройство. Удерживающее устройство размещено в корпусе колонны и содержит поршень. Наружная поверхность поршня контактирует с текучей средой снаружи корпуса. Удерживающее устройство приводится в действие давлением текучей среды для высвобождения объекта и блокировки потока текучей среды, что приводит в действие инструмент. Скважинная система, описанная ранее, которая кроме этого содержит модулятор потока, а также пакер и инструмент установки пакера. Скважинная система, описанная ранее, содержащая помимо перечисленного циркуляционный клапан. Удерживаемый объект данной системы высвобождается в ответ на закрытие циркуляционного клапана. 5 н. и 15 з.п. ф-лы, 13 ил.
Реферат
ПРЕДПОСЫЛКИ ИЗОБРЕТЕНИЯ
Настоящее изобретение, в общем, относится к компоновке со сбросом шара и способу ее использования в скважине.
Различные инструменты (клапаны, штуцеры, пакеры, стреляющие перфораторы, инжекторы, в качестве только нескольких примеров) обычно размещают на забое скважины во время эксплуатации для испытания, заканчивания и добычи текучей среды из скважины. Ряд различных спускоподъемных механизмов можно использовать для спуска конкретного инструмента в скважину. В качестве примеров, типичный спускоподъемный механизм может являться колонной гибкой насосно-компрессорной трубы, колонной составных насосно-компрессорных труб, каротажным кабелем, тросом и т.п.
После развертывания в скважине данным инструментом можно дистанционно управлять с поверхности для выполнения конкретных функций на забое скважины. Для данной цели различные управляющие воздействия можно передавать по проводам или с помощью беспроводной связи (импульсы давления, электрические сигналы, гидравлические сигналы и т.п.) на забой скважины с поверхности для управления инструментом.
Другим способом дистанционного управления скважинным инструментом является сброс шара с наземного оборудования скважины в колонну насосно-компрессорной трубы, находящуюся в составе инструмента. Более конкретно, шар можно сбрасывать в центральный проход колонны с наземного оборудования скважины. Шар проходит через колонну и затем размещается в седле колонны для блокировки движения текучих сред через центральный проход колонны. В результате блокировки движения текучих сред в колонне насосно-компрессорной трубы может создаваться избыточное давление для приведения в действие инструмента. Описанный выше традиционный подход установки шара в колонне для приведения в действие инструмента колонны предполагает, в общем, отсутствие препятствий в центральном проходе, которые могут мешать проходу шара от наземного оборудования скважины до седла, в котором размещается шар.
СУЩНОСТЬ ИЗОБРЕТЕНИЯ
В варианте осуществления изобретения способ, применяющийся в скважине, включает в себя спуск колонны, включающей в себя инструмент и объект, перемещаемый потоком и закрепленный в удерживающем положении в колонне на забое скважины. После спуска колонны на забой скважины объект высвобождается, обеспечивая его перемещение по пути потока и размещение на пути потока в колонне для блокировки движения текучих сред так, что инструмент может быть приведен в действие в результате указанной блокировки.
В другом варианте осуществления изобретения способ, применяющийся в скважине, включает в себя спуск пакера на бурильной колонне на забой скважины и использование модулятора потока бурильной колонны для передачи данных ориентации пакера на наземное оборудование скважины. Пакер ориентируют в ответ на переданные данные ориентации, и ниже к забою от модулятора потока вводят объект, перемещаемый потоком, в центральный проход колонны для блокировки движения текучих сред через колонну. В ответ на блокировку движения текучих сред устанавливается пакер.
В другом варианте осуществления изобретения скважинная система содержит объект, перемещаемый потоком, колонну и удерживающее устройство. Колонна включает в себя путь потока и инструмент для приведения в действие объекта. Удерживающее устройство размещено в колонне и выполнено с возможностью удержания объекта во время спуска колонны в скважину и приведения объекта в действие для высвобождения объекта в путь потока для приведения в действие инструмента.
Преимущества и другие признаки изобретения должны стать ясными из следующего описания, чертежей и формулы изобретения.
КРАТКОЕ ОПИСАНИЕ ЧЕРТЕЖЕЙ
На фиг.1, 2, 3, 4 и 5 схематично показаны различные фазы скважинных работ, связанных со спуском, ориентацией и установкой якорного забойного пакера в одном рейсе согласно варианту осуществления изобретения.
На фиг.6A и 6B показаны блок-схемы последовательности операций способа, включающего спуск, ориентации и установку якорного забойного пакера согласно варианту осуществления изобретения.
На фиг.7 показана блок-схема последовательности операций способа, включающего использование шара для приведения в действие скважинного инструмента, когда в колонне, содержащей инструмент, существует препятствие проходу шара, согласно варианту осуществления изобретения.
На фиг.8 показан вид сечения сбрасывающего шар переводника перед высвобождением шара из переводника согласно варианту осуществления изобретения.
На фиг.9 показан вид сечения сбрасывающего шар переводника при высвобождении шара согласно варианту осуществления изобретения.
На фиг.10 показан изометрический вид поршня сбрасывающего шар переводника согласно варианту осуществления изобретения.
На фиг.11 схематично показана компоновка низа бурильной колонны согласно другому варианту осуществления изобретения.
На фиг.12 схематично показан сбрасывающий шар переводник компоновки низа бурильной колонны фиг.11 согласно варианту осуществления изобретения.
На фиг.13 показан вид частичного сечения по линии 13-13 на фиг.12 согласно варианту осуществления изобретения.
ПОДРОБНОЕ ОПИСАНИЕ ИЗОБРЕТЕНИЯ
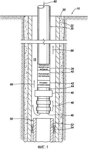
Показанная на фиг.1 бурильная колонна 30 (бурильная колонна из звеньев или гибкой насосно-компрессорной трубы, в качестве не ограничивающих примеров) может развертываться в стволе 20 скважины 10 для спуска, ориентации и установки якорного забойного пакера 44 за один рейс на забой скважины. При этом бурильная колонна 30 могла уже ранее использоваться для создания ствола 20 скважины, и буровое долото бурильной колонны 30 снято. Бурильная колонна 30 включает в себя компоновку низа бурильной колонны, содержащую компоновку 34 измерений во время бурения, компоновку сброса шара или переводник 40, инструмент 42 установки пакера и пакер 44. Компоновку 34 измерений во время бурения используют, как описано дополнительно ниже, для передачи данных ориентации пакера (данных, указывающих азимут пакера 44, например) на наземное оборудование скважины. Таким образом, после спуска пакера 44 на забой на глубину установки бурильную колонну 30 можно вращать до передачи сигнала компоновки 34 измерений во время бурения, указывающего, что пакер 44 имеет надлежащую ориентацию. Когда это происходит, инструмент 42 установки пакера бурильной колонны 30 дистанционно приводится в действие (как описано более подробно в данном документе), что обуславливает установку инструментом 42 пакера 44, то есть обуславливает выдвижение клиньев или упоров пакера 44 и радиальное расширение одного или нескольких кольцевых уплотняющих элементов 46 (один уплотняющий элемент 46 показан на фиг.1) пакера 44.
Хотя компоновка 34 измерений во время бурения применяется для передачи информации, относящейся к ориентации пакера 44, к устью скважины и на наземное оборудование, компоновка 34 вводит препятствие в канал потока для объекта, перемещаемого потоком (такого как шар, например), который может иначе перемещаться от устьевого оборудования скважины через колонну 30 для приведения в действие инструмента установки пакера 44. Другими словами, в обычных бурильных колоннах присутствие компоновки 34 измерений во время бурения препятствует использованию перемещаемых потоком объектов, таких как шары, для приведения в действие устройств, находящихся ближе к забою, чем компоновка 34, таких как инструмент 42 установки пакера. Вместе с тем, в отличие от обычных бурильных колонн, бурильная колонна 30 включает в себя сбрасывающий шар переводник 4 0, расположенный ниже компоновки 34 измерений во время бурения и, таким образом, ближе к забою, чем препятствие, создаваемое компоновкой 34.
Как описано в данном документе, сбрасывающий шар переводник 40 приводится в действие, например, давлением в кольцевом пространстве (то есть давлением, созданном в кольцевом пространстве 15, окружающем колонну 30), и когда он приведен в действие, переводник 4 0 выдвигает шар в центральный проход колонны 30. Выдвинутый шар проходит к забою скважины в колонне 30 до размещения в седле клапана бурильной колонны 30 (седле клапана, являющегося частью инструмента 42 установки пакера, например). Шар блокирует движение текучих сред через центральный проход колонны 30 ниже седла. Поскольку инструмент 42 установки пакера приводится в действие давлением, создаваемым в насосно-компрессорной трубе, текучую среду можно подводить в бурильную колонну 30 из наземного оборудования скважины для создания избыточного давления в колонне 30 для приведения в действие инструмента 42.
На фиг.1 показан только пример одной из многих возможных колонн, которые могут содержать сбрасывающий шар переводник, согласно многим различным предполагаемым вариантам осуществления изобретения. Хотя на фиг.1 показан ствол 20 скважины с обсадной колонной 22, системы и способы, описанные в данном документе, можно также использовать применительно к необсаженным стволам скважин.
Для конкретного примера, показанного на фиг.1, подвеска 50 хвостовика размещена как нижняя часть оборудования заканчивания в стволе 20 скважины и механически и с уплотнением (посредством уплотнения 54) соединена с внутренней поверхностью обсадной колонны 22. В общем, подвеска 50 хвостовика включает в себя гнездо 52 хвостовика для стыковки с надставкой хвостовика, сконструированное с возможностью заведения в его муфту нижнего конца 49 бурильной колонны 30 так, что кольцевые уплотнения 48 бурильной колонны 30 образуют уплотнение между гнездом 52 и внешней поверхностью бурильной колонны 30.
На фиг.6A и 6B показан способ 100 спуска, ориентации и установки пакера 44 согласно некоторым вариантам осуществления изобретения и на фиг.1-5 показаны различные фазы операций спуска, ориентации и установки в скважине 10. Как показано на фиг.6A совместно с фиг.1, способ 100 включает в себя спуск на стадии 102 нижнего оборудования заканчивания в скважину 10. При этом нижнее оборудование заканчивания может включать в себя подвеску 50 хвостовика, которая, в свою очередь, имеет гнездо 52 хвостовика для стыковки с надставкой хвостовика. Подвеска 50 хвостовика может быть опрессована сзади перед спуском в скважину бурильной колонны 30 с пакером 44, согласно некоторым вариантам осуществления изобретения. После спуска нижнего оборудования заканчивания в скважину 10 в нее спускают бурильную колонну 30 на стадии 104.
Способ 100 включает стадию 106 спуска бурильной колонны 30 в скважину так, что над глубиной установки текучая среда перемещается через основной путь потока или центральный проход бурильной колонны 30 для приема сигнала ориентации от компоновки 34 измерений во время бурения на наземном оборудовании скважины 10. С использованием сигнала ориентации, передаваемого компоновкой измерений во время бурения, осуществляют манипуляции с бурильной колонной 30 (вращение, например) наземным оборудованием скважины 10, согласно блоку 110, пока не определят на стадии 108, что пакер 44 имеет назначенную ориентацию.
Для конкретного примера, показанного на фиг.1, до установки пакера 44 на глубину установки, когда пакер находится вблизи данной глубины, бурильную колонну 30 вывешивают так, что нижний конец 4 9 колонны 30 находится над гнездом 52 хвостовика. В данном положении бурильную колонну 30 вращают до получения надлежащей ориентации пакера 44 (например, азимута). Для ориентации пакера 4 4 вводят поток 60 текучей среды на наземном оборудовании скважины 10 в центральный проход бурильной колонны 30. Компоновка 34 измерений во время бурения модулирует потек 60 для ввода в поток кодированной информации по ориентации пакера 44. Для этого компоновка 34 измерений во время бурения включает в себя модулятор потока для ввода данных ориентации в поток и датчик ориентации, такой как гироскоп, для определения ориентации. Создаваемый в результате модулированный поток 66 возвращается через кольцевое пространство 15 на наземное оборудование скважины 10.
Более конкретно, согласно стадии 106, когда бурильная колонна 30 находится выше глубины установки пакера 44, текучая среда проходит через центральный проход бурильной колонны 30, так что сигнал ориентации принимается от компоновки 34 измерений во время бурения на наземном оборудовании скважины. На стадии 108 определяется, имеет ли пакер 44 надлежащую ориентацию, и если нет, осуществляют манипуляции с бурильной колонной на стадии 110 для корректировки ориентации пакера 44. Когда пакер 4 4 сориентирован, поток 60 останавливают, и конец бурильной колонны 30 заводят в гнездо 52 на стадии 112 (фиг.6B) способа 100.
На фиг.6B совместно с фиг.2 показано, что после ввода бурильной колонны 30 в гнездо 52 хвостовика кольцевые уплотнения 4 8 бурильной колонны 30 уплотняются между внешней поверхностью бурильной колонны 30 и внутренней поверхностью обсадной колонны 22. Таким образом, в данной точке кольцевое пространство 15 над подвеской 50 хвостовика изолировано от области скважины ниже подвески 50. Затем проводят мероприятия по установке пакера 44.
Более конкретно, согласно вариантам осуществления изобретения, в кольцевом пространстве 15 скважины создают избыточное давление на стадии 114 до некоторого порога давления (указано «Pi» на фиг.2), приводящее в действие механизм сбрасывающего шар переводника 4 0, то есть обуславливающее сброс шара, удерживаемого сбрасывающим шар переводником 40 в центральный проход бурильной колонны 30. После приведения в действие механизма сбрасывающего шар переводника 40 давление в кольцевом пространстве 15 стравливают на стадии 116.
На фиг.6B совместно с фиг.З показано, что после стравливания давления в кольцевом пространстве 15 вводят поток 70 текучей среды на наземном оборудовании скважины 10 для прокачки сброшенного шара через центральный проход бурильной колонны 30 для спуска шара от сбрасывающего шар переводника 40 к седлу шара (не показано), размещенному в бурильной колонне 30 вблизи инструмента 4 2 установки пакера или инструменте. Таким образом, текучую среду прокачивают через центральный проход бурильной колонны 30 для установки шара в седло колонны 3 0 на стадии 122. Данное размещающее шар гнездо может представлять инструмент 42 установки пакера, согласно некоторым вариантам осуществления изобретения.
На фиг.3 показана бурильная колонна 30 с концом, заведенным в гнездо 52 хвостовика во время прокачки потока 70 в колонну 30, результатом чего является выход потока 72 из нижнего конца 4 9 колонны 30. Поток 70 можно подавать с относительно низким расходом. Вместе с тем, в зависимости от конкретной конфигурации скважины шар можно устанавливать в седло подъемом колонны 30 к устью скважины для расстыковки уплотнений 48 с гнездом 52 хвостовика, так что поток 70 подается, когда бурильная колонна 30 остается немного выше подвески 50 хвостовика. Вне зависимости, вместе с тем, от того, подается поток 70, когда бурильная колонна 30 заведена в гнездо 52 хвостовика или поднята из него, бурильную колонну 30 возвращают в гнездо 52 хвостовика или оставляют в нем во время следующей фазы, показанной на фиг.4.
На фиг.6B совместно с фиг.4 показано, что после установки шара в седло в центральном проходе бурильной колонны 30 создают поток 8 0 текучей среды от наземного оборудования скважины для создания избыточного давления текучей среды в бурильной колонне 30 выше некоторого порога давления (обозначен «Р2» на фиг.4) на стадии 124. Создание избыточного давления в насосно-компрессорной трубе приводит в действие инструмент 42 установки пакера, обуславливая установку пакера 44 инструментом 42 установки. Как может быть ясно специалисту в данной области техники, установка пакера 44 обуславливает радиальное расширение клиньев, упоров пакера 44 и прижим к внутренней поверхности обсадной колонны 22 (предполагая ствол 2 0 скважины обсаженным) и обуславливает радиальное расширение уплотняющего элемента (элементов) 46.
На фиг.6В совместно с фиг.5 показано, что после установки пакера 44 инструмент 42 установки пакера срабатывает, высвобождая защелку, прикрепляющую пакер 44 к инструменту 42 установки для высвобождения пакера 44 из инструмента 4 2 установки на стадии 126. Как более конкретный пример, согласно некоторым вариантами осуществления изобретения, заданное механическое перемещение бурильной колонны 30 может обуславливать высвобождение инструментом 42 установки пакера 44.
Альтернативно, инструмент 42 установки пакера может высвобождать пакер 42 в ответ на некоторый управляющий сигнал по проводному и/или беспроводному каналу, переданному на забой скважины с наземного оборудования скважины 10, в качестве не ограничивающего примера. После высвобождения пакера 44 из инструмента 42 установки пакера инструмент 42 установки и остающуюся часть бурильной колонны выше инструмента 42 установки поднимают из скважины 10 на стадии 128, при этом оставляя пакер 44 и подвеску 50 хвостовика в скважине 10, как показано на фиг.5.
Пакер 44 является примером одного из многих возможных инструментов, которые можно спускать на забой скважины, ориентировать и приводить в действие, согласно вариантам осуществления изобретения. Например, согласно другим вариантам осуществления изобретения, пакер 44 можно заменить ориентируемым стреляющим перфоратором, скважинным отклонителем и т.п. Кроме того, способы и системы, описанные в данном документе, одинаково применимы для преодоления препятствий, отличающихся от создаваемых модулятором потока. В качестве другого примера бурильная колонна 30 может включать в себя секцию с уменьшенным внутренним диаметром, который достаточно мал для создания препятствия проходу шара через секцию. Таким образом, предложены многие изменения в объеме прилагаемой формулы изобретения.
Как показано фиг.7, способ 150 можно использовать для объекта, перемещаемого потоком, такого как шар, для приведения в действие скважинного инструмента для сценария, в котором колонна, спускающая инструмент на забой скважины, имеет препятствия на пути потока, которые иначе ограничивают перемещение шара на забой скважины. Согласно способу 150, инструмент спускают на забой скважины на колонне, содержащей препятствия на пути потока на стадии 154. Шар высвобождают на стадии 158 в путь потока из сбрасывающего шар переводника, размещенного ниже к забою от препятствия. Поток перемещает шар на стадии 162, обуславливая фиксирование шара в седле в пути потока колонны, и в пути потока создают избыточное давление для приведения в действие инструмента на стадии 166.
На фиг.8 показано сечение сбрасывающего шар переводника 40, согласно некоторым вариантам осуществления изобретения, перед высвобождением шара 260, удерживаемого переводником 40, в центральный проход колонны 30. Сбрасывающий шар переводник 40 включает в себя продольный внецентренный путь 210 потока (то есть внецентренный относительно центрального прохода колонны 30), образующий часть центрального прохода бурильной колонны 3. Внецентренный путь 210 потока проходит между проемами 200 и 204, размещенными на концах пути 210 потока, соосными с центральным проходом колонны 30.
Внецентренный путь 210 потока обеспечивает внецентренное позиционирование шара 260 перед его высвобождением в центральный проход бурильной колонны 30. Более конкретно, шар 260 размещен в боковом кармане 220, созданном трубной головкой 224, размещенной в радиальном проеме 205 в корпусе 227 переводника 40. Радиальный проем 205 проходит между кольцевым пространством скважины и внеценгренным путем 210 потока. Поршень 230 размещен в боковом кармане 220, и до приведения в действие сбрасывающего шар переводника 40 поршень 230 удерживает шар 260 (как показано на фиг.8) для предотвращения его высвобождения во внецентренный путь 210 потока.
Поршень 230 закреплен в положении удержания шара срезаемым штифтом 250, скрепляющим поршень 230 с трубной головкой 224, скрепленной с корпусом 227. Поршень 230 содержит изогнутые пальцы 234 (один палец 234 показан на фиг.8), проходящие частично вокруг шара 260 для удержания шара 260, когда поршень 230 размещен в кармане 220, как показано на фиг.8.
Трубная головка 224 (которая может иметь испытательный штуцер 225), в общем, защищает поршень 230 от окружающей среды в стволе скважины. Вместе с тем, трубная головка 224 обеспечивает перемещение текучей среды между кольцевым пространством и поршнем 230 так, что с приложением достаточной силы, создаваемой текучей средой в кольцевом пространстве 15, срезаемый штифт 250 срезается, давая возможность перемещения поршня 230 и его пальцев 234 во внецентренный путь 210 потока, как показано на фиг.9, для сброса шара 260.
Как показано на фиг.9, когда поршень 230 перемещается так, что его пальцы 234 проходят в путь 210 потока, шар 260 больше не удерживается в кармане 220, а становится свободным для перемещения вниз по внецентренному пути 210 потока. Для поддержания правильной ориентации поршня 230 (то есть обеспечения отсутствия вращения поршня 230, чтобы пальцы 234 не размещались ниже шара 260, например), сбрасывающий шар переводник 40 включает в себя штифт 270, скрепленный с трубной головкой 224 и проходящий в соответствующий радиальный паз (не показано на фиг.8 и 9) поршня 230. Устройство штифта 270 и паза дает возможность линейного перемещения, но препятствует вращению поршня 230 относительно трубной головки 224.
Как показано на фиг.10, движение текучей среды через внеценгренный путь 210 потока поддерживается и после перемещения пальцев 234 во внецентренный путь 210 потока. Более конкретно, как показано на фиг.10, пальцы 234 разделены пространством 290, обеспечивающим циркуляцию текучей среды в бурильной колонне 30 с проходом через пальцы 234 и выталкиванием шара 260 из пальцев 234. Дополнительно к этому пальцы 234 имеют криволинейную выемку 2 94 для дополнительного улучшения текучей среды мимо пальцев 234, когда пальцы 234 выступают в путь 210 потока.
Другие варианты осуществления находятся в объеме прилагаемой формулы изобретения. Например, согласно другим вариантам осуществления изобретения, компоновку 30 низа бурильной колонны можно заменить компоновкой 300 низа бурильной колонны, как показано на фиг.11. В общем, компоновка 300 низа бурильной колонны включает в себя компоновку 34 измерений во время бурения, инструмент 42 установки пакера, пакер 44 и уплотнения 48. Вместе с тем, в отличие от компоновки низа бурильной колонны, описанной выше, компоновка 300 низа бурильной колонны включает в себя циркуляционный клапан 310 и сбрасывающий шар переводник 320 (размещен ниже компоновки 34 измерений во время бурения и циркуляционного клапана 310), сконструированный с возможностью центрального удерживания шара 260 в центральном проходе 301 бурильной колонны. Как описано ниже, сбрасывающий шар переводник 320 сконструирован с возможностью высвобождения шара 260 с реагированием на давление внутри центрального прохода 301, а не с реагированием на давление в кольцевом пространстве.
Как показано на фиг.12 и 13, сбрасывающий шар переводник 320 включает в себя верхнюю кольцевую разрезную шпонку 340 и нижнюю кольцевую разрезную шпонку 342, которые, для состояния переводника 320 с удержанием шара, размещены выше и ниже шара 260, соответственно, для удержания шара 260 в пространстве 350 между кольцевыми разрезными шпонками 340 и 342. Пространство 350 центрально расположено в секции 330 дросселирования потока, в общем, охватывающей кольцевые разрезные шпонки 34 0 и 342 для ограничения потока мимо шара 260, когда шар 260 удерживается в пространстве 350, и содержит дроссельные отверстия 360, расположенные по периметру вокруг пространства 350.
Как также показано на фиг.11, бурильную колонну (имеющую в составе компоновку 300 низа бурильной колонны) первоначально спускают на забой скважины с открытым циркуляционным клапаном 310. Другими словами, в данном состоянии циркуляционный клапан 310 направляет поток текучей среды в центральный проход (начинающийся от компоновки 34 измерений во время бурения) через ее радиальные циркуляционные отверстия в кольцевое пространство скважины, по которому поток возвращается к наземному оборудованию скважины. Таким образом, во время ориентации пакера 44 часть потока, модулированная компоновкой 34 измерений во время бурения, направляется через радиальные циркуляционные отверстия циркуляционного клапана 310 в кольцевое пространство, и данный поток возвращается на наземное оборудование скважины.
Другая часть потока проходит через дроссельные отверстия 360. Вследствие сужения, создаваемого дроссельными отверстиями 360, данное давление существует выше удерживаемого шара 260, обуславливая действие на шар 260 направленной вниз силы давления. Вместе с тем давление удерживается ниже давления, которое может вызвать проход шара 260 через нижнюю кольцевую разрезную шпонку 342, вследствие создания пути прохождения текучей среды, обеспеченного открытым циркуляционным клапаном 310.
Когда нижний конец бурильной колонны заведен в гнезде 52 хвостовика, и пакер 44 находится в положении установки, циркуляционный клапан 310 закрыт.Таким способом в качестве не ограничивающего примера, можно осуществлять нужное манипулирование бурильной колонной, или управляющие сигналы можно передавать на забой скважины с помощью проводной или беспроводной связи для отсечения циркуляционным клапаном 310 потока через его радиальные отверстия гидравлического сообщения. Вследствие суженного пути потока давление внутри центрального прохода 301 над шаром 260 увеличивается, что создает достаточную направленную вниз силу для продавливания шара 260 через нижнюю кольцевую разрезную шпонку 342. Таким образом, закрытие циркуляционного клапана 310 обуславливает высвобождение шара 260 в поток и его спуск вниз через центральный проход в седло клапана, связанное с инструментом 42 установки пакера.
Шар или другой объект, перемещаемый потоком, может удерживаться в различных положениях относительно пути потока колонны. Более конкретно, в зависимости от конкретного варианта осуществления изобретения шар или другой объект может удерживаться полностью внутри пути потока бурильной колонны, частично внутри пути потока или полностью за пределами потока. Дополнительно к этому, согласно некоторым вариантам осуществления изобретения, системы и способы, описанные в данном документе, можно применять к колоннам, не содержащим препятствий для шара или другого объекта, перемещаемого потоком. Например, шар может удерживаться на забое скважины в колонне для минимизации времени, необходимого для приведения в действие скважинного инструмента. Таким способом с уменьшением времени спуска посредством установки исходного положения шара относительно близко к инструменту установки (то есть исключения времени, потребного в ином случае для прокачивания шара с поверхности скважины) может обеспечить существенную экономию расходов, принимая во внимание относительно высокую стоимость эксплуатации буровой установки.
В качестве других примеров дополнительных вариантов осуществления изобретения можно использовать универсальный переводник для ориентирования ствола скважины и гироскоп вместо компоновки 34 измерений во время бурения. Универсальный переводник для ориентирования ствола скважины может иметь внутренний диаметр, достаточный для обеспечения прохода шара или объекта, перемещаемого потоком через него, в отличие от компоновки 34 измерений во время бурения. Поэтому захватывающий шар переводник может быть размещен, например, над универсальным переводником для ориентирования ствола скважины.
В дополнительных примерах системы и способы, описанные в данном документе, можно использовать с компоновкой низа бурильной колонны, не содержащей гнезда 52 хвостовика, для стыковки с надставкой хвостовика. Например, нижняя зона может быть закупорена, и бурильную колонну 30 можно также спускать закупоренной, и, таким образом, может не возникать необходимость стыковки с надставкой.
Хотя настоящее изобретение описано для ограниченного числа вариантов осуществления, специалистам в данной области техники, воспользовавшимся описанием, должны быть очевидны многочисленные его модификации и изменения. Прилагаемая формула изобретения направлена на охват всех таких модификаций и изменений, по сущности и объему относящихся к данному изобретению.
1. Способ приведения в действие скважинного инструмента, содержащий следующие стадии:спуск колонны, содержащей инструмент и объект, перемещаемый потоком и закрепленный в удерживаемом положении в колонне на забое скважины; после спуска колонны на забой скважины увеличение давления текучей среды снаружи колонны для высвобождения указанного объекта, перемещения объекта в потоке и последующего размещения объекта на пути потока в колонне для блокировки движения текучей среды; и приведение в действие инструмента в ответ на блокировку движения текучей среды.
2. Способ по п.1, в котором колонна содержит препятствие на пути потока с размером, обеспечивающим предотвращение прохода объекта мимо препятствия при его расположении на пути потока, и который дополнительно содержит удержание объекта ниже препятствия до высвобождения объекта.
3. Способ по п.2, в котором колонна является бурильной колонной, и препятствие образует модулятор потока бурильной колонны.
4. Способ по п.2, в котором препятствие образовано путем потока модулятора потока, и который дополнительно содержит прием сигнала на наземном оборудовании скважины, создаваемого модулятором потока и указывающего ориентацию инструмента.
5. Способ по п.1, дополнительно содержащий манипулирование колонной для ориентации инструмента перед приведением в действие инструмента.
6. Способ по п.5, в котором инструмент содержит ориентируемый пакер или ориентируемый стреляющий перфоратор.
7. Способ по п.1, в котором приведение в действие инструмента содержит создание избыточного давления текучей среды в колонне.
8. Способ по п.1, дополнительно содержащий размещение объекта в углублении поршня, расположенного в кармане корпуса колонны, и закрепление поршня в положении удержания объекта в колонне.
9. Способ по п.8, в котором высвобождение объекта содержит приведение в действие поршня для размещения объекта на пути потока.
10. Способ по п.9, в котором приведение в действие поршня содержит создание давления на внешней поверхности поршня посредством текучей среды под давлением снаружи корпуса.
11. Способ установки пакера, содержащий следующие стадии:спуск пакера на бурильной колонне на забой скважины;использование модулятора потока бурильной колонны для передачи данных ориентации пакера на наземное оборудование скважины;ориентация пакера в ответ на переданные данные ориентации;введение по направлению к забою от модулятора потока объекта, перемещаемого потоком, в центральный проход колонны для блокировки движения текучих сред через колонну таким образом, что создается давление текучей среды в центральном проходе;установка пакера в ответ на блокировку движения текучих сред.
12. Способ по п.11, дополнительно содержащий ввод колонны в гнездо хвостовика для стыковки с надставкой хвостовика, при этом введение объекта в центральный проход содержит создание избыточного давления в кольцевом пространстве, окружающем колонну, при введении колонны в гнездо.
13. Способ по п.11, в котором введение объекта в центральный проход содержит закрытие циркуляционного клапана выше по потоку от объекта для увеличения давления на объект.
14. Способ по п.11, дополнительно содержащий циркуляцию текучей среды через центральный проход для подачи объекта в седло колонны.
15. Скважинная система, содержащая объект, перемещаемый потоком, колонну, содержащую путь потока, инструмент, приводимый в действие объектом, и удерживающее устройство, размещенное в корпусе колонны и содержащее поршень, наружная поверхность которого контактирует с текучей средой снаружи корпуса, при этом удерживающее устройство предназначено для удержания объекта во время спуска колонны в скважину и способно приводиться в действие давлением текучей среды, действующим на наружную поверхность поршня, для высвобождения объекта в путь потока для блокировки потока текучей среды в пути потока и создания давления текучей среды в нем для приведения в действие инструмента.
16. Система по п.15, в которой удерживающее устройство размещено ниже препятствия в пути потока, имеющего размер, обеспечивающий предотвращение прохода объекта мимо препятствия.
17. Система по п.15, в которой объект способен размещаться в узкой части пути потока после высвобождения и которая дополнительно содержит инструмент установки, способный реагировать на создание давления в пути потока при размещении объекта на пути потока для приведения в действие другого инструмента.
18. Система по п.15, в которой инструмент содержит пакер, скважинный отклонитель или стреляющий перфоратор.
19. Скважинная система, содержащая бурильную колонну, имеющую модулятор потока, пакер, инструмент установки пакера и удерживающее устройство, размещенное в колонне по направлению к забою от модулятора потока и предназначенное для избирательного удержания объекта, перемещаемого потоком, снаружи центрального прохода колонны и высвобождения объекта в центральный проход на основе превышения порога давления в кольцевом пространстве снаружи удерживающего устройства, при этом объект после высвобождения в центральный проход способен размещаться в гнезде центрального прохода для блокировки потока текучей среды и создания давления в нем, и инструмент установки пакера способен приводиться в действие давлением текучей среды для установки пакера.
20. Скважинная система, содержащая бурильную колонну, имеющую модулятор потока, пакер, инструмент установки пакера, циркуляционный клапан, приспособленный к открытию и закрытию, и удерживающее устройство, размещенное в колонне по направлению к забою от модулятора потока и приспособленное для избирательного удерживания объекта и высвобождения объекта в центральный проход колонны в ответ на закрытие циркуляционного клапана, при этом объект после высвобождения в центральный канал способен размещаться в седле в центральном канале для блокировки потока текучей среды и создания давления в ней, и инструмент установки пакера способен приводиться в действие давлением текучей среды для установки пакера.
 
                         
                            


