PatentDB.ru — поиск по патентным документам

Иллюстрации к патенту 2491410

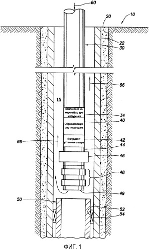
Компоновка со сбросом шара и способ ее использования в скважине

Компоновка со сбросом шара и способ ее использования в скважине (патент 2491410)