Устройство управления направлением воздушного потока вправо-влево и блок аппарата кондиционирования воздуха, предназначенный для установки в помещениях, содержащий его
Иллюстрации
Показать всеЗаявленное устройство относится к средствам управления направлением воздушного потока вправо-влево. При этом оно включает в себя дефлекторы отклонения потока вправо-влево и соединительные тяги. Каждый дефлектор отклонения потока вправо-влево включает в себя базовую часть, задающую плоскость, перпендикулярную центральной оси вращения вращательного вала, плоскую часть и соединительный выступ, выступающий из базовой части. Каждая соединительная тяга включает в себя тело тяги, соединительные отверстия, выступающие части тела тяги, размещаемые на одном боковом крае тела тяги так, что они соответствуют соединительным отверстиям, соответственно, и выпуклые контактные части, размещаемые вдоль краев выступающих частей тела тяги, соответственно, причем выпуклые контактные части выше тела тяги. При продувке воздуха по направлению вперед части около соединительных отверстий соединительной тяги удерживаются посредством соответствующих соединительных выступов, предотвращая отделение от соединительных выступов, и вершины выпуклых контактных частей и частей около другого бокового края находятся в контакте с соответствующими базовыми частями, так что соединительная тяга подвергается деформации при изгибе, что позволяет подавлять вибрации дефлекторов при направлении потока вправо-влево. 2 н. и 4 з.п. ф-лы, 15 ил.
Реферат
Область техники, к которой относится изобретение
[0001]
Настоящее изобретение относится к устройствам управления направлением воздушного потока вправо-влево и блокам аппарата кондиционирования воздуха, предназначенным для установки в помещениях, предоставляемым в них, и, в частности, относится к устройству управления направлением воздушного потока вправо-влево, предоставляемому для блока аппарата кондиционирования воздуха, предназначенного для установки в помещениях, и к блоку аппарата кондиционирования воздуха, предназначенному для установки в помещениях, содержащему устройство управления направлением воздушного потока вправо-влево.
Уровень техники
[0002]
Согласно примеру предшествующего уровня техники, устройство управления направлением воздушного потока вправо-влево, предоставляемое для блока аппарата кондиционирования воздуха, предназначенного для установки в помещениях, включает в себя множество дефлекторов отклонения потока вправо-влево, размещаемых с возможностью вращения на элементе (в дальнейшем в этом документе, называемом "элементом отверстия для выпуска воздуха"), который предоставляет отверстие для выпуска воздуха, соединительная тяга (соответствующая соединительному элементу), который обеспечивает вращение дефлекторов отклонения потока вправо-влево, и средство приведения в действие, которое перемещает соединительную тягу. Дефлекторы отклонения потока вправо-влево включают в себя плоскую часть, вращательный вал, который выступает из плоской части и служит в качестве центра вращения, и соединительный вал, который выступает из плоской части так, что соединительный вал размещается на предварительно определенном расстоянии от вращательного вала. Соединительная тяга имеет соединительные отверстия, в которых размещаются с возможностью вращения соединительные валы. Хотя соединительные валы размещаются в соответствующих соединительных отверстиях, следовательно, соединительная тяга выступает в качестве рычажного механизма. Смещение соединительной тяги в продольном направлении обеспечивает вращение дефлекторов отклонения потока вправо-влево.
Соединительная тяга включает в себя пары стопоров (соответствующих выступающим частям), размещаемых через регулярные интервалы. Каждая плоская часть частично размещается между соответствующей парой стопоров. Соответственно, каждый дефлектор отклонения потока вправо-влево вращается (и соединительная тяга перемещается) в таком диапазоне, что плоская часть не контактирует со стопорами, и дефлектор отклонения потока вправо-влево является вращающимся (а соединительная тяга является подвижной) до тех пор, пока плоская часть не войдет в контакт с каким-либо из стопоров, тем самым определяя максимальный диапазон вращения (максимальный диапазон перемещения) (см., например, патентный документ 1).
Список библиографических ссылок
Патентные документы
[0003]
Патентный документ 1. Публикация не прошедшей экспертизу заявки на патент (Япония) № 8-313043 (стр. 2-3, фиг. 2)
Сущность изобретения
Техническая задача
[0004]
В предшествующем уровне техники, раскрытом в патентном документе 1, в то время как плоские части ориентируются в направлении (вправо или влево), которое отличается от направления к передней стороне отверстия для выпуска воздуха, положительное давление действует на одну поверхность каждой плоской части, а отрицательное давление действует на ее другую поверхность, так что плоская часть прижимается в предварительно определенном направлении. В то время, как плоские части ориентируются к передней стороне (в направлении, отличающемся от направления вправо или влево) (в дальнейшем в этом документе, это состояние упоминается как "продувка воздуха по направлению вперед"), практически идентичные воздушные потоки формируются на обеих поверхностях каждой плоской части. Невыгодно, флуктуации (турбулентность) воздушных потоков могут вызывать вибрации плоской части, тем самым вызывая дребезжание. Другими словами, давления, действующие на поверхности плоской части, не выравниваются посредством влияния флуктуаций объема или скорости продуваемого воздуха.
[0005]
Настоящее изобретение осуществлено, чтобы преодолевать вышеописанный недостаток, и предоставляет устройство управления направлением воздушного потока вправо-влево, допускающее подавление вибраций дефлекторов отклонения потока вправо-влево, вызываемых при продувке воздуха по направлению вперед, и блок аппарата кондиционирования воздуха, предназначенный для установки в помещениях, содержащий устройство управления направлением воздушного потока вправо-влево.
Решение задачи
[0006]
Аспект настоящего изобретения предоставляет устройство управления направлением воздушного потока вправо-влево, размещенное в воздушном тракте блока аппарата кондиционирования воздуха, предназначенного для установки в помещениях, причем устройство включает в себя множество дефлекторов отклонения потока вправо-влево, размещаемых с возможностью вращения на элементе воздушного тракта, предоставляющем воздушный тракт, соединительная тяга, соединенная с дефлекторами отклонения потока вправо-влево, чтобы предоставлять рычажный механизм, причем соединительная тяга допускает перемещение, и средство приведения в действие, размещенное в блоке, предназначенном для установки в помещениях, перемещающее соединительную тягу.
Каждый дефлектор отклонения потока вправо-влево включает в себя вращательный вал, базовую часть, которая интегрируется с вращательным валом и задает плоскость, перпендикулярную центру вращения вращательного вала, плоскую часть, которая интегрируется с базовой частью и включает в себя центр вращения вращательного вала, и соединительный выступ, который выступает из базовой части и является параллельным вращательному валу.
Соединительная тяга включает в себя тело тяги, содержащее средство зацепления для соединения со средством приведения в действие на одном конце тела тяги в продольном направлении соединительной тяги, соединительные отверстия, размещаемые в теле тяги так, что соединительные выступы дефлекторов отклонения потока вправо-влево выступают через соединительные отверстия при недопущении отсоединения от отверстий, выступающие части тела тяги, которые размещаются на одном боковом крае соединительной тяги так, что они соответствуют соединительным отверстиям в продольном направлении, соответственно, и выступают наружу из бокового края, и выпуклые контактные части, размещаемые вдоль краев выступающих частей тела тяги, соответственно, причем выпуклые контактные части выше тела тяги.
В состоянии продувки воздуха по направлению вперед, в котором угол, который образует направление прохождения плоской части каждого дефлектора отклонения потока вправо-влево с продольным направлением соединительной тяги, является приблизительно прямым углом, вершина каждой выпуклой контактной части соединительной тяги находится в контакте с точкой ближе к центру вращения, чем соединительный выступ, выступающий из базовой части, а другой боковой край соединительной тяги находится в контакте с точкой в базовой части, удаленной от центра вращения, так что действует трение между дефлектором отклонения потока вправо-влево и соединительной тягой в контактных точках.
Преимущества изобретения
[0007]
В устройстве управления направлением воздушного потока вправо-влево согласно этому аспекту настоящего изобретения, только в то время как угол, который образует направление удлинения плоской части каждого дефлектора отклонения потока вправо-влево с продольным направлением соединительной тяги, является приблизительно прямым углом, т.е. только при "продувке воздуха вперед", выпуклая контактная часть соединительной тяги находится в контакте с базовой частью дефлектора отклонения потока вправо-влево и другой боковой край (в котором не размещается выпуклая контактная часть) соединительной тяги находится в контакте с базовой частью дефлектора отклонения потока вправо-влево. Поскольку соединительная тяга удерживается между контактными точками при недопущении отсоединения от базовой части посредством соединительного выступа, соединительная тяга подвергается "трехточечному изгибу" в плоскости, перпендикулярной продольному направлению.
Следовательно, сила реакции, сформированная посредством такой деформации при изгибе, действует на контактные точки, тем самым вызывая трение, которое дает возможность практически неразъемного соединения дефлектора отклонения потока вправо-влево (или его удержания) с соединительной тягой. Соответственно, если сила действует на дефлектор отклонения потока вправо-влево так, что дефлектор вибрирует, может подавляться возникновение вибраций дефлектора отклонения потока вправо-влево. Блок аппарата кондиционирования воздуха, предназначенный для установки в помещениях, содержащий устройство управления направлением воздушного потока вправо-влево согласно этому аспекту настоящего изобретения, может, следовательно, достигать бесшумной работы.
[0008]
Кроме того, каждая выпуклая контактная часть находится в контакте с соответствующей базовой частью только в то время, когда воздух продувается в направлении близко к направлению продувки воздуха по направлению вперед. При продувке воздуха по направлению вправо или продувке воздуха по направлению влево, т.е. в то время когда дефлектор отклонения потока вправо-влево принимает силу из продуваемого воздуха, так что дефлектор отклонения потока вправо-влево дополнительно вращается, выпуклая контактная часть не находится в контакте с базовой частью, так что трение исключается. Таким образом, дефлектор отклонения потока вправо-влево может легко вращаться. Преимущественно, мощность приводного электромотора, включенного в средство приведения в действие, перемещающее соединительную тягу, может быть уменьшена.
В этом подробном описании, термин "предварительно определенное значение аппроксимируется в прямой угол" означает не конкретное значение, а диапазон, в котором направление (в дальнейшем в этом документе, "направление продувки воздуха"), в котором продувается кондиционированный воздух, фактически является "направлением вперед".
Что касается взаимосвязи между дефлекторами отклонения потока вправо-влево и соединительной тягой, составляющим рычажный механизм, например, пусть "L" обозначает расстояние между центром вращения каждого дефлектора отклонения потока вправо-влево и позицией, в которой дефлектор отклонения потока вправо-влево соединяется с соединительной тягой. Термин "перемещение" означает то, что когда соединительная тяга передвигается в продольном направлении (например, в "направлении по оси Y") на "Δy", соединительная тяга передвигается в направлении (например, в "направлении по оси X"), перпендикулярном продольному направлению соединительной тяги, на "Δx=√(L2-Δy2)".
Краткое описание чертежей
[0009]
Фиг. 1 является видом в перспективе устройства управления направлением воздушного потока вправо-влево согласно варианту 1 осуществления настоящего изобретения.
Фиг. 2 является частично укрупненным видом в перспективе устройства управления направлением воздушного потока вправо-влево по фиг. 1.
Фиг. 3 включает в себя вид сбоку в вертикальном сечении компонента (дефлектора отклонения потока вправо-влево) устройства управления направлением воздушного потока вправо-влево по фиг. 1 и его вид сверху.
Фиг. 4 является видом в перспективе другого компонента (соединительной тяги) устройства управления направлением воздушного потока вправо-влево по фиг. 1.
Фиг. 5 включает в себя частично укрупненный вид в перспективе компонента (соединительной тяги) устройства управления направлением воздушного потока вправо-влево по фиг. 1, его вид спереди, его вид сверху и его вид в сечении при просмотре сбоку.
Фиг. 6 включает в себя виды спереди устройства управления направлением воздушного потока вправо-влево по фиг. 1, причем фиг. 6 поясняет действия устройства.
Фиг. 7 включает в себя виды сверху устройства управления направлением воздушного потока вправо-влево по фиг. 1, причем фиг. 7 поясняет действия устройства.
Фиг. 8 включает в себя виды сбоку в частичном вертикальном сечении устройства управления направлением воздушного потока вправо-влево по фиг. 1, причем фиг. 8 поясняет действия устройства.
Фиг. 9 включает в себя виды в перспективе в частичном сечении компонентов (соединительных тяг) согласно модификациям устройства управления направлением воздушного потока вправо-влево по фиг. 1.
Фиг. 10 поясняет устройство управления направлением воздушного потока вправо-влево согласно варианту 2 осуществления настоящего изобретения, при этом (a) является видом в сечении конструкции устройства при просмотре сбоку, (b) является ее частично укрупненным видом в сечении при просмотре сбоку.
Фиг. 11 является видом в перспективе компонента (второй соединительной тяги) устройства управления направлением воздушного потока вправо-влево по фиг. 10.
Фиг. 12 включает в себя виды сверху компонентов (первого дефлектора и второго дефлектора) устройства управления направлением воздушного потока вправо-влево по фиг. 10, причем фиг. 12 поясняет состояние вращения компонентов.
Фиг. 13 является видом спереди блока аппарата кондиционирования воздуха, предназначенного для установки в помещениях, согласно варианту 3 осуществления настоящего изобретения.
Фиг. 14 является видом в сечении блока, предназначенного для установки в помещениях, по фиг. 13 при просмотре сбоку.
Фиг. 15 является видом в перспективе части (включающей в себя и окружающей отверстие для выпуска воздуха) блока, предназначенного для установки в помещениях, по фиг. 13.
Подробное описание вариантов осуществления
[0010]
Вариант 1 осуществления: устройство управления направлением воздушного потока вправо-влево
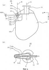
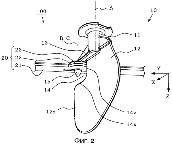
Фиг. 1-5 поясняют устройство управления направлением воздушного потока вправо-влево согласно варианту 1 осуществления настоящего изобретения. Фиг. 1 является видом в перспективе конструкции устройства. Фиг. 2 является частично укрупненным видом в перспективе устройства. Фиг. 3(a) является видом сбоку в вертикальном сечении компонента (дефлектора отклонения потока вправо-влево). Фиг. 3(b) является видом сверху компонента (дефлектора отклонения потока вправо-влево). Фиг. 4 является видом в перспективе другого компонента (соединительной тяги). Фиг. 5(a) является частично укрупненным видом в перспективе компонента (соединительной тяги). Фиг. 5(b) является частично укрупненным видом спереди компонента (соединительной тяги). Фиг. 5(c) является частично укрупненным видом сверху компонента (соединительной тяги). Фиг. 5(d) является частично укрупненным видом в сечении компонента (соединительной тяги) при просмотре сбоку. Следует отметить, что чертежи проиллюстрированы схематично, и настоящее изобретение не ограничено проиллюстрированным вариантом осуществления.
[0011]
Ссылаясь на фиг. 1, устройство 100 управления направлением воздушного потока вправо-влево включает в себя дефлекторы 10 отклонения потока вправо-влево (включающие в себя плоские части 12n, 12m,..., 12j и вращательные валы 11n, 11m,..., 11j, которые проиллюстрированы), соединительные тяги 20 (включающие в себя соединительную тягу 20b, которая проиллюстрирована), соединенные с дефлекторами 10 отклонения потока вправо-влево, чтобы предоставлять рычажный механизм, и средство 30 приведения в действие, которое перемещает соединительные тяги 20.
Для удобства пояснения, направления по оси "X, Y и Z" задаются относительно позиции каждого компонента, расположенного в блоке 300, предназначенном для установки в помещениях, который описывается в варианте 3 осуществления, и общее описание приводится с пропуском нижних индексов "n, m,..." и нижних индексов "a, b" (см. фиг. 13-15).
[0012]
Средство приведения в действие
Средство 30 приведения в действие включает в себя приводной электромотор 31, первую шарнирную тягу 32, крепящуюся к вращательному валу приводного электромотора 31, и вторую шарнирную тягу 33, имеющую один конец, соединенный с возможностью поворота с первой шарнирной тягой 32, при этом другой конец тяги 33 соединяется с возможностью поворота с соединительной тягой 20b. Соответственно, средство 30 приведения в действие сконфигурировано так, что вращение приводного электромотора 31 на предварительно определенный угол перемещает соединительную тягу 20b (или передвигает тягу в направлениях по оси Y и X) на предварительно определенное расстояние.
[0013]
Дефлектор отклонения потока вправо-влево
Ссылаясь на фиг. 2 и 3, каждый дефлектор 10 отклонения потока вправо-влево включает в себя вращательный вал 11, базовую часть 13, которая задает плоскость, перпендикулярную осевой линии (или центру A вращения, который упоминается как "центр A вращения" в дальнейшем) вращательного вала 11, и плоскую часть 12, которая выступает из базовой части 13 и задает плоскость, включающую в себя центр A вращения (который размещается между двумя поверхностями плоской части 12).
Плоская часть 12 имеет выемку 14, которая протягивается от одного бокового края 12z (на нижестоящей стороне в направлении по оси X) к центру A вращения. Другими словами, выемка 14 имеет вертикальный край 14z выемки, который является, в общем, параллельным центру A вращения, и горизонтальный край 14x выемки, который является, в общем, параллельным базовой части 13 и является, в общем, перпендикулярным центру A вращения.
[0014]
Базовая часть 13 включает в себя базовую торцевую поверхность 13z, размещенную рядом с ее концом (в направлении по оси +X), и базовую центральную поверхность 13x, размещенную рядом с центром A вращения (в направлении по оси -X). Базовая торцевая поверхность 13z немного выступает вниз (в направлении по оси Z) от базовой центральной поверхности 13x (так, что формируется уступ). Базовая торцевая поверхность 13z может не включаться в конструкцию, так что базовая часть 13 имеет плоскую (или без уступов) нижнюю поверхность.
Кроме того, соединительный выступ 15 выступает из базовой торцевой поверхности 13z базовой части 13 к горизонтальному краю 14x выемки так, что соединительный выступ 15 размещается на предварительно определенном расстоянии от центра A вращения. Соединительный выступ 15 включает в себя цилиндрическую соединительную часть 15x, включающую в себя центр B соединительного выступа (в дальнейшем в этом документе, "центр B соединительного выступа"), параллельный центру A вращения, и пулевидную коническую соединительную часть 15z, выступающую из цилиндрической соединительной части 15x. Наружный диаметр нижней поверхности конической соединительной части 15z превышает наружный диаметр цилиндрической соединительной части 15x.
Высота (длина в направлении по оси Z) цилиндрической соединительной части 15x, т.е. расстояние между базовой торцевой поверхностью 13z и нижней поверхностью конической соединительной части 15z, называется "высотой H15 соединительного выступа". Кроме того, дефлектор 10 отклонения потока вправо-влево формуется в виде одной детали из синтетической смолы. Настоящее изобретение не ограничивает материал этого компонента и способ формирования компонента. Части могут формироваться из различных материалов и объединяться.
[0015]
Соединительная тяга
Ссылаясь на фиг. 1 и 4, соединительная тяга 20b включает в себя тело 21 тяги пластинчатой формы, имеющее предварительно определенную ширину (длину в направлении по оси X) по всей длине и включающее в себя части с увеличенной шириной, размещаемые через регулярные интервалы, так что каждая часть имеет увеличенную ширину (или выступает наружу). Средство 28 зацепления для соединения со средством 30 приведения в действие располагается на одном конце тела 21 тяги, а средство 29 зацепления для соединения с соединительной тягой 20a располагается на другом его конце. Каждая соединительная тяга 20 имеет соединительные отверстия 25, через которые выступают соединительные выступы 15 дефлекторов 10 отклонения потока вправо-влево, так что отверстия размещаются через регулярные интервалы в продольном направлении (соответствующем направлению по оси Y) соединительной тяги 20.
Кроме того, соединительная тяга 20a (см. фиг. 15) не имеет средства 28 зацепления, поскольку тяга не соединяется со средством 30 приведения в действие. За исключением этого пропуска, соединительная тяга 20a имеет конструкцию, идентичную конструкции соединительной тяги 20b. В дальнейшем в этом документе, общее описание приводится с пропуском нижних индексов "a, b", а компоненты упоминаются как "соединительные тяги 20".
[0016]
Ссылаясь на фиг. 5, внутренний диаметр каждого соединительного отверстия 25 немного превышает наружный диаметр цилиндрической соединительной части 15x соединительного выступа 15 и меньше наружного диаметра нижней поверхности его конической соединительной части 15z. Соответственно, тогда как соединительный выступ 15 (или цилиндрическая соединительная часть 15x) выступает через соединительное отверстие 25, нижняя поверхность конической соединительной части 15z зацепляется с частью (соответствующей нижней поверхности 21b тела тяги), окружающей соединительное отверстие 25. Следовательно, соединительный выступ 15 не отсоединяется от соединительного отверстия 25. Другими словами, дефлекторы 10 отклонения потока вправо-влево не отсоединяются от соединительных тяг 20.
Дефлекторы 10 отклонения потока вправо-влево имеют идентичное расстояние между центром A вращения и центром B соединительного выступа. Дефлекторы 10 отклонения потока вправо-влево размещаются через регулярные интервалы. Соединительные отверстия 25 размещаются через регулярные интервалы в каждой соединительной тяге 20. Каждый интервал между дефлекторами 10 отклонения потока вправо-влево равен интервалу между соединительными отверстиями 25. Соответственно, дефлекторы 10 отклонения потока вправо-влево и соединительные тяги 20 составляют рычажный механизм.
Например, пусть "L" обозначает расстояние между центром A вращения и центром B соединительного выступа. При условии, что каждая соединительная тяга 20 передвигается в продольном направлении (направлении по оси Y) на "Δy", соединительная тяга 20 передвигается в направлении (направлении по оси X), перпендикулярном продольному направлению, на "Δx=√(L2-Δy2)".
Кроме того, разрезы 26 размещаются с обеих сторон каждого соединительного отверстия 25 в продольном направлении соединительной тяги 20 так, что они предоставляют возможность вхождения (соответствующего вставке) соединительного выступа 15 в соединительное отверстие 25. Следует отметить, что длина (размер в направлении по оси Y) каждого разреза 26 и его ширина (длина в направлении по оси X) не ограничены. В случае если придумано некоторое приспособление, чтобы давать возможность соединительному выступу 15 легко входить в соединительное отверстие 25, разрезы 26 могут исключаться из конструкции.
[0017]
Кроме того, выступающие части 22 тела тяги, каждая из которых идет (выступает) к вышестоящей стороне (в направлении по оси -X) так, что она имеет, в общем, дугообразную конструкцию, размещаются через регулярные интервалы на боковом крае (в дальнейшем в этом документе, называемом "боковым краем тела тяги") 21d тела 21 тяги на вышестоящей стороне (в направлении по оси -X). Другими словами, каждая выступающая часть 22 тела тяги имеет дугообразный край, идущий между начальными выступающими точками E1 и E2 на боковом краю тела 21d тяги, и максимально выступающая точка E3 выровнена с соединительным отверстием 25 в направлении, перпендикулярном продольному направлению (направлению по оси Y) соединительной тяги 20.
Кроме того, высота (длина в направлении по оси -Z) каждой выступающей части 22 тела тяги от края постепенно увеличивается (идет) от начальной выступающей точки E1 к максимально выступающей точке E3. Аналогично, ее высота постепенно увеличивается (идет) от начальной увеличивающейся точки E2 к максимально расширенной точке E3. Наивысшая (выступающая) часть в максимально выступающей точке E3 служит в качестве выпуклой контактной части 23.
[0018]
Другими словами, поверхность (в дальнейшем в этом документе, называемая "верхней поверхностью тела тяги") 21c, обращенная в "направлении по оси -Z" тела 21 тяги, имеет выпуклые контактные части 23 в выступающих частях 22 тела тяги. В данном документе, высота (соответствующая расстоянию в направлении по оси Z) между верхней поверхностью 21c тела тяги и поверхностью (в дальнейшем в этом документе, называемой "нижней поверхностью тела тяги") 21b, обращенной в ее "направлении по оси +Z", упоминается как "высота H21 тела тяги", а высота (соответствующая расстоянию в направлении по оси Z) между нижней поверхностью 21b тела тяги и вершиной выпуклой контактной части 23, упоминается как "высота H23 зацепляющего выступа".
Следует отметить, что взаимосвязь между высотой H15 соединительного выступа дефлектора 10 отклонения потока вправо-влево и высотой H21 тела тяги, и высотой H23 зацепляющего выступа соединительной тяги 20 выражается как " H21<H15<H23".
[0019]
В данном документе, центр каждого соединительного отверстия 25 упоминается как "центр C соединительного отверстия", а вершина (размещенная на самом верхнем уровне) каждой выпуклой контактной части 23 упоминается как "центр D контакта". Линия (в дальнейшем в этом документе, называемая "осевой контактной линией L20 соединительной тяги"), соединяющая центр C соединительного отверстия и центр D контакта, является перпендикулярной продольному направлению (направлению по оси Y) тела 21 тяги и является параллельной направлению по оси X.
Выпуклая контактная часть 23 является холмообразной, так что ее высота постепенно увеличивается, а ее вершина является "точкой". Настоящее изобретение не ограничено этой формой. Вершина может иметь предварительно определенную площадь (предварительно определенную длину вдоль дуги). В этом случае, "центр D контакта" находится в центре предварительно определенной области.
Кроме того, соединительная тяга 20 формуется в виде одной детали из синтетической смолы, служащей в качестве упругого материала (который может изгибаться и деформироваться). Настоящее изобретение не ограничивает материал этого компонента и способ формирования компонента. Части могут формироваться из различных материалов и объединяться.
[0020]
Действие: продувка воздуха по направлению вперед
Фиг. 6-8 поясняют действие устройства управления направлением воздушного потока вправо-влево согласно варианту 1 осуществления настоящего изобретения. Фиг. 6 включает в себя виды спереди части устройства управления направлением воздушного потока вправо-влево, фиг. 7 включает в себя ее виды сверху, и фиг. 8 включает в себя ее виды сбоку в частичном вертикальном сечении. На каждом чертеже, (a) иллюстрирует состояние продувки воздуха по направлению вперед, а (b) иллюстрирует состояние продувки воздуха по направлению вправо.
На фиг. 6(a), дефлектор 10 отклонения потока вправо-влево в состоянии "продувки воздуха по направлению вперед" виден в направлении изнутри воздушного тракта 6 к отверстию 7 для выпуска воздуха (т.е. в направлении по оси +X). Соответственно, плоская часть 12 видна на переднем плане, и соединительный выступ 15 частично виден позади плоской части 12. В этом состоянии плоская часть 12 является параллельной "плоскости X-Z" и визуально распознается как тонкая пластина. Коническая соединительная часть 15z частично визуально распознается, в то время как центр B соединительного выступа соединительного выступа 15 скрыт посредством плоской части 12.
[0021]
На фиг. 7(a), дефлектор 10 отклонения потока вправо-влево в состоянии "продувки воздуха по направлению вперед" виден в направлении изнутри воздушного тракта 6 к нижней поверхности 8b дренажного поддона 8 (т.е. в направлении по оси -Z). Соответственно, плоская часть 12 (проиллюстрирована в сечении) визуально распознается на переднем плане, соединительная тяга 20 визуально распознается как размещенная между плоской частью 12 и базовой центральной поверхностью 13x, и базовая центральная поверхность 13x визуально распознается как находящаяся позади плоской части 12. В этом состоянии, поскольку соединительная тяга 20 размещается в выемке 14 дефлектора 10 отклонения потока вправо-влево, базовая торцевая поверхность 13z скрыта посредством выступающей части 22 тела тяги.
Для удобства пояснения, центр D контакта на поверхности (поверхности, обращенной в направлении по оси +Z, которая может упоминаться как "верхняя поверхность"), которая визуально не распознается, выступающей части 22 тела тяги указывается посредством "сплошного круга". Следовательно, очевидно, что центр B соединительного выступа дефлектора 10 отклонения потока вправо-влево совпадает с центром C соединительного отверстия соединительной тяги 20, и линия (в дальнейшем в этом документе, называемая "осевой линией L10 дефлектора отклонения потока вправо-влево", которая не иллюстрируется), соединяющая центр A вращения и центр B соединительного выступа дефлектора 10 отклонения потока вправо-влево, и осевая контактная линия L20 соединительной тяги (линия, соединяющая центр C соединительного отверстия и центр D контакта соединительной тяги 20) размещаются в идентичной "плоскости X-Z".
[0022]
Фиг. 8(a) является укрупненным видом в частичном разрезе дефлектора 10 отклонения потока вправо-влево в состоянии "продувки воздуха по направлению вперед" как видно в направлении по оси Y. Соответственно, базовая часть 13 проиллюстрирована как идущая горизонтально, а центр B соединительного выступа проиллюстрирован как идущий вертикально (в направлении сверху вниз). Поскольку осевая линия L10 дефлектора отклонения потока вправо-влево и осевая контактная линия L20 соединительной тяги размещаются в идентичной плоскости, центр D контакта, служащий в качестве вершины выпуклой контактной части 23 соединительной тяги 20, находится в контакте с базовой центральной поверхностью 13x дефлектора 10 отклонения потока вправо-влево.
В этом состоянии соединительная тяга 20 (тело 21 тяги) поддерживается посредством конической соединительной части 15z при недопущении отсоединения от дефлектора 10 отклонения потока вправо-влево. Взаимосвязь между высотой H15 соединительного выступа дефлектора 10 отклонения потока вправо-влево и высотой H21 тела тяги, и высотой H23 зацепляющего выступа соединительной тяги 20 выражается как "H21<H15<H23".
[0023]
Следовательно, контактная точка G, в которой нижняя поверхность 21b тела тяги контактирует с нижней поверхностью конической соединительной части 15z соединительного выступа 15, выступает в качестве точки опоры, контактная точка H, в которой другой боковой край 21a (конкретно, точка около бокового края 21a) верхней поверхности 21c тела тяги контактирует с базовой торцевой поверхностью 13z, выступает в качестве точки усилия (или точки нагрузки), и контактная точка F, в которой центр D контакта (вершина выпуклой контактной части 23) контактирует с базовой центральной поверхностью 13x выступает в качестве точки нагрузки (или точки усилия), так что тело 21 тяги подвергается трехточечному изгибу в позиции, соответствующей выступающей части 22 тела тяги (или часть, соответствующая выступающей части 22 тела тяги, изгибается и деформируется в "плоскости X-Z").
В частности, поскольку тело 21 тяги подвергается деформации при изгибе в позиции, соответствующей выступающей части 22 тела тяги в "плоскости X-Z", дефлектор 10 отклонения потока вправо-влево, и соединительная тяга 20 практически интегрируются посредством трения, вызываемого посредством силы, необходимой для такой деформации при изгибе (или сил, прижимающих друг к другу). Таким образом, может подавляться возникновение вибраций дефлектора 10 отклонения потока вправо-влево, которые зачастую возникают при продувке воздуха по направлению вперед. Преимущественно, блок 300, предназначенный для установки в помещениях, содержащий устройство 100 управления направлением воздушного потока вправо-влево, достигает бесшумной работы.
[0024]
Действие: продувка воздуха по направлению вправо
Фиг. 6(b) иллюстрирует состояние "продувки воздуха по направлению вправо", в котором соединительная тяга 20 на фиг. 6(a) перемещена влево (или передвинута в направлении по оси Y) на чертеже. Соответственно, плоская часть 12, видимая на переднем плане, визуально распознается как имеющая ширину. Хотя соединительный выступ 15, видимый на заднем плане, не скрыт посредством плоской части 12, коническая соединительная часть 15z соединительного выступа 15 визуально распознается. Следует отметить, что состояние "продувки воздуха по направлению влево" и состояние "продувки воздуха по направлению вправо" являются симметричными относительно плоскости и демонстрируют идентичное действие. Соответственно, пояснение состояния "продувки воздуха по направлению влево" опускается.
[0025]
Фиг. 7(b) иллюстрирует состояние "продувки воздуха по направлению вправо", в котором соединительная тяга 20 на фиг. 7(a) перемещена влево (или передвинута в направлении по оси Y) на чертеже. В этом состоянии осевая контактная линия L20 соединительной тяги (линия, соединяющая центр C соединительного отверстия и центр D контакта) соединительной тяги 20 размещается в "плоскости X-Z", и осевая линия L10 дефлектора отклонения потока вправо-влево (линия, соединяющая центр A вращения и центр B соединительного выступа) дефлектора 10 отклонения потока вправо-влево находится под предварительно определенным углом с "плоскостью X-Z".
Другими словами, центр D контакта (вершина выпуклой контактной части 23) размещается на большом расстоянии от базовой центральной поверхности 13x.
[0026]
Фиг. 8(b) иллюстрирует состояние "продувки воздуха по направлению вправо", в котором осевая контактная линия L20 соединительной тяги и осевая линия L10 дефлектора отклонения потока вправо-влево образуют предварительно определенный угол (θ) между собой, и центр D контакта (вершина выпуклой контактной части 23) размещается на большом расстоянии от базовой центральной поверхности 13x. Поскольку тело 21 тяги поддерживается посредством конической соединительной части 15z, так что не допускается его отсоединение от нее, следовательно, тело 21 тяги не подвергается деформации при изгибе, в отличие от продувки воздуха по направлению вперед, в позиции, соответствующей выступающей части 22 тела тяги.
[0027]
Фиг. 8(b) иллюстрирует состояние, в котором любая точка в выпуклой контактной части 23 (или любая точка между начальными выступающими точками E1 и E2) не находятся в контакте с базовой центральной поверхностью 13x. Соответственно, тело 21 тяги не подвергается деформации при изгибе. В частности, дефлектор 10 отклонения потока вправо-влево и соединительная тяга 20 просто соединяются посредством зацепления между соединительным выступом 15 и соединительным отверстием 25, так что трение не действует между дефлектором 10 отклонения потока вправо-влево и соединительной тягой 20.
Если вибрации дефлектора 10 отклонения потока вправо-влево возникают при продувке воздуха по направлению вправо, следовательно, вибрации не будут подавляться посредством соединительной тяги 20, но продуваемый воздух должен вызывать положительное давление, действующее на одну поверхность плоской части 12, и отрицательное давление, действующее на ее другую поверхность, при продувке воздуха по направлению вправо, так что сила, обеспечивающая вращение в одном направлении (для дополнительной продувки воздуха по направлению вправо), действует на плоскую часть 12. Следовательно, не будут возникать вибрации, аналогичные вибрациям при продувке воздуха по направлению вперед.
[0028]
Преимущественно, вибрации не будут возникать при продувке воздуха по направлению вправо даже в условиях, в которых трение не действует между дефлектором 10 отклонения потока вправо-влево и соединительной тягой 20 (то же применимо к продувке воздуха по направлению влево).
Когда направление продувки воздуха изменяется с направления продувки воздуха по направлению вправо на направление продувки воздуха по направлению вперед, продуваемый воздух заставляет силу, обеспечивающую вращение в одном направлении (для дополнительной продувки во



