МИЦУБИСИ ЭЛЕКТРИК КОРПОРЕЙШН (JP)
МИЦУБИСИ ЭЛЕКТРИК КОРПОРЕЙШН (JP) является правообладателем следующих патентов:

Кодер изображения и декодер изображения, способ кодирования изображения и способ декодирования изображения, программа кодирования изображения и программа декодирования изображения и компьютерно-считываемый носитель записи, на котором записана программа кодирования изображения, и компьютерно-считываемый носитель записи, на котором записана программа декодирования изображения
Изобретение относится к кодеру/декодеру цифрового сигнала изображения. Техническим результатом является повышение оптимальности кодирования сигнала движущегося изображения. Предложен кодер изображения, включающий: блок генерации прогнозируемого изображения, который генерирует прогнозируемое изображение в соответствии с совокупностью режимов прогнозирования, указывающих метод генерации прогнозиру...
2368095
Устройство для кодирования изображений, устройство для декодирования изображений, способ кодирования изображений и способ декодирования изображений
Изобретение относится к области кодирования и декодирования цифровых изображений. Техническим результатом изобретения является повышение эффективности кодирования сигналов динамического изображения, не имеющих различия в соотношении количества отсчетов между цветовыми компонентами. Предложено устройство для кодирования/декодирования динамического изображения, в котором при кодировании со сжатием...
2369039
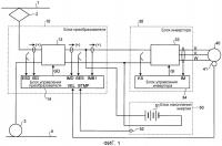
Устройство преобразования мощности
Изобретение относится к средствам преобразования мощности. Средство (5) оценки обнаруженного значения напряжения постоянного тока производит выборку обнаруженных значений напряжения постоянного тока через конкретные интервалы периода Т, сохраняет обнаруженные значения от Vn до Vn-m напряжения постоянного тока, обнаруженные в текущее время tn до времени tn-m выборки, которое на m циклов выборки (m...
2397598
Устройство векторного управления двигателя с синхронизацией на постоянном магните
Изобретение относится к области электротехники и может быть использовано в промышленности в устройствах векторного управления синхронного двигателя с постоянным магнитом. Техническим результатом является упрощение управления максимальным крутящим моментом в устройстве векторного управления. Устройство векторного управления для синхронного двигателя с постоянным магнитом, приводимым в действие инв...
2397601
Устройство для кодирования динамических изображений, устройство для декодирования динамических изображений, способ кодирования динамических изображений и способ декодирования динамических изображений
Изобретение относится к устройству кодирования/декодирования цифровых сигналов изображений. Техническим результатом является увеличение взаимной совместимости между закодированными видеоданными различных форматов цветности 4:2:0, 4:2:2 и 4:4:4. Предложено кодирование и декодирование выполнять однородно для множества форматов цветности. На основе управляющего сигнала обеспечения типа формата цветн...
2400941
Преобразователь электрической мощности
Описываются конкретные аномалии и детали отказов, а также меры против них, которые могли бы, возможно, происходить в преобразователях электрической мощности, которые приводят в действие и управляют синхронными электродвигателями с постоянным магнитом. Преобразователь электрической мощности, который может стабильно работать, имеет защитную функцию, предпринимая соответствующие меры против таких от...
2401504
Устройство управления для электрического транспортного средства
Изобретение относится к устройству управления для электрического транспортного средства с инверторным приводом, а более точно, к контроллеру для электрического транспортного средства с инверторным приводом, оборудованному накопителем энергии, который заряжается мощностью постоянного тока и на который расходуется мощность постоянного тока. Устройство управления для электрического транспортного сре...
2403153
Устройство для кодирования динамических изображений, устройство для декодирования динамических изображений, способ кодирования динамических изображений и способ декодирования динамических изображений
Изобретение относится к системам кодирования/декодирования цифровых сигналов изображения, используемых для технологии кодирования и сжатия изображений или технологии передачи данных сжатых изображений. Техническим результатом является создание способа формирования битового потока для обеспечения совместимости между битовыми потоками. Указанный технический результат достигается тем, что предложено...
2404537
Векторный регулятор для синхронного электродвигателя с постоянными магнитами
Изобретение относится к области электротехники и может быть использовано для векторного управления синхронных электродвигателей с постоянными магнитами. Техническим результатом является упрощение и повышение устойчивости регулирования. Векторный регулятор для синхронного электродвигателя с постоянными магнитами может быть реализован в упрощенной конфигурации для работы с ослаблением поля в одноим...
2407140
Устройство преобразования электрической энергии
Устройство преобразования электрической энергии включает в себя преобразователь (1) для выпрямления электрической энергии переменного тока, набор последовательно соединенных конденсаторов (2А) и (2В), соединенных со стороной постоянного тока преобразователя, инвертор (3) для посредством установки одного конца набора последовательно соединенных конденсаторов на высокопотенциальный уровень, другого...
2410831
Устройство преобразования электроэнергии
Для устройства преобразования электроэнергии, в котором переключающие элементы охлаждаются посредством использования воздушных потоков, вызываемых движением транспортного средства, предложены преимущественная позиционная компоновка для параллельного соединения множества наборов, каждый из которых состоит из множества переключающих элементов, и преимущественная конструкция радиаторных пластин, вкл...
2411626
Устройство преобразования электроэнергии для электромобиля
Технический результат изобретения состоит в эффективном снижении резонансного тока, протекающего в блоке преобразователя и блоке инвертора в устройстве преобразования электроэнергии для электромобиля. Устройство преобразования электроэнергии включает в себя блок (20) преобразователя, который преобразует электроэнергию переменного тока в электроэнергию постоянного тока, блок (60) инвертора, которы...
2416867
Способ изготовления электрода для электроразрядной обработки поверхности и электрод для электроразрядной обработки поверхности
Изобретение относится к способам изготовления электрода для электроразрядной обработки поверхности созданием импульсного разряда между электродом и изделием и формированием пленки на поверхности изделия. Согласно способу используют порошок в виде металлического порошка или порошка соединения металла или порошка проводящей керамики. При этом осуществляют повышение содержания кислорода в упомянутом...
2417137
Устройство управления двигателем
Изобретение относится к области электротехники и может быть использовано для приведения в действие транспортного средства. Техническим результатом является уменьшение размеров, массы и стоимости устройства управления двигателем. Устройство управления двигателем, имеющее контроллер для управления множеством инверторов, соответствующим образом предусмотренных для каждого из множества двигателей пер...
2419953
Устройство управления электродвигателем
Изобретение относится к области электротехники и может быть использовано в электродвигателе переменного тока для приведения в движение железнодорожного вагона. Техническим результатом является обеспечение устойчивости управления путем снижения колебаний тока и пульсаций крутящего момента и снижение шума и вибраций при управлении электродвигателем. В устройстве (100) управления для синхронного эле...
2419954
Способ кодирования изображения, способ декодирования изображения, кодер изображения и декодер изображения, и поток битов кодированного изображения, и носитель записи
Изобретение относится к системам кодирования/декодирования изображения для обработки входных сигналов изображения, состоящих из множества компонентов цвета. Техническим результатом является повышение эффективности кодирования благодаря использованию единого режима кодирования для соответствующих компонентов цвета. Технический результат достигается тем, что изобретение включает при применении обра...
2426268
Кодер изображения и декодер изображения, способ кодирования изображения и способ декодирования изображения, программа кодирования изображения и программа декодирования изображения и компьютерно-считываемый носитель записи, на котором записана программа кодирования изображения, и компьютерно-считываемый носитель записи, на котором записана программа декодирования изображения
Изобретение относится к кодеру/декодеру цифрового сигнала изображения. Техническим результатом является повышение оптимальности кодирования сигнала движущегося изображения. Предложен кодер изображения, включающий в себя: блок генерации прогнозируемого изображения, который генерирует прогнозируемое изображение в соответствии с совокупностью режимов прогнозирования, указывающих метод генерации прог...
2426269
Устройство кодирования изображения и устройство декодирования изображения
Изобретение относится к устройству кодирования/декодирования цифрового сигнала изображения. Техническим результатом является обеспечение гибкого выбора информации режима внутреннего предсказания, что обеспечивает оптимальное кодирование, когда есть различные определения цветовых пространств. Указанный технический результат достигается тем, что устройство кодирования включает в себя модуль отделен...
2430486
Контроллер вращающейся электрической машины
Изобретение относится к электротехнике, к контроллеру для управления вращением асинхронными, синхронными машинами и т.д. Технический результат состоит в обеспечении возможности получения информации о положении ротора без использования датчика его положения. Устройство содержит средство (2) детектирования токов вращающейся электрической машины, сформированных во вращающейся электрической машине (1...
2431916
Контроллер электродвигателя
Изобретение относится к области электротехники и может быть использовано в электродвигателях переменного тока для приведения в движение транспортного средства. Техническим результатом является конфигурирование устройства преобразования энергии для приведения в действие электродвигателя переменного тока для электрического транспортного средства небольшим по размеру, легким по весу и невысокой стои...
2432663
Способ связи, базовая станция, система связи и мобильный терминал
Изобретение относится к технике связи. Технический результат заключается в исключении бесполезного выделение ресурсов и повышении пропускной способности системы связи. Технический результат достигается за счет использования постоянной диспетчеризации при обнаружении перехода из состояния разговора в состояние молчания, при этом ресурсы, которые должны быть выделены во время состояния молчания, вы...
2432716
Управляющее устройство для железнодорожного вагона с электроприводом
Группа изобретений относится к вариантам выполнения управляющего устройства для железнодорожных вагонов с электроприводом, в частности, к вариантам выполнения управляющего устройства для железнодорожных вагонов с электроприводом, которое имеет функцию управления пробуксовкой/проскальзыванием, чтобы не допускать свободного проворачивания и проскальзывания колес. Устройство содержит множество элект...
2433055
Устройство управления вагоном электропоезда
Группа изобретений относится к устройствам управления вагоном электропоезда, которые осуществляют инверторное управление на асинхронных двигателях, которые приводят в движение колеса вагона электропоезда. Устройство содержит блок управления, содержащий первый блок оценки, соединенный с блоком осуществления процесса ограничения, второй блок оценки, соединенный с блоком обработки выходного сигнала....
2434761
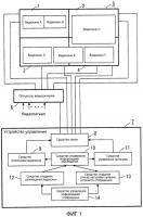
Устройство для создания программ, устройство числового программного управления, способ создания программ
Изобретения относятся к машиностроению и могут быть использованы для управления механической обработкой заготовок с использованием программы числового программного управления (ЧПУ). Устройство ЧПУ механической обработкой содержит устройство для создания программ. Данное устройство обеспечивает создание программы на основе данных формы обрабатываемой заготовки и данных допуска для данных формы. Ус...
2438849
Устройство преобразования электрической энергии
Изобретение относится к преобразователям электрической энергии. В традиционном устройстве преобразования электрической энергии управляющий микропроцессор выполняет управление для исключения или ограничения явления биений, так что возникает задержка на управление, поскольку в управляющем микропроцессоре требуется время для вычислений. Вследствие задержки на управление невозможно получить результат...
2440662
Информационный процессор и способ обработки информации
Настоящее изобретение относится к информационному процессору и способу обработки информации для вычисления информации относительно трехмерной модели. Техническим результатом является повышение скорости вычисления информации относительно требуемой трехмерной модели из данных чертежа модели. Информационный процессор, который вычисляет информацию относительно трехмерной модели, содержит: блок ввода...
2441275
Система мобильной связи и мобильный терминал
Изобретение относится к технике мобильной связи. Предложены система мобильной связи и мобильный терминал. Базовая станция передает во множество мобильных терминалов индикатор по чрезвычайным ситуациям посредством использования первого или второго сообщения поискового вызова. Индикатор по чрезвычайным ситуациям указывает на присутствие информации по чрезвычайным ситуациям. Мобильный терминал, нахо...
2441342
Устройство преобразования мощности
Устройство (1a, 1b) преобразования мощности включает в себя инвертор (10), который приводит в действие электродвигатель (5) переменного тока посредством преобразования напряжения постоянного тока в напряжение переменного тока произвольной частоты; модуль (14а) переключения для отключения переменного тока, подключенный между инвертором (10) и электродвигателем (5) переменного тока; детектор (11, 1...
2442274
Система временной синхронизации и способ временной синхронизации в железнодорожном составе
Группа изобретений относится к системам синхронизации времени между различными устройствами, установленными в железнодорожном составе. Способ содержит этап задания станции синхросигналов железнодорожного состава, станции синхросигналов вагона и станции ожидания коррекционной информации, и бортовое устройство. Затем станция синхросигналов железнодорожного состава выполняет временную коррекцию собс...
2445222
Система распознавания конфигурации железнодорожного состава и устройство распознавания конфигурации железнодорожного состава
Группа изобретений относится к устройствам автоматического распознавания конфигурации железнодорожного состава. Система содержит переключатели детектирования конца железнодорожного состава, которые, соответственно, предусмотрены на двух концах каждой из групп вагонов, пару линий передачи, которые предусмотрены в железнодорожном составе. Также система содержит устройства распознавания конфигурации...
2445223
Система мобильной связи, базовая станция и мобильный терминал
Изобретение относится к системе мобильной связи, с помощью которой сообщается информация по чрезвычайным ситуациям. Предложена система мобильной связи. В предложенной системе базовая станция передает информацию по чрезвычайным ситуациям во множество мобильных терминалов. Информация по чрезвычайным ситуациям передается посредством поискового вызова (PAGING TYPE1), включенного в канал управления по...
2446620
Сервисная система предоставления информации пользователям железной дороги
Изобретение относится к системам для обеспечения различных сервисов предоставления информации, относящейся к поезду. Техническим результатом является расширение функциональных возможностей системы за счет обеспечения пользователей текущей информацией о состоянии поезда. Пассажир, обладающий IC-картой, хранящей билетную информацию, с функцией беспроводной связи и находящийся в вагоне 1, может полу...
2447507
Устройство управления электродвигателя переменного тока
Изобретение относится к области электротехники и может быть использовано для приведения в движение автомобиля. Устройство управления электродвигателем переменного тока включает трехфазный инвертор (2), который подключен к источнику (1) постоянного тока и выводит трехфазные переменные токи на электродвигатель (6) переменного тока, детектор (3, 4, 5) тока, который детектирует ток электродвигателя (...
2447572
Способ кодирования изображения, способ декодирования изображения, кодер изображения и декодер изображения
Изобретение относится к способу кодирования/декодирования изображения и кодеру/декодеру изображения, предназначенным для обработки сжатия входных сигналов изображения, состоящих из множества компонентов цвета. Техническим результатом является повышение эффективности кодирования и обеспечение возможности включать данные для одного изображения в один модуль доступа, даже, когда обработку кодировани...
2447611
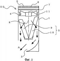
Теплообменный вентилятор
Изобретение относится к теплообменному вентилятору (50), который содержит канал для приточного воздуха, обеспечивающий всасывание наружного воздуха и выдувание его в пространство внутри помещения, канал для вытяжного воздуха, обеспечивающий всасывание воздуха в помещении и выдувание его в наружное пространство, и множество теплообменных элементов (15А, 15В), которые осуществляют теплообмен между...
2449223
Приводной контроллер для электродвигателя переменного тока
Изобретение относится к области электротехники и может быть использовано для возбуждения синхронного электродвигателя с постоянными магнитами, встроенного в электрическое транспортное средство. Техническим результатом является создание приводного контроллера (10А; 10В) для электродвигателя переменного тока, который может предотвращать формирование избыточного напряжения между линиями электродвига...
2449445
Преобразователь постоянного тока
Преобразователь постоянного тока включает в себя схему (10) переключения, к входу которой подключена схема входного фильтра, схему (27) сглаживающего фильтра, соединенную с выходом схемы (10) переключения и включающую в себя дроссель (5) и конденсатор (6), и модуль (300) управления, который возвращает значение состояния схемы (27) сглаживающего фильтра и управляет включением и выключением схемы (...
2455745
Электрическая железнодорожная система
Изобретение относится к области железнодорожного транспорта и представляет электрическую железнодорожную систему, включающую в себя вагон с электроприводом, элементы накопления электрической энергии и устройство подачи электрической энергии к вагону. Устройство подачи электрической энергии включает в себя источник электропитания и соединенную с ним часть 1А контактного провода. Железнодорожный ва...
2456174
Система мобильной связи
Заявленное изобретение относится к системе мобильной связи, в которой базовая станция осуществляет радиосвязь с множеством единиц пользовательского оборудования. Технический результат состоит в устранении задержки управления в системе, в увеличении эффективности использования радиоресурсов и эффективности сигнализации, а также в понижении энергопотребления в UE, которое повторяет поиск соты. Для...
2461149
Устройство преобразования электроэнергии
Изобретение относится к электротехническим устройствам преобразования. Устройство преобразования электроэнергии, включающее в себя преобразователь (2) и инвертор (4), содержит конденсатор (3), который накапливает электроэнергию постоянного тока; блок (8) детектирования пульсаций, который детектирует пульсации действующего значения мощности, которые генерируются из инвертора (4); прибор (15) измер...
2462806
Устройство преобразования мощности для возбуждения электродвигателя
Изобретение относится к области электротехники и может быть использовано в производственных станках, бытовых приборах, в областях автомобильного транспорта, в транспортных средствах с электродвигателем и т.п. Технический результат - обеспечение подавления 2f-составляющей источника питания при одновременном подавлении формирования перегрузки по току или чрезмерно большой пульсации крутящего момент...
2463699
Силовое преобразовательное устройство
Устройство управления вращением синхронной машины содержит средство (6) детектирования информации о вращении и вынуждает преобразователь (2) поднять напряжение Vc заряда конденсатора (3) таким образом, чтобы оно оказалось выше индуцированного напряжения Vm, генерируемого синхронной машиной (5) во время переключения в режим движения по инерции. Преобразователь поддерживает напряжение Vc заряда во...
2466040
Контроллер для электрического транспортного средства, работающего от переменного тока
Использование: в области электротехники. Технический результат заключается в повышении быстродействия. Контроллер включает в себя устройство (20) управления преобразователем, управляющее работой ШИМ-преобразователя (3), который преобразует напряжение переменного тока, поданное из воздушной линии переменного тока через трансформатор, в напряжение постоянного тока, арифметическая обработка, выполня...
2467461
Система мобильной связи, базовая станция, мобильная станция и способ установки базовой станции
Изобретение относится к мобильной связи. Технический результат заключается в исключении мертвых зон, обеспечении возможности для мобильной станции стабильно обмениваться данными с базовыми станциями и уменьшении частоты сбоев при передаче обслуживания и сокращении числа передач обслуживания. Мобильная станция (11) получает информацию качества данных и предоставляет полученную информацию в базовую...
2469505
Устройство источника света и устройство отображения изображений проекторного типа
Изобретение относится к области электротехники. Техническим результатом является снижение температуры нагрева устройства со светодиодами. Устройство источника света описано в двух вариантах, первый из которых включает в себя подвижную платформу, зафиксированный на ней корпус, множество светодиодов, установленных на корпусе, множество радиаторов, которые соответственно термически связаны и присоед...
2470223
Устройство управления для электрической вращающейся машины
Изобретение относится к области электротехники и может быть использовано для управления как асинхронной, так и синхронной машиной, получающей информацию о положении ротора без использования датчика углового положения. Технический результат - точность оценки положения ротора электрической машины и эффективность уменьшения чувства дискомфорта из-за шума. Средство (5) управления для вывода команды п...
2470453
Устройство управления транспортным средством
Изобретения относятся к устройству управления транспортным средством. Устройство содержит множество функциональных модулей, каждый из которых имеет только одну часть, которая задает выходной потенциал отличающимся от входного потенциала вследствие своей работы, и сигнальные линии и линии электропередачи, подключенные к нескольким функциональным модулям. Каждый из модулей имеет интерфейсную поверх...
2471656
Спиральный компрессор
Изобретение относится к спиральному компрессору, предназначенному для сжатия хладагента, используемому в устройствах с холодильным циклом. Спиральный компрессор включает фиксированную и перекатывающуюся спирали, находящиеся в зацеплении друг с другом, приводной вал для привода перекатывающейся спирали, электрический двигатель, приводящий в движение приводной вал, впускные трубопровод и канал, пос...
2472035
Многоэкранное дисплейное устройство
Изобретение относится к многоэкранному дисплейному устройству, допускающему автоматизацию операции регулирования яркости и цветности. Устройство включает в себя множество устройств отображения изображений с одним ведущим устройством и множеством ведомых устройств, поддерживающих обмен данными с ведущим устройством. Каждое из устройств отображения содержит цифровое микрозеркальное устройство DMD,...
2473943
Способ связи, базовая станция, система связи и мобильный терминал
Изобретение относится к технике связи. Технический результат заключается в исключении бесполезного выделения ресурсов и повышении пропускной способности системы связи. Технический результат достигается за счет использования постоянной диспетчеризации при обнаружении перехода из состояния разговора в состояние молчания, при этом ресурсы, которые должны быть выделены во время состояния молчания, вы...
2476027
Устройство управления силовой установкой для электрического транспортного средства
Изобретение относится к области электрических транспортных средств и направлено на усовершенствование устройства управления силовой установкой электрического транспортного средства. Устройство включает в себя инвертор (50), который преобразует напряжение постоянного тока в напряжение переменного тока, элемент (60) накопления энергии и преобразователь (40) постоянного тока в постоянный ток, подклю...
2478490
Силовой преобразователь
Изобретение относится к силовому преобразователю, в частности, для электрического подвижного преобразователя. Контроллер (40) преобразования мощности включает в себя: блок (50) расчета значения поправки, который рассчитывает значение DE2 поправки для внесения поправки в значение BEFC напряжения по сигналу BEFC напряжения, который получен преобразованием значения BEFC напряжения, детектированного...
2479090
Pon-система, устройство на стороне станции и устройство на стороне абонента
Настоящее изобретение относится к системе пассивной оптической сети (PON). OLT (2) передает кадр с запросом для проверки линии связи и проверки объема накопленных данных из ONU (4). ONU (4) возвращает кадр ответа на запрос в качестве ответа. Когда ONU (4) обнаруживает состояние, в котором график восходящего потока не присутствует, ONU (4) записывает об этом в кадр ответа и передает кадр ответа в...
2479140
Устройство для кодирования изображений, устройство для декодирования изображений, способ кодирования изображений и способ декодирования изображений
Изобретение относится к области кодирования/декодирования цифровых сигналов изображений для формирования битовых потоков посредством выполнения над цветным изображением. Техническим результатом является повышение оптимальности и эффективности декодирования в случае, когда закодированные сигналы динамического изображения не имеют различия в соотношении количества отсчетов между цветовыми компонент...
2479148
Устройство управления для транспортного средства с электрическим двигателем переменного тока
Изобретение относится к устройству управления для транспортного средства с электрическим двигателем переменного тока. Устройство управления содержит блок вычисления команды крутящего момента, инвертор, статический инвертор, преобразователь. Блок вычисления вычисляет значение команды крутящего момента двигателя и выдает значение команды крутящего момента в инвертор. Статический инвертор подает эле...
2479447
Устройство преобразования мощности
Изобретение относится к области электротехники и может быть использовано для перезапуска вращающейся машины переменного тока. Техническим результатом является уменьшение ударного крутящего момента при повторном запуске вращающейся электрической машины переменного тока без использования детектора вращения. Устройство преобразования мощности содержит преобразователь мощности, который преобразует н...
2481693
Устройство управления и способ управления электрической вращающейся машиной
Изобретение относится к области электротехники и может быть использовано для управления асинхронной и синхронной машинами в отсутствие датчика положения вращения. В устройстве управления и способе управления вращающейся электрической машиной средство (5) управления для вывода команды управления напряжением для управления возбуждением вращающейся электрической машины (1) суммирует команду управле...
2481694
Устройство преобразования энергии и способ управления напряжением на конденсаторе устройства преобразования энергии
Изобретение относится к области электротехники и может быть использовано для управления синхронной электрической машиной, когда ее индуцированное напряжение холостого хода при высоких скоростях вращения становится выше напряжения источника питания постоянного тока. Техническим результатом является уменьшение массогабаритных показателей и стоимости. Устройство преобразования энергии включает в се...
2482599
Контроллер для вращающейся машины переменного тока
Изобретение относится к области электротехники и может быть использовано для управления возбуждением вращающейся машины переменного тока. Техническим результатом является обеспечение плавного приведения в действие от области низкой скорости, включающей в себя нулевую скорость, до области высокой скорости. Контроллер для вращающейся машины переменного тока содержит адаптивное средство (7) наблюде...
2483423
Устройство преобразования мощности
Изобретение относится к области электротехники и может быть использовано в устройствах преобразования мощности электромобиля. Устройство преобразования мощности содержит контроллер (6) конвертора-инвертора для управления конвертором (1) и инвертором (3). Устройство преобразования мощности дополнительно снабжено конденсатором (4) постоянного тока, подключенным между конвертором (1) и инвертором (...
2483424
Устройство проекционного дисплея
Устройство содержит блок источника света и проекционный блок. Блок источника света включает твердотельные источники света и секцию объединения и концентрирования света посредством конденсорной линзы. Проекционный блок включает оптический модулятор и оптическую проекционную секцию. Блоки включают механизмы настройки, обеспечивающие, чтобы оптические оси конденсорной линзы и падающего светового лу...
2484511
Система мобильной связи, базовая станция и мобильный терминал
Изобретение относится к области мобильной связи. Техническим результатом является своевременная передача информации по чрезвычайным ситуациям на все мобильные терминалы, зарегистрированные в базовой станции и управляемые ею, без наложения чрезмерной нагрузки на сеть. Упомянутый технический результат достигается тем, что базовая станция передает индикатор, указывающий присутствие информации по чр...
2486695
Способ связи, базовая станция и мобильный терминал
Изобретение относится к способу связи для использования в системе связи согласно способу по стандарту долгосрочного развития (LTE) мобильной телефонной системы третьего поколения. Техническим результатом является уменьшение объема обработки, выполняемой посредством мобильного терминала при выполнении обнаружения вслепую, и снижение потребляемой мощности и задержки обработки. Базовая станция реал...
2487496
Устройство управления для вращающейся машины переменного тока
Изобретение относится к области электротехники и может быть использовано для защиты вращающейся машины переменного тока и ее схемы возбуждения от перегрузок по току. Технический результат - обеспечение надежности ограничения тока вращающейся электрической машины при различных значениях ее электрических параметров. В устройстве управления для вращающейся машины переменного тока с функцией огранич...
2491692
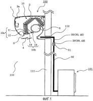
Двигатель для транспортного средства
Изобретение относится к области электротехники и касается особенностей выполнения двигателей для транспортного средства, устанавливаемых на железнодорожном поезде. Предлагаемый двигатель содержит вентилятор (30), который закреплен на валу (10) ротора и подводит наружный воздух в двигатель, а также включает стопор (20), который функционирует в качестве позиционирующего элемента для вентилятора (3...
2491699
Способ связи, оптическая система связи, терминальная аппаратная система оптической линии на стороне станции и терминальная аппаратная система оптической линии на стороне пользователя
Заявленное изобретение относится к системе связи. Технический результат - облегчение обнаружения ненормальности связи. Для этого множество терминальных аппаратных систем на стороне пользователя (ONU) (10) включает в себя оптическое приемо-передающее устройство (14), допускающее работу в энергосберегающем режиме, в котором потребление мощности сокращается посредством прекращения передачи при прод...
2491738
Устройство управления ходом электромоторного вагона
Устройство управления ходом электромоторного вагона включает в себя: устройство (50) инвертора, подключенное к источнику питания постоянного тока; электромотор (71), подключенный к выводу устройства инвертора; устройство (40) преобразователя, подключенное к вводу устройства инвертора; и установку (60) накопления энергии, подключенную к выводу устройства преобразователя. Устройство управления ход...
2492071
Преобразователь электрической энергии электрического железнодорожного подвижного состава
Изобретение относится к преобразователям электрической энергии электрического железнодорожного подвижного состава с применением рекуперативного торможения. Преобразователь включает в себя: блок (10) (первый блок преобразования электрической энергии), который принимает напряжение постоянного тока и выводит напряжение постоянного тока, управляемое до предварительно определенного значения; и блок (...
2492072
Внутренний блок кондиционера воздуха и кондиционер воздуха
Предложен внутренний блок кондиционера воздуха, который способен подавлять шум более эффективно, чем кондиционеры воздуха известного уровня техники, и кондиционер воздуха, содержащий данный внутренний блок. Внутренний блок (40) кондиционера (100) воздуха содержит корпус (1), имеющий всасывающее отверстие (2), образованное в верхней части, и выпускное отверстие (3), образованное в нижней стороне...
2493497
Система связи, терминальное устройство оптической линии на стороне станции, терминальное устройство оптической линии на стороне пользователя, устройство управления и способ связи
Изобретение относится к системе связи, в которой множество терминалов соединяются посредством общей линии. Техническим результатом является повышение эффективности энергосбережения за счет управления режимом энергосбережения во время прерывистой связи. Система оптической связи, которая соединяет множество терминальных устройств оптической линии на стороне пользователя (в дальнейшем называемых ON...
2493663
Система мобильной связи
Изобретение относится к системе мобильной связи, в которой базовая станция выполняет радиосвязь с множеством мобильных терминалов. Система мобильной связи имеет три типа сот, в том числе, в дополнение к выделенной для MBMS соте, соту для одноадресной передачи, в которую и из которой мобильный терминал может передавать и принимать отдельные данные связи, и смешанную соту для одноадресной передачи...
2493674
Устройство преобразования мощности для транспортного средства
Устройство преобразования мощности для транспортного средства включает в себя кожух, который устанавливается под полом транспортного средства, преобразователь мощности, сконфигурированный из полупроводниковой переключающей схемы, модуль управления, который управляет выходной мощностью преобразователя мощности так, что он снабжает нагрузку требуемой мощностью, электропроводку, которая подключена...
2494898
Двухступенчатый ротационный компрессор
Изобретение относится к двухступенчатому ротационному компрессору с двумя компрессионными агрегатами. Двухступенчатый компрессор 100, который является двухступенчатым ротационным компрессором с внутренним высоким давлением, включает в себя крышку 19 ступени низкого давления, которая закрывает выпускное отверстие 16 ступени низкого давления и образует внутри выпускное пространство 20 ступени низк...
2501978
Кодер изображения и декодер изображения, способ кодирования изображения и способ декодирования изображения
Изобретение относится к кодеру/декодеру движущегося цветного изображения в формате, например, 4:2:0 и 4:2:2. Техническим результатом является повышение оптимальности кодирования движущегося изображения. Предложен кодер изображения, содержащий блок генерации прогнозируемого изображения, который генерирует прогнозируемое изображение согласно режимам прогнозирования; блок принятия решения относител...
2502216
Устройство управления силовой установкой
Изобретение относится к области транспортных средств с электродвигателями переменного тока. В силовой установке транспортного средства содержится вспомогательный источник питания, который подключается к схеме промежуточного звена главного модуля преобразования. Напряжение промежуточного звена вспомогательного источника питания задается в зависимости от главного модуля преобразования. Поскольку н...
2502614
Устройство управления информацией для пассажиров и способ обеспечения видеоданных для устройства управления информацией для пассажиров
Изобретение относится к устройству управления информацией для пассажиров, которое предоставляет рекламную информацию пассажирам в поезде. Техническим результатом является эффективное использование емкости хранилища среды хранения. Технический результат достигается тем, что предложено устройство (2) управления информацией для пассажиров, имеющее контроллер (13) видеодисплея, который передает виде...
2504084
Кодер изображения и декодер изображения, способ кодирования изображения и способ декодирования изображения
Изобретение относится к вычислительной технике. Технический результат заключается в повышении оптимальности кодирования сигнала движущегося изображения. Кодер изображений генерирует битовый поток на основании ввода цветного изображения, которое сформировано из множества цветовых компонентов, посредством сжатия-кодирования цветного изображения в единицах областей, полученных путем разделения цвет...
2506714
Устройство управления возбуждением электродвигателя переменного тока
Изобретение относится к области электротехники и может быть использовано для возбуждения синхронного электродвигателя транспортного средства. Технический результат заключается в том, чтобы не допускать генерирование опасного перенапряжения коммутации, связанного с переключением размыкающего контактора электродвигателя. Устройство управления возбуждением электродвигателя переменного тока, включаю...
2507658
Устройство управления направлением воздушного потока вправо-влево и блок аппарата кондиционирования воздуха, предназначенный для установки в помещениях, содержащий его
Заявленное устройство относится к средствам управления направлением воздушного потока вправо-влево. При этом оно включает в себя дефлекторы отклонения потока вправо-влево и соединительные тяги. Каждый дефлектор отклонения потока вправо-влево включает в себя базовую часть, задающую плоскость, перпендикулярную центральной оси вращения вращательного вала, плоскую часть и соединительный выступ, выст...
2508511
Устройство преобразования энергии для силовой установки транспортного средства с электродвигателем
Изобретение относится к устройству преобразования энергии для силовой установки транспортного средства. Устройство содержит первый блок преобразования энергии, второй блок преобразования энергии, блок накопления энергии, первый блок управления. Первый блок преобразования энергии преобразует ввод напряжения из внешнего источника питания в требуемый постоянный ток. Второй блок преобразования энерг...
2509001
Устройство преобразователя мощности и способ управления устройства
Устройство относится к устройству преобразователя мощности, которое преобразует мощность постоянного тока в мощность переменного тока, в частности относится к устройству приведения в действие электродвигателя с регулируемой скоростью вращения. Технический результат заключается в увеличении точности получения выходного напряжения за счёт компенсации падения напряжения в полупроводниковых элемента...
2509405
Устройство кодирования изображений, устройство декодирования изображений, способ кодирования изображений и способ декодирования изображений
Изобретение относится к вычислительной технике, а именно к устройству и способу декодирования изображений. Техническим результатом является повышение эффективности декодирования информации. Устройство декодирования изображений принимает кодированный с прогнозированием поток битов, который создается посредством разделения каждого кадра сигнала движущегося изображения на опорные блоки заданного ра...
2509438
Теплообменник и оснащенный им кондиционер
Изобретение относится к теплотехнике и может быть использовано в теплообменниках для кондиционеров. Предложен теплообменник, в котором в трубке подачи газа и трубке подачи жидкости блока соединительных трубок соединительные части, в которых алюминиевые трубки (первые трубки для хладагента: трубки для хладагента, сформированные из алюминия или алюминиевого сплава) и медные трубки (вторые трубки д...
2509969
Устройство кодирования изображений, устройство декодирования изображений, способ кодирования изображений и способ декодирования изображений
Группа изобретений относится к устройствам кодирования и декодирования изображений. Техническим результатом является повышение качества изображений. Контурный фильтр 6 включает в себя модуль 12 классификации областей для извлечения оценочной величины каждой из областей, которые составляют локальное декодированное изображение, чтобы классифицировать каждую из областей по классу, которому принадле...
2510592
Система мобильной связи
Изобретение относится к системе мобильной связи. Технический результат состоит в устранении повышенного энергопотребления в пользовательском оборудовании. Для этого сота Закрытой Абонентской Группы (Closed Subscriber Group, CSG) представляет собой соту, которая обеспечивает возможность использования абонентов. Для того чтобы получать службу от соты CSG, пользовательскому оборудованию требуется с...
2511040
Устройство кодирования изображения и устройство декодирования изображения
Изобретение относится к области кодирования и декодирования цифрового сигнала изображения. Технический результат - повышение точности кодирования сигналов движущегося изображения. Устройство кодирования включает в себя модуль отделения компонента цвета для разделения входного битового потока на соответствующие компоненты цвета, модуль разделения на блоки для разделения входного сигнала компонент...
2514787
Тормозной контроллер
Изобретения относятся к области машиностроения, в частности к тормозным системам железнодорожных транспортных средств. Тормозной контроллер содержит клапан переменной нагрузки, повышающий переключающий электромагнитный клапан и узел подачи тормозного давления. Выходное давление клапана переменной нагрузки управляется посредством повышающего переключающего электромагнитного клапана. При обычном т...
2516877
Устройство составления изображений
Изобретение относится к технологиям обработки изображений. Техническим результатом является обеспечение непрерывного вывода изображения наложения даже в случае отсутствия сигнала базового изображения. Устройство составления изображений, предназначенное для осуществления наложения изображения наложения на область цвета цветовой рирпроекции базового изображения и для вывода изображения наложения в...
2517266
Система мобильной связи
Настоящее изобретение относится к системе мобильной связи. Технический результат изобретения заключается в уменьшении потребляемой мощности мобильного терминала при многократном поиске соты. Система связи включает в себя указанные абонентские соты (CSG), которые разрешают использование посредством указанного мобильного терминала, и неуказанные пользовательские соты (не-CSG), которые разрешают...
2518687
Система мобильной связи
Изобретение относится к системам связи. В системе мобильной связи, согласно настоящему изобретению, с использованием агрегированных несущих, включающих в себя упомянутое множество агрегированных компонентных несущих, базовая станция выполняет радиосвязь с абонентским устройством, соответствующим указанным агрегированным несущим, при этом в случае, если базовая станция выполняет радиосвязь с абон...
2520589
Устройство кодирования движущихся изображений и устройство декодирования движущихся изображений
Изобретение относится к вычислительной технике. Технический результат заключается в повышении эффективности кодирования. Устройство кодирования движущихся изображений содержит модуль разделения изображения на макроблочные изображения двух или более блоков и разделения каждого из макроблочных изображений на блочное изображение одного или более блоков в соответствии с режимом кодирования; модуль в...
2523071
Устройство отображения, устройство обработки видео и способ отображения видео
Изобретение относится к устройствам отображения. Техническим результатом является предоставление устройства отображения, которое может предотвратить ситуацию, в которой информация, назначаемая источнику света, который не может быть включен, вообще не отображается, даже при условии, что часть из множества источников света не может быть включена. Результат достигается тем, что секция получения обы...
2523701
Устройство управления двигательной установкой электрического транспортного средства и система железнодорожного транспортного средства
Изобретение относится к области управления электрическим транспортным средством. Устройство управления двигательной установкой электрического транспортного средства, включающее в себя устройство накопления мощности; блок преобразования мощности, управляющий двунаправленным потоком мощности, и блок управления, управляющий работой блока преобразования мощности. При преобразовании мощности постоянн...
2529577
Кондиционер воздуха
Изобретение относится к кондиционеру воздуха, а более конкретно к кондиционеру воздуха, к которому может присоединяться съемный носитель хранения информации. Кондиционер воздуха включает в себя: блок управления кондиционированием воздуха; блок чтения и записи данных; блок управления данными и операционный блок. Блок управления кондиционированием воздуха управляет работой по кондиционированию воз...
2531773
Устройство кодирования движущихся изображений, устройство декодирования движущихся изображений, способ кодирования движущихся изображений и способ декодирования движущихся изображений
Изобретение относится к вычислительной технике. Технический результат заключается в уменьшении объема кода, связанного с режимом внутреннего предсказания без снижения эффективности предсказания. Устройство кодирования движущихся изображений содержит модуль внутреннего предсказания, который при формировании изображения предсказания цветоразностного сигнала выполняет процесс внутреннего предсказан...
2533649
Устройство инвертора
Изобретение относится к устройству инвертора, которое принимает DC мощность из общей шины (15) DC и возбуждает нагрузку. Конфигурация является такой, что переключающий элемент (SW1) размещен в первом пути тока, в котором ток протекает через DC вывод (P) положительной стороны при подаче питания, обратно подключенный диод D1 размещен во втором пути тока, в котором ток протекает через DC вывод (P1...
2538779
Внутренний блок кондиционера воздуха
Настоящее изобретение относится к внутреннему блоку кондиционера воздуха. Он содержит: корпус, имеющий всасывающее отверстие, образованное в верхней части, и выпускное отверстие, образованное в нижней стороне части передней поверхности; воздуходувку, расположенную позади по потоку от упомянутого всасывающего отверстия в упомянутом корпусе; и теплообменник, расположенный позади по потоку от упомя...
2542553
Устройство кодирования движущихся изображений, устройство декодирования движущихся изображений, способ кодирования движущихся изображений и способ декодирования движущихся изображений
Изобретение относится к вычислительной технике. Технический результат заключается в повышении качества изображений за счет уменьшения ошибок прогнозирования. Устройство декодирования изображений содержит модуль внутреннего прогнозирования для, когда режим кодирования для блока кодирования является режимом внутреннего кодирования, выполнения процесса внутрикадрового прогнозирования над каждым бло...
2544799
Система мобильной связи
Изобретение относится к системе мобильной связи. Технический результат изобретения заключается в повышении эффективности управления мобильностью мобильного терминала. Система связи имеет две или более зон MBSFN (одночастотная сеть для услуги широковещательной и многоадресной передачи мультимедиа), в каждой из которых MBMS (Услуга Широковещательной и Многоадресной Передачи Мультимедиа) предоставл...
2546310
Устройство кодирования изображений, устройство декодирования изображений, способ кодирования изображений и способ декодирования изображений
Изобретение относится к вычислительной технике, а именно к устройству и способу декодирования изображений. Техническим результатом является повышение эффективности декодирования информации. Устройство декодирования изображений принимает кодированный с прогнозированием поток битов, который создается посредством разделения каждого кадра сигнала движущегося изображения на опорные блоки заданного ра...
2546325
Устройство управления двигателем
Изобретение относится к области электротехники и может быть использовано для управления дивгателем. Технический результат - повышение точности определения типа двигателя. Устройство (1) управления двигателем включает в себя: секцию (6) установки команд частоты для вывода множества команд частоты; секцию (5) формирования команд напряжения AC для формирования и вывода команды напряжения AC на осно...
2546671
Устройство кодирования изображений, устройство декодирования изображений, способ кодирования изображений, способ декодирования изображений и устройство прогнозирования изображений
Изобретение относится к устройству кодирования/декодирования изображений. Техническим результатом является обеспечение высокоточного прогнозирования, даже когда значение сигнала варьируется вдоль направления прогнозирования, за счет этого повышая качество изображений. Указанный технический результат достигается тем, что когда параметр внутреннего прогнозирования указывает процесс горизонтального...
2547457
Устройство кодирования изображений, устройство декодирования изображений, способ кодирования изображений и способ декодирования изображений
Изобретение относится к средствам кодирования и декодирования изображений. Технический результат заключается в повышении эффективности кодирования и декодирования. Модуль внутреннего предсказания настоящего изобретения, если режим кодирования, выбранный посредством модуля управления кодированием, является режимом внутреннего предсказания, формирует предсказанное изображение (Pi n) посредством вы...
2547617
Устройство кодирования движущихся изображений, устройство декодирования движущихся изображений, способ кодирования движущихся изображений и способ декодирования движущихся изображений
Изобретение относится к вычислительной технике. Технический результат заключается в уменьшении объема кода. Устройство декодирования изображений содержит модуль для выполнения процесса декодирования с переменной длиной слова над кодированными данными, мультиплексированными в поток битов, для получения сжатых данных, режима кодирования и информации индекса, каждое из которых связано с блоком коди...
2549512
Способ связи, базовая станция и мобильный терминал
Изобретение относится к области мобильной связи стандарта долгосрочного развития (LTE). Техническим результатом является повышение эффективности использования радиоресурсов. Предложена базовая станция реализующая процесс выполнения группировки мобильного терминала, который является назначением передачи управляющего сигнала L1/L2, процесс выделения управляющего сигнала L1/L2, который должен перед...
2551135
Способ кодирования изображения, способ декодирования изображения, кодер изображения и декодер изображения, и поток битов кодированного изображения, и носитель записи
Изобретение относится к области кодирования изображения для обработки сжатия входных сигналов изображения, состоящих из множества компонентов цвета. Техническим результатом является применение обработки кодирования к трем компонентам цвета, используя формат 4:0:0, что позволяет устанавливать одинаковую информацию времени или одинаковые режимы кодирования для соответствующих компонентов цвета. Ук...
2551898
Усилитель и устройство обработки сигналов
Группа изобретений относится к усилителю устройства обработки сигналов. Технический результат заключается в обеспечении возможности усиления входного сигнала, содержащего низкочастотный компонент. Когда переключатель (SW1) задается выключенным, а переключатель (SW2) задается включенным, напряжение контактного вывода (205) SigOut стабилизируется с помощью опорного напряжения, и напряжение смещени...
2553086
Система мобильной связи
Изобретение относится к мобильной связи. Технический результат состоит в повышении качества связи. Для этого сота Закрытой Абонентской Группы (Closed Subscriber Group, CSG) представляет собой соту, которая обеспечивает возможность использования абонентов. Для того чтобы получать службу от соты CSG, пользовательскому оборудованию требуется сообщить идентификатор CSG-ID, который невозможно получит...
2554533
Пластинчатый теплообменник и теплонасосное устройство
Изобретение относится к области теплотехники и может быть использовано в пластинчатых теплообменниках. Пластинчатый теплообменник включает в себя стопу из множества пластин, каждая из которых имеет вход и выход для текучей среды. Каждые соседние две пластины скреплены друг с другом в своих областях, где верхние части гофреного участка, предусмотренного в нижней из пластин, и нижние части гофрено...
2554706
Устройство кодирования изображений, устройство декодирования изображений, способ кодирования изображений и способ декодирования изображений
Изобретение относится к устройствам кодирования и декодирования изображений. Техническим результатом является повышение качества изображений. Контурный фильтр 6 включает в себя модуль 12 классификации областей для извлечения оценочной величины каждой из областей, которые составляют локальное декодированное изображение, чтобы классифицировать каждую из областей по классу, которому принадлежит обл...
2557768
Теплообменник, холодильник, снабженный теплообменником и устройство кондиционирования воздуха, снабженное теплообменником
Изобретение относится к теплотехнике и может использоваться при изготовлении теплообменников. Теплообменник из оребренных трубок включает в себя множество параллельно расположенных теплообменных трубок 10 и множество листообразных ребер 1, предусмотренных ортогонально теплообменным трубкам 10, причем каждая из теплообменных трубок находится в контакте с фланцами ребер листообразных ребер и вклад...
2557812
Устройство управления для роторной электрической машины
Изобретение относится к области электротехники и может быть использовано для управления электрической машиной без использования датчика положения. Технический результат - повышение точности оценки степени магнитного насыщения и минимально необходимого значения времени подачи, которое позволяет осуществить оценку положения ротора. В устройстве управления блок (5) хранения сохраняет значения токов...
2561708
Устройство возбуждения для устройства преобразования мощности и способ возбуждения устройства преобразования мощности
Изобретение относится к преобразовательной технике. Устройство возбуждения (15), возбуждающее преобразователь мощности (9), который включает в себя переключающий элемент(3), сформированный из полупроводника с широкой запрещенной зоной, включает в себя модуль (11) вывода ШИМ-сигналов, который формирует возбуждающий сигнал, который возбуждает переключающий элемент (3) с помощью ШИМ; модуль (13) ум...
2563966
Устройство кодирования изображений, устройство декодирования изображений, способ кодирования изображений и способ декодирования изобраений
Изобретение относится к средствам кодировании изображений. Техническим результатом является повышение качества изображения посредством уменьшения возникающих локально ошибок предсказания. В устройстве, когда модуль внутреннего предсказания выполняет предсказание с усреднением, модуль внутреннего предсказания выполняет процедуру фильтрации на целевом пикселе внутреннего предсказания, расположенно...
2565038
Устройство оценки состояния заряда
Изобретение относится к контролю аккумуляторных батарей. Сущность: устройство оценки состояния заряда включает в себя первый и второй арифметические блоки, а также арифметический блок коррекции. Первый арифметический блок 30 выполнен с возможностью вычисления в качестве первого значения оценки состояния заряда текущего значения оценки состояния заряда, вычисляемого на основе емкости батареи,...
2565339
Наружный блок для устройства кондиционирования воздуха
Настоящее изобретение относится к наружному блоку для устройства кондиционирования воздуха, в частности к конструкции ручки наружного блока. Наружный блок для устройства кондиционирования воздуха, включающий в себя оболочку корпуса, имеющую верхнюю и боковую панели, и нижний участок, при этом оболочка корпуса наружного блока внутри имеет машинное отделение и отделение воздухпередающего устройств...
2568182
Устройство кодирования изображений, устройство декодирования изображений, способ кодирования изображений и способ декодирования изображений
Изобретение относится к технологиям кодирования и декодирования видеоизображений. Техническим результатом является повышение эффективности декодирования информации. Предложены устройство и способ декодирования изображений. Устройство декодирования изображений декодирует кодированный с прогнозированием поток битов для получения сигнала движущегося изображения. При этом указанный поток битов созда...
2571596
Устройство кодирования движущихся изображений и устройство декодирования движущихся изображений
Изобретение относится к вычислительной технике. Технический результат заключается в повышении эффективности декодирования за счет адаптивного переключения между размерами блоков преобразования. Устройство декодирования изображений содержит модуль декодирования переменной длины для декодирования информации о размере макроблоков и режима кодирования и для декодирования параметров предсказания, соо...
2573222
Устройство управления вращающейся машины переменного тока
Изобретение относится к области электротехники и может быть использовано во асинхронной и синхронной электрической машине без использования датчика положения. Технический результат - уменьшение вибраций и шумов. Устройство управления вращающейся машины переменного тока содержит средство управления для приема команды вектора тока и вектора тока обнаружения в качестве входных данных и для вывода...
2576246
Устройство декодирования изображений, устройство кодирования изображений, способ декодирования изображений и способ кодирования изображений
Изобретение относится к области кодирования/декодирования изображений для кодирования движущегося изображения с высокой степенью эффективности. Техническим результатом является повышение качества изображений. Указанный технический результат достигается тем, что модуль 11 контурного фильтра выполняет классификацию по классам локального декодированного изображения, сформированного посредством моду...
2577320
Управляющее устройство для вращающейся машины переменного тока
Изобретение относится к области электротехники и может быть испольтзовано для управления вращающейся электрической машиной, такой как индукционная (асинхронная или синхронная) машина. Техническим результатом является обеспечение плавного возбуждения в диапазоне от области низкой скорости до области высокой скорости. Управляющее устройство для вращающейся машины переменного тока содержит блок (3...
2577529
Система с несколькими устройствами отображения
Изобретение относится к системе с несколькими устройствами отображения, которая создана посредством объединения множества устройств отображения. Технический результат заключается в экономии электроэнергии и поддержании одинакового срока службы каждого устройства отображения. Система состоит из блока отображения и компоновки видеоокон и контроллера источника питания. Блок отображения и компоновки...
2579678
Устройство кодирования движущихся изображений, устройство декодирования движущихся изображений, способ кодирования движущихся изображений и способ декодирования движущихся изображений
Изобретение относится к вычислительной технике. Технический результат заключается в уменьшении объема кода, связанного с режимом внутреннего предсказания без снижения эффективности предсказания. Устройство декодирования движущихся изображений содержит модуль декодирования переменной длины; модуль обратного квантования; модуль формирования изображений предсказания; и модуль суммирования изображен...
2580073
Устройство управления источниками света и способ управления источниками света
Изобретение относится к устройству управления источниками света. Техническим результатом является обеспечение надлежащей яркости, даже если выход из строя вследствие короткого замыкания возникает в каком-либо из множественных источников света. Результат достигается тем, что микрокомпьютер 900 устройства управления источниками света указывает светодиод, принадлежащий светодиодам 111-116 и вышедши...
2581048
Устройство управления мультидисплейным отображением и мультидисплейная система
Изобретение относится к устройству управления мультидисплейным отображением и к мультидисплейной системе, где множество дисплеев размещаются в решетчатой конфигурации, чтобы составлять один экран отображения. Техническим результатом является обеспечение простого отображения множества видео через операцию над позициями отображения видео и размеров отображения видео для группы видео. Указанный тех...
2581163
Способ декодирования изображения в форме битового потока
Изобретение относится к технологиям кодирования/декодирования изображений. Техническим результатом является обеспечение декодирования битового потока посредством ранее определенного синтаксиса битового потока. Предложен способ декодирования изображения в форме битового потока, в котором изображение кодируется и представляется посредством коэффициентов, и в котором каждый коэффициент находится в...
2584763
Наружный модуль для устройства кондиционирования воздуха
Настоящее изобретение относится к наружному модулю для устройства кондиционирования воздуха. Модуль содержит: корпус, наружный теплообменник, вентилятор, мотор вентилятора, пластину, которая размещается внутри корпуса впереди наружного теплообменника и поддерживает мотор вентилятора; и нагреватель, который размещается в одном из положения на пластине и около пластины, поддерживающей мотор вентил...
2585722
Устройство кодирования изображений, устройство декодирования изображений, способ кодирования изображений и способ декодирования изображений
Изобретение относится к технологиям кодирования и декодирования изображений. Техническим результатом является повышение эффективности кодирования/декодирования за счет уменьшение объема кода, требуемого для кодирования значения смещения. Предложено устройство кодирования изображения. Устройство содержит фильтр, который выполняет процесс фильтрации над локально декодированным изображением, которо...
2586029
Система мобильной связи
Изобретение относится к мобильной связи. Технический результат заключается в уменьшении энергопотребления сетевого узла в локальном диапазоне. При определении того, что существует триггер переключения, локальное eNB переключается из обычного режима работы на работу в состоянии энергосбережения. При работе в состоянии энергосбережения локальный eNB прекращает операцию передачи части сигналов пере...
2586884
Система кондиционирования воздуха
Настоящее изобретение относится к системе кондиционирования воздуха, которая содержит множество охладительных систем, включающих внутренний блок, соединенный с наружным. Система управляет множеством охладительных систем посредством одного удаленного контроллера, при этом внутренний блок включает датчик обнаружения человека, который функционирует одновременно с внутренним блоком, и когда информац...
2595976
Наружный модуль для устройства кондиционирования воздуха
Настоящее изобретение относится к наружному модулю для устройства кондиционирования воздуха. Он содержит корпус с передней панелью, в которой сформировано отверстие; перегородку, которая делит корпус в поперечном направлении на машинную камеру и камеру устройства подачи воздуха; вентилятор; наружный теплообменник, проходящий вдоль боковой поверхности корпуса; колоколообразное расширение, которое...
2596969
Устройство кодирования движущихся изображений, устройство декодирования движущихся изображений, способ кодирования движущихся изображений и способ декодирования движущихся изображений
Изобретение относится к вычислительной технике. Технический результат заключается в уменьшении объема кода. Устройство декодирования изображений содержит модуль декодирования с переменной длиной слова для получения сжатых данных, режима кодирования и информации индекса, каждое из которых связано с блоком кодирования; модуль предсказания с компенсацией движения для генерирования изображения предс...
2597499
Кондиционер воздуха и способ управления кондиционером воздуха
Настоящее изобретение относится к кондиционеру воздуха и способу управления кондиционером. Кондиционер содержит: схему конвертера; схему инвертера для функционирования двигателя, который приводит в действие компрессор; схему управления инвертером, которая приводит в действие схему инвертера, и термодатчик, который детектирует температуру наружного воздуха, вводимую в схему управления. При этом у...
2598867
Система мобильной связи
Изобретение относится к мобильной связи. Технический результат - повышение качества связи. Для этого сота Закрытой Абонентской Группы (Closed Subscriber Group, CSG) представляет собой соту, которая обеспечивает возможность использования абонентов. Чтобы получать службу от соты CSG, пользовательскому оборудованию требуется сообщить идентификатор CSG-ID, который невозможно получить в месте вне д...
2599542
Многоэкранное устройство отображения
Изобретение относится к многоэкранному устройству отображения. Техническим результатом является обеспечение управления источником света, подходящего для режима рассчитанной целевой яркости. Микрокомпьютер рассчитывает целевую яркость для каждого режима яркости. Каждое проекционное устройство отображения видеоизображений задает целевое значение тока управления, соответствующее рассчитанной целево...
2602337
Устройство кодирования изображений, устройство декодирования изображений, способ кодирования изображений и способ декодирования изображений
Изобретение относится к средствам кодирования и декодирования изображений. Технический результат заключается в повышении эффективности кодирования и декодирования при повышении числа режимов направленного предсказания без увеличения объемов вычислений. Модуль внутреннего предсказания настоящего изобретения, если режим кодирования, выбранный посредством модуля управления кодированием, является ре...
2602365
Устройство обработки сигналов, способ обработки сигналов и устройство считывания информации
Изобретение относится к обработке сигналов при считывании информации. Технический результат заключается в повышении точности распознавания данных. Блок (41) формирования значения оценки наличия/отсутствия структуры определяет наличие или отсутствие структуры путем сравнения данных (d3) распознавания и данных (d44) коррекции. Работая в соответствии со значением (d41) оценки наличия/отсутствия струк...
2606548
Вентиляционное устройство
Изобретение относится к вентиляционному устройству, содержащему корпус; вентилятор для откачного воздуха, сконфигурированный для введения в корпус откачного воздуха, откачиваемого из пространства; вентилятор для приточного воздуха, сконфигурированного для введения в корпус приточного воздуха; теплообменник, сконфигурированный для обмена теплом между откачным воздухом и приточным воздухом; панель,...
2606578
Охлаждающий шкаф
Для хранения на холоде имеются теплоизоляционный шкаф, который открыт спереди; распахивающиеся от центра левая дверь и правая дверь, которые открывают и закрывают передний проем; корпус перегородки, который прикреплен с возможностью поворота и обращен внутрь пространства для хранения на холоде и который закрывает зазор между левой дверью и правой дверью; и предотвращающий конденсацию нагревател...
2606789
Устройство кодирования движущихся изображений, устройство декодирования движущихся изображений, способ кодирования движущихся изображений и способ декодирования движущихся изображений
Изобретение относится к вычислительной технике. Технический результат заключается в повышении качества изображений за счет уменьшения ошибок предсказания. Устройство декодирования изображений содержит модуль интрапредсказания для выполнения процесса внутрикадрового предсказания над блоком, который является единицей для процесса предсказания для формирования изображения предсказания, когда режим ко...
2608674
Устройство кодирования изображений, устройство декодирования изображений, способ кодирования изображений и способ декодирования изображений
Изобретение относится к вычислительной технике. Технический результат заключается в повышении качества изображения за счет уменьшения локально возникающих ошибок предсказания. Устройство кодирования изображений содержит модуль внутреннего предсказания, причем, когда режимом кодирования, соответствующим одному из блоков кодирования, на которые разделено введенное изображение, является режим внутрен...
2610294
Система мобильной связи
Изобретение относится к мобильной связи. Технический результат заключается в том, что опорный сигнал передается к UE. Тем самым опорный сигнал для измерения мощности может передаваться менее часто, чем обычно, и энергопотребление инфраструктуры может быть понижено. Система мобильной связи включает в себя множество eNB, которые осуществляют радиосвязь с UE и МСЕ, который управляет eNB. МСЕ указывае...
2612030
Система кондиционирования воздуха, включающая в себя устройство для управления давлением и перепускной клапан
Изобретение относится к системам кондиционирования воздуха. Система кондиционирования воздуха содержит первый и второй теплообменники на стороне использования и теплообменник на стороне источника тепла, соответственно соединенные последовательно; компрессор, подсоединенный между первым теплообменником на стороне использования и теплообменником на стороне источника тепла; расширительный клапан, под...
2612995
Устройство для крепления соединительного провода, коробка для электрических компонентов, в которой применяется такое устройство для крепления провода, и комнатный блок устройства для кондиционирования воздуха
Настоящее изобретение относится к устройству крепления соединительного провода. Устройство крепления содержит элемент монтажа провода и зажим для провода, расположенные напротив друг друга для удержания между ними соединительного провода, при этом на поверхностях элемента монтажа провода и зажима имеются прижимающие провод гребни, проходящие в направлении, поперечном направлению прокладки провода,...
2613859
Полупроводниковое устройство преобразования энергии
Изобретение относится к области электротехники и может быть использовано в полупроводниковых преобразователях энергии. Техническим результатом является повышение надежности функционирования за счет обеспечения требуемого значения тока. Полупроводниковое устройство преобразования энергии включает в себя: полупроводниковый преобразователь (4) энергии, который выполняет преобразование энергии с испол...
2614025
Устройство управления источниками света и способ управления источниками света
Изобретение относится к устройству управления источниками света и способу управления источниками света для управления множеством параллельно подключенных источников света. Техническим результатом является создание устройства управления источниками света, способного обеспечивать непрерывное излучение света источником света даже в том случае, если в любом из множества параллельно соединенных источни...
2614037
Устройство преобразования энергии
Изобретение относится к области преобразовательной техники. Предложено устройство преобразования энергии, которое может выполнять операцию потребления рекуперативной энергии, для потребления рекуперативной энергии, генерируемой двигателем, и операцию усиления, для усиления мощности постоянного тока, подаваемой на инвертор, без увеличения размера устройства и стоимости устройства, в конфигурации с...
2615170
Устройство преобразования мощности
Изобретение относится к области электротехники и может быть использовано в устройствах преобразования мощности. Техническим результатом является осуществление преобразования мощности с помощью двухплечевого управления ШИМ-модуляцией с высокой универсальностью, которое может ослаблять ограничения на коэффициент мощности и может эффективно использовать свои возможности независимо от коэффициента мощ...
2615492
Устройство декодирования изображений, устройство кодирования изображений, способ декодирования изображений и способ кодирования изображений
Изобретение относится к области кодирования/декодирования изображений для кодирования движущегося изображения с высокой степенью эффективности. Техническим результатом является повышение качества изображений. Указанный технический результат достигается тем, что модуль 11 контурного фильтра выполняет классификацию по классам локального декодированного изображения, сформированного посредством модуля...
2616598
Рекуперативный преобразователь
Изобретение относится к области электротехники и может быть использовано в системах электропривода для рекуперативного торможения. Техническим результатом является обеспечение достаточного уровня мощности при рекуперации энергии. Рекуперативный преобразователь (100) включает в себя блок (12) преобразования мощности, который включает в себя множество переключающих элементов, вывод (11) переменного...
2617675
Устройство управления источником света и способ управления источником света
Изобретение относится к устройству управления источниками света. Техническим результатом является обеспечить устройство управления источником света с возможностью обнаружения неисправности в источниках света из-за неисправности типа обрыва цепи и предотвращения протекания чрезмерного тока через другие нормально работающие источники света, в которых не возникла неисправность. Результат достигается...
2617992
Многоэкранное устройство отображения
Изобретение относится к многоэкранному устройству отображения. Технический результат – обеспечение возможности многоэкранному устройству отображения задавать идентификационные номера для устройств отображения. Для этого предложено многоэкранное устройство отображения, в котором блок вычисления ведущего устройства, который идет первым в последовательности передачи, вычисляет координаты множества ус...
2618382
Устройство контроля батареи, система аккумулирования электроэнергии и система управления
Изобретение относится к контролю батареи. Сущность: устройство контроля батареи содержит получатель информации об электрическом токе, вытекающем из батареи или втекающем в батарею, расположенную внутри контейнера, имеющего впуск воздуха и выпуск воздуха; вычислитель количества выделившегося тепла, вычисляющий количество тепла, выделившегося внутри батареи, на основании информации об электрическом...
2618773
Устройство кодирования изображений, устройство декодирования изображений, способ кодирования изображений и способ декодирования изображений
Изобретение относится к технологиям кодирования/декодирования изображений. Техническим результатом является повышение эффективности кодирования/декодирования изображений. Предложено устройство кодирования изображений, которое создает кодированный с прогнозированием поток битов. Поток битов создается посредством разделения каждого кадра сигнала движущегося изображения на множество блоков и посредст...
2619891
Устройство теплового насоса и установка для кондиционирования воздуха, водонагреватель с тепловым насосом, холодильная установка и морозильный аппарат, включающие в себя устройство теплового насоса
Группа изобретений относится к холодильной технике. Устройство теплового насоса включает в себя инвертор, который прикладывает требуемое напряжение к двигателю компрессора. Содержит блок управления инвертора, который восстанавливает значения межфазных и фазных напряжений или фазных токов, имеющих частоту выше, чем частота во время нормального режима функционирования, для выполнения возбуждения с б...
2621449
Холодильник
Изобретение относится к холодильной технике. Контроллер холодильника включает в себя таблицу параметров, хранящую сопротивление потоку устройства для понижения давления, связанное с каждой из температур наружного воздуха, причем сопротивления потоку отличаются друг от друга, блок установки режима работы, выполненный с возможностью выбора одного из сопротивлений потоку в таблицы параметров на основ...
2624679
Дверь холодильника и холодильник, включающий в себя такую дверь холодильника
Описаны дверь холодильника, которая делает возможным минимизацию увеличения себестоимости и уменьшения прочности, и холодильник, включающий эту дверь. Дверь холодильника включает в себя дверной блок, вмещающий вакуумно-тепловую изоляцию, дверной блок, который заполнен пенотеплоизоляцией, раму, закрепленную на дверном блоке, которая используется для поддержания с возможностью перемещения дверного б...
2627067
Устройство кодирования движущихся изображений и устройство декодирования движущихся изображений
Изобретение относится к вычислительной технике. Технический результат заключается в повышении эффективности кодирования за счет адаптивного переключения между размерами блоков преобразования. Устройство декодирования движущихся изображений содержит модуль декодирования для декодирования информации о размере макроблока, указанной для последовательности, содержащей один или более кадров изображений,...
2627101
Устройство кодирования изображений, устройство декодирования изображений, способ кодирования изображений и способ декодирования изображений
Изобретение относится к кодированию со сжатием и передаче изображения, а также к декодированию кодированных данных, чтобы восстанавливать изображение. Техническим результатом является повышение качества изображения. Устройство декодирования изображений содержит средство декодирования переменной длины и контурный фильтр. Процесс декодирования переменной длины выполняется в отношении параметра для ф...
2627104
Многоэкранное устройство отображения
Изобретение относится к многоэкранным устройствам отображения. Технический результат заключается в обеспечении сохранения целостности отображения при невозможности одного из устройств отображения, входящих в многоэкранную систему устройств отображения, принимать сигналы. Многоэкранное устройство отображения включает в себя множество устройств - экраны скомбинированы таким образом, что они образуют...
2628235
Устройство кодирования изображений, устройство декодирования изображений, способ кодирования изображений и способ декодирования изображений
Изобретение относится к средствам кодирования и декодирования изображений. Технический результат заключается в повышении эффективности кодирования и декодирования при повышении числа режимов направленного предсказания без увеличения объемов вычислений. Модуль внутреннего предсказания настоящего изобретения, если режим кодирования, выбранный посредством модуля управления кодированием, является режи...
2628259
Холодильник
Холодильник включает отсек хранения, образованный теплоизоляционными стенками и имеющий открытую переднюю часть; канал холодного воздуха, проходящий в вертикальном направлении холодильника вдоль внутренней стороны задней стенки отсека хранения. Канал холодного воздуха включает проход холодного воздуха, который выполнен с возможностью подачи холодного воздуха. Холодильник дополнительно включае...
2628430
Теплоизоляционный коробчатый корпус и холодильник
Холодильник включает коробчатый корпус, сформированный из внешнего корпуса и внутреннего корпуса. Коробчатый корпус включает в себя заднюю стенку и боковые стенки; отделение для хранения, сформированное посредством разделения внутренней части коробчатого корпуса с помощью разделительной стенки таким образом, что оно имеет участок отверстия, сформированный на передней стороне коробчатого корпуса; в...
2629967
Холодильник
Холодильник включает в себя контур хладагента, который образован посредством соединения трубами компрессора, конденсатора, расширительного устройства и охладителя и по которому проходит хладагент, холодильное отделение, в котором внутренняя температура установлена в температурном интервале охлаждения, морозильное отделение, которое расположено под холодильным отделением и в котором внутренняя те...
2630704
Устройство кодирования движущихся изображений, устройство декодирования движущихся изображений, способ кодирования движущихся изображений и способ декодирования движущихся изображений
Изобретение относится к вычислительной технике. Технический результат заключается в уменьшении объема кода, связанного с режимом внутреннего предсказания без снижения эффективности предсказания. Устройство кодирования движущихся изображений содержит модуль разделения на блоки для разделения изображения, которое содержит сигнал яркости и цветоразностный сигнал, на блоки, каждый из которых является...
2632170
Переключающее устройство, устройство преобразования мощности, устройство возбуждения двигателя, нагнетатель воздуха, компрессор, кондиционер воздуха, холодильник и морозильный аппарат
Изобретение относится к области электротехники и может быть использовано в устройстве преобразования мощности, переключающем устройстве, устройстве возбуждения двигателя, нагнетателе воздуха, компрессоре, кондиционере воздуха, холодильнике и морозильном аппарате. Задачей настоящего изобретения является обеспечение переключающего устройства в устройстве преобразования мощности, которое расположено...
2632916
Холодильник
Холодильник включает коробчатый корпус, включающий в себя внешнюю оболочку, сформированную из внешнего корпуса и внутреннего корпуса, при этом внешняя оболочка включает в себя: верхнюю стенку; заднюю стенку; боковые стенки; и нижнюю стенку. Коробчатый корпус имеет отделение для хранения, сформированное внутри внешней оболочки, и имеет отверстие, сформированное на передней стороне коробчатого корпу...
2632941
Теплоизоляционный коробчатый корпус, холодильник и устройство, включающее в себя теплоизоляционный коробчатый корпус
Теплоизоляционный коробчатый корпус включает: заднюю стенку; правую боковую стенку, проходящую от правой стороны задней стенки; левую боковую стенку, проходящую от левой стороны задней стенки; верхнюю стенку; нижнюю стенку; отверстие, сформированное на передней стороне теплоизоляционного коробчатого корпуса; вакуумный теплоизоляционный материал, размещенный между частью внутреннего корпуса, соотве...
2632982
Проекционное устройство воспроизведения изображений
Настоящее изобретение относится к проекционным устройствам воспроизведения изображений, которые проецируют и показывают изображения с задней стороны экрана. Проекционное устройство (1) воспроизведения изображений включает в себя экранный узел (103), который имеет экран (102), проекционный блок (2), который проецирует изображение на экран (102) со стороны задней поверхности упомянутого экрана, карк...
2633449
Светодиодное устройство отображения и устройство отображения видео
Изобретение относится к светодиодным устройствам отображениям и устройствам отображения видео, а именно к управлению яркостями светодиодов. Техническим результатом является обеспечение компенсации плохого обзора экрана дисплея, вызванного изменениями характеристик яркости у отдельных светодиодов, без необходимости прекращения работы устройства. Светодиодное устройство отображения включает в себя б...
2636111
Камера для хранения и холодильник
Предложены камера для хранения и холодильник, которые обеспечивают возможность открывания двери на 90 градусов или больше, несмотря на установку камеры для хранения или холодильника боковой поверхностью близко к стене. Левая дверь холодильного отделения для закрывания проема холодильника включает в себя левую дверную раму и левую переднюю панель. Переходный участок предусмотрен на участке угла...
2636160
Устройство на светодиодных элементах отображения
Изобретение относится к устройствам на светодиодных элементах отображения. Устройство (100) отображения включает в себя первый светодиодный элемент отображения (1), включающий в себя первый светодиод (1a), второй светодиодный элемент отображения (2), включающий в себя второй светодиод (2a), и корректор (18) яркости. Корректор (18) яркости корректирует яркость первого светодиода (1a) в соответствии...
2636803
Кондиционер и управляющая программа
Настоящее изобретение относится к кондиционеру и его управляющей программе. Кондиционер содержит: внутренний блок; наружный блок для обнаружения температуры наружного воздуха; и управляющее устройство, установленное во внутреннем блоке для выполнения управления работой внутреннего блока и нагревателя, размещенного в помещении, при этом управляющее устройство содержит: запоминающее устройство для х...
2636915
Устройство кодирования изображений, устройство декодирования изображений, способ кодирования изображений и способ декодирования изображений
Группа изобретений относится к технологиям кодирования/декодирования видеоизображений. Техническим результатом является повышение эффективности кодирования/декодирования изображений за счет уменьшения объема кода, требуемого для кодирования значения смещения. Предложено устройство кодирования изображений. Устройство содержит средство сжатия изображения, фильтр, кодер. Средство сжатия изображения о...
2638743
Жидкокристаллический дисплей и многоэкранный дисплей
Изобретение относится к жидкокристаллическому дисплею и многоэкранному дисплею. Техническим результатом является повышение точности обнаружения яркости источника. Жидкокристаллический дисплей содержит: жидкокристаллическую панель; источник света LED для освещения задней поверхностной стороны упомянутой жидкокристаллической панели светом; диффузионную пластинку, расположенную между жидкокристаллич...
2640651
Устройство кодирования движущихся изображений, устройство декодирования движущихся изображений, способ кодирования движущихся изображений и способ декодирования движущихся изображений
Изобретение относится к вычислительной технике. Технический результат заключается в повышении качества изображений за счет уменьшения ошибок предсказания. Устройство декодирования изображений содержит модуль интра-предсказания для, когда режим кодирования для блока, который является модулем для процесса предсказания, представляет собой режим интра-кодирования, выполнения процесса внутрикадрового п...
2642356
Холодильник
Холодильник содержит корпус, включающий камеру хранения продуктов и машинную камеру, которая имеет всасывающее отверстие, образованное, по меньшей мере, через участок боковой поверхности машинной камеры, а также конденсатор и вентилятор, расположенные в машинной камере. Если смотреть в горизонтальном сечении машинной камеры, конденсатор имеет I-образную форму, вентилятор 3 расположен параллельно к...
2644961
Устройство кодирования изображений, устройство декодирования изображений, способ кодирования изображений и способ декодирования изображений
Группа изобретений относится к технологиям кодирования/декодирования изображений. Техническим результатом является повышение эффективности кодирования/декодирования изображений. Предложено устройство декодирования изображений, которое декодирует кодированный с прогнозированием поток битов для получения сигнала движущегося изображения, при этом указанный поток битов создается посредством разделения...
2647655
Холодильник
Холодильник включает в себя корпус, который имеет передний проем; шарнир, предусмотренный на боковой поверхности корпуса и шарнирно установленную дверь для закрывания переднего проема. Дверь включает элемент внешней поверхности, который представляет собой армированное стекло или полимер, образующие переднюю поверхность двери и имеющие форму плоской пластины, элемент внутренней поверхности, образую...
2647915
Устройство кодирования изображений, устройство декодирования изображений, способ кодирования изображений и способ декодирования изображений
Изобретение относится к вычислительной технике. Технический результат заключается в повышении качества изображения за счет уменьшения локально возникающих ошибок предсказания. Устройство кодирования изображений содержит модуль внутреннего предсказания для выполнения процедуры внутрикадрового предсказания для каждого блока, представляющего собой единичный элемент для предсказания блока кодирования,...
2648575
Устройство кодирования изображений, устройство декодирования изображений, способ кодирования изображений и способ декодирования изображений
Изобретение относится к вычислительной технике. Технический результат заключается в повышении качества изображения за счет уменьшения локально возникающих ошибок предсказания. Устройство кодирования изображений содержит модуль внутреннего предсказания для выполнения процедуры внутрикадрового предсказания для каждого блока, представляющего собой единичный элемент для предсказания блока кодирования,...
2648578
Устройство кодирования изображений, устройство декодирования изображений, способ кодирования изображений и способ декодирования изображений
Изобретение относится к средствам кодирования и декодирования изображений. Технический результат заключается в повышении эффективности кодирования и декодирования при повышении числа режимов направленного предсказания без увеличения объемов вычислений. Модуль внутреннего предсказания настоящего изобретения, если режим кодирования, выбранный посредством модуля управления кодированием, является режи...
2649775
Система мобильной связи
Изобретение относится к мобильной связи. Технический результат заключается в том, что опорный сигнал для измерения мощности может передаваться менее часто, чем обычно, и энергопотребление инфраструктуры может быть понижено. Система мобильной связи включает в себя множество eNB, которые осуществляют радиосвязь с UE и МСЕ, который управляет eNB. МСЕ указывает подкадр MBSFN (МСЕ), служащий в качестве...
2651808
Наружный блок кондиционера
Настоящее изобретение относится к наружному блоку кондиционера. Он содержит разделительную перегородку, которая разделяет машинное отделение и отделение для нагнетательного вентилятора; отделение для содержания электрической части, которое расположено так, чтобы проходить от разделительной перегородки со стороны машинного отделения к стороне разделительной перегородки отделения для нагнетательного...
2652963
Дверца холодильника и холодильник
Дверца холодильника включает в себя внутреннюю панель и внешнюю панель. Внешняя панель включает в себя переднюю внешнюю субпанель, образующую участок передней поверхности дверцы, заднюю внешнюю субпанель, размещенную позади передней внешней субпанели и образующую участок передней поверхности дверцы, и соединитель, соединяющий переднюю внешнюю субпанель и заднюю внешнюю субпанель. Соединитель включ...
2653070
Холодильник
Изобретение относится к конфигурациям рабочих дисплеев холодильников. Холодильник имеет дисплей, образованный с уменьшенным числом элементов, и имеет повышенную производительность, уменьшенную себестоимость и стабильное качество, даже когда рабочий дисплей обеспечивает поверхностную эмиссию. Холодильник включает в себя панель (6) рабочего дисплея, включающую прозрачный элемент (11), прозрачный лис...
2653098
Устройство кодирования движущихся изображений, устройство декодирования движущихся изображений, способ кодирования движущихся изображений и способ декодирования движущихся изображений
Изобретение относится к вычислительной технике. Технический результат заключается в уменьшении объема кода. Устройство декодирования изображений содержит модуль декодирования с переменной длиной слова для получения сжатых данных, режима кодирования и информации индекса, каждое из которых связано с блоком кодирования; модуль предсказания с компенсацией движения для генерирования изображения предска...
2654136
Устройство кодирования изображений, устройство декодирования изображений, способ кодирования изображений и способ декодирования изображений
Изобретение относится к вычислительной технике. Технический результат заключается в повышении качества изображения за счет уменьшения локально возникающих ошибок предсказания. Устройство кодирования изображений содержит модуль внутреннего предсказания для, когда режимом кодирования, соответствующим одному из блоков кодирования, на которые разделено введенное изображение, является режим внутреннего...
2654153
Теплообменное вентиляционное устройство
Изобретение относится к теплообменному вентиляционному устройству, включающему в себя нагреватель, который нагревает наружный воздух, подаваемый снаружи помещения в теплообменник. Теплообменное вентиляционное устройство содержит канал приточного воздуха для направления наружного воздуха, находящегося снаружи помещения, вовнутрь помещения; канал вытяжного воздуха для направления воздуха, находящего...
2656835
Устройство декодирования изображений, устройство кодирования изображений, способ декодирования изображений и способ кодирования изображений
Изобретение относится к области кодирования/декодирования изображений. Технический результат – обеспечение повышения качества изображений. Устройство декодирования изображений содержит: декодер, который декодирует первую информацию из закодированных данных, указывающую, является ли параметр фильтра для наибольшего блока кодирования, который должен быть декодирован, аналогичным таковому для другого...
2658178
Осевой вентилятор и установка для кондиционирования воздуха, имеющая осевой вентилятор
Настоящее изобретение относится к осевому вентилятору и к установке для кондиционирования воздуха, имеющей такой осевой вентилятор. В осевом вентиляторе согласно настоящему изобретению множество лопастей вращается вокруг оси вращения лопастей для передачи текучей среды. В осевом вентиляторе каждая из множества лопастей имеет передний край у передней стороны в направлении вращения, задний край у за...
2658442
Вакуумный теплоизоляционный материал, теплоизоляционный короб, использующий теплоизоляционный материал, и способ производства теплоизоляционного материала
Группа изобретений относится к производству теплоизоляционных изделий для использования в ходильном оборудовании. Вакуумный теплоизоляционный материал включает в себя материал 2 сердцевины, сформированный из стекловолоконного блока, и наружный покрывающий слой, покрывающий материал сердцевины. Внутреннее пространство наружного покрывающего слоя имеет пониженное давление и загерметизировано. Матери...
2658725
Холодильник
Холодильник содержит теплоизоляционный коробчатый корпус, отделение для хранения, ящик для хранения, размещенный в отделении для хранения и выполненный с возможностью перемещения в направлении глубины отделения для хранения, упругий элемент, закрепленный со стороны ящика для хранения в отделении для хранения и выполненный с возможностью поджима ящика для хранения от стороны первой внутренней боков...
2661384
Устройство кодирования движущихся изображений и устройство декодирования движущихся изображений
Изобретение относится к вычислительной технике. Технический результат заключается в повышении эффективности кодирования. Устройство декодирования движущихся изображений для декодирования потока битов для извлечения движущегося изображения, причем поток битов генерируется посредством разделения изображения на множество блоков и посредством кодирования со сжатием блоков, причем устройство декодирова...
2663374
Вакуумированный теплоизоляционный материал, теплоизоляционная камера и способ изготовления вакуумированного теплоизоляционного материала
Группа изобретений относится к производству теплоизоляционных изделий для использования в холодильном оборудовании. Целью настоящего изобретения является создание вакуумированного теплоизоляционного материала, теплоизоляционной камеры и способа изготовления вакуумированного теплоизоляционного материала, где обладающий высокой воздухопроницаемостью оберточный материал используют для увеличения скор...
2663675
Устанавливаемый внутри помещения блок устройства для кондиционирования воздуха
Изобретение относится к устанавливаемому внутри помещения устройству для кондиционирования воздуха, исключающему или уменьшающему вероятность неправильного обнаружения посредством инфракрасного датчика. Устанавливаемый внутри помещения блок устройства для кондиционирования воздуха содержит: корпус с отверстием для впуска воздуха и отверстием для выпуска воздуха и вмещающий теплообменник и вентиля...
2664220
Устройство управления для вращающейся машины переменного тока
Изобретение относится к области электротехники и может быть использовано для приведения в действие вращающейся машины переменного тока, присоединенной к механическому устройству. Техническим результатом является обеспечение точности вычисления момента инерции без использования датчика скорости и датчика положения. Устройство (10) управления для вращающейся машины (1) переменного тока включает в се...
2664782
Устройство кодирования движущихся изображений, устройство декодирования движущихся изображений, способ кодирования движущихся изображений и способ декодирования движущихся изображений
Изобретение относится к вычислительной технике. Технический результат заключается в уменьшении объема кода, связанного с режимом внутреннего предсказания. Устройство декодирования движущихся изображений содержит модуль декодирования с переменной длиной слова квантованного коэффициента, параметра внутреннего предсказания и вектора движения из битового потока; модуль обратного квантования квантованн...
2665237
Система удаленного управления и способ обработки информации
Изобретение относится к системе удалённого управления и способу обработки информации для удаленного управления устройством-объектом управления через сеть. Технический результат - уменьшение нагрузки на пользовательское управление и предотвращение ошибочной операции пользователя. Система удалённого управления включает в себя устройство-объект 1 управления и устройство 2 удалённого управления, соеди...
2665921
Устройство кодирования изображений, устройство декодирования изображений, способ кодирования изображений и способ декодирования изображений
Изобретение относится к кодированию со сжатием и передаче изображения, а также к декодированию кодированных данных, чтобы восстанавливать изображение. Техническим результатом является повышение качества изображения за счет компенсации искажений. Устройство декодирования изображений содержит модуль декодирования переменной длины и модуль фильтрации. Модуль декодирования переменной длины выполняет д...
2666328
Холодильник
Холодильник включает в себя корпус-шкаф, имеющий отверстие с передней стороны, дверь, которая открывает и закрывает отверстие на передней стороне корпуса-шкафа. Дверь включает внешнюю панель, состоящую из элемента стеклянной поверхности, внутреннюю панель, расположенную напротив внешней, теплоизоляционный материал из пеноуретана и вакуумного теплоизоляционного элемента, расположенный между внешней...
2666764
Воздушный кондиционер
Настоящее изобретение относится к воздушному кондиционеру, который использует не азеотропную смесь хладагента. Воздушный кондиционер содержит компрессор, конденсатор, устройство для снижения давления, испаритель и аккумулятор соединены с помощью трубопровода для хладагента, причем холодильный цикл заправлен не азеотропной смесью хладагента и маслом для холодильной машины; контроллер, который управ...
2666824
Система связи
Изобретение относится к области связи. Техническим результатом является предотвращение ненужного перехода энергосберегающей соты между состоянием нормальной работы и состоянием энергосбережения. Предусмотрена система связи, выполненная с возможностью предотвращать ненужный переход энергосберегающей соты между состоянием нормальной работы и состоянием энергосбережения. На этапе ST1101, энергосберег...
2667148
Панель управления и способ замены панели управления
Изобретение относится к панели управления для контроля и управления установкой. Технический результат – достижение повышения эффективности решения задачи замены панели управления. Достигается тем, что панель управления включает в себя: управляющее устройство, кабель (157), образованный множеством сигнальных шин, соединенных с блоком ввода-вывода управляющего устройства, контактный блок (140), с ко...
2668076