Кондиционер воздуха и способ управления кондиционером воздуха

Иллюстрации

Показать все

Настоящее изобретение относится к кондиционеру воздуха и способу управления кондиционером. Кондиционер содержит: схему конвертера; схему инвертера для функционирования двигателя, который приводит в действие компрессор; схему управления инвертером, которая приводит в действие схему инвертера, и термодатчик, который детектирует температуру наружного воздуха, вводимую в схему управления. При этом упомянутая схема управления инвертером включает в себя блок управления фиксированной подачей питания и упомянутый блок управления фиксированной подачей питания выполняет фиксированную подачу питания переменного тока или фиксированную подачу питания постоянного тока на двигатель в соответствии с температурой наружного воздуха, детектированной термодатчиком. Причем температура наружного воздуха разделена на три температурных диапазона первой установленной температурой и второй установленной температурой, которая ниже чем первая установленная температура, когда температура наружного воздуха равна или ниже чем вторая установленная температура, обогрев выполняется посредством фиксированной подачи питания постоянного тока, и когда температура наружного воздуха выше чем вторая установленная температура и равна или ниже чем первая установленная температура, обогрев выполняется посредством фиксированной подачи питания переменного тока. Это позволяет создать кондиционер воздуха низкой себестоимости и с низким потреблением мощности без увеличения размера кондиционера, обеспечив работоспособность кондиционера, когда он установлен в низкотемпературной окружающей среде, в которой температура падает ниже гарантированной минимальной температуры электронного компонента. 3 н. и 6 з.п. ф-лы, 3 ил.

Реферат

ОБЛАСТЬ ИЗОБРЕТЕНИЯ

Настоящее изобретение относится к кондиционеру воздуха и способу управления кондиционером воздуха.

ОПИСАНИЕ УРОВНЯ ТЕХНИКИ

Для электронной платы, монтированной в наружном блоке кондиционера воздуха, установлена гарантированная минимальная температура, которая гарантирует ее функционирование, и при температуре меньше гарантированной минимальной температуры электронный компонент на электронной плате может неправильно работать и может быть поврежден. В качестве меры против этой проблемы можно рассмотреть использование электронного компонента, имеющего низкую гарантированную минимальную температуру. Однако если используется электронный компонент, имеющий низкую гарантированную минимальную температуру, уменьшение габаритов затруднено или возрастает себестоимость. Можно рассмотреть присоединение нагревателя к электронному компоненту. Однако, в этом случае, уменьшение габаритов затруднено из-за нагревателя, а возрастают себестоимость и потребляемая мощность.

Более того, в наружном блоке кондиционера воздуха при низкотемпературной окружающей среде может происходить «застой» хладагента, пока компрессор остановлен, вследствие накапливания хладагента в компрессоре. Когда происходит «застой» хладагента, нагрузка во время пуска компрессора возрастает и, таким образом, могут возникать такие проблемы, как поломка компрессора, поломка электронного компонента в результате возрастания пускового тока, или неспособность запустить компрессор вследствие отклонения системы от нормы. В качестве меры против этих проблем можно рассмотреть установку нагревателя в компрессоре для выполнения надлежащего обогрева или для подогрева компрессора при фиксированной подаче питания электродвигателя в состоянии, в котором электродвигатель компрессора не вращается.

Фиксированная подача питания, в общих чертах, поделена на фиксированную подачу питания постоянного тока и фиксированную подачу питания переменного тока. При фиксированной подаче питания постоянного тока тепло генерируется в результате потерь составляющей активного сопротивления обмотки электродвигателя компрессора (например, выложенная заявка на выдачу патента Японии под № H8-226714). При фиксированной подаче питания переменного тока тепло генерируется в результате потерь составляющей реактивного сопротивления обмотки электродвигателя компрессора (например, выложенная заявка на выдачу патента Японии под № H11-159467).

Однако, согласно этим традиционным технологиям, при фиксированной подаче питания постоянного тока, так как используется составляющая активного сопротивления обмотки электродвигателя компрессора, требуется большой ток для получения достаточной величины теплогенерации, потери велики, и, таким образом, выход по энергии плохой. С другой стороны, при фиксированной подаче питания переменного тока, так как используется составляющая реактивного сопротивления обмотки электродвигателя компрессора, когда применяется переменный ток высокой частоты, количество тепла для поддержания компрессора теплым может получаться при малом токе. Однако так как степень возрастания температуры ниже, чем при фиксированной подаче питания постоянного тока, длительное время требуется для подачи достаточного количества тепла, чтобы поддерживать компрессор теплым при крайне низкой температуре окружающей среды. Поэтому, даже если используется фиксированная подача питания, возрастает потребление мощности или длительное время требуется для достижения намеченной температуры.

Настоящее изобретение было выполнено, принимая во внимание вышеприведенные проблемы, и задача настоящего изобретения состоит в том, чтобы предоставить кондиционер воздуха, для которого себестоимость и потребление мощности сдерживаются без увеличения размера кондиционера воздуха даже в случае, где происходит застой хладагента, и кондиционер воздуха установлен в низкотемпературной окружающей среде, в которой температура падает ниже гарантированной минимальной температуры электронного компонента.

СУЩНОСТЬ ИЗОБРЕТЕНИЯ

Задача настоящего изобретения состоит в по меньшей мере частичном решении проблем в традиционной технике.

Согласно аспекту настоящего изобретения, кондиционер воздуха включает в себя: схему конвертера, которая находится на электронной плате и преобразует переменный ток в постоянный ток; схему инвертера, которая находится на электронной плате и преобразует постоянный ток, преобразованный схемой конвертера, в переменный ток для функционирования электродвигателя, который приводит в действие компрессор; схему управления инвертером, которая находится на электронной плате и приводит в действие схему инвертера; и термодатчик, который детектирует температуру наружного воздуха, вводимую в схему управления инвертером, при этом схема управления инвертером включает в себя блок управления фиксированной подачей питания и блок управления фиксированной подачей питания выполняет фиксированную подачу питания переменного тока или фиксированную подачу питания постоянного тока на двигатель в соответствии с температурой наружного воздуха, детектированной термодатчиком.

Согласно еще одному аспекту настоящего изобретения, способ управления кондиционером воздуха, который включает в себя схему конвертера, которая находится на электронной плате и преобразует переменный ток в постоянный ток, схему инвертера, которая находится на электронной плате и преобразует постоянный ток, преобразованный схемой конвертера, в переменный ток для функционирования двигателя, который приводит в действие компрессор, схему управления инвертером, которая находится на электронной плате и приводит в действие схему инвертера, и термодатчик, который детектирует температуру наружного воздуха, вводимую в схему управления инвертером, способ выполняется блоком управления фиксированной подачей питания, включенным в схему управления инвертером, и включает в себя этапы на которых: определяют, является ли температура наружного воздуха равной или более низкой, чем первая установленная температура; когда температура наружного воздуха находится выше, чем первая установленная температура, повторяют определение пока температура наружного воздуха не становится равной или ниже, чем первая установленная температура; когда температура наружного воздуха равна или ниже, чем первая установленная температура, определяют, является ли температура наружного воздуха равной или ниже, чем вторая установленная температура; когда температура наружного воздуха равна или ниже, чем первая установленная температура, и равна или ниже, чем вторая установленная температура, обогревают как компрессор, так и электронную плату при фиксированной подаче питания постоянного тока; и когда температура наружного воздуха равна или ниже, чем первая установленная температура, и выше, чем вторая установленная температура, обогревают компрессор при фиксированной подаче питания переменного тока.

Согласно еще одному другому аспекту настоящего изобретения способ управления кондиционером воздуха, который включает в себя схему конвертера, которая находится на электронной плате и преобразует переменный ток в постоянный ток, схему инвертера, которая находится на электронной плате и преобразует постоянный ток, преобразованный схемой конвертера, в переменный ток для функционирования двигателя, который приводит в действие компрессор, схему управления инвертером, которая находится на электронной плате и приводит в действие схему инвертера, и термодатчик, который детектирует температуру наружного воздуха, вводимую в схему управления инвертером, способ выполняется блоком управления фиксированной подачей питания, включенным в схему управления инвертером, и включает в себя этапы на которых: сравнивают температуру наружного воздуха с первой установленной температурой и второй установленной температурой, которая ниже, чем первая установленная температура; когда температура наружного воздуха равна или ниже, чем вторая установленная температура, обогревают как компрессор, так и электронную плату при фиксированной подаче питания постоянного тока; и когда температура наружного воздуха выше, чем вторая установленная температура, и равна или ниже, чем первая установленная температура, обогревают компрессор при фиксированной подаче питания переменного тока.

КРАТКОЕ ОПИСАНИЕ ЧЕРТЕЖЕЙ

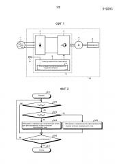
Фиг. 1 - схема, показывающая конфигурацию наружного блока кондиционера воздуха согласно варианту осуществления;

фиг. 2 - последовательность операций, показывающая функционирование блока управления фиксированной подачей питания, в то время как компрессор в кондиционере воздуха согласно варианту осуществления остановлен; и

фиг. 3 - последовательность операций, показывающая функционирование блока управления фиксированной подачей питания, в то время как компрессор в кондиционере воздуха согласно варианту осуществления остановлен.

ПОДРОБНОЕ ОПИСАНИЕ ПРЕДПОЧТИТЕЛЬНЫХ ВАРИАНТОВ ОСУЩЕСТВЛЕНИЯ

Примерные варианты осуществления кондиционера воздуха согласно настоящему изобретению будут подробно пояснены ниже, со ссылкой на чертежи. Настоящее изобретение не ограничено вариантами осуществления.

ВАРИАНТ ОСУЩЕСТВЛЕНИЯ

Фиг. 1 - схема, показывающая конфигурацию наружного блока кондиционера воздуха согласно варианту осуществления настоящего изобретения. Фиг. 1 показывает наружный блок 10, который присоединен к источнику 1 питания переменного тока (AC) и включает в себя двигатель 4, компрессор 5, электронную плату 7 и термодатчик 8. Наружный блок 10 и внутренний блок (не показан) соединены друг с другом при помощи трубки хладагента.

В качестве источника 1 питания переменного тока может использоваться однофазный источник питания переменного тока или трехфазный источник питания переменного тока. Однако трехфазный источник питания переменного тока здесь приведен в качестве примера. Двигатель 4 является двигателем, который приводит в действие компрессор 5. Компрессор 5 является компрессором в контуре охлаждения, приводимым в действие двигателем 4, и транспортирует тепло посредством хладагента в контуре охлаждения. Например, вращательному движению двигателя 4 необходимо только преобразовываться в возвратно-поступательное движение, чтобы сжимать хладагент в компрессоре 5. Электронная плата 7 является электронной платой, которая включает в себя схему 2 конвертера, схему 3 инвертера и схему 6 управления инвертером. Например, схеме 2 конвертера необходимо только быть основанной на схеме выпрямителя, сформированной соединением диодных элементов в мостовой конфигурации, и схема 2 конвертера преобразует переменный ток из источника 1 питания переменного тока в постоянный ток. Например, схеме 3 инвертера необходимо быть основанной только на множестве переключающих элементов и диодных элементов, и схема 3 инвертера преобразует постоянный ток, преобразованный схемой 2 конвертера, в переменный ток заранее заданной частоты. Частота переменного тока, например, установлена на 10 кГц или выше. Схема 6 управления инвертером приводит в действие схему 3 инвертера. Термодатчик 8 детектирует температуру наружного воздуха, и детектированная температура наружного воздуха используется для управления приводом компрессора 5.

Схема 6 управления инвертером включает в себя блок 9 управления фиксированной подачей питания. Температура наружного воздуха, детектированная термодатчиком 8, вводится в блок 9 управления фиксированной подачей питания, и блок 9 управления фиксированной подачей питания исполняет управление фиксированной подачей питания в отношении обмотки двигателя 4. Фиксированная подача питания выполняется без функционирования двигателя 4 и компрессора 5.

Фиг. 2 - последовательность операций, показывающая функционирование блока 9 управления фиксированной подачей питания, в то время как компрессор остановлен. Прежде всего, процесс начинается (Этап S11) и определяется, является ли температура Ta наружного воздуха равной или ниже, чем первая установленная температура Tset1 (Этап S12). Когда температура Ta наружного воздуха равна или ниже, чем первая установленная температура Tset1 (когда «Да» определено на этапе S12), тогда определяется, является ли температура Ta наружного воздуха равной или ниже, чем вторая установленная температура Tset2 (Этап S13). Когда температура Ta наружного воздуха равна или ниже, чем первая установленная температура Tset1, и равна или ниже, чем вторая установленная температура Tset2 (когда «Да» определено на Этапе S12 и Этапе S13), как компрессор 5, так и электронная плата 7 обогреваются при фиксированной подаче питания постоянного тока (Этап S14). Когда температура Ta наружного воздуха равна или ниже, чем первая установленная температура Tset1, и выше, чем вторая установленная температура Tset2 (когда «Да» определено на Этапе S12, а «Нет» определено на Этапе S13), компрессор 5 обогревается при фиксированной подаче питания переменного тока (этап S15). Обогреву на этапах S14 и S15 необходимо выполняться только в течение заранее заданного времени. Затем определяется, остановлен ли компрессор 5 после процесса обогрева (Этап S16). Даже когда температура Ta наружного воздуха выше, чем первая установленная температура Tset1 (когда «Нет» определено на Этапе S12), определяется, остановлен ли компрессор 5 (Этап S16). Когда компрессор 5 остановлен (когда «Да» определено на Этапе S16), процесс возвращается на Этап S12 и определяется, является ли температура Ta наружного воздуха равной или ниже, чем первая установленная температура Tset1. Когда компрессор 5 не остановлен (когда «Нет» определено на Этапе S16), процесс заканчивается (Этап S17).

Предполагается, что первая установленная температура Tset1 является верхней предельной температурой, при которой происходит «застой» хладагента (например, Tset1=25°C или выше). Если температура Ta наружного воздуха равна или ниже, чем первая установленная температура Tset1, происходит «застой» хладагента, и возрастает нагрузка во время пуска компрессора, тем самым, в некоторых случаях, вызывая проблемы, такие как поломка компрессора, поломка электронного компонента, обусловленные пусковым током, или неспособность запустить компрессор вследствие отклонения системы от нормы. Можно рассмотреть присоединение нагревателя к компрессору вопреки этим проблемам. Однако размер кондиционера воздуха увеличивается из-за нагревателя, а себестоимость и потребление мощности возрастают.

Соответственно, когда температура Ta наружного воздуха равна или ниже, чем первая установленная температура Tset1, необходимо только выполнять фиксированную подачу питания переменного тока. Фиксированная подача питания переменного тока выполняется посредством приведения в действие схемы 3 инвертера, чтобы подавать переменный ток высокой частоты в обмотку электродвигателя 4. Явления застоя хладагента возможно избежать при фиксированной подаче питания переменного тока.

Предполагается, что вторая установленная температура Tset2 ниже, чем первая установленная температура Tset1, и является гарантированной минимальной температурой электронной платы 7 (например, Tset2=-25°C или ниже). Если температура Ta наружного воздуха равна или ниже, чем вторая установленная температура Tset2, электронный компонент на электронной плате 7 может неправильно работать и может быть поврежден. В качестве меры против этой проблемы можно рассмотреть использование электронного компонента, имеющего низкую гарантированную минимальную температуру. Однако, если используется электронный компонент, имеющий низкую гарантированную минимальную температуру, то во многих случаях может быть затруднено уменьшение габаритов или возрастает себестоимость. В качестве альтернативы можно рассмотреть присоединение нагревателя к электронному компоненту. Однако, в этом случае, кондиционер воздуха становится больше из-за нагревателя, и возрастают себестоимость и потребление мощности.

Соответственно, когда температура Ta наружного воздуха равна или ниже, чем вторая установленная температура Tset2, необходимо, чтобы выполнялась только фиксированная подача питания постоянного тока. Фиксированная подача питания постоянного тока выполняется посредством приведения в действие схемы 3 инвертера, чтобы подавать постоянный ток в обмотку двигателя 4. В результате фиксированной подачи питания постоянного тока возможно не только избегать явления застоя хладагента, но также выполнять подогрев окружающей температуры электронной платы 7 посредством саморазогрева электронного компонента на электронной плате 7.

Таким образом, функционирование кондиционера воздуха может быть выполнено в соответствии с температурой наружного воздуха посредством избирательного использования фиксированной подачи питания переменного тока и фиксированной подачи питания постоянного тока. То есть наряду со сдерживанием потребления мощности может подавляться застой хладагента, и электронный компонент на электронной плате может предохраняться от неправильной работы и того, чтобы быть поврежденным.

Способ управления кондиционером воздуха согласно настоящему изобретению не ограничен методикой, описанной выше. Например, определение с использованием температуры Ta наружного воздуха, первой установленной температуры Tset1 и второй установленной температуры Tset2 может выполняться одновременно. Оно устанавливается так, чтобы вторая установленная температура Tset2 была более ниже, чем первая установленная температура Tset1.

Фиг. 3 - последовательность операций, показывающая функционирование блока 9 управления фиксированной подачей питания, в то время как компрессор остановлен. Прежде всего, процесс начинается (Этап S21) и температура Ta наружного воздуха сравнивается с первой установленной температурой Tset1 и второй установленной температурой Tset2 (Этап S22). Так как вторая установленная температура Tset2 ниже, чем первая установленная температура Tset1, температурный диапазон температуры Ta наружного воздуха разделен на три области, то есть случай, где Ta≤Tset2 (случай, где температура Ta наружного воздуха крайне низкая), случай, где Tset2<Ta≤Tset1 (случай, где температура Ta наружного воздуха низкая), и случай, где Tset1<Ta (случай, где температура Ta наружного воздуха не является низкой). В случае, где Ta≤Tset2 (когда температура Ta наружного воздуха крайне низкая), как компрессор 5, так и электронная плата 7 обогреваются при фиксированной подаче питания постоянного тока, как на Этапе S14 (Этап S23). В случае, где Tset2<Ta≤Tset1 (когда температура Ta наружного воздуха низкая), компрессор 5 обогревается посредством фиксированной подачи питания переменного тока, как на Этапе S15 (Этап S24). Обогрев на Этапах S23 и S24 необходимо выполнять только в течение заранее заданного времени. После обогрева или в случае, где Tset1<Ta (когда температура Ta наружного воздуха не является низкой), определяется, остановлен ли компрессор 5, как на Этапе S16 (Этап S25). Когда компрессор 5 остановлен (когда «Да» определено на Этапе S25), процесс возвращается на Этап S22 и температура Ta наружного воздуха сравнивается с первой установленной температурой Tset1 и второй установленной температурой Tset2 (Этап S22). Когда компрессор 5 не остановлен (когда «Нет» определено на Этапе S25), процесс заканчивается (Этап S25).

Таким образом, сравнение температуры Ta наружного воздуха с первой установленной температурой Tset1 и второй установленной температурой Tset2 может выполняться одновременно.

Как описано выше, настоящее изобретение относится к кондиционеру воздуха, включающему в себя: схему конвертера, которая находится на электронной плате и преобразует переменный ток в постоянный ток; схему инвертера, которая находится на электронной плате и преобразует постоянный ток, преобразованный схемой конвертера, в переменный ток для функционирования двигателя, который приводит в действие компрессор; схему управления инвертером, которая находится на электронной плате и приводит в действие схему инвертера; и термодатчик, который детектирует температуру наружного воздуха, вводимую в схему управления инвертером, при этом схема управления инвертером включает в себя блок управления фиксированной подачей питания, и блок управления фиксированной подачей питания выполняет фиксированную подачу питания переменного тока или фиксированную подачу питания постоянного тока на двигателе в соответствии с температурой наружного воздуха, детектированной термодатчиком, тем самым, выполняя обогрев.

Согласно кондиционеру воздуха, более точно, температура наружного воздуха разделена на три температурных диапазона первой установленной температурой и второй установленной температурой, которая ниже, чем первая установленная температура, и необходимо только выполнять обогрев при фиксированной подаче питания постоянного тока, когда температура наружного воздуха равна или ниже, чем вторая установленная температура, и выполнять обогрев при фиксированной подаче питания переменного тока, когда температура наружного воздуха выше, чем вторая установленная температура, и равна или ниже, чем первая установленная температура. При такой конфигурации размер кондиционера воздуха не становится больше и сдерживаются себестоимость и потребление мощности.

Более того, настоящее изобретение относится к способу управления кондиционером воздуха, который включает в себя схему конвертера, которая находится на электронной плате и преобразует переменный ток в постоянный ток, схему инвертера, которая находится на электронной плате и преобразует постоянный ток, преобразованный схемой конвертера, в переменный ток для функционирования двигателя, который приводит в действие компрессор, схему управления инвертером, которая находится на электронной плате и приводит в действие схему инвертера, и термодатчик, который детектирует температуру наружного воздуха, вводимую в схему управления инвертером, способ выполняется блоком управления фиксированной подачей питания, включенным в схему управления инвертером и включает в себя этапы, на которых: определяют, является ли температура наружного воздуха равной или более низкой, чем первая установленная температура; когда температура наружного воздуха находится выше, чем первая установленная температура, повторяют определение до тех пор, пока температура наружного воздуха не становится равной или ниже, чем первая установленная температура; когда температура наружного воздуха равна или ниже, чем первая установленная температура, определяют, является ли температура наружного воздуха равной или ниже, чем вторая установленная температура; когда температура наружного воздуха равна или ниже, чем первая установленная температура, и равна или ниже, чем вторая установленная температура, обогревают как компрессор, так и электронную плату при фиксированной подаче питания постоянного тока; и когда температура наружного воздуха равна или ниже, чем первая установленная температура ,и выш,е чем вторая установленная температура, обогревают компрессор при фиксированной подаче питания переменного тока.

Более того, настоящее изобретение относится к способу управления кондиционером воздуха, который включает в себя схему конвертера, которая находится на электронной плате и преобразует переменный ток в постоянный ток, схему инвертера, которая находится на электронной плате и преобразует постоянный ток, преобразованный схемой конвертера, в переменный ток для функционирования двигателя, который приводит в действие компрессор, схему управления инвертером, которая находится на электронной плате и приводит в действие схему инвертера, и термодатчик, который детектирует температуру наружного воздуха, вводимую в схему управления инвертером, способ выполняется блоком управления фиксированной подачей питания, включенным в схему управления инвертером и включает в себя этапы, на которых: сравнивают температуру наружного воздуха с первой установленной температурой и второй установленной температурой, которая ниже, чем первая установленная температура; когда температура наружного воздуха равна или ниже, чем вторая установленная температура, обогревают как компрессор, так и электронную плату при фиксированной подаче питания постоянного тока; и когда температура наружного воздуха выше, чем вторая установленная температура, и равна или ниже, чем первая установленная температура, обогревают компрессор при фиксированной подаче питания переменного тока. Таким образом, сравнение температуры наружного воздуха с первой установленной температурой и второй установленной температурой может выполняться одновременно.

В кондиционере воздуха и способе управления кондиционером воздуха необходимо только установить первую установленную температуру для верхней предельной температуры, при которой происходит застой хладагента. Соответственно, может предотвращаться застой хладагента.

В кондиционере воздуха и способе управления кондиционером воздуха необходимо только установить вторую установленную температуру для гарантированной минимальной температуры электронной платы. Соответственно, электронный компонент на электронной плате может предохраняться от неправильной работы и того, чтобы быть поврежденным.

Согласно настоящему изобретению, результат получается в тех случаях, когда кондиционер воздуха, для которого сдерживаются себестоимость и потребление мощности, может быть получен без увеличения размера кондиционера воздуха.

Хотя изобретение было описано в отношении специфичных вариантов осуществления для полного и ясного раскрытия, прилагаемая формула изобретения не должна ограничиваться таким образом, но должна интерпретироваться в качестве осуществляющей все модификации и альтернативные конструкции, которые могут приходить на ум специалистам в данной области техники и которые явно подпадают в базовую идею, изложенную в материалах настоящей заявки.

1. Кондиционер воздуха, содержащий:схему конвертера, которая находится на электронной плате и преобразует переменный ток в постоянный ток,схему инвертера, которая находится на электронной плате и преобразует постоянный ток, преобразованный схемой конвертера, в переменный ток для функционирования двигателя, который приводит в действие компрессор,схему управления инвертером, которая находится на электронной плате и приводит в действие схему инвертера, итермодатчик, который детектирует температуру наружного воздуха, вводимую в схему управления инвертером, при этомупомянутая схема управления инвертером включает в себя блок управления фиксированной подачей питания иупомянутый блок управления фиксированной подачей питания выполняет фиксированную подачу питания переменного тока или фиксированную подачу питания постоянного тока на двигатель в соответствии с температурой наружного воздуха, детектированной термодатчиком, причемтемпература наружного воздуха разделена на три температурных диапазона первой установленной температурой и второй установленной температурой, которая ниже, чем первая установленная температура,когда температура наружного воздуха равна или ниже, чем вторая установленная температура, обогрев выполняется посредством фиксированной подачи питания постоянного тока, икогда температура наружного воздуха выше, чем вторая установленная температура, и равна или ниже, чем первая установленная температура, обогрев выполняется посредством фиксированной подачи питания переменного тока.

2. Кондиционер воздуха по п. 1, в котором первая установленная температура является верхней предельной температурой, при которой происходит застой хладагента.

3. Кондиционер воздуха по п. 1 или 2, в котором вторая установленная температура является гарантированной минимальной температурой электронной платы.

4. Способ управления кондиционером воздуха, который включает в себя схему конвертера, которая находится на электронной плате и преобразует переменный ток в постоянный ток, схему инвертера, которая находится на электронной плате и преобразует постоянный ток, преобразованный схемой конвертера, в переменный ток для функционирования электродвигателя, который приводит в действие компрессор, схему управления инвертером, которая находится на электронной плате и приводит в действие схему инвертера, и термодатчик, который детектирует температуру наружного воздуха, вводимую в схему управления инвертером, причем способ выполняется блоком управления фиксированной подачей питания, включенным в схему управления инвертером, и содержит этапы на которых:определяют, является ли температура наружного воздуха равной или ниже, чем первая установленная температура;когда температура наружного воздуха находится выше, чем первая установленная температура, повторяют определение, пока температура наружного воздуха не становится равной или ниже, чем первая установленная температура;когда температура наружного воздуха равна или ниже, чем первая установленная температура, определяют, является ли температура наружного воздуха равной или ниже, чем вторая установленная температура;когда температура наружного воздуха равна или ниже, чем первая установленная температура, и равна или ниже, чем вторая установленная температура, обогревают как компрессор, так и электронную плату при фиксированной подаче питания постоянного тока; и когда температура наружного воздуха равна или ниже, чем первая установленная температура, и выше, чем вторая установленная температура, обогревают компрессор при фиксированной подаче питания переменного тока.

5. Способ управления кондиционером воздуха по п. 4, в котором первая установленная температура является верхней предельной температурой, при которой происходит застой хладагента.

6. Способ управления кондиционером воздуха по п. 4 или 5, в котором вторая установленная температура является гарантированной минимальной температурой электронной платы.

7. Способ управления кондиционером воздуха, который включает в себя схему конвертера, которая находится на электронной плате и преобразует переменный ток в постоянный ток, схему инвертера, которая находится на электронной плате и преобразует постоянный ток, преобразованный схемой конвертера, в переменный ток для функционирования двигателя, который приводит в действие компрессор, схему управления инвертером, которая находится на электронной плате и приводит в действие схему инвертера, и термодатчик, который детектирует температуру наружного воздуха, вводимую в схему управления инвертером, при этом способ выполняется блоком управления фиксированной подачей питания, включенным в схему управления инвертером, и содержит этапы, на которых:сравнивают температуру наружного воздуха с первой установленной температурой и второй установленной температурой, которая ниже, чем первая установленная температура;когда температура наружного воздуха равна или ниже, чем вторая установленная температура, обогревают как компрессор, так и электронную плату при фиксированной подаче питания постоянного тока; икогда температура наружного воздуха выше, чем вторая установленная температура, и равна или ниже, чем первая установленная температура, обогревают компрессор при фиксированной подаче питания переменного тока.

8. Способ управления кондиционером воздуха по п. 7, в котором первая установленная температура является верхней предельной температурой, при которой происходит застой хладагента.

9. Способ управления кондиционером воздуха по п. 7 или 8, в котором вторая установленная температура является гарантированной минимальной температурой электронной платы.