Воздушный кондиционер

Иллюстрации

Показать все

Настоящее изобретение относится к воздушному кондиционеру, который использует не азеотропную смесь хладагента. Воздушный кондиционер содержит компрессор, конденсатор, устройство для снижения давления, испаритель и аккумулятор соединены с помощью трубопровода для хладагента, причем холодильный цикл заправлен не азеотропной смесью хладагента и маслом для холодильной машины; контроллер, который управляет степенью открытия устройства для снижения давления; всасывающий трубопровод, который является трубопроводом для хладагента, соединенным между всасывающим отверстием компрессора и аккумулятором, имеющим концевой участок на стороне аккумулятора, выступающий в аккумулятор; первый датчик температуры хладагента, который определяет температуру хладагента, текущего через испаритель; и второй датчик температуры хладагента, который определяет температуру хладагента, текущего через аккумулятор, при этом всасывающий трубопровод включает в себя отверстие для возврата масла, образованное в участке всасывающего трубопровода, расположенном внутри аккумулятора, в положении выше, чем центральный участок аккумулятора, и контроллер выполнен с возможностью такого управления степенью открытия устройства для снижения давления, чтобы сделать значение, полученное посредством вычитания значения, определенного первым датчиком температуры хладагента, из значения, определенного вторым датчиком температуры хладагента, менее чем 0°С, и чтобы сделать степень сухости хладагента, текущего в аккумулятор, менее 1. Это позволяет не допускать снижения производительности воздушного кондиционера. 1 з.п. ф-лы, 3 ил.

Реферат

ОБЛАСТЬ ТЕХНИКИ, К КОТОРОЙ ОТНОСИТСЯ ИЗОБРЕТЕНИЕ

[0001] Настоящее изобретение относится к воздушному кондиционеру, который использует не азеотропную смесь хладагента.

ПРЕДПОСЫЛКИ ИЗОБРЕТЕНИЯ

[0002] Обычно, HFC хладагенты, которые имеют высокий потенциал глобального потепления (ПГП), были известны в качестве хладагента, применимого к холодильному циклу воздушного кондиционера и тому подобному. Например, HFC-R410A, который является почти азеотропным хладагентом, и HFC-R32, который представляет собой отдельный хладагент, главным образом, используются. Кроме того, в последние годы был предложен прибор холодильного цикла, который использует не азеотропную смесь хладагента, содержащую хладагент HFO с низким ПГП, такой как HFO-1234yf (гидрофторолефин-1234yf) или HFO-1234ze, и хладагент R32 (смотри, например, Патентную литературу 1).

СПИСОК ЦИТИРОВАННОЙ ЛИТЕРАТУРЫ

ПАТЕНТНАЯ ЛИТЕРАТУРА

[0003] Патентная литература 1: Публикация № 2009-257740 Заявки на выдачу патента Японии.

СУЩНОСТЬ ИЗОБРЕТЕНИЯ

ТЕХНИЧЕСКАЯ ЗАДАЧА

[0004] Так как HFC-R32 (гидрофторуглерод-R32) имеет характеристику, которая подавляет потерю давления при прохождении через трубопровод для хладагента в холодильном цикле, HFC-R32 имеет высокую способность испарения. Однако существует проблема, что HFC-R32 имеет высокий ПГП. В отличие от этого, хотя и HFO-1234yf и HFO-1234ze имеют низкий ПГП, такие холодильные агенты страдают большой потерей давления при прохождении через трубопровод для хладагента в холодильном цикле и, следовательно, существует проблема, которая ухудшает способность испарения. Соответственно, даже когда используется не азеотропная смесь хладагента, содержащего HFC-R32 и HFO-1234yf, или HFC-R32 и HFO-1234ze, производительность воздушного кондиционера может ухудшиться в зависимости от характеристики HFO хладагента.

[0005] Дополнительно, в обычном воздушном кондиционере, который использует близкий к азеотропному хладагент, такой, как HFC-R410A или отдельный хладагент, такой, как HFC-R32, устройство для снижения давления управляется, в нормальном режиме работы, с тем, чтобы поддерживать качество хладагента на 1 или выше на входе аккумулятора, соединенного к всасывающей стороне компрессора, для предотвращения жидкого хладагента от накопления в аккумуляторе. Соответственно, в обычном воздушном кондиционере, который использует близкий к азеотропному хладагент, такой, как HFC-R410A или отдельный хладагент, такой, как HFC-R32, трубопровод для хладагента, соединяющийся между аккумулятором и всасывающим отверстием компрессора, имеет концевой участок на стороне аккумулятора, продолжающийся в аккумулятор, и включает в себя отверстие для возврата масла (небольшое отверстие), которое предотвращает накопление масла холодильной машины в аккумуляторе, при этом отверстие для возврата масла образовано в участке трубопровода хладагента, продолжающемся в аккумулятор, в положении, соответствующем нижнему участку аккумулятора. Обычный воздушный кондиционер сконфигурированный, как описано выше, управляется с тем, чтобы накапливать жидкий хладагент в аккумуляторе, когда качество хладагента, равное 1 или выше, не может быть обеспечено кратковременно. Соответственно, когда качество хладагента падает ниже 1, жидкий хладагент всасывается в компрессор через отверстие для возврата масла вместе с маслом для холодильной машины, и, следовательно, потеря давления всасывания компрессора увеличивается, что приводит к снижению производительности воздушного кондиционера.

[0006] Настоящее изобретение было осуществлено с учетом вышеупомянутой проблемы, и обеспечивает воздушный кондиционер, который использует не азеотропную смесь хладагента, и который повышает производительность, несмотря на то, что жидкий хладагент накапливается в аккумуляторе.

РЕШЕНИЕ ЗАДАЧИ

[0007] Объект настоящего изобретения обеспечивает воздушный кондиционер, включающий в себя холодильный цикл, в котором компрессор, конденсатор, устройство для снижения давления, испаритель и аккумулятор соединены через трубопровод для хладагента, и контроллер, который управляет степенью открытия устройства для снижения давления. Всасывающий трубопровод, который является соединяющим трубопроводом для хладагента между всасывающим отверстием компрессора и аккумулятором, имеет концевой участок на стороне аккумулятора, продолжающийся в аккумулятор, а холодильный цикл заправлен не азеотропной смесью хладагента и маслом для холодильной машины. Всасывающий трубопровод включает в себя отверстие для возврата масла, образованное в участке всасывающего трубопровода внутри аккумулятора, в положении выше, чем центральный участок аккумулятора, а контроллер выполнен с возможностью управления степенью открытия устройства для снижения давления с тем, чтобы сделать качество хладагента, протекающего в аккумулятор, менее 1.

ПРЕИМУЩЕСТВЕННЫЕ РЕЗУЛЬТАТЫ ИЗОБРЕТЕНИЯ

[0008] В воздушном кондиционере, сконфигурированном как описано выше, холодильный цикл заправлен не азеотропной смесью хладагента, а качество хладагента, протекающего в аккумулятор, управляется так, чтобы быть меньше, чем 1. Соответственно, в компонентах не азеотропной смеси хладагента, хладагент, имеющий более высокую температуру кипения, может накапливаться в аккумуляторе с приоритетом. Когда используется не азеотропная смесь хладагента, содержащая, например, HFO-1234yf или HFO-1234ze и R32, HFO-1234yf или HFO-1234ze, который имеет более высокую температуру кипения, может накапливаться в аккумуляторе. Таким образом, воздушный кондиционер, сконфигурированный как описано выше, может получить содержание HFC-R32 в составе циркулирующего хладагента выше, чем в составе заправленного хладагента. Таким образом, эффективность холодильного цикла повышается, ухудшение в производительности воздушного кондиционера, который использует не азеотропную смесь хладагента, может быть предотвращено.

Дополнительно, в воздушном кондиционере, сконфигурированном как описано выше, отверстие для возврата масла образовано на всасывающем трубопроводе в участке всасывающего трубопровода, расположенном внутри аккумулятора, в положении выше, чем центральный участок аккумулятора. Соответственно, компрессор может быть предотвращен от всасывания жидкого хладагента, несмотря на то, что хладагент накапливается в аккумуляторе, а также ухудшение производительности воздушного кондиционера из-за потери давления всасывания компрессора может быть предотвращено.

Таким образом, воздушный кондиционер высокой производительности, который использует не азеотропную смесь хладагента, может быть получен посредством объекта настоящего изобретения.

КРАТКОЕ ОПИСАНИЕ ЧЕРТЕЖЕЙ

[0009]

[Фиг.1] Фиг.1 представляет собой принципиальную схему, показывающую контур хладагента воздушного кондиционера согласно варианту осуществления настоящего изобретения.

[Фиг.2] Фиг.2 представляет собой вид продольного сечения, показывающий компрессор и аккумулятор воздушного кондиционера согласно варианту осуществления настоящего изобретения.

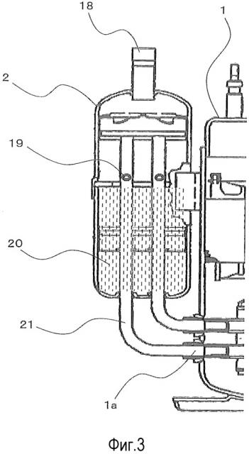
[Фиг.3] Фиг.3 представляет собой увеличенный вид основной части (вид продольного сечения) показывающий аккумулятор и его периферию, воздушного кондиционера согласно варианту осуществления настоящего изобретения.

ОПИСАНИЕ ВАРИАНТА ОСУЩЕСТВЛЕНИЯ

ВАРИАНТ ОСУЩЕСТВЛЕНИЯ

[0010] Фиг.1 представляет собой принципиальную схему, показывающую контур хладагента воздушного кондиционера согласно варианту осуществления настоящего изобретения. Фиг.2 представляет собой вид продольного сечения, показывающий компрессор и аккумулятор воздушного кондиционера. Фиг.3 представляет собой увеличенный вид основной части (вид продольного сечения), показывающий аккумулятор и его периферию, воздушного кондиционера. На фиг.1, сплошная стрелка указывает направление потока хладагента в режиме нагрева, а пунктирная стрелка указывает направление потока хладагента в режиме охлаждения.

[0011] Со ссылкой к фиг.1, прибор 100 для кондиционирования воздуха согласно варианту осуществления включает в себя холодильный цикл, в котором компрессор 1, который сжимает хладагент, четырех-ходовой клапан 6, который переключает направление циркуляции хладагента в зависимости от того, выполняется ли режим охлаждения или режим нагрева, теплообменник 3, установленный с наружной стороны, который действует в качестве конденсатора в режиме охлаждения, и действует в качестве испарителя в режиме нагревания, устройство 4 для снижения давления (например, электронный расширительный клапан), которое сбрасывает жидкий хладагент высокого давления в двух фазный газожидкостный хладагент, теплообменник 5, установленный с внутренней стороны, который действует в качестве испарителя в режиме охлаждения и действует в качестве конденсатора в режиме нагрева, и аккумулятор 2, который отделяет жидкий хладагент от газообразного хладагента, и подает газообразный хладагент в компрессор 1, соединены через трубопровод для хладагента. Другими словами, холодильный цикл прибора 100 для кондиционирования воздуха в режиме охлаждения включает в себя компрессор 1, теплообменник 3, установленный с наружной стороны, действующий в качестве конденсатора, устройство 4 для снижения давления, теплообменник 5, установленный с внутренней стороны, действующий в качестве испарителя, и аккумулятор 2, которые соединены в контур через трубопровод для хладагента. В режиме нагрева, холодильный цикл прибора 100 для кондиционирования воздуха включает в себя компрессор 1, теплообменник 5, установленный с внутренней стороны, действующий в качестве конденсатора, устройство 4 для снижения давления, теплообменник 3, установленный с наружной стороны, действующий в качестве испарителя, и аккумулятор 2, которые соединены в контур через трубопровод для хладагента.

[0012] Холодильный цикл, сконфигурированный, как описано выше, заправлен не азеотропной смесью хладагента, содержащего хладагент, имеющий низкую температуру кипения и хладагент, имеющий высокую температуру кипения. В варианте осуществления HFC-R32 используется в качестве хладагента с низкой температурой кипения, и HFO-1234yf или HFO-1234ze используется в качестве хладагента с высокой температурой кипения.

[0013] В приборе 100 для кондиционирования воздуха, в дополнение, теплообменник 3, установленный с наружной стороны, включает в себя вентилятор 9, установленный с наружной стороны, а теплообменник 5, установленный с внутренней стороны, включает в себя вентилятор 8, установленный с внутренней стороны (например, поперечно-проточный вентилятор). Прибор 100 для кондиционирования воздуха согласно варианту осуществления также включает в себя электромагнитный клапан 7 для удаления избытка влаги и повторного нагрева, который должен использоваться в операции осушения для побуждения части теплообменника 5, установленного с внутренней стороны, действовать в качестве испарителя, для, тем самым, осушения воздуха в помещении, и побуждения другой части теплообменника 5, установленного с внутренней стороны, действовать в качестве конденсатора для, тем самым, нагрева осушенного воздуха и возвращения нагретого воздуха в комнатное пространство.

[0014] Дополнительно, прибор 100 для кондиционирования воздуха согласно варианту осуществления включает в себя датчик 10 температуры всасываемого компрессором хладагента, предусмотренный в трубопроводе для хладагента, расположенном на входной стороне аккумулятора 2, для определения температуры хладагента, протекающего через данную точку, датчик 11 температуры нагнетаемого компрессором хладагента, предусмотренный в трубопроводе, расположенном на стороне нагнетания компрессора 1, для определения температуры хладагента, протекающего через эту точку, датчик 12 температуры хладагента теплообменника, установленного с наружной стороны, предусмотренный, например, в промежуточном участке теплообменника 3, установленного с наружной стороны, для определения температуры хладагента, протекающего через теплообменник 3, установленный с наружной стороны, датчик 13 температуры хладагента теплообменника, установленного с внутренней стороны, предусмотренный, например, в промежуточном участке теплообменника 5, установленного с внутренней стороны, для определения температуры хладагента, протекающего через теплообменник 5, установленный с внутренней стороны. Упомянутые датчики, четырехходовой клапан 6, устройство 4 для снижения давления, электромагнитный клапан 7 для удаления избытка влаги и повторного нагрева, вентилятор 8, установленный с внутренней стороны 8, и вентилятор 9, установленный с наружной стороны, электрически соединены с контроллером 16. Таким образом, контроллер 16 сконфигурирован с тем, чтобы принимать показатели, определяемые посредством датчиков, и для независимого управления четырехходовым клапаном 6, устройством 4 для снижения давления, электромагнитным клапаном 7 для удаления избытка влаги и повторного нагрева, вентилятором 8, установленным с внутренней стороны, и вентилятором 9, установленным с наружной стороны.

[0015] В варианте осуществления датчик 10 температуры всасываемого компрессором хладагента, датчик 11 температуры нагнетаемого компрессором хладагента, датчик 12 температуры хладагента теплообменника, установленного с наружной стороны, и датчик 13 температуры хладагента теплообменника, установленного с внутренней стороны, выполнены с возможностью определения температуры трубопровода для хладагента, чтобы, таким образом, косвенно определить температуру хладагента.

Здесь, датчик 13 температуры хладагента теплообменника, установленного с внутренней стороны (датчик, который определяет температуру хладагента, протекающего через испаритель), работающего в режиме охлаждения, и датчик 12 температуры хладагента теплообменника, установленного с наружной стороны (датчик, который определяет температуру хладагента, протекающего через испаритель), работающего в режиме нагрева, соответствуют первому датчику температуры хладагента в настоящем изобретении. Кроме того, датчик 10 температуры всасываемого компрессором хладагента, соответствует второму датчику температуры хладагента в настоящем изобретении.

[0016] Среди компонентов прибора 100 для кондиционирования воздуха, сконфигурированного, как описано выше, компрессор 1, аккумулятор 2, теплообменник 3, установленный с наружной стороны, устройство 4 снижения давления, четырехходовой клапан 6, вентилятор 9, установленный с наружной стороны, датчик 10 температуры всасываемого компрессором хладагента, датчик 11 температуры нагнетаемого компрессором хладагента, и датчик 12 температуры хладагента теплообменника, установленного с наружной стороны, расположены внутри наружного блока 15. Теплообменник 5, установленный с внутренней стороны, электромагнитный клапан 7 для удаления избытка влаги и повторного нагрева, вентилятор 8, установленный с внутренней стороны, датчик 13 температуры хладагента теплообменника, установленного с внутренней стороны, расположены внутри внутреннего блока 14. Контроллер 16 может быть предусмотрен или в наружном блоке 15, или во внутреннем блоке 14, или может быть разделен на части, чтобы быть, соответственно, расположенным в наружном блоке 15 и внутреннем блоке 14.

[0017] Ниже, конфигурация соединения между компрессором 1 и аккумулятором 2 в приборе 100 для кондиционирования воздуха согласно варианту осуществления будет подробно описана.

Как представлено на фиг.2 и фиг.3, всасывающее отверстие 1a компрессора 1 и аккумулятор 2 соединены друг с другом через всасывающий трубопровод 21. Компрессор 1 согласно варианту осуществления является типом компрессора высокого давления, который нагнетает хладагент, сжатый посредством блока 1b компрессионного механизма в герметичном контейнере 1c. Компрессор 1 включает в себя два вращательных блока 1b компрессионного механизма. Соответственно, в варианте осуществления, всасывающие отверстия соответствующих блоков 1b компрессионного механизма являются каждое соединено с аккумулятором 2 через всасывающие трубопроводы 21, другими словами, предусмотрены два всасывающих трубопровода 21.

Конфигурация блока 1b компрессионного механизма компрессора 1 не ограничивается вращательным типом, а также количество блоков 1b компрессионного механизма не ограничивается двумя.

[0018] Концевой участок всасывающего трубопровода 21, соединенный с аккумулятором 2 образован таким образом, чтобы продолжаться в аккумуляторе 2. Для большей детализации, L-образный трубопровод используется в качестве всасывающего трубопровода 21 в варианте осуществления, и концевой участок всасывающего трубопровода 21 на стороне аккумулятора 2 продолжается вверх в аккумулятор 2 через нижний его участок. Кроме того, как представлено на фиг.3, отверстие 19 для возврата масла, например, образованное как небольшое отверстие, предусмотрено в участке всасывающего трубопровода 21, расположенном внутри аккумулятора 2, в положении выше, чем центральный участок аккумулятора 2. Как будет описано ниже, прибор 100 для кондиционирования воздуха согласно варианту осуществления выполнен с возможностью заставлять хладагент, качество которого меньше, чем 1, течь в аккумулятор 2 через всасывающий трубопровод 18 аккумулятора, чтобы, таким образом, накапливать жидкий хладагент в аккумуляторе 2. Соответственно, предпочтительно, чтобы отверстие 19 для возврата масла было образовано в положении выше, чем центральный участок аккумулятора 2.

[0019] Прибор 100 для кондиционирования воздуха, сконфигурированный как приведено выше, работает, как описывается ниже.

[0020] В режиме охлаждения, высокой температуры и газообразный хладагент высокого давления, сжатый компрессором 1 и выпускаемый из него, течет в теплообменник 3, установленный с наружной стороны, через четырехходовой клапан 6. В теплообменнике 3, установленном с наружной стороны, воздух, находящийся с наружной стороны помещения, продуваемый посредством вентилятора 9, установленного с наружной стороны, предусмотренного в воздушном канале для наружного воздуха, обменивается теплом с хладагентом во время прохождения через между ребрами и трубками (теплопередающими трубками) теплообменника 3, установленного с наружной стороны, и хладагент охлаждается посредством излучения конденсации скрытой теплоты к наружному воздуху, таким образом, превращаясь в жидкий хладагент высокого давления. Таким образом, теплообменник 3, установленный с наружной стороны, действует как конденсатор. Жидкий хладагент, который вытекает из теплообменника 3, установленного с наружной стороны, сбрасывает давление при прохождении через устройство 4 для снижения давления, тем самым, превращаясь в двухфазный газожидкостный хладагент низкого давления, и течет в теплообменник 5, установленный с внутренней стороны. В теплообменнике 5, установленном с внутренней стороны, посредством привода вентилятора 8. установленного с внутренней стороны, предусмотренного в воздушном канале для воздуха помещения, воздух в помещении обменивается теплом с хладагентом во время прохождения через между ребрами и трубками (теплопередающими трубками) теплообменника 5, установленного с внутренней стороны, таким образом, что воздух, продуваемый в помещение, является охлажденным. Двухфазный газожидкостный хладагент испаряется посредством извлечения тепла из воздуха в помещении в виде испарения скрытой теплоты.

[0021] Здесь, контроллер 16 регулирует степень открытия устройства 4 для снижения давления с тем, чтобы сделать качество хладагента, протекающего в аккумулятор 2 меньше, чем 1, другими словами, с тем, чтобы позволить двухфазному газожидкостному хладагенту протекать в аккумулятор 2. Конкретно, в варианте осуществления, контроллер 16 вычитает значение (B градусов по Цельсию), обнаруженное посредством датчика 13 температуры хладагента теплообменника, установленного с внутренней стороны, прикрепленного к теплообменнику 5, установленному с внутренней стороны, действующему в качестве испарителя, из значения (A градусов по Цельсию) обнаруженного посредством датчика 10 температуры всасываемого компрессором хладагента, предусмотренного на стороне всасывания аккумулятора 2, тем самым, получая степень перегрева (A-B). Затем, контроллер 16 управляет степенью открытия устройства 4 для снижения давления с тем, чтобы сделать степень перегрева (А-В) меньше чем 0 градусов по Цельсию. Температура не азеотропной смеси хладагента во влажном состоянии (двухфазного газожидкостного) постепенно уменьшается во время испарения. По этой причине, получаемая степень перегрева (А-В) меньше, чем 0 градусов по Цельсию, позволяет качеству хладагента, протекающего в аккумулятор 2, быть меньше, чем 1.

[0022] Хладагент, качество которого меньше, чем 1, или двухфазный газожидкостный хладагент, разделяется на жидкий хладагент и газообразный хладагент в аккумуляторе 2. Когда используется не азеотропная смесь хладагента, более конкретно, когда используется смесь хладагента, содержащая HFC-R32 (температура кипения: -58,3 градуса по Цельсию) и HFO-1234yf (температура кипения: -29 градусов по Цельсию), или смесь хладагента, содержащая HFC-R32 и HFO-1234ze (температура кипения: -19 градусов по Цельсию), хладагент с более высокой температурой кипения может быть накоплен в аккумуляторе 2 как жидкий хладагент 20 вследствие физического свойства хладагента, и поэтому содержимое HFC-R32 в композиции циркулирующего хладагента может быть создано более высоким, чем в композиции заправленного хладагента.

[0023] В случае, когда избыточное количество жидкого хладагента 20 введено в упоминаемый процесс, жидкий хладагент 20 накапливается независимо от разницы в температуре кипения. Следовательно, предпочтительно, чтобы степень открытия устройства 4 для снижения давления регулировалась таким образом, чтобы степень перегрева (A-B) была меньше, чем, но близкой к 0 градусов по Цельсию. Это может увеличить содержание HFC-R32 в составе циркулирующего хладагента до максимального уровня.

[0024] Здесь, условно, отверстие для возврата масла образовано в положении, соответствующему нижнему участку аккумулятора. Соответственно, когда обычный воздушный кондиционер работает таким образом, чтобы накапливать жидкий хладагент в аккумуляторе, как и с прибором 100 для кондиционирования воздуха согласно варианту осуществления, жидкий хладагент всасывается в компрессор через отверстие для возврата масла вместе с маслом для холодильной машины и, следовательно, потеря давления всасывания компрессора возрастает и, следовательно, производительность воздушного кондиционера ухудшается. В приборе 100 для кондиционирования воздуха 100 согласно варианту осуществления, напротив, отверстие 19 для возврата масла образовано в положении выше, чем центральный участок аккумулятора 2, как указано выше. Соответственно, даже если жидкий хладагент накапливается в аккумуляторе 2, отверстие 19 для возврата масла может быть расположено выше жидкого хладагента, как это представлено на фиг.3. Таким образом, в приборе 100 для кондиционирования воздуха согласно варианту осуществления, только масло для холодильной машины, осажденное поверх жидкого хладагента, всасывается через отверстие 19 для возврата масла, и, следовательно, жидкий хладагент может быть предотвращен от засасывания через отверстие 19 для возврата масла. Следовательно, ухудшение производительности прибора 100 для кондиционирования воздуха может быть предотвращено.

[0025] После того, как двухфазный газожидкостный хладагент разделен на жидкий хладагент и газообразный хладагент в аккумуляторе 2, газообразный хладагент (более строго, газообразный хладагент, в котором было увеличено отношение HFC-R32) засасывается в компрессор 1 через концевой участок всасывающего трубопровода 21 на стороне аккумулятора 2, таким образом, чтобы быть снова сжатым. После этого, через повторение фазы перехода хладагента, выполняемое путем повторения аналогичного процесса, комнатное пространство является кондиционированным (охлажденным) воздухом, охлажденным в теплообменнике 5, установленном с внутренней стороны.

[0026] В режиме нагревания, четырехходовой клапан 6 переворачивается с тем, чтобы заставить хладагент течь в противоположном направлении в холодильном цикле по отношению к направлению потока в режиме охлаждения, и теплообменник 5, установленный с внутренней стороны, действует в качестве конденсатора, а теплообменник 3, установленный с наружной стороны, действует в качестве испарителя, и пространство комнаты является кондиционированным (теплым) воздухом, нагретым в теплообменнике 5, установленном с внутренней стороны.

[0027] В упомянутой работе, контроллер 16 регулирует степень открытия устройства 4 для снижения давления с тем, чтобы сделать качество хладагента, протекающего в аккумулятор 2 меньше, чем 1, другими словами, с тем, чтобы позволить двухфазному газожидкостному хладагенту протекать в аккумулятор 2. Более конкретно, контроллер 16 вычитает значение (B градусов по Цельсию), обнаруженное посредством датчика 12 температуры хладагента теплообменника, установленного с внутренней стороны, прикрепленного к теплообменнику 3, установленному с внутренней стороны, действующему в качестве испарителя, из значения (A градусов по Цельсию) обнаруженного посредством датчика 10 температуры всасываемого компрессором хладагента, предусмотренного на стороне всасывания аккумулятора 2, тем самым, получая степень перегрева (A-B). Затем, контроллер 16 управляет степенью открытия устройства 4 для снижения давления с тем, чтобы сделать степень перегрева (А-В) меньше чем 0 градусов по Цельсию. Такая управляющая операция позволяет качеству хладагента, протекающего в аккумулятор 2, быть меньше, чем 1.

[0028] Как было описано до сих пор, конфигурация прибора 100 для кондиционирования воздуха согласно варианту осуществления позволяет хладагенту, имеющему более высокую температуру кипения среди холодильных агентов, входящих в состав не азеотропной смеси хладагента, накапливаться в аккумуляторе с приоритетом. Например, когда используется не азеотропная смесь хладагента, содержащая HFO-1234yf или HFO-1234ze и R32 хладагент, HFO-1234yf или HFO-1234ze, который имеет более высокую температуру кипения, может накапливаться в аккумуляторе. Таким образом, прибор 100 для кондиционирования воздуха согласно варианту осуществления может получить содержание HFC-R32 в составе циркулирующего хладагента выше, чем в составе заправленного хладагента. Таким образом, эффективность холодильного цикла в приборе 100 для кондиционирования воздуха согласно варианту осуществления может быть улучшена, и ухудшение в производительности прибора 100 для кондиционирования воздуха, использующего не азеотропную смесь хладагента, может быть предотвращено. Кроме того, прибор 100 для кондиционирования воздуха согласно варианту осуществления включает в себя отверстие 19 для возврата масла в положении выше, чем центральный участок аккумулятора 2. Соответственно, в приборе 100 для кондиционирования воздуха согласно варианту осуществления, компрессор 1 может быть предотвращен от всасывания жидкого хладагента, несмотря на то, что хладагент накапливается в аккумуляторе 2, и, следовательно, ухудшение в производительности прибора 100 для кондиционирования воздуха из-за потери давления всасывания компрессора 1 может быть предотвращено.

Следовательно, конфигурация прибора 100 для кондиционирования воздуха согласно варианту осуществления обеспечивает прибор 100 для кондиционирования воздуха, который использует не азеотропную смесь холодильных агентов, с высоким уровнем производительности.

СПИСОК ССЫЛОЧНЫХ ПОЗИЦИЙ

[0029] 1: компрессор, 1а: всасывающее отверстие, 1b: блок компрессионного механизма, 1c: герметичный контейнер, 2: аккумулятор, 3: теплообменник, установленный с наружной стороны, 4: устройство для снижения давления, 5: теплообменник, установленный с внутренней стороны, 6: четырехходовой клапан, 7: электромагнитный клапан для удаления избытка влаги и повторного нагрева, 8: вентилятор, установленный с внутренней стороны, 9: вентилятор, установленный с наружной стороны, 10: датчик температуры всасываемого компрессором хладагента, 11: датчик температуры нагнетаемого компрессором хладагента, 12: датчик температуры хладагента теплообменника, установленного с наружной стороны, 13: датчик температуры хладагента теплообменника, установленного с внутренней стороны, 14: внутренний блок, 15: наружный блок, 16: контроллер, 18: всасывающий трубопровод аккумулятора, 19: отверстие для возврата масла, 20: жидкий хладагент, 21: всасывающий трубопровод, 100: воздушный кондиционер.

1. Воздушный кондиционер, содержащий:

- холодильный цикл, в котором компрессор, конденсатор, устройство для снижения давления, испаритель и аккумулятор соединены с помощью трубопровода для хладагента, причем холодильный цикл заправлен не азеотропной смесью хладагента и маслом для холодильной машины;

- контроллер, который управляет степенью открытия устройства для снижения давления;

- всасывающий трубопровод, который является трубопроводом для хладагента, соединенным между всасывающим отверстием компрессора и аккумулятором, имеющим концевой участок на стороне аккумулятора, выступающий в аккумулятор;

- первый датчик температуры хладагента, который определяет температуру хладагента, текущего через испаритель; и

- второй датчик температуры хладагента, который определяет температуру хладагента, текущего через аккумулятор,

при этом всасывающий трубопровод включает в себя отверстие для возврата масла, образованное в участке всасывающего трубопровода, расположенном внутри аккумулятора, в положении выше, чем центральный участок аккумулятора,

и контроллер выполнен с возможностью такого управления степенью открытия устройства для снижения давления, чтобы сделать значение, полученное посредством вычитания значения, определенного первым датчиком температуры хладагента, из значения, определенного вторым датчиком температуры хладагента, менее чем 0°С, и чтобы сделать степень сухости хладагента, текущего в аккумулятор, менее 1.

2. Воздушный кондиционер по п.1, в котором не азеотропная смесь хладагента является смесью HFO-1234yf или HFO-1234ze и HFC-R32.