Теплообменник и оснащенный им кондиционер
Иллюстрации
Показать всеИзобретение относится к теплотехнике и может быть использовано в теплообменниках для кондиционеров. Предложен теплообменник, в котором в трубке подачи газа и трубке подачи жидкости блока соединительных трубок соединительные части, в которых алюминиевые трубки (первые трубки для хладагента: трубки для хладагента, сформированные из алюминия или алюминиевого сплава) и медные трубки (вторые трубки для хладагента: трубки для хладагента, сформированные из меди или медного сплава), соответственно, соединяются друг с другом, располагаются в ниспадающих частях алюминиевых трубок. Блок соединительных трубок покрывается теплоизоляционным материалом. Противокоррозионная обработка применяется к алюминиевым трубкам, покрытым теплоизоляционным материалом. Технический результат - устранение электролитической коррозии алюминия или алюминиевого сплава. 2 н. и 2 з.п. ф-лы, 8 ил.
Реферат
Область техники, к которой относится изобретение
Настоящее изобретение относится к теплообменнику и кондиционеру, оснащенному теплообменником.
Уровень техники
Известны теплообменники, оснащенные теплообменниками, имеющими трубки для теплопередачи, сформированные из алюминия или алюминиевого сплава (далее называемые "алюминиевыми теплообменниками"). Трубки для теплопередачи, сформированные из алюминия или алюминиевого сплава (или трубки для хладагента, сформированные из алюминия или алюминиевого сплава и соединенные с трубками для теплопередачи. Эти трубки упоминаются как "алюминиевые трубки" далее) в таком теплообменнике, соединяются с трубками для хладагента, сформированными из меди или медного сплава (далее называемыми "медными трубками"), тем самым встраивая теплообменник в холодильный цикл. В случае если алюминиевый теплообменник встраивается в холодильный цикл с использованием медных трубок вышеописанным способом, когда вода, остающаяся на медных трубках, притягивается к трубкам для теплопередачи или алюминиевым трубкам, возникает проблема в том, что возникает электролитическая коррозия (электрохимическая коррозия) в трубках для теплопередачи или алюминиевых трубках.
По этой причине, предложены технологии для теплообменников, с тем чтобы не допускать возникновения электролитической коррозии (электрохимической коррозии) в трубках для теплопередачи, сформированных из алюминия или алюминиевых сплавов и алюминиевых трубок. Эта технология предложена, например, следующим образом: "Кондиционер включает в себя основной корпус кондиционера, компрессор и крепежный элемент, который крепит блок для холодильного цикла к основному корпусу кондиционера. Блок для холодильного цикла включает в себя теплообменник, сформированный из алюминия или алюминиевого сплава, и трубку для хладагента, которая формируется из меди или медного сплава и соединяется с теплообменником. Вся часть трубки для хладагента выше теплообменника служит в качестве части трубки для предотвращения попадания капель воды, которая наклоняется вниз от теплообменника к трубке для хладагента, так что капли воды протекают вниз вдоль трубки для хладагента, тем самым не допуская возникновения электролитической коррозии теплообменника вследствие ионов меди" (см., например, патентный документ 1).
Список библиографических ссылок
Патентные документы
Патентный документ 1. Публикация не прошедшей экспертизу заявки на патент (Япония) № 6-300303 (реферат и фиг.1)
Сущность изобретения
Техническая задача
В кондиционере (например, в блоке для внутренней установки), оснащенном алюминиевым теплообменником предшествующего уровня техники, чтобы не допускать утечки наружу кондиционера капель воды, конденсирующихся на соединительных трубках (включающих в себя соединительный блок, в котором алюминиевая сторона и медная сторона соединяются друг с другом) для алюминиевого теплообменника, соединительные трубки должны покрываться теплоизоляционным материалом с тем, чтобы подавлять конденсацию. Тем не менее, конденсация не может полностью предотвращаться даже за счет покрытия соединительных трубок теплоизоляционным материалом, и, соответственно, небольшое количество воды, конденсирующейся на соединительных трубках, остается в небольшом зазоре между теплоизоляционным материалом и соединительными трубками. Таким образом, ионы меди на стороне соединительных трубок, сформированных из меди или медного сплава, диффундируют к стороне соединительных трубок, сформированных из алюминия или алюминиевого сплава, через воду, которая сконденсировалась и остается там. Как результат, возникает проблема в том, что возникает электролитическая коррозия (электрохимическая коррозия) в соединительных трубках, сформированных из алюминия или алюминиевого сплава.
Настоящее изобретение предлагается, чтобы разрешать вышеописанную проблему. Цель настоящего изобретения состоит в том, чтобы предоставлять теплообменник и кондиционер, включающий в себя теплообменник, в котором может подавляться развитие электролитической коррозии (электрохимической коррозии) алюминия или алюминиевого сплава. Электролитическая коррозия (электрохимическая коррозия) алюминия или алюминиевого сплава вызывается посредством диффузии ионов меди в соединительные трубки, сформированные из алюминия или алюминиевого сплава, через воду, конденсирующуюся и остающуюся в небольшом зазоре между теплоизоляционным материалом и блоком соединительных трубок.
Решение задачи
Теплообменник согласно настоящему изобретению включает в себя трубку для теплопередачи, выполненную из алюминия или алюминиевого сплава; и блок соединительных трубок, через который проходит хладагент, вытекающий из трубки для теплопередачи, и хладагент, протекающий в трубку для теплопередачи, причем блок соединительных трубок включает в себя в себя трубку подачи газа, через которую протекает хладагент в газообразном состоянии, и трубку подачи жидкости, через которую протекает хладагент в жидком состоянии или в двухфазном газожидкостном состоянии, причем трубка подачи газа и трубка подачи жидкости имеют первую трубку для хладагента, сформированную из алюминия или алюминиевого сплава, и вторую трубку для хладагента, сформированную из меди или медного сплава, при этом первая трубка для хладагента и вторая трубка для хладагента соединяются, причем первая трубка для хладагента имеет ниспадающую часть, соединенную с трубкой для теплопередачи, при этом ниспадающая часть протягивается вниз относительно трубки для теплопередачи. В теплообменнике, каждая соединительная часть между первой трубкой для хладагента и второй трубкой для хладагента располагается в ниспадающей части первой трубки для хладагента, блок соединительных трубок покрывается теплоизоляционным материалом, и противокоррозионная обработка применяется к каждой первой трубке для хладагента, покрытой теплоизоляционным материалом.
Кондиционер согласно настоящему изобретению включает в себя теплообменник.
Преимущества изобретения
В теплообменнике согласно настоящему изобретению, в каждой из трубки подачи газа и трубки подачи жидкости блока соединительных трубок, соединительная часть, в которой первая трубка для хладагента (трубка для хладагента, сформированная из алюминия или алюминиевого сплава) и вторая трубка для хладагента (трубка для хладагента, сформированная из меди или медного сплава) соединяются друг с другом, располагается в ниспадающей части первой трубки для хладагента. Блок соединительных трубок покрывается теплоизоляционным материалом, и противокоррозионная обработка применяется к первой трубке для хладагента (трубки для хладагента, сформированной из алюминия или алюминиевого сплава), покрытой теплоизоляционным материалом. Таким образом, даже когда возникает конденсация в блоке соединительных трубок, покрытом теплоизоляционным материалом, и конденсирующаяся вода остается в небольшом зазоре между теплоизоляционным материалом и блоком соединительных трубок, может подавляться развитие коррозии первой трубки для хладагента (трубки для хладагента, сформированной из алюминия или алюминиевого сплава), и, соответственно, теплообменник может иметь длительный срок службы.
Поскольку кондиционер согласно настоящему изобретению включает в себя теплообменник, может подавляться развитие коррозии первой трубки для хладагента (трубки для хладагента, сформированной из алюминия или алюминиевого сплава), и, соответственно, кондиционер может иметь длительный срок службы.
Краткое описание чертежей
Фиг.1 является пояснительной схемой, иллюстрирующей состояние, в котором установлен кондиционер согласно варианту осуществления настоящего изобретения.
Фиг.2 включает в себя виды в перспективе теплообменника согласно варианту осуществления настоящего изобретения.
Фиг.3 является укрупненным видом спереди главной части теплообменника согласно варианту осуществления настоящего изобретения.
Фиг.4 является видом сбоку теплообменника согласно варианту осуществления настоящего изобретения.
Фиг.5 является видом в продольном сечении соединительной части, в которой алюминиевая трубка и медная трубка соединяются друг с другом, согласно варианту осуществления настоящего изобретения.
Фиг.6 является видом в поперечном сечении (видом в сечении со стрелкой вдоль линии A-A на фиг.5) соединительной части, в которой алюминиевая трубка и медная трубка соединяются друг с другом, согласно варианту осуществления настоящего изобретения.
Фиг.7 является видом в сечении состояния, в котором алюминиевая трубка и медная трубка согласно варианту осуществления настоящего изобретения соединяются друг с другом.
Подробное описание вариантов осуществления
В нижеприведенном варианте осуществления описывается теплообменник согласно настоящему изобретению, установленный в блоке кондиционера для внутренней установки. Примером блока для внутренней установки согласно настоящему изобретению является блок для внутренней установки с настенным монтажом.
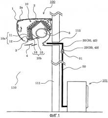
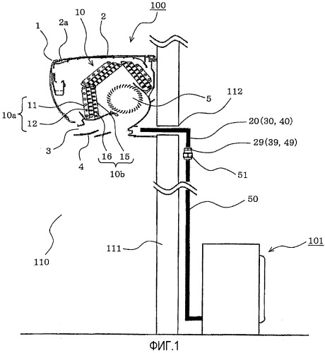
Фиг.1 является пояснительной схемой, иллюстрирующей состояние, в котором установлен кондиционер согласно варианту осуществления настоящего изобретения.
Как проиллюстрировано на фиг.1, кондиционер согласно варианту осуществления настоящего изобретения включает в себя блок 100 для внутренней установки и блок 101 для наружной установки. Блок 100 для внутренней установки монтируется на стенке 111 кондиционируемого пространства 110. Блок 101 для наружной установки устанавливается вне кондиционируемого пространства 110.
Блок 100 для внутренней установки включает в себя такие компоненты, как корпус 1, вентилятор 5 и внутренний теплообменник 10. Корпус 1 имеет, например, практически коробчатую прямоугольную форму и имеет отверстие 2 для впуска воздуха, сформированное на его верхней части, и отверстие 3 для выпуска воздуха, сформированное на его нижней части. Отверстие 2 для впуска воздуха содержит фильтр 2a, который собирает пыль и т.п. из воздуха в помещении, всасываемого в корпус 1. Отверстие 3 для выпуска воздуха содержит механизм 4 регулирования направления воздушного потока, который регулирует направления кондиционированного воздуха, продуваемого через отверстие 3 для выпуска воздуха.
Вентилятор 5 включает в себя, например, вентилятор с поперечным потоком, расположенный в корпусе 1. Внутренний теплообменник 10 располагается так, что он покрывает переднюю, верхнюю и заднюю стороны вентилятора 5.
Внутренний теплообменник 10 согласно варианту осуществления настоящего изобретения включает в себя ребристотрубчатые теплообменники. Внутренний теплообменник 10 включает в себя множество теплообменников 10a и множество теплообменников 10b. Теплообменники 10a включают в себя цилиндрические трубки 12 для теплопередачи. Теплообменники 10b включают в себя плоские трубки 16 для теплопередачи. Каждый теплообменник 10a включает в себя множество радиаторных пластин 11 и множество трубок 12 для теплопередачи (цилиндрических трубок). Радиаторные пластины 11 формируются из алюминия или алюминиевого сплава. Трубки 12 для теплопередачи формируются из алюминия или алюминиевого сплава. Радиаторные пластины 11 размещаются поверх друг друга так, что они разнесены друг от друга на указанный зазор. Трубки 12 для теплопередачи (цилиндрические трубки) идут через секционные радиаторные пластины 11. Каждый теплообменник 10b включает в себя множество радиаторных пластин 15 и множество трубок 16 для теплопередачи (плоских трубок). Радиаторные пластины 15 формируются из алюминия или алюминиевого сплава. Трубки 16 для теплопередачи формируются из алюминия или алюминиевого сплава. Радиаторные пластины 15 размещаются поверх друг друга так, что они разнесены друг от друга на указанный зазор. Трубки 16 для теплопередачи (плоские трубки) идут через секционные радиаторные пластины 15.
Когда вентилятор 5 приводится в действие, комнатный воздух в кондиционируемом пространстве 110 всасывается в корпус 1 через отверстие 2 для впуска воздуха. Комнатный воздух нагревается или охлаждается в кондиционированный воздух при протекании через внутренний теплообменник 10. Кондиционированный воздух продувается через отверстие 3 для выпуска воздуха. Во внутреннем теплообменнике 10 согласно варианту осуществления настоящего изобретения, теплообменники 10a с использованием цилиндрических трубок 12 для теплопередачи находятся выше в направлении воздушного потока, а теплообменники 10b с использованием плоских трубок 16 для теплопередачи находятся ниже в направлении воздушного потока. Внутренний теплообменник 10 имеет характеристику наличия множества независимых охлаждающих схем, так что внутренний теплообменник 10 может быть термически разделен, например, на две секции (например, секцию теплообменников 10a и секцию теплообменников 10b). Устройство 8 для снижения давления для осушения с промперегревом (например, расширительный клапан: фиг.2) соединяется между термически разделенными двумя секциями теплообменников. Это может приводить к тому, что когда, например, выполняется операция охлаждения, часть внутреннего теплообменника 10 выступает в качестве конденсатора, и часть оставшейся части внутреннего теплообменника 10 выступает в качестве испарителя. Таким образом, посредством теплового разделения внутреннего теплообменника 10 на две секции, когда выполняется осушение во время операции охлаждения, не допускается чрезмерное снижение температуры кондиционированного воздуха, который должен быть продут через отверстие 3 для выпуска воздуха.
Внутренний теплообменник 10 включает в себя блок 20 соединительных трубок. Конец блока 20 соединительных трубок соединяется с трубками для теплопередачи (соединяется либо с трубками 12 для теплопередачи, либо с трубками 16 для теплопередачи, либо с трубками 12 и 16 для теплопередачи) внутреннего теплообменника 10. Блок 20 соединительных трубок формируется из меди или медного сплава и направляется наружу через отверстие 112, сформированное в стене 111. Блок 29 соединения под конусную гайку предоставляется на другом конце блока 20 соединительных трубок. Посредством соединения блока 29 соединения под конусную гайку с блоком 51 соединения под конусную гайку блока 50 удлиненных трубок, который соединяется с блоком 101 для наружной установки, блок 100 для внутренней установки соединяется с блоком 101 для наружной установки. Иными словами, посредством соединения блока 29 соединения под конусную гайку с блоком 51 соединения под конусную гайку, внутренний теплообменник 10 соединяется с элементами холодильного цикла (к примеру, наружным теплообменником и компрессором, оба из которых не показаны), причем элементы предоставляются в блоке 101 для наружной установки, тем самым формируя холодильный цикл.
Как описано ниже, блок 20 соединительных трубок включает в себя две трубки (трубку 30 подачи газа и трубку 40 подачи жидкости). Чтобы размещать их, блок 29 соединения под конусную гайку включает в себя два субблока соединения под конусную гайку (субблок 39 соединения под конусную гайку для трубки 30 подачи газа и субблок 49 соединения под конусную гайку для трубки 40 подачи жидкости). Соответственно, блок 50 удлиненных трубок также включает в себя две трубки, а блок 51 соединения под конусную гайку блока 50 удлиненных трубок включает в себя два субблока соединения под конусную гайку.
Далее описываются подробности блока 20 соединительных трубок.
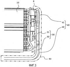
Фиг.2 включает в себя виды в перспективе теплообменника согласно варианту осуществления настоящего изобретения. Фиг.3 является укрупненным видом спереди главной части теплообменника. Фиг.4 является видом сбоку теплообменника. Хотя фиг.2 включает в себя отдельные виды (a) и (b) для описания трубки 30 подачи газа и трубки 40 подачи жидкости, виды (a) и (b) являются одинаковыми за исключением ссылок с номерами. Подробности блока 20 соединительных трубок согласно варианту осуществления настоящего изобретения описываются ниже со ссылкой на фиг.2-4.
Блок 20 соединительных трубок включает в себя трубку 30 подачи газа и трубку 40 подачи жидкости.
Трубка 30 подачи газа является трубкой для хладагента, через которую, главным образом, протекает хладагент в газообразном состоянии. Таким образом, когда выполняется операция охлаждения (когда внутренний теплообменник 10 выступает в качестве испарителя), хладагент, протекающий через трубки 12 и 16 для теплопередачи внутреннего теплообменника 10, вытекает из блока 100 для внутренней установки через трубку 30 подачи газа. Напротив, когда выполняется операция нагрева (когда внутренний теплообменник 10 выступает в качестве конденсатора), хладагент, который должен протекать через трубки 12 и 16 для теплопередачи внутреннего теплообменника 10, протекает в блок 100 для внутренней установки через трубку 30 подачи газа.
Трубка 40 подачи жидкости является трубкой для хладагента, через которую, главным образом, протекает хладагент в жидком состоянии. Таким образом, когда выполняется операция охлаждения (когда внутренний теплообменник 10 выступает в качестве испарителя), хладагент, который должен протекать через трубки 12 и 16 для теплопередачи внутреннего теплообменника 10, протекает в блок 100 для внутренней установки через трубку 40 подачи жидкости. Напротив, когда выполняется операция нагрева (когда внутренний теплообменник 10 выступает в качестве конденсатора), хладагент, протекающий через трубки 12 и 16 для теплопередачи внутреннего теплообменника 10, вытекает из блока 100 для внутренней установки через трубку 40 подачи жидкости. Хладагент, протекающий через устройство для снижения давления, которое является элементом холодильного цикла, может протекать через трубку 40 подачи жидкости в зависимости от конфигурации холодильного цикла. В этом случае, хладагент, протекающий через трубку 40 подачи жидкости, является двухфазным газожидкостным хладагентом с большим содержанием жидкости.
В теплообменнике согласно варианту осуществления настоящего изобретения трубка 30 подачи газа изготавливается из алюминиевой трубки 31, сформированной из алюминия или алюминиевого сплава, и медной трубки 32, сформированной из меди или медного сплава. Аналогично, трубка 40 подачи жидкости изготавливается из алюминиевой трубки 41, сформированной из алюминия или алюминиевого сплава, и медной трубки 42, сформированной из меди или медного сплава. Алюминиевые трубки 31 и 41 соответствуют первой трубке для хладагента, а медные трубки 32 и 42 соответствуют второй трубке для хладагента. Причина использования трубки 30 подачи газа и трубки 40 подачи жидкости, имеющих вышеописанную конструкцию, заключается в следующем.
В общем, в блоках 29 и 51 соединения под конусную гайку, соединяющих блок 50 удлиненных трубок с трубкой 30 подачи газа и трубкой 40 подачи жидкости, трубки на одной стороне соединения (например, трубки блока 50 удлиненных трубок) имеют часть с внутренней резьбой, а трубки на другой стороне соединения (например, трубка 30 подачи газа и трубка 40 подачи жидкости) имеют часть с наружной резьбой. Каждая часть с внутренней резьбой имеет внутреннюю резьбу, сформированную на своей внутренней поверхности, и сквозное отверстие, сообщающееся с пространством, в котором формируется внутренняя резьба. На конце блока трубки на одной стороне соединения (например, блока 50 удлиненных трубок), каждая трубка вставляется через сквозное отверстие, в то время как диаметр конца трубки укрупнен посредством формирования раструба. Часть с наружной резьбой припаивается к концу каждой трубки на другой стороне соединения (например, трубки 30 подачи газа и трубки 40 подачи жидкости). Части с наружной резьбой и соответствующие части с внутренней резьбой привинчиваются друг к другу. Таким образом, каждый конец трубок, в котором формируются раструбы (например, трубки блока 50 удлиненных трубок) на одной стороне соединения плотно удерживается между соответствующей одной из частей с внутренней резьбой и соответствующей одной из частей с наружной резьбой. Таким образом, блок 50 удлиненных трубок соединяется с трубкой 30 подачи газа и трубкой 40 подачи жидкости. В общем, части с внешней и внутренней резьбой формируются из латуни с учетом, например, пригодности материала для пайки твердым припоем и обрабатываемости.
Здесь, в случае, если, например, трубка 30 подачи газа формируется только из алюминиевой трубки 31, и субблок 39 соединения под конусную гайку трубки 30 подачи газа имеет латунную часть с наружной резьбой, трудно припаивать субблок 39 соединения под конусную гайку к алюминиевой трубке 31. Также в этом случае, материалы из металла алюминиевой трубки 31 и субблока 39 соединения под конусную гайку отличаются друг от друга, и, соответственно, возникает электролитическая коррозия (электрохимическая коррозия), как описано ниже, в части, в которой алюминиевая трубка 31 и субблок 39 соединения под конусную гайку соединяются друг с другом. Например, в случае, если трубка 30 подачи газа формируется только из алюминиевой трубки 31, и субблок 39 соединения под конусную гайку трубки 30 подачи газа имеет латунную часть с внутренней резьбой, материалы из металла алюминиевой трубки 31 и субблока 39 соединения под конусную гайку отличаются друг от друга и, соответственно, возникает электролитическая коррозия (электрохимическая коррозия), как описано ниже, в части, в которой алюминиевая трубка 31 и субблок 39 соединения под конусную гайку находятся в контакте друг с другом.
Например, в случае, если трубка 30 подачи газа формируется только из алюминиевой трубки 31, и субблок 39 соединения под конусную гайку трубки 30 подачи газа имеет часть с наружной резьбой, сформированную из алюминия или алюминиевого сплава, прочность винтовой резьбы субблока 39 соединения под конусную гайку является недостаточной. Также в этом случае, поскольку блок 51 соединения под конусную гайку блока 50 медных удлиненных трубок имеет латунные части с внутренней резьбой, возникает электролитическая коррозия (электрохимическая коррозия), как описано ниже, между субблоком 39 соединения под конусную гайку трубки 30 подачи газа и блоком 51 соединения под конусную гайку блока 50 удлиненных трубок.
Например, в случае, если трубка 30 подачи газа формируется только из алюминиевой трубки 31, и субблок 39 соединения под конусную гайку трубки 30 подачи газа имеет часть с внутренней резьбой, сформированную из алюминия или алюминиевого сплава, прочность винтовой резьбы субблока 39 соединения под конусную гайку является недостаточной. Кроме того, при формировании раструба на конце алюминиевой трубки 31 существует такая проблема, что конец алюминиевой трубки 31 может растрескиваться. Поскольку блок 51 соединения под конусную гайку блока 50 медных удлиненных трубок имеет латунные части с наружной резьбой, возникает электролитическая коррозия (электрохимическая коррозия), как описано ниже, между субблоком 39 соединения под конусную гайку трубки 30 подачи газа и блоком 51 соединения под конусную гайку блока 50 удлиненных трубок.
Например, в случае, если трубка 30 подачи газа формируется только из алюминиевой трубки 31, и субблок 39 соединения под конусную гайку трубки 30 подачи газа и блок 51 соединения под конусную гайку блока 50 удлиненных трубок формируются из алюминия или алюминиевого сплава, прочности винтовой резьбы субблока 39 соединения под конусную гайку и блока 51 соединения под конусную гайку являются недостаточными. В случае если субблок 39 соединения под конусную гайку трубки 30 подачи газа имеет часть с внутренней резьбой, при формировании раструба на конце алюминиевой трубки 31 существует такая проблема, что конец алюминиевой трубки 31 может растрескиваться. Кроме того, чтобы не допускать возникновения электролитической коррозии (электрохимической коррозии), как описано ниже, в части, в которой блок 50 удлиненных трубок и блок 51 соединения под конусную гайку соединяются друг с другом, трубки блока 50 удлиненных трубок должны быть сформированы из алюминия или алюминиевого сплава. По этой причине, в случае, если блок 51 соединения под конусную гайку блока 50 удлиненных трубок имеет части с внутренней резьбой, при формировании раструбов на конце трубок блока 50 удлиненных трубок существует такая проблема, что конец трубок блока 50 удлиненных трубок может растрескиваться.
Таким образом, в теплообменнике согласно варианту осуществления настоящего изобретения, трубка 30 подачи газа формируется из алюминиевой трубки 31 и медной трубки 32. В трубке 30 подачи газа, субблок 39 латунного соединения под конусную гайку, имеющий часть с внутренней или внешней резьбой, предоставляется на конце медной трубки 32, тем самым не допуская становления недостаточной прочности винтовой резьбы и растрескивания конца трубки, которое может в ином случае возникать, когда формируется раструб. Аналогично, трубка 40 подачи жидкости формируется из алюминиевой трубки 41 и медной трубки 42, и субблок 49 латунного соединения под конусную гайку, имеющий часть с внутренней или внешней резьбой, предоставляется на конце медной трубки 42, тем самым не допуская недостаточности прочности винтовой резьбы и растрескивания конца трубки, которое может в ином случае возникать, когда формируется раструб.
Здесь, в теплообменнике согласно варианту осуществления настоящего изобретения, алюминиевая трубка 31 и медная трубка 32 соединяются друг с другом в соединительной части 37 посредством пайки эвтектическим сплавом (пайки, при которой металлы контактируют друг с другом при определенной температуре так, что они формируют эвтектический сплав). Конец алюминиевой трубки 31 напротив соединительной части 37 соединяется с одной из трубок 12 для теплопередачи или одной из трубок 16 для теплопередачи посредством, например, пайки твердым припоем. Аналогично, алюминиевая трубка 41 и медная трубка 42 соединяются друг с другом в соединительной части 47 посредством пайки эвтектическим сплавом (пайки, при которой металлы контактируют друг с другом при определенной температуре так, что они формируют эвтектический сплав). Конец алюминиевой трубки 41 напротив соединительной части 47 соединяется с одной из трубок 12 для теплопередачи или одной из трубок 16 для теплопередачи посредством, например, пайки твердым припоем.
В частности, соединительная часть 37, в которой алюминиевая трубка 31 и медная трубка 32 соединяются друг с другом, и соединительная часть 47, в которой алюминиевая трубка 41 и медная трубка 42 соединяются друг с другом, имеют такую конструкцию, как проиллюстрировано на фиг.7. Иными словами, концы медных трубок 32 и 42, соответственно, вставляются в концы алюминиевых трубок 31 и 41 так, что они соединяются друг с другом посредством пайки эвтектическим сплавом (пайки, при которой металлы контактируют друг с другом при определенной температуре так, что они формируют эвтектический сплав). Когда вода притягивается к соединительным частям 37 и 47, в частности, притягивается к концам алюминиевых трубок 31 и 41, в которые вставляются медные трубки 32 и 42, возникает электролитическая коррозия (электрохимическая коррозия) в соединительных частях 37 и 47 (в частности, в сегментах соединительных частей 37 и 47, сформированных из алюминия или алюминиевого сплава) в соответствии с принципом, который описывается ниже. Таким образом, чтобы делать соединительные части 37 и 47 водонепроницаемыми, желательно, чтобы соединительные части 37 и 47 покрывались термоусадочными трубками или специальным покрытием.
В кондиционере согласно варианту осуществления настоящего изобретения, как проиллюстрировано на фиг.1, когда устанавливается блок 100 для внутренней установки, блок 20 соединительных трубок (трубка 30 подачи газа и трубка 40 подачи жидкости) направляется наружу через отверстие 112, сформированное в стенке 111. Таким образом, позиция отверстия 112 стенки 111 и позиция установки блока 100 для внутренней установки изменяются в соответствии с окружающей средой установки. Таким образом, нижние искривленные части 36 и 46 многократно изгибаются и растягиваются. Чтобы не допускать выпрямления или повреждения нижних искривленных частей 36 и 46, нижние искривленные части 36 и 46 формируются из меди или медного сплава, которые имеют прочности, превышающие прочности алюминия или алюминиевого сплава.
В варианте осуществления алюминиевая трубка 31 с размерами ϕ9,52 мм×t1,0 мм и медная трубка 32 с размерами ϕ9,52 мм×t0,8 мм соединяются друг с другом так, что они формируют трубку 30 подачи газа, а алюминиевая трубка 41 с размерами ϕ7,00 мм×t0,75 мм и медная трубка 42 с размерами ϕ7,00 мм×t0,60 мм соединяются друг с другом так, что они формируют трубку 40 подачи жидкости.
Также в варианте осуществления, чтобы не допускать возникновения электролитической коррозии (электрохимической коррозии) алюминиевых трубок 31 и 41, трубка 30 подачи газа и трубка 40 подачи жидкости формируются так, что они имеют следующие формы.
Когда вода, включающая в себя ионы меди (Cu2+), находится в контакте с алюминием или алюминиевым сплавом, алюминий или алюминиевый сплав подвергаются следующей реакции вследствие различия в склонности к ионизации:
2Al+3Cu2+→2Al3+ + 3Cu.
Иными словами, алюминий ионизируется, и, соответственно, возникает электролитическая коррозия (электрохимическая коррозия) алюминия или алюминиевого сплава.
Напротив, притяжение капель воды, включающих в себя ионы алюминия (Al3+), к алюминию или алюминиевому сплаву не приводит к электролитической коррозии (электрохимической коррозии) алюминия или алюминиевого сплава, поскольку вода, включающая в себя ионы алюминия, состоит из атома, идентичного атому алюминия или алюминиевого сплава. Когда капли воды, включающие в себя ионы алюминия (Al3+), притягиваются к меди или медному сплаву, склонность к ионизации меди меньше склонности к ионизации алюминия, и, соответственно, не возникает электролитическая коррозия (электрохимическая коррозия) меди или медного сплава.
Трубка 30 подачи газа и трубка 40 подачи жидкости между верхними искривленными частями 34 и 44 и трубками 12 и 16 для теплопередачи внутреннего теплообменника 10 наклоняются так, что капли конденсирующейся воды протекают к внутреннему теплообменнику 10. Таким образом, когда соединительные части 37 и 47 находятся ближе к трубкам 12 и 16 для теплопередачи внутреннего теплообменника 10, чем верхние искривленные части 34 и 44, капли воды, включающие в себя ионы меди, протекают к внутреннему теплообменнику 10. Это приводит к возникновению электролитической коррозии (электрохимической коррозии) в частях трубки 30 подачи газа и трубки 40 подачи жидкости, при этом части сформированы из алюминия или алюминиевого сплава, и трубки 12 и 16 для теплопередачи внутреннего теплообменника 10 сформированы из алюминия или алюминиевого сплава.
Таким образом, в варианте осуществления, соединительная часть 37 располагается в линейной части 35, которая находится в практически вертикальной части трубки 30 подачи газа, так что верхняя часть линейной части 35 должна быть алюминиевой трубкой 31, а нижняя часть линейной части 35 трубки 30 подачи газа должна быть медной трубкой 32.
Аналогично, соединительная часть 47 располагается в линейной части 45, которая находится в практически вертикальной части трубки 40 подачи жидкости, так что верхняя часть линейной части 45 должна быть алюминиевой трубкой 41, а нижняя часть линейной части 45 трубки 40 подачи жидкости должна быть медной трубкой 42.
Иными словами, соединительные части 37 и 47 находятся выше нижних искривленных частей 36 и 46 в линейных частях 35 и 45 ниспадающих частей 33 и 43.
Хотя ниспадающие части 33 и 43 являются практически вертикальными в варианте осуществления, очевидно, что ниспадающие части 33 и 43 могут быть наклонены.
Соединительная часть 37 трубки 30 подачи газа и соединительная часть 47 трубки 40 подачи жидкости предпочтительно находятся на идентичном уровне высоты, поскольку, во многих случаях, трубка 30 подачи газа и трубка 40 подачи жидкости располагаются так, что они находятся близко друг к другу. Посредством расположения соединительной части 37 трубки 30 подачи газа и соединительной части 47 трубки 40 подачи жидкости на одном уровне высоты, можно не допускать возникновения случая, в котором возникает электролитическая коррозия (электрохимическая коррозия) в алюминиевой трубке 41 трубки 40 подачи жидкости вследствие контакта алюминиевой трубки 41 трубки 40 подачи жидкости с медной трубкой 32 трубки 30 подачи газа. Кроме того, также можно не допускать возникновения случая, в котором возникает электролитическая коррозия (электрохимическая коррозия) в алюминиевой трубке 31 трубки 30 подачи газа вследствие контакта алюминиевой трубки 31 трубки 30 подачи газа с медной трубкой 42 трубки 40 подачи жидкости.
В варианте осуществления конденсация подавляется посредством покрытия блока 20 соединительных трубок теплоизоляционным материалом 60, чтобы не допускать утечки наружу кондиционера капель воды, конденсирующихся на блоке 20 соединительных трубок.
Фиг.5 является видом в продольном сечении соединительной части алюминиевой трубки и медной трубки согласно варианту осуществления настоящего изобретения. Фиг.6 является видом в поперечном сечении (видом в сечении со стрелкой вдоль линии A-A на фиг.5) соединительной части.
Конденсация не может полностью предотвращаться посредством покрытия блока 20 соединительных трубок теплоизоляционным материалом 60, как описано выше. Таким образом, небольшое количество конденсирующейся воды остается в небольшом пространстве 70 (фиг.5 и 6) между теплоизоляционным материалом 60 и блоком 20 соединительных трубок. Вода, конденсирующаяся и остающаяся в небольшом пространстве 70, непрерывно покрывает поверхности алюминиевых трубок 31 и 41 и медных трубок 32 и 42. Как результат, ионы меди Cu2+ медных трубок 32 и 42 диффундируют к алюминиевым трубкам 31 и 41 против силы тяжести через конденсирующуюся и остающуюся воду, тем самым приводя к возникновению электролитической коррозии (электрохимической коррозии) алюминия или алюминиевого сплава.
Согласно варианту осуществления, даже когда ионы меди Cu2+ медных трубок 32 и 42, которые формируются из меди или медного сплава, диффундируют против силы тяжести к алюминиевым трубкам 31 и 41 через воду, конденсирующуюся и остающуюся в небольшом пространстве 70, цинковый диффузионный слой формируется на поверхности каждой из алюминиевых трубок 31 и 41, так что коррозия алюминиевых трубок 31 и 41 может подавляться. За счет этого, может подавляться развитие коррозии алюминиевых трубок 31 и 41, сформированных из алюминия или алюминиевого сплава, и, соответственно, может быть повышена надежность мер против утечки хладагента.
Желательно, чтобы образование цинкового диффузионного слоя на поверхностях алюминиевых трубок 31 и 41, сформированного из алюминия или алюминиевого сплава, выполнялось на исходных трубках алюминиевых трубок 31 и 41.
Альтернативно, в качестве противокоррозионной обработки алюминиевых трубок 31 и 41, сформированных из алюминия или алюминиевого сплава, термоусадочные трубки или покрытия, присоединяемые или применяемые к соединительным частям 37 и 47, могут применяться или присоединяться полностью к рядам алюминиевых трубок 31 и 41, при этом ряды покрываются посредством теплоизоляционного материала 60, чтобы не допускать притяжения воды к соединительным частям 37 и 47. В этом случае, желательно, чтобы термоусадочные трубки присоединялись, или покрытия применялись к алюминиевым трубкам 31 и 41 в то время, когда алюминиевые трубки 31 и 41 еще являются соединительными трубками в собранном состоянии, до припаивания к трубкам 12 и 16 для теплопередачи внутреннего теплообменника 10.
Альтернативно, в качестве противокоррозионной обработки алюминиевых трубок 31 и 41, сформированных из алюминия или алюминиевого сплава, алюминиевые трубки 31 и 41 могут анодироваться или покрываться металлом, таким как цинк или марганец. Также в этом случае, желательно, чтобы алюминиевые трубки 31 и 41 анодировались или покрывались металлом в то время, когда алюминиевая трубка 31 и 41 являются соединительными трубками в собранном состоянии, до припаивания к трубкам 12 и 16 для теплопередачи внутреннего теплообменника 10.
Альтернатив



