Иллюстрации к патенту
2509969
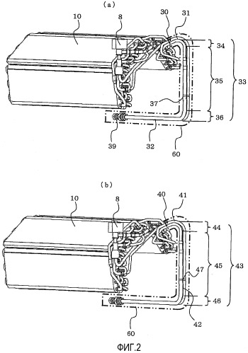
Теплообменник и оснащенный им кондиционер