PatentDB.ru — поиск по патентным документам

Иллюстрации к патенту 2509969

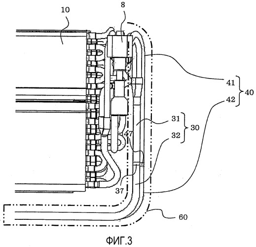
Теплообменник и оснащенный им кондиционер

Теплообменник и оснащенный им кондиционер (патент 2509969)