Устройство кодирования изображений, устройство декодирования изображений, способ кодирования изображений и способ декодирования изображений
Иллюстрации
Показать всеИзобретение относится к средствам кодирования и декодирования изображений. Технический результат заключается в повышении эффективности кодирования и декодирования при повышении числа режимов направленного предсказания без увеличения объемов вычислений. Модуль внутреннего предсказания настоящего изобретения, если режим кодирования, выбранный посредством модуля управления кодированием, является режимом внутреннего предсказания, формирует предсказанное изображение (Pin) посредством выполнения обработки внутрикадрового предсказания с использованием пикселов, смежных с сегментом Pin, который сегментирован посредством модуля сегментации на блоки, или пикселов, смежных с сегментом Pin-1 верхнего уровня сегмента Pin. 4 н.п. ф-лы, 14 ил.
Реферат
Область техники, к которой относится изобретение
[0001] Настоящее изобретение относится к устройству кодирования изображений и к способу кодирования изображений для кодирования для движущегося изображения с высокой степенью эффективности, а также к устройству декодирования изображений и к способу декодирования изображений для декодирования кодированного движущегося изображения с высокой степенью эффективности.
Уровень техники
[0002] Например, в режиме внутреннего предсказания для яркости в способе кодирования по стандарту AVC/H.264 (ISO/IEC 14496-10|ITU-T H.264), который является способом по международному стандарту, один режим предсказания может быть выбран из множества режимов предсказания для каждого блока (например, см. непатентную ссылку 1). Фиг. 14 является пояснительным чертежом, показывающим режимы внутреннего предсказания в случае размера пикселного блока 4×4 для яркости. В случае размера пикселного блока 4×4 для яркости задаются девять режимов внутреннего предсказания (режим 0, режим 1, ..., и режим 8).
[0003] В примере, показанном на фиг. 14, каждый белый круг показывает пиксел в блоке, который должен быть кодирован. Каждый черный круг показывает пиксел, который используется для предсказания и который существует в уже кодированном смежном блоке. Режим 2 является режимом, в котором предсказание по среднему выполняется таким образом, что каждый пиксел в блоке, который должен быть кодирован, предсказывается посредством использования среднего из смежных пикселов, существующих в верхнем и левом блоках. Каждый из режимов, отличных от режима 2, является режимом, в котором выполняется направленное предсказание. В частности, режим 0 является режимом, в котором вертикальное предсказание выполняется таким образом, что смежные пикселы в верхнем блоке многократно повторяются, чтобы создавать несколько строк пикселов вдоль вертикального направления с тем, чтобы формировать предсказанное изображение. Например, режим 0 выбирается, когда блок, который должен быть кодирован, является шаблоном с чередованием по вертикали. Режим 1 является режимом, в котором горизонтальное предсказание выполняется таким образом, что смежные пикселы в левом блоке многократно копируются, чтобы создавать несколько столбцов пикселов вдоль горизонтального направления с тем, чтобы формировать предсказанное изображение. Дополнительно в каждом из режимов 3-8 интерполяционных пикселов, идущих в предварительно определенном направлении (т.е. в направлении, показанном посредством стрелок), формируются посредством использования смежных пикселов в верхнем блоке или левом блоке, чтобы формировать предсказанное изображение.
[0004] Размер блока для яркости, к которому применяется внутреннее предсказание, может быть выбран из 4×4 пикселов, 8×8 пикселов и 16×16 пикселов. В случае если размер блока для яркости составляет 8×8 пикселов, задаются девять режимов внутреннего предсказания, как и в случае, если размер блока для яркости составляет 4×4 пикселов. В отличие от этого в случае, если размер блока для яркости составляет 16×16 пикселов, четыре режима внутреннего предсказания, которые называются предсказаниями на плоскости, задаются в дополнение к режиму предсказания по среднему режиму вертикального предсказания и режиму горизонтального предсказания. Режим предсказания на плоскости является режимом, в котором пикселы, созданные посредством выполнения интерполяции в диагональном направлении для смежных пикселов в верхнем блоке и смежных пикселов в левом блоке, предоставляются в качестве предсказанных значений.
[0005] Хотя в режиме направленного предсказания в случае, если размер блока для яркости составляет 4×4 пикселов или 8×8 пикселов, поскольку предсказанные значения формируются по направлению, предварительно определенному согласно режиму (например, направления в 45 градусов), эффективность предсказания повышается, и объем кода может быть уменьшен, когда направление границы (края) объекта в блоке совпадает с направлением, показанным посредством режима предсказания, эффективность предсказания снижается, когда направление края объекта в блоке не совпадает с направлением, показанным посредством режима предсказания. В отличие от этого, поскольку увеличение числа выбираемых режимов направленного предсказания приводит к увеличению вероятности того, что направление края совпадает с направлением, показанным посредством режима предсказания, можно предположить, что эффективность предсказания повышается.
Документы предшествующего уровня техники
Непатентные ссылки
[0006] Непатентная ссылка 1. Стандарты MPEG-4 AVC (ISO/IEC 14496-10)/H.ITU-T 264
Сущность изобретения
Задачи, которые должны быть решены изобретением
[0007] Поскольку традиционное устройство кодирования изображений выполнено, как указано выше, увеличение числа выбираемых режимов направленного предсказания повышает вероятность того, что направление края совпадает с направлением, показанным посредством режима предсказания, и, следовательно, может быть повышена эффективность предсказания. Тем не менее, проблема состоит в том, что, поскольку число вариантов аналогичных предсказанных изображений увеличивается, даже если число выбираемых направленных предсказаний увеличивается, повышение эффективности кодирования, соразмерное с увеличением объема вычислений, что обусловлено увеличением числа выбираемых направленных предсказаний, не обеспечивается, и увеличение числа выбираемых направленных предсказаний дает ограниченный вклад в повышение эффективности кодирования.
[0008] Настоящее изобретение осуществлено, чтобы разрешать вышеуказанную проблему, и, следовательно, цель настоящего изобретения заключается в том, чтобы предоставлять устройство кодирования изображений и способ кодирования изображений, допускающие увеличение степени повышения эффективности кодирования, что обусловлено увеличением числа режимов направленного предсказания при небольшом объеме вычислений и небольшом объеме кода. Другая цель настоящего изобретения заключается в том, чтобы предоставлять устройство декодирования изображений и способ декодирования изображений, допускающие корректное декодирование кодированных данных, в которых обеспечивается повышение эффективности кодирования, чтобы получать движущееся изображение.
Средство для решения задач
[0009] В соответствии с настоящим изобретением, предусмотрено устройство кодирования изображений, в котором, когда режим кодирования, выбранный посредством модуля управления кодированием, является режимом внутреннего предсказания, модуль формирования предсказанных изображений выполняет процесс внутрикадрового предсказания с использованием пикселов, смежных с каждым блоком кодирования, который формируется через разделение посредством модуля разделения на блоки, или пикселов, смежных с блоком кодирования верхнего уровня, которому принадлежит каждый блок кодирования, для того чтобы формировать предсказанное изображение. Дополнительно, когда режим кодирования, выбранный посредством модуля управления кодированием, является режимом внутреннего предсказания, модуль кодирования с переменной длиной кода кодирует флаг, указывающий то, совпадает или нет направление внутреннего предсказания блока кодирования, смежного с блоком кодирования, который является целью, которая должна быть обработана, и который формируется через разделение посредством модуля разделения на блоки, с направлением целевого блока кодирования, и когда флаг указывает то, что направление внутреннего предсказания смежного блока кодирования совпадает с направлением блока кодирования, также кодирует информацию, показывающую то, имеет или нет какой-либо из смежных блоков кодирования направление внутреннего предсказания, совпадающее с направлением внутреннего предсказания блока кодирования.
Преимущества изобретения
[0010] Поскольку устройство кодирования изображений в соответствии с настоящим изобретением выполнено так, что, когда режим кодирования, выбранный посредством модуля управления кодированием, является режимом внутреннего предсказания, модуль формирования предсказанных изображений выполняет процесс внутрикадрового предсказания с использованием пикселов, смежных с каждым блоком кодирования, который формируется через разделение посредством модуля разделения на блоки, или пикселов, смежных с блоком кодирования верхнего уровня, которому принадлежит каждый блок кодирования, для того чтобы формировать предсказанное изображение, предоставляется преимущество возможности увеличивать степень повышения эффективности кодирования, что обусловлено увеличением числа направленных предсказаний при небольшом объеме вычислений и небольшом объеме кода.
Краткое описание чертежей
[0011] Фиг. 1 является блок-схемой, показывающей устройство кодирования изображений в соответствии с вариантом 1 осуществления настоящего изобретения.
Фиг. 2 является блок-схемой последовательности операций, показывающей обработку, выполняемую посредством устройства кодирования изображений в соответствии с вариантом 1 осуществления настоящего изобретения.
Фиг. 3 является пояснительным чертежом, показывающим состояние, в котором каждый блок кодирования, имеющий максимальный размер, иерархически разделяется на множество блоков кодирования.
Фиг. 4(a) является пояснительным чертежом, показывающим распределение сегментов, на которые разделяется блок, который должен быть кодирован, и фиг. 4(b) является пояснительным чертежом, показывающим состояние, в котором режим m(Bn) кодирования назначается каждому из сегментов после того, как разделение на иерархические уровни выполняется посредством использования графа в виде дерева квадрантов.
Фиг. 5 является пояснительным чертежом, показывающим пример параметра внутреннего предсказания (режима внутреннего предсказания), который может быть выбран для каждого сегмента Pin, принадлежащего блоку Bn кодирования.
Фиг. 6 является пояснительным чертежом, показывающим пример пикселов, которые используются при формировании предсказанного значения каждого пиксела в сегменте Pin в случае lin=min=4.
Фиг. 7 является пояснительным чертежом, показывающим взаимосвязь между сегментом Pin и сегментом Pin-1 верхнего уровня.
Фиг. 8 является пояснительным чертежом, показывающим сегмент Pin, принадлежащий блоку Bn кодирования.
Фиг. 9 является пояснительным чертежом, показывающим пример параметра внутреннего предсказания (режима внутреннего предсказания), который может быть выбран для каждого сегмента Pin, принадлежащего блоку Bn кодирования.
Фиг. 10 является блок-схемой, показывающей устройство декодирования изображений в соответствии с вариантом 1 осуществления настоящего изобретения.
Фиг. 11 является блок-схемой последовательности операций, показывающей обработку, выполняемую посредством устройства декодирования изображений в соответствии с вариантом 1 осуществления настоящего изобретения.
Фиг. 12 является пояснительным чертежом, показывающим кодированные данные каждого сегмента.
Фиг. 13 является пояснительным чертежом, показывающим смежный сегмент; и
фиг. 14 является пояснительным чертежом, показывающим режимы внутреннего предсказания в случае размера пикселного блока 4×4 для яркости.
Подробное описание вариантов осуществления изобретения
[0012] Далее для того чтобы подробнее пояснять это изобретение, описываются предпочтительные варианты осуществления настоящего изобретения со ссылкой на прилагаемые чертежи.
Вариант 1 осуществления
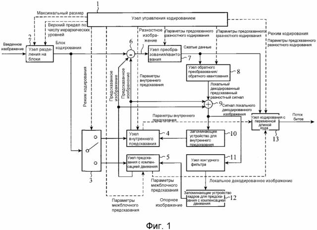
Фиг. 1 является блок-схемой, показывающей устройство кодирования движущихся изображений в соответствии с вариантом 1 осуществления настоящего изобретения. Ссылаясь на фиг. 1, узел 1 управления кодированием выполняет процесс определения максимального размера каждого из блоков кодирования, который является единицей, которая должна быть обработана в момент, когда выполняется процесс внутреннего предсказания (процесс внутрикадрового предсказания) или процесс предсказания с компенсацией движения (процесс межкадрового предсказания), а также определения верхнего предела по числу иерархических уровней в иерархии, в которой каждый из блоков кодирования, имеющих максимальный размер, иерархически разделяется на блоки. Узел 1 управления кодированием также выполняет процесс выбора режима кодирования, подходящего для каждого из блоков кодирования, на которые иерархически разделяется каждый блок кодирования, имеющий максимальный размер, из одного или более доступных режимов кодирования (одного или более режимов внутреннего кодирования и одного или более режимов межблочного кодирования). Узел 1 управления кодированием дополнительно выполняет процесс определения параметра квантования и размера блока преобразования, которые используются, когда разностное изображение сжимается для каждого блока кодирования, а также определения параметра внутреннего предсказания или параметра межблочного предсказания, который используется, когда выполняется процесс предсказания для каждого блока кодирования. Параметр квантования и размер блока преобразования включаются в параметры предсказывающего разностного кодирования, и эти параметры кодирования ошибок предсказания выводятся в узел 7 преобразования/квантования, узел 8 обратного преобразования/обратного квантования, узел 13 кодирования с переменной длиной кода и т.д. Узел 1 управления кодированием составляет модуль управления кодированием.
[0013] Узел 2 разделения на блоки выполняет процесс при приеме видеосигнала, показывающего введенное изображение (текущее изображение), разделения введенного изображения на блоки кодирования, имеющие максимальный размер, определенный посредством узла 1 управления кодированием, а также иерархического разделения каждого из блоков кодирования на блоки до тех пор, пока число иерархических уровней не достигает верхнего предела по числу иерархических уровней, который определяется посредством узла 1 управления кодированием. Узел 2 разделения на блоки составляет модуль разделения на блоки. Избирательный переключатель 3 выполняет процесс, когда режим кодирования, выбранный посредством узла 1 управления кодированием для блока кодирования, который формируется через разделение посредством узла 2 разделения на блоки, является режимом внутреннего кодирования, вывода блока кодирования в узел 4 внутреннего предсказания, а когда режим кодирования, выбранный посредством узла 1 управления кодированием, для блока кодирования, который формируется через разделение посредством узла 2 разделения на блоки, является режимом межблочного кодирования, вывода блока кодирования в узел 5 предсказания с компенсацией движения.
[0014] Узел 4 внутреннего предсказания выполняет процесс при приеме блока кодирования, который формируется через разделение посредством узла 2 разделения на блоки, из избирательного переключателя 3, выполнения процесса внутреннего предсказания на основе параметра внутреннего предсказания, выведенного в него из узла управления кодированием, для блока кодирования, для того чтобы формировать предсказанное изображение посредством использования уже кодированных пикселов, которые хранятся в запоминающем устройстве 10 для внутреннего предсказания и которые являются смежными с блоком кодирования, или уже кодированных пикселов, которые являются смежными с блоком кодирования верхнего уровня, которому принадлежит блок кодирования. Узел 5 предсказания с компенсацией движения выполняет процесс, когда режим межблочного кодирования выбирается посредством узла 1 управления кодированием в качестве режима кодирования, соответствующего блоку кодирования, который формируется через разделение посредством узла 2 разделения на блоки, выполнения процесса предсказания с компенсацией движения для блока кодирования для того, чтобы формировать предсказанное изображение посредством использования одного или более кадров опорных изображений, сохраненных в запоминающем устройстве 12 кадров предсказания с компенсацией движения, на основе параметра межблочного предсказания, выведенного в него из узла 1 управления кодированием. Модуль формирования предсказанных изображений состоит из избирательного переключателя 3, узла 4 внутреннего предсказания и узла 5 предсказания с компенсацией движения.
[0015] Узел 6 вычитания выполняет процесс вычитания предсказанного изображения, сформированного посредством узла 4 внутреннего предсказания или узла 5 предсказания с компенсацией движения, из блока кодирования, который формируется через разделение посредством узла 2 разделения на блоки, чтобы формировать разностное изображение (= блок кодирования - предсказанное изображение). Узел 6 вычитания составляет модуль формирования разностных изображений. Узел 7 преобразования/квантования осуществляет процесс выполнения процесса ортогонального преобразования (например, процесса DCT (дискретного косинусного преобразования) или ортогонального преобразования, такого как KL-преобразование, в котором основания разрабатываются для конкретной последовательности обучения заранее) для разностного изображения, сформированного посредством узла 6 вычитания, в единицах блоков, имеющих размер блока преобразования, включенный в параметры предсказанного разностного кодирования, выведенные в него из узла 1 управления кодированием, а также квантования коэффициентов преобразования разностного изображения посредством использования параметра квантования, включенного в параметры предсказанного разностного кодирования, чтобы выводить коэффициенты преобразования, квантованные таким образом, в качестве сжатых данных разностного изображения. Узел 7 преобразования/квантования составляет модуль сжатия изображений.
[0016] Узел 8 обратного преобразования/обратного квантования выполняет процесс обратного квантования сжатых данных, выведенных в него из узла 7 преобразования/квантования, посредством использования параметра квантования, включенного в параметры предсказывающего разностного кодирования, выведенные из узла 1 управления кодированием, и выполнения процесса обратного преобразования (например, процесса обратного DCT (обратного дискретного косинусного преобразования) или обратного преобразования, такого как обратное KL-преобразование) для сжатых данных, обратно квантованных, чтобы выводить сжатые данные, для которых узел обратного преобразования/обратного квантования выполняет процесс обратного преобразования, в качестве локального декодированного предсказанного разностного сигнала.
[0017] Узел 9 суммирования выполняет процесс суммирования локального декодированного предсказанного разностного сигнала, выведенного в него из узла 8 обратного преобразования/обратного квантования, и предсказанного сигнала, показывающего предсказанное изображение, сформированное посредством узла 4 внутреннего предсказания или узла 5 предсказания с компенсацией движения, чтобы формировать сигнал локального декодированного изображения, показывающий локальное декодированное изображение. Запоминающее устройство 10 для внутреннего предсказания является носителем записи, таким как RAM, для сохранения локального декодированного изображения, показанного посредством сигнала локального декодированного изображения, сформированного посредством узла 9 суммирования, в качестве изображения, которое использует узел 4 внутреннего предсказания при выполнении процесса внутреннего предсказания в следующий раз.
[0018] Узел 11 контурного фильтра выполняет процесс компенсации искажения при кодировании, включенного в сигнал локального декодированного изображения, сформированный посредством узла 9 суммирования, и вывода локального декодированного изображения, показанного посредством сигнала локального декодированного изображения, для которого узел контурного фильтра выполняет компенсацию искажений при кодировании, в запоминающее устройство 12 кадров предсказания с компенсацией движения в качестве опорного изображения. Запоминающее устройство 12 кадров предсказания с компенсацией движения является носителем записи, таким как RAM, для хранения локального декодированного изображения, для которого узел 11 контурного фильтра выполняет процесс фильтрации, в качестве опорного изображения, которое узел 5 предсказания с компенсацией движения использует при выполнении процесса предсказания с компенсацией движения в следующий раз.
[0019] Узел 13 кодирования с переменной длиной кода выполняет процесс кодирования с переменной длиной кода сжатых данных, выведенных в него из узла 7 преобразования/квантования, режима кодирования и параметров предсказывающего разностного кодирования, которые выводятся в него из узла 1 управления кодированием, и параметра внутреннего предсказания, выведенного в него из узла 4 внутреннего предсказания, или параметра межблочного предсказания, выведенного в него из узла 5 предсказания с компенсацией движения для того, чтобы формировать поток битов, в который мультиплексируются кодированные данные сжатых данных, кодированные данные режима кодирования, кодированные данные параметров предсказывающего разностного кодирования и кодированные данные параметров внутреннего предсказания или параметров межблочного предсказания. Узел 13 кодирования с переменной длиной кода составляет модуль кодирования с переменной длиной кода.
[0020] В примере по фиг. 1 узел 1 управления кодированием, узел 2 разделения на блоки, избирательный переключатель 3, узел 4 внутреннего предсказания, узел 5 предсказания с компенсацией движения, узел 6 вычитания, узел 7 преобразования/квантования, узел 8 обратного преобразования/обратного квантования, узел 9 суммирования, узел 11 контурного фильтра и узел 13 кодирования с переменной длиной кода, которые являются компонентами устройства кодирования движущихся изображений, могут состоять из элементов аппаратных средств для монопольного использования (например, интегральных схем, в каждой из которых установлен CPU, однокристальных микрокомпьютеров и т.п.) соответственно. В качестве альтернативы устройство кодирования движущихся изображений может состоять из компьютера, и часть или вся программа, в которой описываются процессы, выполняемые посредством узла 1 управления кодированием, узла 2 разделения на блоки, избирательного переключателя 3, узла 4 внутреннего предсказания, узла 5 предсказания с компенсацией движения, узла 6 вычитания, узла 7 преобразования/квантования, узла 8 обратного квантования/обратного преобразования, узла 9 суммирования, узла 11 контурного фильтра и узла 13 кодирования с переменной длиной кода, может быть сохранена в запоминающем устройстве компьютера, и CPU компьютера может быть выполнен с возможностью исполнять программу, сохраненную в запоминающем устройстве. Фиг. 2 является блок-схемой последовательности операций, показывающей обработку, выполняемую посредством устройства кодирования движущихся изображений в соответствии с вариантом 1 осуществления настоящего изобретения.
[0021] Фиг. 10 является блок-схемой, показывающей устройство декодирования движущихся изображений в соответствии с вариантом 1 осуществления настоящего изобретения. Ссылаясь на фиг. 10, узел 21 декодирования с переменной длиной кода выполняет процесс указания максимального размера каждого блока кодирования, который является единицей, которая должна быть обработана в момент, когда выполняется процесс внутреннего предсказания или процесс предсказания с компенсацией движения, и числа иерархических уровней в иерархии, в которой каждый из блоков кодирования, имеющих максимальный размер, иерархически разделяется на блоки, чтобы указывать кодированные данные, ассоциированные с каждым из блоков кодирования, имеющих максимальный размер, и кодированные данные, ассоциированные с каждым из блоков кодирования, на которые иерархически разделяется каждый из блоков кодирования, имеющих максимальный размер, из кодированных данных, мультиплексированных в поток битов, и декодирования с переменной длиной кода кодированных данных, ассоциированных с каждым из блоков кодирования, чтобы получать сжатые данные, режим кодирования, параметры предсказывающего разностного кодирования и параметр внутреннего предсказания или параметр межблочного предсказания, которые ассоциированы с каждым из блоков кодирования, и вывода сжатых данных и параметров предсказывающего разностного кодирования в узел 25 обратного преобразования/обратного квантования, а также вывода режима кодирования и параметра внутреннего предсказания или параметра межблочного предсказания в избирательный переключатель 22. Узел 21 декодирования с переменной длиной кода составляет модуль декодирования с переменной длиной кода.
[0022] Избирательный переключатель 22 выполняет процесс, когда режим кодирования, ассоциированный с блоком кодирования, который выводится из узла 21 декодирования с переменной длиной кода, является режимом внутреннего кодирования, вывода параметра внутреннего предсказания, выведенного в него из узла 21 декодирования с переменной длиной кода, в узел 23 внутреннего предсказания, а когда режим кодирования является режимом межблочного кодирования, вывода параметра межблочного предсказания, выведенного в него из узла 21 декодирования с переменной длиной кода, в узел 24 компенсации движения.
[0023] Узел 23 внутреннего предсказания осуществляет процесс выполнения процесса внутрикадрового предсказания для блока кодирования, для того чтобы формировать предсказанное изображение посредством использования либо уже декодированных пикселов, которые хранятся в запоминающем устройстве 27 для внутреннего предсказания и которые являются смежными с блоком кодирования, либо уже декодированных пикселов, которые являются смежными с блоком кодирования верхнего уровня, которому принадлежит блок кодирования, на основе параметра внутреннего предсказания, выведенного в него из избирательного переключателя 22. Узел 24 компенсации движения осуществляет процесс выполнения процесса предсказания с компенсацией движения для блока кодирования, для того чтобы формировать предсказанное изображение посредством использования одного или более кадров опорных изображений, сохраненных в запоминающем устройстве 29 кадров предсказания с компенсацией движения, на основе параметра межблочного предсказания, выведенного в него из избирательного переключателя 22. Модуль формирования предсказанных изображений состоит из избирательного переключателя 22, узла 23 внутреннего предсказания и узла 24 компенсации движения.
[0024] Узел 25 обратного преобразования/обратного квантования выполняет процесс обратного квантования сжатых данных, ассоциированных с блоком кодирования, который выводится в него из узла 21 декодирования с переменной длиной кода, посредством использования параметра квантования, включенного в параметры предсказанного разностного кодирования, выведенные в него из узла 21 декодирования с переменной длиной кода, и выполнения процесса обратного преобразования (например, процесса обратного DCT (обратного дискретного косинусного преобразования) или обратного преобразования, такого как обратное KL-преобразование) для сжатых данных, обратно квантованных, в единицах блоков, имеющих размер блока преобразования, включенный в параметры предсказанного разностного кодирования, и вывода сжатых данных, для которых узел обратного преобразования/обратного квантования выполняет процесс обратного преобразования, в качестве декодированного предсказанного разностного сигнала (сигнала, показывающего предварительно сжатое разностное изображение). Узел 26 обратного преобразования/обратного квантования составляет модуль формирования разностных изображений.
[0025] Узел 26 суммирования выполняет процесс суммирования декодированного предсказанного разностного сигнала, выведенного в него из узла 25 обратного преобразования/обратного квантования, и предсказанного сигнала, показывающего предсказанное изображение, сформированное посредством узла 23 внутреннего предсказания или узла 24 компенсации движения, чтобы формировать сигнал декодированного изображения, показывающий декодированное изображение. Узел 26 суммирования составляет модуль формирования декодированных изображений. Запоминающее устройство 27 для внутреннего предсказания является носителем записи, таким как RAM, для хранения декодированного изображения, показанного посредством сигнала декодированного изображения, сформированного посредством узла 26 суммирования, в качестве изображения, которое использует узел 23 внутреннего предсказания при выполнении процесса внутреннего предсказания в следующий раз.
[0026] Узел 58 контурного фильтра выполняет процесс компенсации искажения при кодировании, включенного в сигнал декодированного изображения, сформированный посредством узла 26 суммирования, и вывода декодированного изображения, показанного посредством сигнала декодированного изображения, для которого узел контурного фильтра выполняет компенсацию искажений при кодировании, в запоминающее устройство 29 кадров предсказания с компенсацией движения в качестве опорного изображения, а также вывода декодированного изображения за пределы устройства декодирования движущихся изображений в качестве воспроизведенного изображения. Запоминающее устройство 29 кадров предсказания с компенсацией движения является носителем записи, таким как RAM, для хранения декодированного изображения, для которого узел 28 контурного фильтра выполняет процесс фильтрации, в качестве опорного изображения, которое использует узел 24 компенсации движения при выполнении процесса предсказания с компенсацией движения в следующий раз.
[0027] В примере по фиг. 10 узел 21 декодирования с переменной длиной кода, избирательный переключатель 22, узел 23 внутреннего предсказания, узел 24 компенсации движения, узел 25 обратного преобразования/обратного квантования, узел 26 суммирования и узел 28 контурного фильтра, которые являются компонентами устройства декодирования движущихся изображений, могут состоять из элементов аппаратных средств для монопольного использования (например, интегральных схем, в каждой из которых установлен CPU, однокристальных микрокомпьютеров и т.п.) соответственно. В качестве альтернативы устройство декодирования движущихся изображений может состоять из компьютера, и часть или вся программа, в которой описываются процессы, выполняемые посредством узла 21 декодирования с переменной длиной кода, избирательного переключателя 22, узла 23 внутреннего предсказания, узла 24 компенсации движения, узла 25 обратного преобразования/обратного квантования, узла 26 суммирования и узла 28 контурного фильтра, может быть сохранена в запоминающем устройстве компьютера, и CPU компьютера может быть выполнен с возможностью исполнять программу, сохраненную в запоминающем устройстве. Фиг. 11 является блок-схемой последовательности операций, показывающей обработку, выполняемую посредством устройства декодирования движущихся изображений в соответствии с вариантом 1 осуществления настоящего изобретения.
[0028] Устройство кодирования движущихся изображений в соответствии с этим вариантом 1 осуществления отличается тем, что устройство кодирования движущихся изображений адаптируется к локальному изменению видеосигнала в направлениях пространства и времени, чтобы разделять видеосигнал на области различных размеров, и выполняет внутрикадровое и межкадровое адаптивное кодирование. В общем, видеосигнал имеет характеристику локального варьирования своей сложности в пространстве и времени. Может возникать случай, когда шаблон, имеющий равномерную характеристику сигналов в относительно большой области изображения, такого как изображение неба или изображение стены, либо шаблон, имеющий сложный шаблон текстуры в небольшой области изображения, такого как изображение человека или изображение, включающее в себя мелкозернистую структуру, также сосуществует в определенном видеокадре с точки зрения пространства.
[0029] Также с точки зрения времени относительно большая область изображения, такого как изображение неба или изображение стены, имеет небольшое локальное изменение в направлении времени в своем шаблоне, в то время как изображение движущегося человека или объекта имеет большее временное изменение, поскольку его контур имеет перемещение твердого тела и перемещение нетвердого тела относительно времени. Хотя в процессе кодирования выполняется процесс формирования предсказанного разностного сигнала, имеющего небольшую мощность сигнала и небольшую энтропию, посредством использования временного и пространственного предсказания, тем самым уменьшая совокупный объем кода, объем кода для параметров, используемых для предсказания, может быть уменьшен при условии, что параметры могут применяться равномерно к максимально возможно большой области сигнала изображения. С другой стороны, поскольку величина ошибок, возникающих в предсказании, увеличивается, когда идентичный параметр предсказания применяется к большой области изображения в шаблоне сигнала изображения, имеющем большое изменение во времени и пространстве, объем кода предсказанного разностного сигнала не может быть уменьшен. Следовательно, желательно уменьшать размер области, которая подвергается процессу предсказания при выполнении процесса предсказания для области изображения, имеющей большое изменение во времени и пространстве, тем самым сокращая энергию и энтропию предсказанного разностного сигнала, даже если увеличивается объем данных параметра предсказания, который используется для процесса предсказания. Чтобы выполнять процесс кодирования, который приспособлен для таких типичных характеристик видеосигнала, устройство кодирования движущихся изображений в соответствии с этим вариантом 1 осуществления приспосабливает структуру иерархического разделения каждой области, имеющей предварительно определенный максимальный размер блока видеосигнала на блоки, и приспособления процесса предсказания и процесса кодирования для кодирования предсказанной разности для каждого из блоков, на которые разделяется каждая область.
[0030] Видеосигнал, который должен быть обработан посредством устройства кодирования движущихся изображений в соответствии с этим вариантом 1 осуществления, может быть произвольным видеосигналом, в котором каждый видеокадр состоит из последовательности цифровых выборок (пикселов) в двух измерениях, горизонтальном и вертикальном, таким как YUV-сигнал, который состоит из сигнала яркости и двух цветоразностных сигналов, сигналом цветного видеоизображения в произвольном цветовом пространстве, таким как RGB-сигнал, выведенный из датчика цифровых изображений, сигналом монохромного изображения или сигналом инфракрасного изображения. Градация каждого пиксела может быть 8-битовой, 10-битовой или 12-битовой. В нижеприведенном пояснении введенный видеосигнал является YUV-сигналом, если не указано иное. Дополнительно предполагается, что два цветоразностных компонента U и V являются сигналами, имеющими формат 4:2:0, которые субдискретизируются относительно компонента Y сигнала яркости. Единица данных, которая должна быть обработана, которая соответствует каждому кадру видеосигнала, упоминается как "изображение". В этом варианте 1 осуществления "изображение" поясняется в качестве сигнала видеокадра, для которого выполнено построчное сканирование. Когда видеосигнал является чересстрочным сигналом, "изображение" альтернативно может быть сигналом полевого изображения, который является единицей, которая составляет видеокадр.
[0031] Далее поясняется работа устройства кодирования движущихся изображений и работа устройства декодирования движущихся изображений.
Во-первых, поясняется обработка, выпол



