Устройство кодирования движущихся изображений, устройство декодирования движущихся изображений, способ кодирования движущихся изображений и способ декодирования движущихся изображений
Иллюстрации
Показать всеИзобретение относится к вычислительной технике. Технический результат заключается в уменьшении объема кода, связанного с режимом внутреннего предсказания без снижения эффективности предсказания. Устройство кодирования движущихся изображений содержит модуль разделения на блоки для разделения изображения, которое содержит сигнал яркости и цветоразностный сигнал, на блоки, каждый из которых является целевым блоком, подлежащим кодированию; модуль управления кодированием для определения параметра внутреннего предсказания, который используется при выполнении процесса внутреннего предсказания над целевым блоком; модуль генерирования изображения предсказания для выполнения процесса внутреннего предсказания над целевым блоком посредством использования параметра внутреннего предсказания для генерирования изображения предсказания, которое содержит сигнал яркости и цветоразностный сигнал; и модуль кодирования для кодирования параметра внутреннего предсказания для генерирования битового потока. 2 н.п. ф-лы, 15 ил.
Реферат
ОБЛАСТЬ ТЕХНИКИ, К КОТОРОЙ ОТНОСИТСЯ ИЗОБРЕТЕНИЕ
[0001] Настоящее изобретение относится к устройству кодирования движущихся изображений, устройству декодирования движущихся изображений, способу кодирования движущихся изображений и способу декодирования движущихся изображений для выполнения процесса внутреннего предсказания или процесса взаимного предсказания с тем, чтобы выполнять кодирование с предсказанием.
УРОВЕНЬ ТЕХНИКИ
[0002] Поясняются режимы внутреннего предсказания для использования в способе кодирования AVC/H.264, каждый из которых может задаваться в процессах внутреннего предсказания, выполняемых устройством кодирования движущихся изображений. Один режим внутреннего предсказания для яркости может быть выбран из множества режимов предсказания для каждого единичного блока. Фиг. 15 является пояснительным чертежом, показывающим режимы внутреннего предсказания в случае размера пикселного блока 4x4 для яркости. В случае размера пикселного блока 4x4 для яркости, задаются девять режимов внутреннего предсказания, включающих в себя режимы 0-8.
[0003] В примере по фиг. 15, каждый белый круг показывает пиксел в блоке, подлежащем кодированию, и каждый черный круг показывает пиксел, который используется для предсказания, и который существует в уже кодированном смежном блоке. Режим 2 является режимом внутреннего предсказания, ассоциированным с предсказанием по среднему, в котором каждый пиксел в целевом блоке, подлежащем кодированию, предсказывается посредством использования среднего смежных пикселов, существующих в верхнем и левом блоках. Режимы, отличные от режима 2, являются режимами внутреннего предсказания, ассоциированными с направленным предсказанием.
[0004] Режим 0 является режимом внутреннего предсказания, ассоциированным с вертикальным предсказанием, в котором смежные пикселы в верхнем блоке многократно реплицируются, чтобы создавать несколько строки пикселов вдоль вертикального направления, чтобы формировать изображение предсказания. Например, режим 0 выбирается, когда целевой блок, подлежащий кодированию, является шаблоном с чередованием по вертикали. Дополнительно, режим 1 является режимом внутреннего предсказания, ассоциированным с горизонтальным предсказанием, в котором смежные пикселы в левом блоке многократно реплицируются, чтобы создавать несколько столбцов пикселов вдоль горизонтального направления, чтобы формировать изображение предсказания. В каждом из режимов 3-8 интерполяционные пикселы, идущие в предварительно определенном направлении (т.е. в направлении, показанном посредством стрелок), формируются посредством использования смежных пикселов в верхнем блоке или левом блоке, чтобы формировать изображение предсказания.
[0005] В этом случае, размер блока для яркости, к которому применяется внутреннее предсказание, может быть выбран из 4×4 пикселов, 8×8 пикселов и 16×16 пикселов. В случае 8×8 пикселов задаются девять режимов внутреннего предсказания, как и в случае 4×4 пикселов. В отличие от этого, в случае 16×16 пикселов задаются четыре режима внутреннего предсказания, которые называются предсказаниями на плоскости, в дополнение к режимам внутреннего предсказания, ассоциированным с предсказанием по среднему, вертикальным предсказанием и горизонтальным предсказанием. Каждый режим внутреннего предсказания, ассоциированный с предсказанием на плоскости, является режимом, в котором пикселы, созданные посредством выполнения интерполяции в диагональном направлении для смежных пикселов в верхнем блоке и смежных пикселов в левом блоке, предоставляются в качестве предсказанных значений.
[0006] В режиме направленного предсказания в случае размера блока 4×4 пикселов или 8x8 пикселов, поскольку предсказанные значения формируются вдоль предварительно определенного направления (например, направления в 45 градусов), повышается эффективность предсказания, и может быть уменьшен объем кода, когда направление границы (края) объекта в блоке совпадает с направлением, указанным режимом предсказания. Тем не менее, когда направление края объекта в блоке не совпадает с направлением, указанным режимом предсказания, объем кода не может быть уменьшен, поскольку эффективность предсказания снижается. Следующая патентная ссылка 1 раскрывает технологию, допускающую уменьшение объема кода, связанного с режимами внутреннего предсказания, посредством просто использования таблицы информации частоты для сохранения подсчитанной частоты вхождений режима внутреннего предсказания. Тем не менее, необходимо подготавливать таблицу информации частоты заранее.
ДОКУМЕНТЫ ПРЕДШЕСТВУЮЩЕГО УРОВНЯ ТЕХНИКИ:
ПАТЕНТНАЯ ССЫЛКА
[0007] Патентная ссылка 1. WO 2008/123254
РАСКРЫТИЕ ИЗОБРЕТЕНИЯ
ЗАДАЧИ, РЕШАЕМЫЕ ИЗОБРЕТЕНИЕМ
[0008] Поскольку традиционное устройство кодирования движущихся изображений имеет такую структуру, как указано выше, увеличение числа режимов направленного предсказания, которые могут выбираться, повышает вероятность того, что направление края совпадает с направлением, указанным режимом предсказания, и, следовательно, может быть повышена эффективность предсказания. Тем не менее, проблема состоит в том, что увеличение числа выбираемых режимов направленного предсказания приводит к увеличению объема кода для информации относительно режимов внутреннего предсказания.
[0009] Настоящее изобретение осуществлено, чтобы решить вышеуказанную проблему, и, следовательно, цель настоящего изобретения заключается в том, чтобы предоставить устройство кодирования движущихся изображений и способ кодирования движущихся изображений, которые могут сократить увеличение объема кода для информации относительно режимов внутреннего предсказания. Другая цель настоящего изобретения заключается в том, чтобы предоставить устройство декодирования движущихся изображений и способ декодирования движущихся изображений, которые применимы к вышеуказанному устройству кодирования движущихся изображений и вышеуказанному способу кодирования движущихся изображений.
СРЕДСТВО ДЛЯ РЕШЕНИЯ ЗАДАЧ
[0010] В соответствии с настоящим изобретением, представлено устройство кодирования изображений, в котором при формировании изображения предсказания цветоразностного сигнала модуль формирования изображений предсказания выполняет процесс внутреннего предсказания для подлежащего кодированию целевого блока цветоразностного сигнала посредством использования параметра внутреннего предсказания, который является таким же, как параметр внутреннего предсказания, который модуль формирования изображений предсказания использует при выполнении процесса внутреннего предсказания для подлежащего кодированию целевого блока сигнала яркости, или выполняет процесс внутреннего предсказания для подлежащего кодированию целевого блока цветоразностного сигнала посредством применения предсказания по среднему к целевому блоку, подлежащему кодированию, и модуль кодирования переменной длины кодирует c переменной длиной флаг, показывающий то, выполняет ли модуль формирования изображений предсказания процесс внутреннего предсказания для подлежащего кодированию целевого блока цветоразностного сигнала посредством использования того же параметра внутреннего предсказания, что используется для сигнала яркости, в качестве параметра внутреннего предсказания, который модуль формирования изображений предсказания использует при выполнении процесса внутреннего предсказания для подлежащего кодированию целевого блока цветоразностного сигнала.
ПРЕИМУЩЕСТВА ИЗОБРЕТЕНИЯ
[0011] Поскольку устройство кодирования изображений в соответствии с настоящим изобретением имеет такую структуру, что при формировании изображения предсказания цветоразностного сигнала модуль формирования изображений предсказания выполняет процесс внутреннего предсказания для подлежащего кодированию целевого блока цветоразностного сигнала посредством использования параметра внутреннего предсказания, который является таким же, как параметр внутреннего предсказания, который модуль формирования изображений предсказания использует при выполнении процесса внутреннего предсказания для подлежащего кодированию целевого блока сигнала яркости, или выполняет процесс внутреннего предсказания для подлежащего кодированию целевого блока цветоразностного сигнала посредством применения предсказания по среднему к целевому блоку, подлежащему кодированию, и модуль кодирования переменной длины кодирует c переменной длиной флаг, показывающий то, выполняет ли модуль формирования изображений предсказания процесс внутреннего предсказания для подлежащего кодированию целевого блока цветоразностного сигнала посредством использования того же параметра внутреннего предсказания, что используется для сигнала яркости, в качестве параметра внутреннего предсказания, который модуль формирования изображений предсказания использует при выполнении процесса внутреннего предсказания для подлежащего кодированию целевого блока цветоразностного сигнала, предоставляется преимущество возможности уменьшать объем кода, связанный с режимом внутреннего предсказания каждого из цветоразностных сигналов, без снижения эффективности предсказания.
КРАТКОЕ ОПИСАНИЕ ЧЕРТЕЖЕЙ
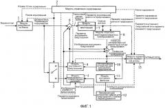
[0012] Фиг. 1 является блок-схемой, показывающей устройство кодирования движущихся изображений в соответствии с вариантом 1 осуществления настоящего изобретения;
Фиг. 2 является блок-схемой, показывающей внутреннюю структуру модуля 13 кодирования переменной длины устройства кодирования движущихся изображений в соответствии с вариантом 1 осуществления настоящего изобретения;
Фиг. 3 является блок-схемой последовательности операций способа, показывающей процесс (способ кодирования движущихся изображений), выполняемый устройством кодирования движущихся изображений в соответствии с вариантом 1 осуществления настоящего изобретения;
Фиг. 4 является пояснительным чертежом, показывающим пример, в котором каждый наибольший блок, подлежащий кодированию, разделяется иерархически во множество целевых блоков, подлежащих кодированию;
Фиг. 5 является пояснительным чертежом, в котором (a) показывает распределение разделенных сегментов, и (b) показывает состояние, в котором режим m(Bn) кодирования назначается каждому сегменту через иерархическое разделение;
Фиг. 6 является пояснительным чертежом, показывающим пример параметра внутреннего предсказания (режима внутреннего предсказания), который может быть выбран для каждого сегмента Pin в целевом блоке Bn, подлежащем кодированию;
Фиг. 7 является пояснительным чертежом, показывающим пример пикселов, которые используются при формировании предсказанного значения каждого пиксела в сегменте Pin в случае lin=min=4;
Фиг. 8 является пояснительным чертежом, показывающим пример уже кодированных соседних сегментов, которые используются для вычисления предсказанного значения параметра внутреннего предсказания сегмента Pin;
Фиг. 9 является пояснительным чертежом, показывающим пример значений индекса, соответственно, указывающих 17 типов режимов внутреннего предсказания, и векторов направления предсказания 16 типов режимов направленного предсказания, за исключением предсказания по среднему;
Фиг. 10 является блок-схемой, показывающей устройство декодирования движущихся изображений в соответствии с вариантом 1 осуществления настоящего изобретения;
Фиг. 11 является блок-схемой, показывающей внутреннюю структуру модуля 31 декодирования переменной длины устройства декодирования движущихся изображений в соответствии с вариантом 1 осуществления настоящего изобретения;
Фиг. 12 является блок-схемой последовательности операций способа, показывающей процесс (способ декодирования движущихся изображений), выполняемый устройством декодирования движущихся изображений в соответствии с вариантом 1 осуществления настоящего изобретения;
Фиг. 13 является пояснительным чертежом, показывающим пример сегмента Pin сигнала яркости и сегментов Pin цветоразностных сигналов;
Фиг. 14 является пояснительным чертежом, показывающим изображение предсказания, которое по-прежнему должно фильтроваться, и фильтрованное изображение предсказания; и
Фиг. 15 является пояснительным чертежом, показывающим режимы внутреннего предсказания в случае размера пикселного блока 4x4 для яркости.
ОСУЩЕСТВЛЕНИЕ ИЗОБРЕТЕНИЯ
[0013] Далее, для того чтобы подробнее пояснить изобретение, предпочтительные варианты осуществления настоящего изобретения описываются со ссылкой на прилагаемые чертежи.
ВАРИАНТ 1 ОСУЩЕСТВЛЕНИЯ
Фиг. 1 является блок-схемой, показывающей устройство кодирования движущихся изображений в соответствии с вариантом 1 осуществления настоящего изобретения. Ссылаясь на фиг. 1, при приеме видеосигнала, показывающего введенное изображение, модуль 1 разделения на блоки разделяет введенное изображение на блоки (блоки, каждый из которых является единицей предсказания), каждый из которых имеет размер блока кодирования, определенный посредством модуля 2 управления кодированием, и выполняет процесс вывода целевого блока, подлежащего кодированию, который является блоком, который является единицей предсказания. Модуль 1 разделения на блоки составляет модуль разделения на блоки.
[0014] Модуль 2 управления кодированием выполняет процесс определения режима кодирования с наибольшей эффективностью кодирования для целевого блока, подлежащего кодированию, выведенного из модуля 1 разделения на блоки, из числа одного или более выбираемых режимов внутреннего кодирования и одного или более выбираемых режимов взаимного кодирования при определении размера блока кодирования. Модуль 2 управления кодированием также выполняет процесс, когда режим кодирования с наибольшей эффективностью кодирования является режимом внутреннего кодирования, определения параметра внутреннего предсказания, который устройство кодирования движущихся изображений использует при выполнении процесса внутреннего предсказания для целевого блока, подлежащего кодированию, в режиме внутреннего кодирования, а когда режим кодирования с наибольшей эффективностью кодирования является режимом взаимного кодирования, определения параметра взаимного предсказания, который устройство кодирования движущихся изображений использует при выполнении процесса взаимного предсказания для целевого блока, подлежащего кодированию, в режиме взаимного кодирования. Модуль 2 управления кодированием дополнительно выполняет процесс определения параметра кодирования разности предсказания, который модуль управления кодированием предоставляет для модуля 7 преобразования/квантования и модуля 8 обратного квантования/обратного преобразования. Модуль 2 управления кодированием составляет модуль управления кодированием.
[0015] Избирательный переключатель 3 выполняет процесс, когда режим кодирования, определенный посредством модуля 2 управления кодированием, является режимом внутреннего кодирования, вывода целевого блока, подлежащего кодированию, выведенного из модуля 1 разделения на блоки, в модуль 4 внутреннего предсказания, а когда режим кодирования, определенный посредством модуля 2 управления кодированием, является режимом взаимного кодирования, вывода целевого блока, подлежащего кодированию, выведенного из модуля 1 разделения на блоки, в модуль 5 предсказания с компенсацией движения.
[0016] Модуль 4 внутреннего предсказания выполняет процесс выполнения процесса внутреннего предсказания для целевого блока, подлежащего кодированию, выведенного из избирательного переключателя 3, посредством использования параметра внутреннего предсказания, определенного посредством модуля 2 управления кодированием, при обращении к локальному декодированному изображению, сохраненному в запоминающем устройстве 10 для внутреннего предсказания, чтобы формировать изображение внутреннего предсказания (изображение предсказания). Модуль формирования изображений предсказания состоит из избирательного переключателя 3, модуля 4 внутреннего предсказания и запоминающего устройства 10 для внутреннего предсказания.
[0017] Модуль 5 предсказания с компенсацией движения выполняет процесс сравнения целевого блока, подлежащего кодированию, выведенного из избирательного переключателя 3, с локальным декодированным изображением, для которого выполняется процесс фильтрации и которое сохраняется в запоминающем устройстве 12 кадров предсказания с компенсацией движения, чтобы выполнять поиск вектора движения, и формирования изображения взаимного предсказания посредством выполнения процесса взаимного предсказания (процесса предсказания с компенсацией движения) для целевого блока, подлежащего кодированию, посредством использования как вектора движения, так и параметра взаимного предсказания, определенных посредством модуля 2 управления кодированием.
[0018] Модуль 6 вычитания выполняет процесс вычитания изображения внутреннего предсказания, сформированного посредством модуля 4 внутреннего предсказания, или изображения взаимного предсказания, сформированного посредством модуля 5 предсказания с компенсацией движения, из целевого блока, подлежащего кодированию, выведенного из модуля 1 разделения на блоки, чтобы выводить разностный сигнал предсказания (разностное изображение), который является результатом вычитания, в модуль 7 преобразования/квантования. Модуль 7 преобразования/квантования выполняет процесс выполнения процесса ортогонального преобразования (например, DCT (дискретного косинусного преобразования) или процесса ортогонального преобразования, такого как KL-преобразование, в котором основания заранее рассчитываются для конкретной последовательности обучения) для разностного сигнала предсказания, выведенного из модуля 6 вычитания, посредством обращения к параметру кодирования разности предсказания, определенному посредством модуля 2 управления кодированием, чтобы вычислять коэффициенты преобразования, а также квантования коэффициентов преобразования посредством обращения к параметру кодирования разности предсказания и затем вывода сжатых данных, которые являются коэффициентами преобразования, квантованными посредством него (коэффициентами квантования разностного изображения), в модуль 8 обратного квантования/обратного преобразования и модуль 13 кодирования переменной длины. Модуль квантования состоит из модуля 6 вычитания и модуля 7 преобразования/квантования.
[0019] Модуль 8 обратного квантования/обратного преобразования выполняет процесс обратного квантования сжатых данных, выведенных из модуля 7 преобразования/квантования посредством, обращения к параметру кодирования разности предсказания, определенному посредством модуля 2 управления кодированием, а также выполнения процесса обратного ортогонального преобразования для коэффициентов преобразования, которые являются сжатыми данными, обратно квантованными посредством него, посредством обращения к параметру кодирования разности предсказания, чтобы вычислять локальный декодированный разностный сигнал предсказания, соответствующий разностному сигналу предсказания, выведенному из модуля 6 вычитания. Модуль 9 суммирования выполняет процесс суммирования локального декодированного разностного сигнала предсказания, вычисленного посредством модуля 8 обратного квантования/обратного преобразования, и изображения внутреннего предсказания, сформированного посредством модуля 4 внутреннего предсказания, или изображения взаимного предсказания, сформированного посредством модуля 5 предсказания с компенсацией движения, чтобы вычислять локальное декодированное изображение, соответствующее целевому блоку, подлежащему кодированию, выведенному из модуля 1 разделения на блоки.
[0020] Запоминающее устройство 10 для внутреннего предсказания является носителем записи для сохранения локального декодированного изображения, вычисленного посредством модуля 9 суммирования. Модуль 11 контурного фильтра выполняет процесс выполнения предварительно определенного процесса фильтрации для локального декодированного изображения, вычисленного посредством модуля 9 суммирования, чтобы выводить локальное декодированное изображение, для которого выполняется процесс фильтрации. Запоминающее устройство 12 кадров предсказания с компенсацией движения является носителем записи для сохранения локального декодированного изображения, для которого выполняется процесс фильтрации.
[0021] Модуль 13 кодирования переменной длины выполняет процесс кодирования переменной длины сжатых данных, выведенных из модуля 7 преобразования/квантования, выходного сигнала модуля 2 управления кодированием (включающего в себя режим кодирования, параметр внутреннего предсказания или параметр взаимного предсказания и параметр кодирования разности предсказания) и вектора движения, выведенного из модуля 5 предсказания с компенсацией движения (когда режим кодирования является режимом взаимного кодирования), чтобы формировать битовый поток. Когда режим кодирования является режимом внутреннего кодирования, модуль 13 кодирования переменной длины определяет вектор направления предсказания, направление которого является ближайшим к направлению вектора направления предсказания, представленного параметром внутреннего предсказания целевого блока, подлежащего кодированию, определенного посредством модуля 2 управления кодированием, из числа векторов направления предсказания, ассоциированных с множеством направленных предсказаний в процессе внутреннего предсказания, чтобы кодировать с переменной длиной индекс, указывающий указанный характерный вектор направления предсказания, а также кодировать с переменной длиной индекс, указывающий разность между вектором направления предсказания, показанным параметром внутреннего предсказания уже кодированного блока, и характерным вектором направления предсказания, в качестве кодирования переменной длины параметра внутреннего предсказания, определенного посредством модуля 2 управления кодированием. Модуль 13 кодирования переменной длины составляет модуль кодирования переменной длины.
[0022] В примере по фиг. 1, модуль 1 разделения на блоки, модуль 2 управления кодированием, избирательный переключатель 3, модуль 4 внутреннего предсказания, модуль 5 предсказания с компенсацией движения, модуль 6 вычитания, модуль 7 преобразования/квантования, модуль 8 обратного квантования/обратного преобразования, модуль 9 суммирования, запоминающее устройство 10 для внутреннего предсказания, модуль 11 контурного фильтра, запоминающее устройство 12 кадров предсказания с компенсацией движения и модуль 13 кодирования переменной длины, которые являются компонентами устройства кодирования движущихся изображений, могут состоять из элементов аппаратных средств для исключительного использования (например, интегральных схем, в каждой из которых установлен CPU, однокристальных микрокомпьютеров и т.п.), соответственно. В качестве альтернативы, устройство кодирования движущихся изображений может состоять из компьютера, и программа, в которой описываются процессы, выполняемые посредством модуля 1 разделения на блоки, модуля 2 управления кодированием, избирательного переключателя 3, модуля 4 внутреннего предсказания, модуля 5 предсказания с компенсацией движения, модуля 6 вычитания, модуля 7 преобразования/квантования, модуля 8 обратного квантования/обратного преобразования, модуля 9 суммирования, модуля 11 контурного фильтра и модуля 13 кодирования переменной длины, может быть сохранена в запоминающем устройстве компьютера, и CPU компьютера может быть выполнен с возможностью исполнять программу, сохраненную в запоминающем устройстве. Фиг. 3 является блок-схемой последовательности операций способа, показывающей обработку (способ кодирования движущихся изображений), выполняемую устройством кодирования движущихся изображений в соответствии с вариантом 1 осуществления настоящего изобретения.
[0023] Фиг. 2 является блок-схемой, показывающей внутреннюю структуру модуля 13 кодирования переменной длины устройства кодирования движущихся изображений в соответствии с вариантом 1 осуществления настоящего изобретения. Модуль 13 кодирования переменной длины имеет модуль 13a кодирования переменной длины параметров внутреннего предсказания в качестве одного из своих компонентов. Модуль 21 вычисления предсказанных значений параметров внутреннего предсказания модуля 13a кодирования переменной длины параметров внутреннего предсказания выполняет процесс вычисления предсказанного значения параметра внутреннего предсказания целевого блока, подлежащего кодированию, который выводится из модуля 1 разделения на блоки, из параметра внутреннего предсказания уже кодированного блока, смежного с целевым блоком, подлежащим кодированию.
[0024] Модуль 22 вычисления индексов преобразования в двоичную форму параметров внутреннего предсказания выполняет процесс определения того, совпадает или нет предсказанное значение, вычисленное посредством модуля 21 вычисления предсказанных значений параметров внутреннего предсказания, с индексом, указывающим характерный вектор направления предсказания, как из вычисленного предсказанного значения, так и из параметра внутреннего предсказания целевого блока, подлежащего кодированию, и когда предсказанное значение совпадает с индексом, вычисления индекса преобразования в двоичную форму параметра внутреннего предсказания, включающего в себя разность между вектором направления предсказания, показанным параметром внутреннего предсказания уже кодированного блока, и характерным вектором направления предсказания, а также флага, показывающего результат определения, а когда предсказанное значение не совпадает с индексом, вычисления индекса преобразования в двоичную форму параметра внутреннего предсказания, включающего в себя индекс, указывающий характерный вектор направления предсказания, и вышеуказанную разность, а также флага, показывающего результат определения. Модуль 23 энтропийного кодирования выполняет процесс выполнения кодирования переменной длины, к примеру, арифметического кодирования для индекса преобразования в двоичную форму параметра внутреннего предсказания, вычисленного посредством модуля 22 вычисления индексов преобразования в двоичную форму параметров внутреннего предсказания, чтобы выводить кодовое слово параметра внутреннего предсказания.
[0025] Фиг. 10 является блок-схемой, показывающей устройство декодирования движущихся изображений в соответствии с вариантом 1 осуществления настоящего изобретения. Ссылаясь на фиг. 10, модуль 31 декодирования переменной длины выполняет процесс, при приеме битового потока, сформированного устройством кодирования движущихся изображений, декодирования c переменной длиной сжатых данных, режима кодирования, параметра внутреннего предсказания (когда режим кодирования является режимом внутреннего кодирования), параметра взаимного предсказания (когда режим кодирования является режимом взаимного кодирования), параметра кодирования разности предсказания и вектора движения (когда режим кодирования является режимом взаимного кодирования) из битового потока. Когда режим кодирования является режимом внутреннего кодирования, модуль 31 декодирования переменной длины выполняет процесс декодирования переменной длины индекса, указывающего характерный вектор направления предсказания, а также декодирования c переменной длиной индекса, указывающего разность между вектором направления предсказания, показанным параметром внутреннего предсказания уже декодированного блока (блока, соответствующего "уже кодированному блоку" в устройстве кодирования движущихся изображений, показанном на фиг. 1), и характерным вектором направления предсказания, в качестве декодирования переменной длины параметра внутреннего предсказания, чтобы определять параметр внутреннего предсказания как из индекса, указывающего характерный вектор направления предсказания, так и из индекса, указывающего вышеуказанную разность. Модуль 31 декодирования переменной длины составляет модуль декодирования переменной длины.
[0026] Модуль 32 обратного квантования/обратного преобразования выполняет процесс обратного квантования сжатых данных, декодированных c переменной длиной посредством модуля 31 декодирования переменной длины, посредством обращения к параметру кодирования разности предсказания, декодированному с переменной длиной посредством модуля 31 декодирования переменной длины, а также выполнения процесса обратного ортогонального преобразования для коэффициентов преобразования, которые являются сжатыми данными, обратно квантованными посредством него, посредством обращения к параметру кодирования разности предсказания, чтобы вычислять декодированный разностный сигнал предсказания, соответствующий разностному сигналу предсказания, выведенному из модуля 6 вычитания, показанного на фиг. 1. Модуль 32 обратного квантования/обратного преобразования составляет модуль обратного квантования.
[0027] Избирательный переключатель 33 выполняет процесс, когда режим кодирования, декодированный с переменной длиной посредством модуля 31 декодирования переменной длины, является режимом внутреннего кодирования, вывода параметра внутреннего предсказания, декодированного c переменной длиной посредством модуля 31 декодирования переменной длины, в модуль 34 внутреннего предсказания, а когда режим кодирования, декодированный с переменной длиной посредством модуля 31 декодирования переменной длины, является режимом взаимного кодирования, вывода параметра взаимного предсказания и вектора движения, которые декодируются с переменной длиной посредством модуля 31 декодирования переменной длины, в модуль 35 компенсации движения.
[0028] Модуль 34 внутреннего предсказания выполняет процесс выполнения процесса внутреннего предсказания для целевого блока, подлежащего декодированию, посредством использования параметра внутреннего предсказания, выведенного из избирательного переключателя 33, при обращении к декодированному изображению, сохраненному в запоминающем устройстве 37 для внутреннего предсказания, чтобы формировать изображение внутреннего предсказания (изображение предсказания). Модуль формирования изображений предсказания состоит из избирательного переключателя 33, модуля 34 внутреннего предсказания и запоминающего устройства 37 для внутреннего предсказания.
[0029] Модуль 35 компенсации движения выполняет процесс выполнения процесса взаимного предсказания (процесса предсказания с компенсацией движения) для целевого блока, подлежащего декодированию, посредством использования вектора движения и параметра взаимного предсказания, которые выводятся из избирательного переключателя 33, при обращении к декодированному изображению, для которого выполняется процесс фильтрации и которое сохраняется в запоминающем устройстве 39 кадров предсказания с компенсацией движения, чтобы формировать изображение взаимного предсказания. Модуль 36 суммирования выполняет процесс суммирования декодированного разностного сигнала предсказания, вычисленного посредством модуля 32 обратного квантования/обратного преобразования, и изображения внутреннего предсказания, сформированного посредством модуля 34 внутреннего предсказания, или изображения взаимного предсказания, сформированного посредством модуля 35 компенсации движения, чтобы вычислять декодированное изображение, соответствующее целевому блоку, подлежащему кодированию, выведенному из модуля 1 разделения на блоки, показанного на фиг. 1.
[0030] Запоминающее устройство 37 для внутреннего предсказания является носителем записи для сохранения декодированного изображения, вычисленного посредством модуля 36 суммирования. Модуль 38 контурного фильтра выполняет процесс выполнения предварительно определенного процесса фильтрации для декодированного изображения, вычисленного посредством модуля 36 суммирования, чтобы выводить декодированное изображение, для которого выполняется процесс фильтрации. Запоминающее устройство 39 кадров предсказания с компенсацией движения является носителем записи для сохранения декодированного изображения, для которого выполняется процесс фильтрации.
[0031] В примере по фиг. 10, модуль 31 декодирования переменной длины, модуль 32 обратного квантования/обратного преобразования, избирательный переключатель 33, модуль 34 внутреннего предсказания, модуль 35 компенсации движения, модуль 36 суммирования, запоминающее устройство 37 для внутреннего предсказания, модуль 38 контурного фильтра и запоминающее устройство 39 кадров предсказания с компенсацией движения, которые являются компонентами устройства декодирования движущихся изображений, могут состоять из элементов аппаратных средств для исключительного использования (например, интегральных схем, в каждой из которых установлен CPU, однокристальных микрокомпьютеров и т.п.), соответственно. В качестве альтернативы, устройство декодирования движущихся изображений может состоять из компьютера, и программа, в которой описываются процессы, выполняемые посредством модуля 31 декодирования переменной длины, модуля 32 обратного квантования/обратного преобразования, избирательного переключателя 33, модуля 34 внутреннего предсказания, модуля 35 компенсации движения, модуля 36 суммирования и модуля 38 контурного фильтра, может быть сохранена в запоминающем устройстве компьютера, и CPU компьютера может быть выполнен с возможностью исполнять программу, сохраненную в запоминающем устройстве. Фиг. 12 является блок-схемой последовательности операций способа, показывающей обработку (способ декодирования движущихся изображений), выполняемую устройством декодирования движущихся изображений в соответствии с вариантом 1 осуществления настоящего изобретения.
[0032] Фиг. 11 является блок-схемой, показывающей внутреннюю структуру модуля 31 декодирования переменной длины устройства декодирования движущихся изображений в соответствии с вариантом 1 осуществления настоящего изобретения. Модуль 31 декодирования переменной длины имеет модуль 31a декодирования переменной длины параметров внутреннего предсказания в качестве одного из своих компонентов. Модуль 41 энтропийного декодирования модуля 31a декодирования переменной длины параметров внутреннего предсказания выполняет процесс декодирования переменной длины индекса преобразования в двоичную форму параметра внутреннего предсказания из кодового слова параметра внутреннего предсказания. Модуль 42 вычисления предсказанных значений параметров внутреннего предсказания выполняет процесс вычисления предсказанного значения параметра внутреннего предсказания целевого блока, подлежащего декодированию, из параметра внутреннего предсказания уже декодированного блока, смежного с целевым блоком, подлежащим декодированию.
[0033] Модуль 43 вычисления индексов параметров внутреннего предсказания выполняет процесс, когда флаг, включенный в индекс преобразования в двоичную форму параметра внутреннего предсказания, декодированный с переменной длиной посредством модуля 41 энтропийного декодирования, показывает, что предсказанное значение совпадает с индексом, указывающим характерный вектор направления предсказания, вычисления параметра внутреннего предсказания из предсказанного значения, вычисленного посредством модуля 42 вычисления предсказанных значений параметров внутреннего предсказания, и значения разности между вектором направления предсказания, показанным параметром внутреннего предсказания уже декодированного блока, включенного в индекс преобразования в двоичную форму параметра внутреннего предсказания, и характерным вектором направления предсказания, а когда флаг показывает, что предсказанное значение не совпадает с индексом, указывающим характерный вектор направления предсказания, вычисле



