Устройство преобразования мощности

Иллюстрации

Показать все

Изобретение относится к области электротехники и может быть использовано в устройствах преобразования мощности. Техническим результатом является осуществление преобразования мощности с помощью двухплечевого управления ШИМ-модуляцией с высокой универсальностью, которое может ослаблять ограничения на коэффициент мощности и может эффективно использовать свои возможности независимо от коэффициента мощности. Устройство преобразования мощности преобразует трехфазную мощность АС в мощность DC с помощью двухплечевого управления ШИМ-модуляцией и содержит главную цепь (1), которая состоит из множества переключающих элементов, соединенных в ней по мостовой схеме; блок (2) формирования команды напряжения, который формирует значение команды напряжения для главной цепи (1); блок (3) регистрации тока, который регистрирует, по меньшей мере, один из выходных токов главной цепи (1); блок (4) вычисления коэффициента мощности, который вычисляет коэффициент мощности на основе выходного тока и значения команды напряжения; блок (5) формирования несущего сигнала, который формирует несущий сигнал частоты, соответствующей коэффициенту мощности; и блок (6) формирования ШИМ-сигнала, который сравнивает значение команды напряжения и несущий сигнал для формирования ШИМ-сигнала, который осуществляет управление переключением переключающих элементов. 8 н. и 11 з.п. ф-лы, 12 ил.

Реферат

ОБЛАСТЬ ТЕХНИКИ

[0001] Настоящее изобретение относится к устройству преобразования мощности.

УРОВЕНЬ ТЕХНИКИ

[0002] В качестве способа широтно-импульсной модуляции (ШИМ-модуляции) для устройства преобразования мощности с использованием главной цепи, состоящей из шести соединенных по мостовой схеме переключающих элементов, традиционным является использование «двухплечевого управления ШИМ-модуляцией».

[0003] Двухплечевое управление ШИМ-модуляцией представляет собой способ, при котором управление переключением по одной фазе из трех фаз на некоторый интервал времени прекращается, при этом управление переключением в течение этого интервала времени осуществляется по другим двум фазам. При использовании данного способа ввиду того, что управление переключением по одной из фаз не осуществляется, потери на переключение могут быть снижены.

[0004] При использовании двухплечевого управления ШИМ-модуляцией с учетом эффекта снижения потерь на переключение наиболее эффективной является установка интервала времени, в течение которого управление переключением по одной фазе прекращается, вблизи максимального значения трехфазного входного/выходного тока главной цепи. Описан метод, в котором регистрируются фазное напряжение и линейный ток любой из фаз; посредством этого находится угол между векторами тока и напряжения; а на основе этого угла между векторами тока и напряжения осуществляется управление ШИМ-сигналами соответствующих фаз таким образом, что интервал, в течение которого переключение прекращено, находится вблизи максимума фазного тока (например, Патентная литература 1).

СПИСОК БИБЛИОГРАФИЧЕСКИХ ССЫЛОК

ПАТЕНТНАЯ ЛИТЕРАТУРА

[0005] Патентная литература 1: Выложенная заявка на патент Японии № H7-46855.

СУЩНОСТЬ ИЗОБРЕТЕНИЯ

ТЕХНИЧЕСКАЯ ПРОБЛЕМА

[0006] Однако в вышеуказанном традиционном методе необходимо управлять интервалом прекращения переключения для фаз значений команд напряжения в соответствии с найденным углом между векторами тока и напряжения, из-за чего операции управления усложняются. Между тем, при использовании двухплечевого управления ШИМ-модуляцией интервал, в течение которого управление переключением одной фазы прекращается, как правило, устанавливается в пределах 60° от максимумов значений команд напряжения для трех фаз. В этом случае необходимо рассмотреть конструкцию, соответствующую коэффициенту мощности, который задается заранее. Однако, когда коэффициент мощности больше, чем заданный коэффициент мощности, это может приводить к тому, что устройство имеет избыточное качество, что может препятствовать полному использованию устройства преобразования мощности. В тех случаях, когда коэффициент мощности меньше, чем заданный коэффициент мощности, и, если коэффициент мощности ограничен с целью предотвращения нарушений нормальной работы из-за состояния, в котором потери на переключение устройства преобразования мощности становятся больше заданных потерь на переключение, устройство преобразования мощности не может широко применяться.

[0007] Настоящее изобретение сделано для решения вышеописанных проблем, и задачей настоящего изобретения является обеспечение чрезвычайно универсального типа устройства преобразования мощности, которое осуществляет преобразование мощности с помощью двухплечевого управления ШИМ-модуляцией; которое может ослаблять ограничения на коэффициент мощности; и которое может полностью использовать свои возможности независимо от коэффициента мощности.

РЕШЕНИЕ ПРОБЛЕМЫ

[0008] С целью преодоления указанной проблемы и решения указанной задачи настоящее изобретение относится к устройству преобразования мощности, которое преобразует мощность постоянного тока (DC) в трехфазную мощность переменного тока (АС) с помощью двухплечевого управления ШИМ-модуляцией. Устройство преобразования мощности содержит главную цепь, которая состоит из множества переключающих элементов, соединенных в ней по мостовой схеме; блок формирования команды напряжения, который формирует значение команды напряжения для главной цепи; блок регистрации тока, который регистрирует, по меньшей мере, один из выходных токов главной цепи; блок вычисления коэффициента мощности, который вычисляет коэффициент мощности на основе выходного тока и значения команды напряжения; блок формирования несущего сигнала, который формирует несущий сигнал частоты, соответствующей коэффициенту мощности; и блок формирования ШИМ-сигнала, который сравнивает значение команды напряжения и несущий сигнал для формирования ШИМ-сигнала, который осуществляет управление переключением переключающих элементов.

ПОЛОЖИТЕЛЬНЫЕ ЭФФЕКТЫ ИЗОБРЕТЕНИЯ

[0009] В соответствии с настоящим изобретением, может быть обеспечено чрезвычайно универсальное устройство преобразования мощности, которое осуществляет преобразование мощности с помощью двухплечевого управления ШИМ-модуляцией, причем устройство преобразования мощности может ослаблять ограничения на коэффициент мощности и может полностью использовать свои возможности независимо от коэффициента мощности.

КРАТКОЕ ОПИСАНИЕ ЧЕРТЕЖЕЙ

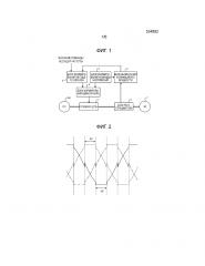
[0010] Фиг. 1 представляет собой диаграмму, иллюстрирующую пример инвертора, выполненного в качестве устройства преобразования мощности, в соответствии с первым вариантом осуществления.

Фиг. 2 представляет собой диаграмму, иллюстрирующую пример форм сигналов значений команд напряжения для трех фаз при общеупотребительном двухплечевом управлении ШИМ-модуляцией.

Фиг. 3 представляет собой диаграмму, иллюстрирующую примеры соответствующих форм сигналов значения команды напряжения, несущей волны и выходного напряжения при общеупотребительном двухплечевом управлении ШИМ-модуляцией.

Фиг. 4 представляет собой диаграмму, иллюстрирующую соотношение между значением команды напряжения и выходным током соответствующих фаз при общеупотребительном двухплечевом управлении ШИМ-модуляцией (коэффициент мощности=1).

Фиг. 5 представляет собой диаграмму, иллюстрирующую соотношение между значением команды напряжения и выходным током соответствующих фаз при общеупотребительном двухплечевом управлении ШИМ-модуляцией (коэффициент мощности=0).

Фиг. 6 представляет собой диаграмму, иллюстрирующую пример преобразователя, выполненного в качестве устройства преобразования мощности в соответствии с первым вариантом осуществления.

Фиг. 7 представляет собой диаграмму, иллюстрирующую пример инвертора, выполненного в качестве устройства преобразования мощности в соответствии со вторым вариантом осуществления.

Фиг. 8 представляет собой диаграмму, иллюстрирующую пример преобразователя, выполненного в качестве устройства преобразования мощности, в соответствии со вторым вариантом осуществления.

Фиг. 9 представляет собой диаграмму, иллюстрирующую пример инвертора, выполненного в качестве устройства преобразования мощности в соответствии с третьим вариантом осуществления.

Фиг. 10 представляет собой диаграмму, иллюстрирующую пример преобразователя, выполненного в качестве устройства преобразования мощности в соответствии с третьим вариантом осуществления.

Фиг. 11 представляет собой диаграмму, иллюстрирующую пример инвертора, выполненного в качестве устройства преобразования мощности в соответствии с четвертым вариантом осуществления.

Фиг. 12 представляет собой диаграмму, иллюстрирующую пример преобразователя, выполненного в качестве устройства преобразования мощности в соответствии с четвертым вариантом осуществления.

ОПИСАНИЕ ВАРИАНТОВ ОСУЩЕСТВЛЕНИЯ

[0011] Примеры осуществления устройства преобразования мощности в соответствии с настоящим изобретением подробно объясняются ниже со ссылкой на прилагаемые чертежи. Настоящее изобретение не ограничивается нижеследующими вариантами осуществления.

[0012] ПЕРВЫЙ ВАРИАНТ ОСУЩЕСТВЛЕНИЯ

Фиг. 1 представляет собой диаграмму, иллюстрирующую пример инвертора, выполненного в виде устройства преобразования мощности, в соответствии с первым вариантом осуществления. Пример, приведенный на фиг. 1, является примером конфигурации, в которой мощность постоянного тока (DC) подается от источника 100 питания DC, а мощность переменного тока (AC) подается на асинхронный двигатель (IM), соединенный с нагрузкой 7.

[0013] Устройство преобразования мощности в соответствии с первым вариантом осуществления содержит главную цепь 1, которая выполнена с возможностью включения плеч трех фаз, выполненных путем последовательного соединения двух переключающих элементов (не показаны) друг с другом; блок 2 формирования команды напряжения, который формирует значения команд напряжения для трех фаз по отношению к плечам соответствующих фаз, составляющим главную цепь 1; блок 3 регистрации тока, который регистрирует выходные токи плеч соответствующих фаз главной цепи 1; блок 4 вычисления коэффициента мощности, который вычисляет коэффициент мощности на основе выходных токов плеч соответствующих фаз главной цепи 1 и значения команды напряжения для соответствующих фаз; блок 5 формирования несущего сигнала, который формирует несущий сигнал частоты, соответствующей коэффициенту мощности; и блок 6 формирования ШИМ-сигнала, который сравнивает значения команды напряжения и несущие сигналы для формирования ШИМ-сигнала, который осуществляет управление переключением соответствующих переключающих элементов плеч соответствующих фаз, составляющих главную цепь 1. Поскольку главная цепь 1 является общеупотребительным устройством, ее иллюстрации в настоящем документе не приводятся. Кроме того, блок 3 регистрации тока может представлять собой любое устройство при условии, что оно может регистрировать выходной ток плеча, по меньшей мере, одной фазы. Предполагается, что блок 4 вычисления коэффициента мощности осуществляет вычисление коэффициента мощности на основе зарегистрированного выходного тока и значения команды напряжения для фазы, соответствующей выходному току.

[0014] Далее описывается пример управления в рамках общего двухплечевого управления ШИМ-модуляцией, при котором управление переключением на одном плече фазы из трех плеч трех фаз на некоторый интервал времени прекращается, при этом управление переключением осуществляется на плечах остальных двух фаз.

[0015] Фиг. 2 представляет собой диаграмму, иллюстрирующую пример временных диаграмм значений команд напряжения для трех фаз при общеупотребительном двухплечевом управлении ШИМ-модуляцией. На фиг. 2 сплошной линией показан пример временной диаграммы значения команды напряжения фазы U, пунктирной линией показан пример временной диаграммы значения команды напряжения фазы V, а штрихпунктирной линией показан пример временной диаграммы значения команды напряжения фазы W. Фиг. 3 представляет собой диаграмму, иллюстрирующую примеры соответствующих временных диаграмм значения команды напряжения, несущей волны и выходного напряжения при общеупотребительном двухплечевом управлении ШИМ-модуляцией.

[0016] При двухплечевом управлении ШИМ-модуляцией, как показано на фиг. 2, обычно предусматривается интервал прекращения переключения величиной 60° между максимумами соответствующих значений команды фазного напряжения. Как показано на фиг. 3, поскольку управление ШИМ осуществляется на соответствующих переключающих элементах плеч соответствующих фаз с использованием ШИМ-сигнала, формируемого путем сравнения значений команд напряжения для соответствующих фаз и несущих сигналов, интервал прекращения переключения плеч соответствующих фаз формируется с изменением фаз каждые 60°. При использовании данной операции число раз, которое происходит переключение, может быть уменьшено при сохранении напряжений между фазами синусоидальными. В результате этого потери на переключение устройства преобразования мощности также могут быть уменьшены.

[0017] Далее описывается соотношение между выходным током соответствующих фаз и потерями на переключение устройства преобразования мощности при осуществлении двухплечевого управления ШИМ-модуляцией. Фиг. 4 и 5 представляют собой диаграммы, иллюстрирующие соотношение между значением команды напряжения и выходным током соответствующих фаз, обычно используемое при двухплечевом управлении ШИМ-модуляцией. Фиг. 4 иллюстрирует пример, в котором коэффициент мощности равен 1, а фиг. 5 иллюстрирует пример, в котором коэффициент мощности равен 0.

[0018] Потери на переключение пропорциональны мгновенному абсолютному значению выходного тока при осуществлении переключения, при этом потери на переключение становятся наибольшими, когда переключение осуществляется на максимуме выходного тока. Как показано на фиг. 4, когда коэффициент мощности равен 1, т.е. когда фаза значения команды напряжения и фаза выходного тока соответствуют друг другу, интервал прекращения переключения и интервал максимума выходного тока соответствуют друг другу, а эффект уменьшения потерь на переключение, получаемый с помощью двухплечевого управления ШИМ-модуляцией, выражен больше всего.

[0019] Напротив, если фаза значения команды напряжения и фаза выходного тока смещены относительно друг друга, между интервалом прекращения переключения и интервал максимума выходного тока возникает смещение, и операция переключения осуществляется во время интервалом максимума выходного тока. Как показано на фиг. 5, когда коэффициент мощности равен 0, т.е. когда фаза значения команды напряжения и фаза выходного тока смещены относительно друг друга на 90°, труднее всего становится достичь эффекта уменьшения потерь на переключение при двухплечевом управлении ШИМ-модуляцией.

[0020] Между тем, поскольку коэффициент мощности изменяется в зависимости от устройства, подключаемого в качестве нагрузки, величина потерь на переключение также изменяется в зависимости от устройства, подключаемого в качестве нагрузки. То есть необходимо рассчитывать несущие частоты, защиту от перегрузки по току и защиту от перегрева с учетом устройства, подключаемого в качестве нагрузки.

[0021] Кроме того, на этапе выполняемой операции, когда коэффициент мощности становится меньше, чем значение, задаваемое на этапе разработки, потери становятся больше, и существует возможность того, что запасы по номинальному значению выходного тока и излучению переключающих элементов превысят величины, задаваемые на этапе разработки, что приводит к неудовлетворительной работе устройства преобразования мощности. Следовательно, необходимо разрабатывать устройство преобразования мощности таким образом, чтобы коэффициент мощности заранее устанавливается с ограничением, либо таким образом, чтобы запасы устанавливались достаточно большими, чтобы устройство могло выдерживать такие условия, даже если, например, коэффициент мощности равен 0. Однако, если ограничение устанавливается по коэффициенту мощности, универсальность устройства понижается; а если запасы устанавливаются большими, это создает чрезмерно высокое качество, когда коэффициент мощности является большим. Следовательно, устройство преобразования мощности не может использоваться на полную мощность.

[0022] В настоящем варианте осуществления при осуществлении двухплечевого управления ШИМ-модуляцией частота несущих сигналов изменяется в соответствии с коэффициентом мощности. Когда частота несущих сигналов высока, можно улучшить скорость отклика на операцию управления и уменьшить шум, создаваемый электродвигателем, когда нагрузка 7 представляет собой электродвигатель, такой как асинхронный двигатель. Однако в этом случае число переключений возрастает, и, следовательно, потери на переключение становятся большими. Когда коэффициент мощности мал, как описано выше, эффект уменьшения потерь на переключение при двухплечевом управлении ШИМ-модуляцией становится меньше, в результате чего потери на переключение становятся большими.

[0023] Следовательно, в соответствии с настоящим вариантом осуществления, блок 4 вычисления коэффициента мощности получает коэффициент мощности путем использования выходного тока, регистрируемого блоком 3 регистрации тока, и значения команды напряжения, выдаваемого с блока 2 формирования команды напряжения; а блок 5 формирования несущего сигнала по мере приближения коэффициента мощности, получаемого блоком 4 вычисления коэффициента мощности, к 0 уменьшает частоту несущих сигналов. Таким образом, необходимые запасы обеспечиваются, когда коэффициент мощности является большим, и даже если эффект уменьшения потерь на переключение, получаемый посредством двухплечевого управления ШИМ-модуляцией, меньше, можно предотвратить нарушения нормальной работы путем превышения запаса.

[0024] Кроме того, например, когда устройство преобразования мощности, разработанное исходя из того, что его коэффициент мощности равен 0, приводится в действие с коэффициентом мощности, равным 1, потери на формирование становятся меньше заданной величины. Следовательно, путем эффективного использования запаса по потерям по мере того, как коэффициент мощности приближается к 1, шум, создаваемый асинхронным двигателем, который подключен в качестве нагрузки 7, может быть уменьшен путем увеличения частоты несущих сигналов.

[0025] Как описано выше, в соответствии с устройством преобразования мощности в настоящем варианте осуществления, благодаря управлению частотой несущих сигналов, соответствующих коэффициенту мощности, устройство может иметь меньше ограничений на коэффициент мощности. Следовательно, может быть создано чрезвычайно универсальное устройство преобразования мощности, которое имеет меньше ограничений на коэффициент мощности и может полностью использовать свои возможности независимо от коэффициента мощности.

[0026] Необходимо отметить, что для установки частоты несущих сигналов в блоке 5 формирования несущего сигнала может использоваться либо способ вычисления частоты с помощью такой расчетной формулы, как умножение значения команды несущей частоты, вводимого в блок 5 формирования несущего сигнала, на коэффициент, соответствующий коэффициенту мощности, либо способ запоминания соотношения между коэффициентом мощности и частотой несущих сигналов в виде таблицы и вычисления частоты, соответствующей коэффициенту мощности, с помощью этой таблицы.

[0027] Фиг. 6 представляет собой диаграмму, иллюстрирующую пример преобразователя, выполненного в виде устройства преобразования мощности, в соответствии с первым вариантом осуществления. Пример, приведенный на фиг. 6, является примером, в котором трехфазная мощность АС подается от источника 200 питания АС, а мощность DC подается в нагрузку 7.

[0028] В примере, приведенном на фиг. 6, блок 3 регистрации тока регистрирует входные токи плеч соответствующих фаз главной цепи 1, а блок 4 вычисления коэффициента мощности вычисляет коэффициент мощности на основе входных токов плеч соответствующих фаз главной цепи 1 и значений команд напряжения для соответствующих фаз.

[0029] Кроме того, в конфигурации, изображенной на фиг. 6, считается совершенно ясным, что эффекты, идентичные эффектам в конфигурации, изображенной на фиг. 1, могут достигаться путем осуществления управления, описываемого в настоящем варианте осуществления.

[0030] Как описано выше, в соответствии с устройством преобразования мощности в первом варианте осуществления, частота несущих сигналов изменяется в зависимости от коэффициента мощности. Следовательно, путем уменьшения частоты несущих сигналов по мере того, как коэффициент мощности приближается к 0, с сохранением необходимого запаса на тот случай, когда коэффициент мощности является большим, даже если коэффициент мощности мал, а эффект уменьшения потерь на переключение, получаемый с помощью двухплечевого управления ШИМ-модуляцией, меньше, можно предотвратить состояние, в котором запас превышен, и вследствие этого возникают нарушения нормальной работы. Кроме того, когда потери на формирование меньше, чем заданные потери на формирование, благодаря эффективному использованию запаса по потерям для повышения частоты несущих сигналов шум, создаваемый асинхронным двигателем или подобным ему, который подключен в качестве нагрузки, может быть уменьшен. То есть, благодаря осуществлению управления частотой несущих сигналов, соответствующей коэффициенту мощности, может быть создано чрезвычайно универсальное устройство преобразования мощности, которое может ослабить ограничения на коэффициент мощности и которое может полностью использовать свои возможности независимо от коэффициента мощности.

[0031] ВТОРОЙ ВАРИАНТ ОСУЩЕСТВЛЕНИЯ

Во втором варианте осуществления настоящего изобретения описывается пример, в котором при регистрации перегрузки по току уровень токовой защиты изменяется в зависимости от коэффициента мощности.

[0032] Фиг. 7 представляет собой диаграмму, иллюстрирующую пример инвертора, выполненного в виде устройства преобразования мощности, в соответствии со вторым вариантом осуществления. Кроме того, в примере, приведенном на фиг. 7, изображен пример конфигурации, в котором мощность DC подается от источника 100 питания DC, а мощность АС подается на асинхронный двигатель, подключенный в качестве нагрузки 7, который имеет конфигурацию, аналогичную описанной в первом варианте осуществления и изображенной на фиг. 1. Составляющие элементы, идентичные или эквивалентные составляющим элементам, описанным в первом варианте осуществления и изображенным на фиг. 1, обозначены такими же ссылочными позициями, и их подробные описания не приводятся.

[0033] Устройство преобразования мощности в соответствии со вторым вариантом осуществления дополнительно содержит - помимо составляющих элементов в соответствии с первым вариантом осуществления, изображенных на фиг. 1 - блок 8 вычисления уровня токовой защиты, который вычисляет уровень токовой защиты, соответствующий коэффициенту мощности, выдаваемому с блока 4 вычисления коэффициента мощности; и блок 9 мониторинга токовой защиты, который прекращает действие главной цепи 1, когда выходной ток главной цепи 1 превышает уровень токовой защиты. Блок 9 мониторинга токовой защиты либо может использовать систему, которая при прекращении действия главной цепи 1 прекращает действие главной цепи 1 путем прекращения формирования ШИМ-сигнала в блоке 6 формирования ШИМ-сигнала, либо, например, он может использовать систему, которая блокирует тракт подачи мощности DC, подаваемой от источника 100 питания DC. В качестве альтернативы блок 9 мониторинга токовой защиты может представлять собой блок, который использует эти системы в комбинации.

[0034] Далее описываются операции устройства преобразования мощности в соответствии со вторым вариантом осуществления. Во втором варианте осуществления также описывается пример, в котором главная цепь 1 приводится в действие с помощью двухплечевого управления ШИМ-модуляцией.

[0035] В настоящем варианте осуществления уровень токовой защиты изменяется в зависимости от коэффициента мощности. В частности, блок 8 вычисления уровня токовой защиты по мере того, как коэффициент мощности, получаемый блоком 4 вычисления коэффициента мощности, приближается к 0, уменьшает уровень токовой защиты. В качестве альтернативы, по мере того, как коэффициент мощности приближается к 0, уровень токовой защиты повышается.

[0036] Например, когда устройство преобразования мощности, которое разрабатывается исходя из того, что его коэффициент мощности составит 0, приводится в действие с использованием коэффициента мощности, равного 1, потери на формирование устройства становятся меньше, чем заданная величина. Следовательно, благодаря эффективному использованию запаса по потерям для повышения уровня токовой защиты (тока срабатывания защиты от перегрузки по току) может использоваться устройство преобразования мощности, в котором нагрузка 7 увеличена.

[0037] Таким образом, при использовании устройства преобразования мощности в соответствии с настоящим вариантом осуществления благодаря осуществлению управления по уровню токовой защиты, соответствующему коэффициенту мощности, может быть создано чрезвычайно универсальное устройство преобразования мощности, которое может ослабить ограничения на коэффициент мощности и может полностью использовать свои возможности независимо от коэффициента мощности.

[0038] Необходимо отметить, что при установке уровня токовой защиты в блоке 8 вычисления уровня токовой защиты может применяться способ вычисления уровня токовой защиты с помощью такой расчетной формулы, как умножение опорного значения заранее установленного уровня токовой защиты на коэффициент, соответствующий коэффициенту мощности, либо может применяться способ использования соотношения между коэффициентом мощности и уровнем токовой защиты в виде таблицы и вычисления уровня токовой защиты, соответствующего коэффициенту мощности, с помощью этой таблицы.

[0039] Фиг. 8 представляет собой диаграмму, иллюстрирующую пример преобразователя, выполненного в виде устройства преобразования мощности, в соответствии со вторым вариантом осуществления. В примере, изображенном на фиг. 8, изображен пример конфигурации, в которой трехфазная мощность АС также подается от источника 200 питания АС, а мощность DC подается на нагрузку 7, и которая аналогична конфигурации, описываемой в первом варианте осуществления и изображенной на фиг. 6.

[0040] В примере, изображенном на фиг. 8, блок 3 регистрации тока регистрирует входные токи плеч соответствующих фаз главной цепи 1, а блок 4 вычисления коэффициента мощности вычисляет коэффициент мощности на основе входных токов плеч соответствующих фаз главной цепи 1 и значений команд напряжения для соответствующих фаз.

[0041] Кроме того, в конфигурации, изображенной на фиг. 8, совершенно ясно, что такие же эффекты, как и в конфигурации, изображенной на фиг. 7, могут достигаться путем осуществления управления, описываемого в настоящем варианте осуществления.

[0042] Как описано выше, в соответствии с устройством преобразования мощности по втором варианте осуществления, ввиду того, что уровень токовой защиты изменяется в зависимости от коэффициента мощности, когда потери на формирование меньше, чем заданное значение, благодаря эффективному использованию запаса по потерям для увеличения уровня токовой защиты устройство преобразования мощности может применяться к большей нагрузке. То есть, благодаря осуществлению управления по уровню токовой защиты, соответствующему коэффициенту мощности, может быть создано чрезвычайно универсальное устройство преобразования мощности, которое может иметь меньше ограничений на коэффициент мощности и которое может полностью использовать свои возможности независимо от коэффициента мощности.

[0043] ТРЕТИЙ ВАРИАНТ ОСУЩЕСТВЛЕНИЯ

В третьем варианте осуществления настоящего изобретения описывается пример, в котором уровень защиты от перегрева при осуществлении защиты от перегрева в соответствии с коэффициентом мощности выполнен изменяемым.

[0044] Фиг. 9 представляет собой диаграмму, иллюстрирующую пример инвертора, выполненного в виде устройства преобразования мощности, в соответствии с третьим вариантом осуществления. Кроме того, в примере, изображенном на фиг. 9, подобно конфигурации, описанной в первом варианте осуществления и изображенной на фиг. 1, изображен пример конфигурации, в котором мощность DC подается от источника 100 питания DC, а мощность АС подается на асинхронный двигатель, подключенный в качестве нагрузки 7. Составляющие элементы, идентичные или эквивалентные описанным в первом варианте осуществления и изображенным на фиг. 1, обозначаются такими же ссылочными позициями, и их подробные описания не приводятся.

[0045] Устройство преобразования мощности в соответствии с третьим вариантом осуществления содержит, помимо составляющих элементов в соответствии с первым вариантом осуществления, изображенным на фиг. 1, блок 10 регистрации температуры, который регистрирует температуру главной цепи 1, блок 11 вычисления уровня защиты от перегрева, который вычисляет уровень защиты от перегрева, соответствующий коэффициенту мощности, выдаваемому с блока 4 вычисления коэффициента мощности, блок 12 мониторинга защиты от перегрева, который прекращает действие главной цепи 1, когда температура главной цепи 1 превышает уровень защиты от перегрева. В блоке 12 мониторинга защиты от перегрева может использоваться система, которая при прекращении действия главной цепи 1 прекращает действие главной цепи 1 остановкой формирования ШИМ-сигнала в блоке 6 формирования ШИМ-сигнала, при этом, например, в блоке 12 мониторинга защиты от перегрева может использоваться система, которая блокирует тракт подачи мощности DC, подаваемой от блока 100 подачи мощности DC. В качестве альтернативы, блок 12 мониторинга защиты от перегрева может представлять собой блок, в котором эти системы объединены друг с другом. Кроме того, блок 10 регистрации температуры может, например, представлять собой блок, который регистрирует температуру радиатора (не показан), такого как радиатор, прикрепленный к главной цепи 1, блок, который регистрирует температуру поверхности главной цепи 1, или блок, который может регистрировать температуру, по которой может определяться температура соединения (соединительной детали) переключающих элементов, составляющих главную цепь 1.

[0046] Далее описываются операции устройства преобразования мощности в соответствии с третьим вариантом осуществления. Кроме того, в настоящем варианте осуществления описывается пример, в котором главная цепь 1 приводится в действие с помощью двухплечевого управления ШИМ-модуляцией.

[0047] Верхнее предельное значение температуры соединения переключающих элементов, как правило, составляет около 150°С, при этом обычно предусматривается запас по температуре при приведении в действие главной цепи 1 с учетом верхнего предельного значения. В настоящем варианте осуществления к конфигурации, в которой температура соединения не может регистрироваться непосредственно, температура соединения переключающих элементов оценивается путем умножения теплового сопротивления от блока 10 регистрации температуры до соединения переключающих элементов на потери переключающих элементов и суммирования умноженной величины на температуру, регистрируемую блоком 10 регистрации температуры.

[0048] Например, в тепловом расчете главной цепи 1 с учетом величины тепловыделения при разработке устройства преобразования мощности исходя из того, что его коэффициент мощности составляет 1, когда устройство преобразования мощности приводится в действие с коэффициентом мощности 0, поскольку эффект уменьшения потерь на переключение, достигаемый с помощью двухплечевого управления ШИМ-модуляцией, становится меньше, его потери на формирование становятся больше, чем заданное значение, а фактическая величина тепловыделения становится большой. Следовательно, необходимо понизить уровень защиты от перегрева (температуру срабатывания защиты от перегрева) с учетом регистрируемой температуры в блоке 12 мониторинга защиты от перегрева, регистрируемой блоком 10 регистрации температуры.

[0049] Следовательно, в настоящем варианте осуществления уровень защиты от перегрева изменяется в зависимости от коэффициента мощности. В частности, в блоке 11 вычисления уровня защиты от перегрева по мере того, как коэффициент мощности, получаемый блоком 4 вычисления коэффициента мощности, приближается к 0, уровень защиты от перегрева с учетом регистрируемой температуры блока 10 регистрации температуры, снижается. При использовании данной конфигурации даже в тех случаях, когда потери на формирование больше, чем заранее заданная величина, действие главной цепи 1 может быть прекращено до того, как превышено верхнее предельное значение температуры соединения переключающих элементов, и нарушения нормальной работы, вызываемые перегревом, могут быть предотвращены заранее. В качестве альтернативы, за счет повышения уровня защиты от перегрева с приближением коэффициента мощности к 1 диапазон температур срабатывания может быть расширен.

[0050] Как описано выше, в соответствии с устройством преобразования мощности настоящего варианта осуществления, благодаря осуществлению управления по уровню защиты от перегрева, соответствующему коэффициенту мощности, может быть создано чрезвычайно универсальное устройство преобразования мощности, которое может уменьшить ограничения на коэффициент мощности и может эффективно использовать свои возможности независимо от коэффициента мощности.

[0051] Что касается установки уровня защиты от перегрева в блоке 11 вычисления уровня защиты от перегрева, то можно использовать способ вычисления уровня защиты от перегрева с помощью такой расчетной формулы, как умножение опорного значения заранее установленного уровня защиты от перегрева на коэффициент, соответствующий коэффициенту мощности, либо может использоваться способ сохранения соотношения между коэффициентом мощности и уровнем защиты от перегрева в виде таблицы и получения уровня защиты от перегрева, соответствующего коэффициенту мощности, с помощью этой таблицы.

[0052] Фиг. 10 представляет собой диаграмму, иллюстрирующую пример преобразователя, выполненного в виде устройства преобразования мощности, в соответствии с третьим вариантом осуществления. Кроме того, в примере, изображенном на фиг. 10, изображен пример конфигурации, в которой мощность АС подается от источника 200 питания АС, а мощность DC подается на нагрузку 7, и которая аналогична конфигурации, описываемой в первом варианте осуществления и изображенной на фиг. 6.

[0053] В примере, изображенном на фиг. 10, блок 3 регистрации тока регистрирует входные токи плеч соответствующих фаз главной цепи 1, а блок 4 вычисления коэффициента мощности вычисляет коэффициент мощности на основе входных токов плеч соответствующих фаз главной цепи 1 и значений команд напряжения для соответствующих фаз.

[0054] Кроме того, в конфигурации, изображенной на фиг. 10, ясно, что такие же эффекты, как и в конфигурации, изображенной на фиг. 9, могут достигаться путем осуществления управления, описываемого в настоящем варианте осуществления.

[0055] Как описано выше, в соответствии с устройством преобразования мощности третьего варианта осуществления, ввиду того, что уровень защиты от перегрева с учетом регистрируемой температуры блока регистрации температуры изменяется в зависимости от коэффициента мощности, когда потери на формирование больше, чем заданное значение, благодаря понижению уровня защиты от перегрева действие главной цепи может быть прекращено до того, как превышено верхнее предельное значение температуры соединения переключающих элементов, и нарушения нормальной работы, вызываемые перегревом, могут быть предотвращены заранее. То есть, благодаря осуществлению управления по уровню защиты от перегрева, соответствующему коэффициенту мощности, может быть создано чрезвычайно универсальное устройство преобразования мощности, которое может уменьшить ограничения на коэффициент мощности и может эффективно использовать свои возможности независимо от коэффициента мощности.

[0056] ЧЕТВЕРТЫЙ ВАРИАНТ ОСУЩЕСТВЛЕНИЯ

В настоящем варианте осуществления в конфигурации, имеющей радиатор, такой как теплоотвод, предусмотренный в главной цепи и содержащий охлаждающий механизм, такой как вентилятор, способный изменять охлаждающие способности радиатора, описывается пример, в котором охлаждающие способности охлаждающего механизма изменяются в зависимости от коэффициента мощности.

[0057] Фиг. 11 представляет собой диаграмму, иллюстрирующую пример инвертора, выполненного в виде устройства преобразования мощности, в соответствии с четвертым вариантом осуществления. Кроме того, в примере, изображенном на фиг. 11, подобно конфигурации, описываемой в первом варианте осуществления и изображенной на фиг. 1, изображен пример конфигурации, в которой мощность DC подается от источника 100 питания DC, а мощность АС подается на асинхронный двигатель, подключенный в качестве нагрузки 7. Составляющие элементы,