Система с несколькими устройствами отображения

Иллюстрации

Показать все

Изобретение относится к системе с несколькими устройствами отображения, которая создана посредством объединения множества устройств отображения. Технический результат заключается в экономии электроэнергии и поддержании одинакового срока службы каждого устройства отображения. Система состоит из блока отображения и компоновки видеоокон и контроллера источника питания. Блок отображения и компоновки видеоокон компонует и отображает все видеоокна, которые должны быть отображены только на некоторых устройствах отображения. Контроллер источника питания управляет питанием устройства отображения, в котором не отображается видеоокно. 5 з.п. ф-лы, 18 ил.

Реферат

УРОВЕНЬ ТЕХНИКИ

ОБЛАСТЬ ТЕХНИКИ, К КОТОРОЙ ОТНОСИТСЯ ИЗОБРЕТЕНИЕ

Настоящее изобретение относится к системе с несколькими устройствами отображения, которая создана посредством объединения множества устройств отображения.

ОПИСАНИЕ УРОВНЯ ТЕХНИКИ

Система с несколькими устройствами отображения, в которой множество устройств отображения компонуются, например, в форму решетки для создания одного экрана отображения (устройства отображения) широко используется в качестве устройства отображения видеоизображения, которое используется для контроля инфраструктурной сферы, например электропитания, дорожного движения и завода.

В целом, в системе с несколькими устройствами отображения для того, чтобы одновременно отображать множество видеоизображений на экране отображения (устройстве отображения), используется процессор видеосигналов для отображения множества видеоизображений с произвольным размером, позицией и приоритетом, и одно или множество видеоизображений выбираются из входного видеосигнала и выводятся на устройство отображения видеоизображения.

В настоящее время с усовершенствованием по укрупнению и высокой яркости устройства отображения увеличивается энергопотребление отдельного устройства отображения. Вследствие этого, возникает проблема энергосбережения системы с несколькими устройствами отображения, созданной множеством устройств отображения.

Традиционно существует технология индивидуального управления питанием устройства отображения в соответствии с использованием каждого устройства отображения, чтобы сократить энергопотребление устройства отображения. Например, существует технология, побуждающая устройство отображения, в котором состояние, при котором не отображается указатель мыши или видеоокно в активном состоянии, продолжается в течение заданного времени, к переходу в режим низкого энергопотребления во множестве устройств отображения (см. патент Японии № 3831538).

В системе с несколькими устройствами отображения, используемой в контроле или подобном, видеоизображение не отображается в одном видеоокне, а часто видеоизображение отображается во множестве видеоокон и используется на устройстве с несколькими устройствами отображения. В случае, когда технология, раскрытая в патенте Японии № 3831538, используется в таком режиме работы, то устройство отображения, в котором не отображается видеоокно в активном состоянии, побуждают к переходу в режим низкого энергопотребления, и видеоизображение не отображается. Вследствие этого, к сожалению, периодически необходимо переводить все необходимые пользователю видеоокна (видеоокна цели отображения) в активное состояние, чтобы всегда поддерживать все видеоокна в состоянии отображения.

В режиме использования системы с несколькими устройствами отображения обычно видеоизображения отображаются на всех устройствах отображения, которые только возможны. В режиме низкого энергопотребления, иногда энергопотребление сокращается посредством уменьшения количества видеоокон, используемых для отображения видеоизображений или количества устройств отображения, используемых для отображения видеоизображений. В данном случае рабочее состояние в приведенном выше режиме низкого энергопотребления может быть реализовано посредством ручной установки состояния питания отдельного устройства отображения. Тем не менее, необходимо выполнять установку питания устройства отображения всякий раз при переключении между рабочим состоянием во время нормального режима и рабочим состоянием во время режима низкого энергопотребления, и, к сожалению, это требует усилий и времени.

СУЩНОСТЬ ИЗОБРЕТЕНИЯ

Цель настоящего изобретения состоит в предоставлении системы с несколькими устройствами отображения, в которой видеоокно, необходимое для отображения видеоизображения, может легко отображаться, при этом энергопотребление сдерживается.

В соответствии с аспектом настоящего изобретения система с несколькими устройствами отображения включает в себя: блок отображения и компоновки видеоокон, который компонует и отображает все видеоокна, которые должны быть отображены, только на некоторых устройствах отображения в устройстве с несколькими устройствами отображения, созданном посредством компоновки матрицы устройств отображения; и контроллер источника питания, который управляет питанием устройства отображения, в котором не отображается видеоокно.

В соответствии с аспектом настоящего изобретения все видеоокна, которые должны быть отображены, компонуются и отображаются на некоторых устройствах отображения для выполнения управления питанием устройства отображения, в котором не отображается видеоокно таким образом, чтобы видеоокно, необходимое для отображения видеоизображения, компоновалось надлежащим образом при одновременном сдерживании энергопотребления.

Эти и прочие цели, признаки, аспекты и преимущества настоящего изобретения станут более очевидны из нижеследующего подробного описания настоящего изобретения при рассмотрении совместно с сопроводительными чертежами.

КРАТКОЕ ОПИСАНИЕ ЧЕРТЕЖЕЙ

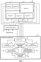
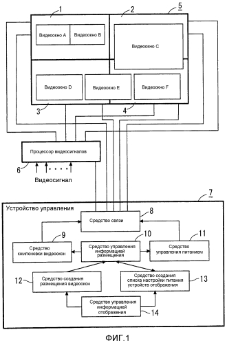
Фиг. 1 является блок-схемой, иллюстрирующей конфигурацию системы с несколькими устройствами отображения в соответствии с предпочтительным вариантом осуществления настоящего изобретения;

Фиг. 2 является видом, иллюстрирующим информацию отображения (об отображении), управляемую средством управления информацией отображения в соответствии с предпочтительным вариантом осуществления настоящего изобретения;

Фиг. 3 является видом, иллюстрирующим информацию размещения видеоокон, управляемую средством управления информацией размещения в соответствии с предпочтительным вариантом осуществления настоящего изобретения;

Фиг. 4 является видом, иллюстрирующим список настройки питания устройств отображения, управляемый средством управления информацией размещения в соответствии с предпочтительным вариантом осуществления настоящего изобретения;

Фиг. 5 является блок-схемой последовательности операций, иллюстрирующей работу средства создания размещения видеоокон в соответствии с предпочтительным вариантом осуществления настоящего изобретения;

Фиг. 6 является блок-схемой последовательности операций, иллюстрирующей работу средства создания списка настройки питания устройств отображения в соответствии с предпочтительным вариантом осуществления настоящего изобретения;

Фиг. 7 является блок-схемой последовательности операций, иллюстрирующей работу определения наложения области рисования видеоокна и области отображения устройства отображения в соответствии с предпочтительным вариантом осуществления настоящего изобретения;

Фиг. 8 является блок-схемой последовательности операций, иллюстрирующей работу при создании размещения видеоокон в соответствии с предпочтительным вариантом осуществления настоящего изобретения;

Фиг. 9 является видом, иллюстрирующим пример размещения видеоокон в соответствии с предпочтительным вариантом осуществления настоящего изобретения;

Фиг. 10 является видом, иллюстрирующим пример информации размещения видеоокон в соответствии с предпочтительным вариантом осуществления настоящего изобретения;

Фиг. 11 является видом, иллюстрирующим пример списка настройки питания устройств отображения в соответствии с предпочтительным вариантом осуществления настоящего изобретения;

Фиг. 12 является блок-схемой последовательности операций, иллюстрирующей работу при создании размещения видеоокон в соответствии с предпочтительным вариантом осуществления настоящего изобретения;

Фиг. 13 является видом, иллюстрирующим экран выбора видеоокна цели отображения при создании размещения видеоокон в соответствии с предпочтительным вариантом осуществления настоящего изобретения;

Фиг. 14A и 14B являются видами, иллюстрирующими пример размещения видеоокон в соответствии с предпочтительным вариантом осуществления настоящего изобретения;

Фиг. 15 является видом, иллюстрирующим пример информации размещения видеоокон в соответствии с предпочтительным вариантом осуществления настоящего изобретения;

Фиг. 16 является видом, иллюстрирующим пример списка настройки питания устройств отображения в соответствии с предпочтительным вариантом осуществления настоящего изобретения; и

Фиг. 17 является блок-схемой последовательности операций, иллюстрирующей работу при переключении размещения в соответствии с предпочтительным вариантом осуществления настоящего изобретения.

ОПИСАНИЕ ПРЕДПОЧТИТЕЛЬНЫХ ВАРИАНТОВ ОСУЩЕСТВЛЕНИЯ

Здесь и далее со ссылкой на сопроводительные чертежи будут описаны предпочтительные варианты осуществления настоящего изобретения.

(ПЕРВЫЙ ПРЕДПОЧТИТЕЛЬНЫЙ ВАРИАНТ ОСУЩЕСТВЛЕНИЯ)

(КОНФИГУРАЦИЯ)

Фиг. 1 является блок-схемой, иллюстрирующей конфигурацию системы с несколькими устройствами отображения в соответствии с первым предпочтительным вариантом осуществления. Как проиллюстрировано на Фиг. 1, система с несколькими устройствами отображения включает в себя устройство 5 с несколькими устройствами отображения, процессор 6 видеосигналов и устройство 7 управления.

Например, устройство 5 с несколькими устройствами отображения (дисплеями) является группой устройств отображения (дисплеев), в которой множество устройств с 1 по 4 отображения скомпонованы в форму решетки, и устройство 5 с несколькими устройствами отображения принимает видеоизображение, которое создается процессором 6 видеосигналов на основании видеосигнала, через кабель DVI или подобный, и отображает видеоизображение.

Устройства с 1 по 4 отображения являются устройствами отображения типа проектора DLP (Цифровая Обработка Света) (зарегистрированный товарный знак) или жидкокристаллического типа, в каждом из которых в качестве источника света используется лампа или LED (Светодиод). Например, каждое из устройств с 1 по 4 отображения обладает разрешением в 1920 пикселей в горизонтальном направлении и 1200 пикселей в вертикальном направлении. Устройство 5 с несколькими устройствами отображения в целом обладает размером экрана 3840-на-2400 пикселей.

Например, видеосигналы, связанные с видеоизображениями множества камер контроля и выводом видеоизображений от PC или подобного, вводятся в процессор 6 видеосигналов, и процессор 6 видеосигналов масштабирует видеосигналы до видеоизображения, имеющего любой размер, и отображает видеосигналы в любой позиции на устройстве 5 с несколькими устройствами отображения с разрешением 3840-на-2400 пикселей в качестве видеоокон. В примере на Фиг. 1 скомпонованы видеоокна с A по F, в то время как некоторые видеоокна расставляют (на некоторое расстояние) видеоокна. Тем не менее, фактически процессор 6 видеосигналов выводит видеоизображение 1920-на-1200 пикселей, соответствующее каждому из устройств с 1 по 4 отображения.

Как иллюстрируется на Фиг. 1, устройство 7 управления включает в себя средство 8 связи, средство 9 компоновки видеоокон, средство 10 управления информацией размещения, средство 11 управления питанием, средство 12 создания размещения видеоокон, средство 13 создания списка настройки питания устройств отображения и средство 14 управления информацией отображения. Устройство 7 управления может быть создано посредством PC, на котором функционирует операционная система Windows (зарегистрированный товарный знак Microsoft) или операционная система Linux (зарегистрированный товарный знак) и которое включает в себя интерфейс связи общего назначения, такой как RS-232C и Ethernet (зарегистрированный товарный знак).

Средство 8 связи осуществляет связь с устройством 5 с несколькими устройствами отображения и процессором 6 видеосигналов, чтобы осуществлять контроль состояния и различного рода управление в отношении устройств с 1 по 4 отображения и процессора 6 видеосигналов. Например, устройство 5 с несколькими устройствами отображения, процессор 6 видеосигналов и устройство 7 управления соединены с кабелем Ethernet (зарегистрированный товарный знак), тем самым осуществляя связь друг с другом.

Средство 9 компоновки видеоокон компонует и отображает видеоокна на устройстве 5 с несколькими устройствами отображения на основании информации размещения видеоокон. Информация размещения видеоокон является информацией, которой управляет средство 10 управления информацией размещения, и указывает размещение видеоокон.

Средство 10 управления информацией размещения хранит и управляет информацией размещения видеоокон, созданной средством 12 создания размещения видеоокон, и списком настройки питания устройств отображения, который создается средством 13 создания списка настройки питания устройств отображения, и указывает настройку питания каждого устройства отображения.

Средство 11 управления питанием выполняет управление питанием устройств с 1 по 4 отображения через средство 8 связи на основании информации в списке настройки питания устройств отображения.

Средство 12 создания размещения видеоокон фиксирует компоновку видеоокон для устройства 5 с несколькими устройствами отображения и хранит содержимое в качестве информации размещения видеоокон в средстве 10 управления информацией размещения.

В соответствии с информацией размещения видеоокон, управляемой средством 10 управления информацией размещения, средство 13 создания списка настройки питания устройств отображения создает список настройки питания устройств отображения, указывающий настройку питания каждого устройства отображения, и хранит список настройки питания устройств отображения в средстве 10 управления информацией размещения.

Средство 14 управления информацией отображения хранит и управляет информацией о позиции и размере (информация отображения) каждого из устройств с 1 по 4 отображения, составляющих устройство 5 с несколькими устройствами отображения. Средство 14 управления информацией отображения также может хранить и управлять списком видеоокон цели отображения, указывающим видеоокно цели отображения, и информацией (о режиме) режима создания размещения видеоокон, которая является информацией касательно режима размещения видеоокон.

Фиг. 2 является видом, иллюстрирующим пример информации отображения, управляемой средством 14 управления информацией отображения. Информация отображения включает в себя номер отображения, смещение отображения и размер отображения. Например, смещением отображения является координата на верхнем левом краю каждого устройства отображения, когда координата на верхнем левом краю всего устройства 5 с несколькими устройствами отображения установлена как (0,0). Смещение отображения обладает единицей в пиксель.

Фиг. 3 является видом, иллюстрирующим пример информации размещения видеоокон, управляемой средством 10 управления информацией размещения. Информация размещения видеоокон включает в себя номер видеоокна, название видеоокна, позицию видеоокна и размер видеоокна. Номер видеоокна идентифицирует видеоокно, а позиция видеоокна является координатой на верхнем левом краю видеоокна по отношению к области отображения всего устройства с несколькими устройствами отображения. Позиция видеоокна и размер видеоокна обладают единицей в пиксель.

Фиг. 4 является видом, иллюстрирующим пример списка настройки питания устройств отображения, управляемого средством 10 управления информацией размещения. Список настройки питания устройств отображения включает в себя номер устройства отображения и информацию состояния питания. Номер устройства отображения, включенный в список настройки питания устройств отображения, соответствует номеру устройства отображения, включенному в информацию отображения.

(РАБОТА СРЕДСТВА СОЗДАНИЯ РАЗМЕЩЕНИЯ ВИДЕООКОН)

Фиг. 5 является блок-схемой последовательности операций, иллюстрирующей работу средства 12 создания размещения видеоокон.

Сначала средство 12 создания размещения видеоокон получает список видеоокон цели отображения, указывающий видеоокно, которое является целью отображения, от средства 14 управления информацией отображения (Этап S501). Видеоокна, которые необходимы для отображения всех видеоизображений необходимых для пользователя, перечислены в списке видеоокон цели отображения. Видеоокно, которое является целью отображения, может быть произвольно установлено, и необходимое видеоизображение может быть отображено в выбранном видеоокне. Случай, при котором все видеоокна перечислены в качестве видеоокна цели отображения, описывается в первом предпочтительном варианте осуществления.

Средство 12 создания размещения видеоокон получает информацию режима создания размещения видеоокон от средства 14 управления информацией отображения (Этап S502). Например, информация режима создания размещения видеоокон включает в себя элемент настройки, связанный с созданием размещения видеоокон, в котором видеоокна компонуются при одновременном изменении размера одного отображения на размеры отображения одна четвертая, одна девятая или одна шестнадцатая (режим автоматической компоновки). В данном случае, в новом размещении видеоокон, видеоокно не компонуется в по меньшей мере одном устройстве отображения.

Список видеоокон и информация режима создания размещения видеоокон устанавливаются пользователем перед выполнением работы средства 12 создания размещения видеоокон; и список видеоокон и информация режима создания размещения видеоокон могут быть сохранены в средстве 14 управления информацией отображения.

Затем средство 12 создания размещения видеоокон инициализирует индекс I в 1. Индекс I указывает обрабатываемый в настоящий момент номер видеоокна (Этап S503). Средство 12 создания размещения видеоокон повторно выполняет Этапы с S504 по S508, описанные выше, столько раз, каково число видеоокон, которые являются целью отображения.

На Этапе S504 позиция видеоокна, имеющего индекс I, устанавливается в созданном размещении видеоокон. На Этапе S504 позиция видеоокна устанавливается с использованием значения, на которое разделена область отображения в соответствии с установленным в настоящий момент режимом создания размещения видеоокон. Например, устройства отображения, в которых компонуются видеоокна, могут быть выбраны в порядке возрастания номера устройства отображения. Например, значение координаты устанавливается в устройстве отображения таким образом, что видеоокна компонуются по мере смещения позиций видеоокон от верхнего левого (угла) к нижнему правому (углу) по направлению вправо.

На Этапе S505 размер видеоокна устанавливается в индексе I. На этапе S505 область отображения делится на области одной четвертой, одной девятой или подобной в соответствии с установленным в настоящий момент режимом создания размещения видеоокон, и размер видеоокна устанавливается равным разделенной области отображения.

На Этапе S506 новая информация размещения видеоокон применительно к скомпонованному видеоокну, имеющему индекс I, сохраняется в средстве 10 управления информацией размещения.

На Этапе S507 индекс I, указывающий обрабатываемый в настоящий момент номер видеоокна, увеличивается на 1.

На Этапе S508 определяют, превышает ли индекс I число видеоокон цели отображения. Если индекс I превышает число видеоокон цели отображения (ДА на Этапе S508), а именно, если в размещении видеоокон зарегистрированы все видеоокна, которые являются целью отображения, то работа завершается. С другой стороны, когда индекс I меньше либо равен числу видеоокон цели отображения (НЕТ на Этапе S508), то поток возвращается к Этапу S504.

(РАБОТА СРЕДСТВА СОЗДАНИЯ СПИСКА НАСТРОЙКИ ПИТАНИЯ УСТРОЙСТВ ОТОБРАЖЕНИЯ)

Фиг. 6 является блок-схемой последовательности операций, иллюстрирующей работу средства 13 создания списка настройки питания устройств отображения.

Средство 13 создания списка настройки питания устройств отображения получает информацию размещения видеоокон от средства 10 управления информацией размещения (Этап S601). Информация размещения видеоокон может произвольно выбираться не только из информации размещения видеоокон, которые отображаются на устройстве 5 с несколькими устройствами отображения в момент времени, когда вызывается средство 13 создания списка настройки питания устройств отображения, но также в момент, когда все части информации размещения видеоокон управляются средством 10 управления информацией размещения.

Затем средство 13 создания списка настройки питания устройств отображения инициализирует индекс D в 1. Индекс D указывает обрабатываемый в настоящий момент номер устройства отображения (Этап S602). Средство 13 создания списка настройки питания устройств отображения повторно выполняет Этапы с S603 по S610, описанные ниже, применительно ко всем устройствам с 1 по 4 отображения, которые составляют устройство 5 с несколькими устройствами отображения.

На Этапе S603 состояние питания устройства отображения, имеющего индекс D, который является целью настройки питания, переводится в выключенное состояние (не используется), и состояние питания регистрируется в списке настройки питания устройств отображения.

Далее на Этапе S604 индекс I инициализируется в 1. Индекс I указывает номер видеоокна, который становится критерием на описанном далее Этапе S605.

На Этапе S605 определяется, накладывается ли область рисования видеоокна, имеющего индекс I, на область отображения устройства отображения, имеющего индекс D. Если область рисования видеоокна, имеющего индекс I, накладывается на область отображения устройства отображения, имеющего индекс D (ДА на Этапе S605), то поток переходит к Этапу S608. Если область рисования видеоокна, имеющего индекс I, не накладывается на область отображения устройства отображения, имеющего индекс D (НЕТ на Этапе S605), то поток переходит к Этапу S606. Способ для определения наложения видеоокна, имеющего индекс I, и устройства отображения, имеющего индекс D, описывается ниже по тексту.

На Этапе S608 состояние питания устройства отображения, имеющего индекс D, переводится во включенное состояние (используется), и состояние питания регистрируется в списке настройки питания устройств отображения. Затем поток переходит к Этапу S609.

На Этапе S606 индекс I увеличивается на 1, и видеоокно, которое является целью обработки, меняется на следующее видеоокно. Затем поток переходит к Этапу S607.

На Этапе S607 определяется, превышает ли индекс I число видеоокон цели отображения. Если индекс I превышает число видеоокон цели отображения (ДА на Этапе S607), то поток переходит к Этапу S609. Если индекс I меньше либо равен числу видеоокон цели отображения (НЕТ на Этапе S607), то поток возвращается к Этапу S605.

На Этапе S609 индекс D увеличивается на 1. Затем поток переходит к Этапу S610.

На Этапе S610 определяется, превышает ли индекс D число устройств отображения, составляющих систему с несколькими устройствами отображения. Если индекс D превышает число устройств отображения (ДА на Этапе S610), то работа завершается. Если индекс D меньше либо равен числу устройств отображения (НЕТ на Этапе S610), то поток возвращается к Этапу S603.

Если на Этапе S605 сделано отрицательное определение, то обработка переходит к следующему устройству отображения, при этом содержимое регистрации списка настройки питания устройств отображения поддерживается в выключенном состоянии (не используется), и обработка последовательно выполняется применительно ко всем видеоокнам, которые включены в размещение видеоокон.

Фиг. 7 является блок-схемой последовательности операций, иллюстрирующей процедуру для определения области наложения видеоокна, имеющего индекс I, и устройства отображения, имеющего индекс D на Этапе S605.

Сначала на Этапе S701 проверяется, включены ли в область отображения устройства отображения, имеющего индекс D, координаты четырех вершин в области рисования видеоокна, которая получена из информации позиции и информации размера применительно к видеоокну, имеющему индекс I. Если координаты четырех вершин включены в область отображения устройства отображения, имеющего индекс D (ДА на Этапе S701), то поток переходит к Этапу S704. Если координаты четырех вершин не включены в область отображения устройства отображения, имеющего индекс D (НЕТ на Этапе S701), то поток переходит к Этапу S702.

На Этапе S702 горизонтальная и вертикальная составляющие размера видеоокна, имеющего индекс I, сравниваются с таковыми размерами устройства отображения, имеющего индекс D. Если размер видеоокна меньше размера устройства отображения как по горизонтальной, так и по вертикальной составляющим, то поток переходит к Этапу S705. Если размер видеоокна больше размера устройства отображения по одной из горизонтальной и вертикальной составляющих, то поток переходит к Этапу S703.

В направлении составляющей (по меньшей мере одном из горизонтального направления или вертикального направления), в котором размер видеоокна, имеющего индекс I больше размера устройства отображения, имеющего индекс D, значение, в котором значение смещения отображения добавлено к значению координаты позиции видеоокна, устанавливается как новое значение координаты, и на Этапе S703 проверяется, включена ли точка, указываемая новым значением координаты, в область отображения. Если точка включена в область отображения в одном из направлений, то поток переходит к Этапу S704. Если точка не включена в область отображения по обоим направлениям, то поток переходит к Этапу S705.

На Этапе S704 в качестве результата Этапа S605 устанавливается «ДА», а именно выполнено определение того, что видеоокно, имеющее индекс I, включено в область устройства отображения, имеющего индекс D. Затем работа завершается.

На Этапе S705 в качестве результата Этапа S605 устанавливается «НЕТ», а именно выполнено определение того, что видеоокно, имеющее индекс I, не включено в область устройства отображения, имеющего индекс D. Затем работа завершается.

(РАБОТА ПО СОЗДАНИЮ РАЗМЕЩЕНИЯ)

Фиг. 8 является блок-схемой последовательности операций, иллюстрирующей работу устройства 7 управления, когда пользователь выдает инструкцию на создание размещения видеоокон.

Сначала на Этапе S801 устройство 7 управления принимает от пользователя инструкцию на создание размещения видеоокон. Конкретные ограничения отсутствуют. Тем не менее, например, инструкция на создание размещения видеоокон может быть исполнена в случае, когда система с несколькими устройствами отображения устанавливается в режим низкого энергопотребления.

Далее на Этапе S802 устройство 7 управления представляет пользователю режим создания размещения видеоокон и побуждает пользователя выбрать один из режимов. Режим создания размещения видеоокон не ограничивается случаем, когда режим создания размещения видеоокон выбирается из ранее установленного содержимого, и режим создания размещения видеоокон может представлять собой случай, при котором пользователь устанавливает индивидуальное содержимое.

На Этапе S803, для того чтобы отображать видеоизображение на основании всех видеосигналов, вводимых в процессор 6 видеосигналов, устройство 7 управления побуждает средство 12 создания размещения видеоокон создать информацию размещения видеоокон, указывающую размещение видеоокон. Информация размещения видеоокон создается на основании режима создания размещения видеоокон, выбранного или установленного на Этапе S802. В данный момент, в новом размещении видеоокон, видеоокно не компонуется в по меньшей мере одном устройстве отображения. Размещение видеоокон создается при помощи видеоокна цели отображения.

Далее на Этапе S804 устройство 7 управления побуждает средство 9 компоновки видеоокон скомпоновать видеоокно на основании информации размещения видеоокон.

Далее на Этапе S805 устройство 7 управления побуждает средство 13 создания списка настройки питания устройств отображения создать список настройки питания устройств отображения на основании информации размещения видеоокон. В списке настройки питания устройств отображения к устройству отображения, в котором не компонуется видеоокно, обращаются из информации размещения видеоокон для выдачи инструкции, чтобы управлять питанием устройства отображения (например, выключить питание устройства отображения).

На Этапе S806 устройство 7 управления побуждает средство 8 связи осуществить связь с устройствами с 1 по 4 отображения и побуждает средство 11 управления питанием выполнить управление питанием (например, отключить питание) каждого из устройств с 1 по 4 отображения на основании созданного списка настройки питания устройств отображения.

Фиг. 9 является видом, иллюстрирующим пример размещения видеоокон в целях энергосбережения. В примере на Фиг. 9 восемь видеосигналов вводятся в процессор 6 видеосигналов, и в случае, когда на устройстве 5 с несколькими устройствами отображения могут отображаться видеоизображения, называемые видеоокнами с A по H на основании соответствующих видеосигналов, то режим создания размещения видеоокон установлен в режим автоматической компоновки, в котором видеоокна скомпонованы с изменением размера до размеров отображения, равных одной четвертой, и видеоокна разложены (стык в стык).

Когда пользователь выдает инструкцию создания размещения видеоокон, то средство 12 создания размещения видеоокон фиксирует позиции и размеры восьми видеоокон в значения (проиллюстрированные на Фиг. 10), которые указаны информацией размещения видеоокон, созданной средством 12 создания размещения видеоокон, и видеоокна отображаются на устройстве 5 с несколькими устройствами отображения с компоновкой видеоокон, как показано на Фиг. 9. На Фиг. 9 видеоокна с A по D компонуются в устройстве 1 отображения, видеоокна с E по H компонуются в устройстве 2 отображения, однако на устройствах 3 и 4 отображения видеоокно не компонуется.

Средство 13 создания списка настройки питания устройств отображения определяет, что устройства 3 и 4 отображения, в которых видеоокно не компонуется, представляют собой неиспользуемые области, и создается информация списка настройки питания устройств отображения, как показано на Фиг. 11. Затем на Этапе 806 осуществляется управление питанием устройств 3 и 4 отображения, в которых не отображаются видеоизображения (питание устанавливается в выключенное состояние).

Таким образом, посредством компоновки видеоокон получается устройство отображения, в котором не отображается видеоизображение, и осуществляется управление питанием устройства отображения, которое позволяет сократить энергопотребление устройства отображения. Кроме того, поскольку также сокращается нагрузка на схему источника питания устройства отображения, то в перспективе долгосрочного использования повышается долговечность устройства отображения в целом.

(МОДИФИКАЦИЯ)

В случае, когда устройства с 1 по 4 отображения имеют по меньшей мере одно рабочее состояние, такое как состояние ожидания и выключенное состояние схемы отображения, при котором состояние энергосбережения может поддерживаться вместо состояний отключения и включения основного питания, то система с несколькими устройствами отображения может иметь дело с различными режимами работы таким образом, что состояние ожидания и выключенное состояние схемы отображения могут быть выбраны при исполнении содержимого управления питанием устройства отображения, в котором состояние питания установлено как выключенное состояние в списке настройки питания устройств отображения.

Например, энергопотребление может быть в значительной степени сокращено, когда устройство отображения, в котором состояние питания из списка настройки питания устройств отображения установлено как выключенное состояние, установлено в выключенное состояние основного питания, и может быть реализована система с несколькими устройствами отображения, в которой время возврата сокращено при переключении рабочих режимов, когда устройство отображения установлено в состояние энергосбережения (такое как состояние ожидания или выключенное состояние схемы отображения).

В первом предпочтительном варианте осуществления фиксировано устройство отображения, на котором отображается видеоокно. Тем не менее, видеоокно не обязательно отображается на фиксированном устройстве отображения. Например, управление может выполняться таким образом, что всякий раз, когда создается размещение видеоокон, осуществляется циркуляция отображений. В данном случае из-за того, что промежутки времени проведения тока устройств отображения, составляющих устройство с несколькими устройствами отображения, по сути, могут быть выровнены, срок службы каждого устройства отображения может поддерживаться постоянным.

Кроме того, в примере на Фиг. 9 отображаемые видеоизображения размещены рядом на двух устройствах отображения. В качестве альтернативы, видеоизображения могут быть отображены на одном устройстве отображения с наложением друг на друга.

Кроме того, в первом предпочтительном варианте осуществления видеоокна отображаются на некоторых устройствах отображения устройства 5 с несколькими устройствами отображения таким образом, что видеоокна перемещаются, чтобы адаптироваться к новому размещению видеоокон. В качестве альтернативы, в случае, если видеоокна отображаются на некоторых устройствах отображения устройства 5 с несколькими устройствами отображения, до того как применено новое размещение видеоокон, размещение видеоокон может быть создано без перемещения видеоокон.

(ЭФФЕКТ)

В соответствии с первым предпочтительным вариантом осуществления настоящего изобретения система с несколькими устройствами отображения включает в себя средство 9 компоновки видеоокон, служащее в качестве блока отображения и компоновки видеоокон, и средство 11 управления питанием, служащее в качестве контроллера источника питания. Средство 9 компоновки видеоокон компонует и отображает все видеоокна, которые должны быть отображены, только на некоторых устройствах отображения устройства 5 с несколькими устройствами отображения, в котором множество устройств отображения организованы в матрицу. Средство 11 управления питанием управляет питанием устройства отображения, на котором не отображается видеоокно.

В соответствии с данной конфигурацией все видеоокна, которые должны быть отображены, компонуются в и отображаются на некоторых устройствах отображения, а средство 11 управления питанием осуществляет управление питанием применительно к устройству отображения, на котором не отображается видеоокно, что позволяет правильно компоновать видеоокна, необходимые для отображения видеоизображения, при этом сдерживая энергопотребление.

Средство 9 компоновки видеоокон и средство 11 управления питанием автоматически и совместно компонуют видеоокна для осуществления управления питанием таким образом, что может быть реализовано энергосбережение системы с несколькими устройствами отображения, при этом пользователю не требуется вручную выполнять компоновку видеоокон и индивидуальную настройку питания устройства отображения с учетом энергосбережения.

В соответствии с первым предпочтительным вариантом осуществления изобретения средство 9 компоновки видеоокон масштабирует видеоокно, чтобы позволить скомпоновать все видеоокна, которые должны быть отображены, только на некоторых устройствах отображения.

В соответствии с данной конфигурацией видеоокна, скомпонованные на устройстве 5 с несколькими устройствами отображения, могут быть правильно и совместно скомпонованы на некоторых устройствах отображения устройства 5 с несколькими устройствами отображения.

(ВТОРОЙ ПРЕДПОЧТИТЕЛЬНЫЙ ВАРИАНТ ОСУЩЕСТВЛЕНИЯ)

Ниже будет описана система с несколькими устройствами отображения в соответствии со вторым предпочтительным вариантом осуществления. В первом предпочтительном варианте осуществления управление выполняется при создании размещения видеоокон таким образом, что видеоизображения, основанные на всех видеосигналах, вводимых в процессор 6 видеосигналов, компонуются на некоторых устройствах отображения. С д