Внутренний блок кондиционера воздуха

Иллюстрации

Показать все

Настоящее изобретение относится к внутреннему блоку кондиционера воздуха. Он содержит: корпус, имеющий всасывающее отверстие, образованное в верхней части, и выпускное отверстие, образованное в нижней стороне части передней поверхности; воздуходувку, расположенную позади по потоку от упомянутого всасывающего отверстия в упомянутом корпусе; и теплообменник, расположенный позади по потоку от упомянутой воздуходувки и впереди по потоку от упомянутого выпускного отверстия в упомянутом корпусе, причем упомянутый теплообменник осуществляет обмен теплом между воздухом, выпускаемым из упомянутой воздуходувки, и хладагентом, при этом упомянутый теплообменник содержит теплообменник на стороне передней поверхности, расположенный на стороне передней поверхности, и теплообменник на стороне задней поверхности, расположенный на стороне задней поверхности, и поверхность теплопереноса упомянутого теплообменника на стороне передней поверхности отличается от поверхности теплопереноса упомянутого теплообменника на стороне задней поверхности, причем упомянутая воздуходувка расположена так, что объемы воздуха в соответствии с поверхностью теплопереноса упомянутого теплообменника на стороне передней поверхности и поверхностью теплопереноса упомянутого теплообменника на стороне задней поверхности подаются в упомянутый теплообменник на стороне передней поверхности и упомянутый теплообменник на стороне задней поверхности. Техническим результатом заявленного изобретения является снижение шума. 3 з.п. ф-лы, 23 ил.

Реферат

Область техники

Настоящее изобретение относится к внутреннему блоку, в котором вентилятор и теплообменник размещаются в корпусе (внутреннем блоке), и к кондиционеру воздуха, содержащему данный внутренний блок.

Предшествующий уровень техники

Существует кондиционер воздуха, в котором вентилятор и теплообменник размещаются в корпусе. В качестве такого кондиционера воздуха был предложен «кондиционер воздуха, содержащий основной корпус с впускным отверстием для воздуха и выпускным отверстием для воздуха и теплообменник, расположенный в основном корпусе, причем в упомянутом выпускном отверстии для воздуха расположен вентиляторный узел, образованный посредством множества малогабаритных лопастных вентиляторов, прикрепленных в направлении ширины упомянутого выпускного отверстия для воздуха» (см., например, патентный документ 1). В данном кондиционере воздуха вентиляторный узел расположен в выпускном отверстии для воздуха, для того чтобы облегчить управление направлением перемещения потока воздуха, причем в данной конфигурации вентиляторный узел также предусмотрен во всасывающем отверстии так, что теплообменные характеристики улучшаются посредством увеличения объема воздуха.

Ссылки на известный уровень техники

Патентный документ

Патентный документ 1: публикация нерассмотренной японской патентной заявки № 2005-3244 (параграф 3, строки 63-87, фиг.5 и 6).

Раскрытие изобретения

Проблемы, решаемые посредством данного изобретения

Теплообменник, такой как в патентном документе 1, расположен впереди по потоку от вентиляторного узла (воздуходувки). Поскольку подвижный вентиляторный узел расположен на стороне выпускного отверстия для воздуха, уменьшение объема воздуха, обратный поток и другие последствия вызываются изменением в воздушном канале, связанным с перемещением вентилятора, и неустойчивостью потока вследствие асимметричного всасывания. Кроме того, воздух с возмущенным потоком может попадать в вентиляторный узел. То есть поток воздуха, попадающий во внешний периферийный участок крыльчатки вентиляционного узла, где скорость потока увеличивается, подвергается возмущению, а сам вентиляторный узел становится шумным (вызывающим увеличение шума), что является проблемой.

Настоящее изобретение создано для решения вышеупомянутых проблем, и целью его является создание внутреннего блока кондиционера воздуха, который способен подавлять шум более эффективно, чем кондиционер воздуха известного уровня техники, и кондиционера воздуха, содержащего данный внутренний блок.

Средства для решения проблем

Внутренний блок кондиционера воздуха в соответствии с настоящим изобретением содержит:

корпус, имеющий всасывающее отверстие, образованное в верхней части, и выпускное отверстие, образованное в нижней стороне части передней поверхности;

осевую или диагональную воздуходувку, расположенную позади по потоку от упомянутого всасывающего отверстия в упомянутом корпусе; и

теплообменник, расположенный позади по потоку от упомянутой воздуходувки и впереди по потоку от упомянутого выпускного отверстия в упомянутом корпусе, причем упомянутый теплообменник осуществляет обмен теплом между воздухом, выпускаемым из упомянутой воздуходувки, и хладагентом,

при этом упомянутый теплообменник содержит теплообменник на стороне передней поверхности, расположенный на стороне передней поверхности, и теплообменник на стороне задней поверхности, расположенный на стороне задней поверхности, и

поверхность теплопереноса упомянутого теплообменника на стороне передней поверхности отличается от поверхности теплопереноса упомянутого теплообменника на стороне задней поверхности,

причем упомянутая воздуходувка расположена так, что объемы воздуха в соответствии с поверхностью теплопереноса упомянутого теплообменника на стороне передней поверхности и поверхностью теплопереноса упомянутого теплообменника на стороне задней поверхности подаются в упомянутый теплообменник на стороне передней поверхности и упомянутый теплообменник на стороне задней поверхности.

Предпочтительно, вращающаяся ось упомянутой воздуходувки расположена так, чтобы быть направленной к упомянутому теплообменнику, имеющему большую поверхность теплопереноса среди упомянутого теплообменника на стороне передней поверхности и упомянутого теплообменника на стороне задней поверхности.

Кроме того, предпочтительно, вращающаяся ось упомянутой воздуходувки расположена над теплообменником, имеющим большую поверхность теплопереноса среди упомянутого теплообменника на стороне передней поверхности и упомянутого теплообменника на стороне задней поверхности.

Предпочтительно, в поперечном сечении со стороны передней поверхности к стороне задней поверхности форма теплообменника образована в перевернутой V-образной форме, в V-образной форме, в N-образной форме, в W-образной форме, в перевернутой N-образной форме или в М-образной форме.

Преимущества

В настоящем изобретении, поскольку воздуходувка расположена впереди по потоку от теплообменника, поток воздуха, попадающий в воздуходувку, содержит меньше возмущений. Таким образом, шум, генерируемый воздуходувкой, может быть подавлен. Следовательно, может быть получен внутренний блок кондиционера воздуха, который способен подавлять шум более эффективно, чем кондиционер воздуха и внутренний блок известного уровня техники.

Краткое описание чертежей

Фиг.1 представляет собой вид в продольном сечении, показывающий пример внутреннего блока кондиционера воздуха в соответствии с 1-м вариантом осуществления.

Фиг.2 представляет собой вид в продольном сечении, показывающий пример внутреннего блока кондиционера воздуха в соответствии с 2-м вариантом осуществления.

Фиг.3 представляет собой вид в продольном сечении, показывающий пример внутреннего блока кондиционера воздуха в соответствии с 3-м вариантом осуществления.

Фиг.4 представляет собой вид в продольном сечении, показывающий пример внутреннего блока кондиционера воздуха в соответствии с 4-м вариантом осуществления.

Фиг.5 представляет собой вид в продольном сечении, показывающий пример внутреннего блока кондиционера воздуха в соответствии с 5-м вариантом осуществления.

Фиг.6 представляет собой вид в продольном сечении, показывающий пример внутреннего блока кондиционера воздуха в соответствии с 6-м вариантом осуществления.

Фиг.7 представляет собой вид в продольном сечении, показывающий пример внутреннего блока кондиционера воздуха в соответствии с 7-м вариантом осуществления.

Фиг.8 представляет собой вид в продольном сечении, показывающий пример внутреннего блока кондиционера воздуха в соответствии с 8-м вариантом осуществления.

Фиг.9 представляет собой вид в продольном сечении, показывающий пример внутреннего блока кондиционера воздуха в соответствии с 9-м вариантом осуществления.

Фиг.10 представляет собой вид в продольном сечении, показывающий пример внутреннего блока кондиционера воздуха в соответствии с 10-м вариантом осуществления.

Фиг.11 представляет собой схему, изображающую основную конфигурацию схемы циркуляции хладагента кондиционера 100 в соответствии с 11-м вариантом осуществления.

Фиг.12 представляет собой схематичный чертеж для пояснения примера конфигурации теплообменника 5.

Фиг.13 представляет собой вид в разрезе конфигурации кондиционера воздуха, показывающий 12-й вариант осуществления настоящего изобретения.

Фиг.14 представляет собой вид спереди кондиционера воздуха настоящего изобретения.

Фиг.15 представляет собой схему, изображающую средства обработки сигналов для генерирования контрольного звука в соответствии с 12-м вариантом осуществления настоящего изобретения.

Фиг.16 представляет собой вид в разрезе конфигурации кондиционера воздуха, показывающий другой пример в соответствии с 12-м вариантом осуществления настоящего изобретения.

Фиг.17 представляет собой вид в разрезе конфигурации кондиционера воздуха, показывающий 13-й вариант осуществления настоящего изобретения.

Фиг.18 представляет собой схему, изображающую средства обработки сигналов для генерирования контрольного звука в соответствии с 13-м вариантом осуществления настоящего изобретения.

Фиг.19 представляет собой схему формы волны для пояснения метода вычисления шума, подлежащего подавлению от звука после наложения.

Фиг.20 представляет собой блок-схему для пояснения метода оценки контрольного звука в соответствии с 13-м вариантом осуществления настоящего изобретения.

Фиг.21 представляет собой вид в разрезе конфигурации кондиционера воздуха, показывающий другой пример в соответствии с 13-м вариантом осуществления настоящего изобретения.

Фиг.22 представляет собой схему, показывающую пример, в котором конструкция теплообменника, показанная на фиг.5, используется в фиг.13.

Фиг.23 представляет собой схему, показывающую пример, в котором конструкция теплообменника, показанная на фиг.5, используется в фиг.21.

Предпочтительные варианты осуществления изобретения

Ниже будут описаны варианты осуществления настоящего изобретения со ссылкой на прилагаемые чертежи.

1-й вариант осуществления

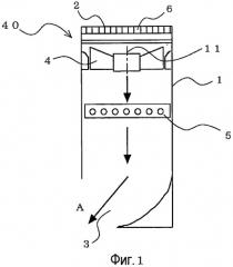
Фиг.1 представляет собой вид в продольном сечении, показывающий пример внутреннего блока (в дальнейшем называемого внутренним блоком 40) кондиционера воздуха в соответствии с 1-м вариантом осуществления настоящего изобретения. На фиг.1 показан внутренний блок 40 с его стороной передней поверхности в левой стороне чертежа. Ссылаясь на фиг.1, будет описана конфигурация внутреннего блока 40, в частности конструкция теплообменника. Данный внутренний блок 40 подает кондиционированный воздух в зону, подлежащую кондиционированию воздуха, например внутрь помещения, посредством использования циркулирующего хладагента с циклом охлаждения. На каждой из Фиг.1-10 (10-й вариант осуществления) внутренний блок показан с его стороной передней поверхности в левой стороне чертежа. Кроме того, в приведенных ниже чертежах соотношение по размерам между каждым составляющим элементом может отличаться от реального соотношения. Кроме того, внутренний блок 40 показан как настенный, который может быть закреплен, например, на поверхности стены зоны, подлежащей кондиционированию воздуха.

Внутренний блок 40 в основном содержит корпус 1, в котором образованы всасывающее отверстие 2 для всасывания воздуха помещения внутрь и выпускное отверстие 3 для подачи кондиционированного воздуха в зону, подлежащую кондиционированию воздуха, вентилятор 4, размещенный в данном корпусе 1 и всасывающий воздух помещения из всасывающего отверстия 2 и выпускающий кондиционированный воздух из выпускного отверстия 3, и теплообменник 5, расположенный в воздушном канале, продолжающемся от всасывающего отверстия 2 к вентилятору 4, для образования кондиционированного воздуха посредством теплообмена между хладагентом и воздухом помещения. Канал (стрелка А) перемещения воздуха выполнен с возможностью сообщения в корпусе 1 посредством данных составляющих элементов.

Всасывающее отверстие 2 открыто и образовано в верхней части корпуса 1. Выпускное отверстие 3 открыто и образовано в нижней части (более конкретно, в нижней стороне на участке передней поверхности корпуса 1) корпуса 1. Вентилятор 4 расположен позади по потоку от всасывающего отверстия 2 и впереди по потоку от теплообменника 5 и образован, например, посредством осевого вентилятора, диагонального вентилятора или подобного устройства. Теплообменник 5 расположен позади по потоку от вентилятора 4. В качестве данного теплообменника 5, предпочтительно, используется ребристый теплообменник или подобный теплообменник. Для всасывающего отверстия 2 предусмотрен предохранитель 6 для пальцев и фильтр 7. Кроме того, в выпускном отверстии 3 предусмотрен механизм для управления направлением выпуска потока воздуха, такой как пластина, не показанная. В данном случае вентилятор 4 соответствует воздуходувке настоящего изобретения.

Ниже будет кратко описано перемещение воздуха во внутреннем блоке 40.

Сначала воздух помещения попадает во внутренний блок 40 посредством вентилятора 4 через всасывающее отверстие 2, образованное в верхней части корпуса 1. При этом пылинки, содержащиеся в воздухе, удаляются посредством фильтра 7. Воздух помещения подвергается нагреванию или охлаждению посредством хладагента, пропускаемого через теплообменник 5, когда проходит через теплообменник 5, для того чтобы стать кондиционированным воздухом. Затем кондиционированный воздух выпускают через выпускное отверстие 3, образованное в нижней части корпуса 1, за пределы внутреннего блока 40, то есть в зону, подлежащую кондиционированию воздуха.

В соответствии с упомянутой конфигурацией, воздух, прошедший через фильтр 7, попадает в вентилятор 4. То есть воздух, попадающий в вентилятор 4, содержит меньше возмущений в потоке, чем воздух (прошедший через теплообменник), попадающий во внутренний блок, предусмотренный во внутреннем блоке кондиционера воздуха известного уровня техники. Таким образом, по сравнению с кондиционером воздуха известного уровня техники, воздух, проходящий через внешний периферийный участок крыльчатой части вентилятора 4, содержит меньше возмущений потока. Следовательно, в отличие от внутреннего блока кондиционера воздуха известного уровня техники, кондиционер 100 воздуха в соответствии с 1-м вариантом осуществления может подавлять шум.

Кроме того, поскольку во внутреннем блоке 40 вентилятор 4 расположен впереди по потоку от теплообменника 5, может быть предотвращено образование закрученного потока или распределение скорости потока воздуха, выпускаемого из выпускного отверстия 3, в отличие от внутреннего блока кондиционера воздуха известного уровня техники, в котором вентилятор расположен в выпускном отверстии. Кроме того, поскольку отсутствует усложненная конструкция, такая как вентилятор в выпускном отверстии 3, могут быть легко приняты меры против конденсации, вызываемой обратным потоком или подобными причинами.

2-й вариант осуществления

Посредством образования теплообменника 5, как описано ниже, может быть дополнительно подавлен шум. Во 2-м варианте осуществления, будет описано в основном отличие от 1-го варианта осуществления, причем одинаковые ссылочные позиции использованы для обозначения одинаковых элементов, как в 1-м варианте осуществления. Кроме того, в качестве примера показан настенный внутренний блок, закрепленный на поверхности стены зоны, подлежащей кондиционированию воздуха.

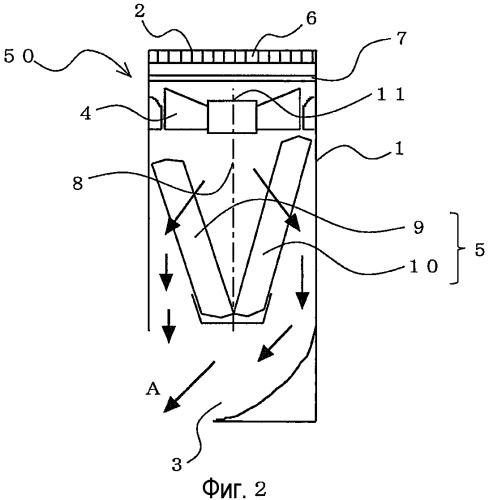
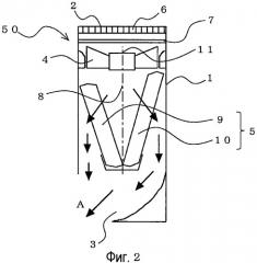
Фиг.2 представляет собой вид в продольном сечении, показывающий пример внутреннего блока (в дальнейшем называемого внутренним блоком 50) кондиционера воздуха в соответствии с 2-м вариантом осуществления настоящего изобретения. Ссылаясь на фиг.2, будет описана конструкция теплообменника внутреннего блока 50. Данный внутренний блок 50 подает кондиционированный воздух в зону, подлежащую кондиционированию воздуха, например внутрь помещения, с использованием цикла охлаждения для циркулирующего хладагента.

Как показано на фиг.2, теплообменник 9 на стороне передней поверхности и теплообменник 10 на стороне задней поверхности, образующие теплообменник 5, разделены линией 8 симметрии в продольном сечении (то есть продольном сечении внутреннего блока 50, если смотреть справа, в дальнейшем также называемом правосторонним продольным сечением) со стороны передней поверхности в сторону задней поверхности внутреннего блока 50. Линия 8 симметрии разделяет участок размещения теплообменника 5 в данном сечении в горизонтальном направлении по существу пополам. То есть теплообменник 9 на стороне передней поверхности расположен на стороне передней поверхности (левой стороне на чертеже) относительно линии 8 симметрии, а теплообменник 10 на стороне задней поверхности расположен на стороне задней поверхности (правой стороне на чертеже) относительно линии 8 симметрии соответственно. Теплообменник 9 на стороне передней поверхности и теплообменник 10 на стороне задней поверхности расположены в корпусе 1 так, что промежуток между теплообменником 9 на стороне передней поверхности и теплообменником 10 на стороне задней поверхности уменьшается вдоль направления перемещения воздуха, то есть поперечное сечение теплообменника 5 имеет по существу V-образную форму в правостороннем продольном сечении.

То есть теплообменник 9 на стороне передней поверхности и теплообменник 10 на стороне задней поверхности расположены так, чтобы иметь угол наклона по отношению к направлению перемещения воздуха, подаваемого из вентилятора 4. Кроме того, площадь воздушного канала теплообменника 10 на стороне задней поверхности отличается тем, что она больше площади воздушного канала теплообменника 9 на стороне передней поверхности. Во 2-м варианте осуществления, в правостороннем продольном сечении, длина теплообменника 10 на стороне задней поверхности в продольном направлении больше длины теплообменника 9 на стороне передней поверхности в продольном направлении. В результате, площадь воздушного канала теплообменника 10 на стороне задней поверхности больше площади воздушного канала теплообменника 9 на стороне передней поверхности. Другие конфигурации теплообменника 9 на стороне передней поверхности и теплообменника 10 на стороне задней поверхности (длина в направлении глубины или другие параметры на фиг.2) являются одинаковыми. То есть поверхность теплообмена теплообменника 10 на стороне задней поверхности больше поверхности теплообмена теплообменника 9 на стороне передней поверхности. Кроме того, вращающаяся ось 11 вентилятора 4 расположена выше линии 8 симметрии.

В соответствии с упомянутой конфигурацией, поскольку вентилятор 4 расположен впереди по потоку от теплообменника 5, может быть получен эффект, подобный 1-му варианту осуществления.

Кроме того, в соответствии с внутренним блоком 50 2-го варианта осуществления, объем воздуха, соответствующий площади воздушного канала, проходит через каждый из теплообменника 9 на стороне передней поверхности и теплообменника 10 на стороне задней поверхности. То есть объем воздуха теплообменника 10 на стороне задней поверхности больше объема воздуха теплообменника 9 на стороне передней поверхности. Вследствие данной разности в объеме воздуха, когда воздух, прошедший через каждый из теплообменника 9 на стороне передней поверхности и теплообменника 10 на стороне задней поверхности, соединяется вместе, смешанный воздух отклоняется в сторону передней поверхности (в сторону выпускного отверстия 3). Таким образом, уже нет необходимости быстро отклонять поток воздуха рядом с выпускным отверстием 3, и потери давления рядом с выпускным отверстием 3 могут быть уменьшены. Следовательно, в отличие от внутреннего блока 40 в соответствии с 1-м вариантом осуществления, внутренний блок 50 в соответствии со 2-м вариантом осуществления способен подавлять шум. Кроме того, поскольку внутренний блок 50 способен уменьшать потери давления рядом с выпускным отверстием 3, может быть также уменьшено потребление электроэнергии.

Кроме того, объем воздуха, соответствующий поверхности теплопереноса, проходит через каждый из теплообменника 9 на стороне передней поверхности и теплообменника 10 на стороне задней поверхности. Таким образом, улучшаются теплообменные характеристики теплообменника 5.

Теплообменник 5, показанный на фиг.2, образован посредством теплообменника 9 на стороне передней поверхности и теплообменника 10 на стороне задней поверхности, выполненных отдельно в по существу V-образной форме, но не ограничен данным исполнением. Например, теплообменник 9 на стороне передней поверхности и теплообменник 10 на стороне задней поверхности могут быть образованы посредством выполненного за одно целое теплообменника (см. фиг.12). Кроме того, например, каждый из теплообменника 9 на стороне передней поверхности и теплообменника 10 на стороне задней поверхности может быть образован посредством соединения множества теплообменников (см. фиг.12). В случае выполненного за одно целое теплообменника, на основе линии 8 симметрии, сторона передней поверхности становится теплообменником 9 на стороне передней поверхности, а сторона задней поверхности становится теплообменником 10 на стороне задней поверхности. То есть необходимо только, чтобы длина в продольном направлении теплообменника, расположенного на стороне задней поверхности от линии 8 симметрии, была больше, чем длина в продольном направлении теплообменника, расположенного на стороне передней поверхности от линии 8 симметрии. В качестве альтернативы, если каждый из теплообменника 9 на стороне передней поверхности и теплообменника 10 на стороне задней поверхности образован посредством соединения множества теплообменников, то сумма каждой длины в продольном направлении множества теплообменников, образующих теплообменник 9 на стороне передней поверхности, становится длиной в продольном направлении теплообменника 9 на стороне передней поверхности. Сумма каждой длины в продольном направлении множества теплообменников, образующих теплообменник 10 на стороне задней поверхности, становится длиной в продольном направлении теплообменника 10 на стороне задней поверхности.

Кроме того, нет необходимости наклонять все теплообменники, образующие теплообменник 5, в правостороннем продольном сечении, и часть теплообменников, образующих теплообменник 5, может быть расположена перпендикулярно в правостороннем продольном сечении (см. фиг.12).

Кроме того, если теплообменник 5 образован посредством множества теплообменников (например, если он образован посредством теплообменника 9 на стороне передней поверхности и теплообменника 10 на стороне задней поверхности), то нет необходимости, чтобы каждый теплообменник находился в полном контакте на участке, где наклон конструкции теплообменника 5 изменяется (например, на значительном участке соединения между теплообменником 9 на стороне передней поверхности и теплообменником 10 на стороне задней поверхности), и могут быть некоторые зазоры.

Кроме того, форма теплообменника 5 в правостороннем продольном сечении может быть частично или полностью изогнутой (см. фиг.12).

Фиг.12 представляет собой схематичный чертеж для пояснения примера конфигурации теплообменника 5. На фиг.12 показан теплообменник 5, если смотреть с правостороннего продольного сечения. Полная форма теплообменника 5, показанного на фиг.12, является по существу перевернутой V-образной, но данная полная форма теплообменника является только примером.

Как показано на фиг.12(а), теплообменник 5 может быть образован посредством множества теплообменников. Как показано на фиг.12(b), теплообменник 5 может быть образован посредством выполненного за одно целое теплообменника. Как показано на фиг.12(с), теплообменники, образующие теплообменник 5, могут быть также образованы посредством множества теплообменников. В качестве альтернативы, как показано на фиг.12(с), часть теплообменников, образующих теплообменник 5, может быть расположена перпендикулярно. Как показано на фиг.12(d), форма теплообменника 5 может быть изогнутой.

3-й вариант осуществления

Теплообменник 5 может быть образован следующим образом. В 3-м варианте осуществления, будет описано в основном отличие от вышеупомянутого 2-го варианта осуществления, при этом одинаковые ссылочные позиции использованы для обозначения одинаковых элементов, как во 2-м варианте осуществления. Кроме того, в качестве примера показан настенный внутренний блок, закрепленный на поверхности стены зоны, подлежащей кондиционированию воздуха.

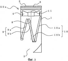
Фиг.3 представляет собой вид в продольном сечении, показывающий пример внутреннего блока (в дальнейшем называемого внутренним блоком 50а) кондиционера воздуха в соответствии с 3-м вариантом осуществления настоящего изобретения. Ссылаясь на фиг.3, будет описана конструкция теплообменника внутреннего блока 50а. Данный внутренний блок 50а подает кондиционированный воздух в зону, подлежащую кондиционированию воздуха, например внутрь помещения, используя цикл охлаждения для циркулирующего хладагента.

Во внутреннем блоке 50а в соответствии с 3-м вариантом осуществления, конструкция теплообменника 5 отличается от внутреннего блока 50 в соответствии с 2-м вариантом осуществления.

Теплообменник 5 образован посредством трех теплообменников, и каждый из данных теплообменников расположен под разными углами наклона относительно направления перемещения воздуха, подаваемого из вентилятора 4. Теплообменник 5 имеет по существу N-образную форму в правостороннем продольном сечении. В данном случае теплообменник 9а и теплообменник 9b, расположенные на стороне передней поверхности от линии 8 симметрии, образуют теплообменник 9 на стороне передней поверхности, а теплообменник 10а и теплообменник 10b, расположенные на стороне задней поверхности от линии 8 симметрии, образуют теплообменник 10 на стороне задней поверхности. То есть в 3-м варианте осуществления, теплообменник 9b и теплообменник 10b образованы посредством выполненных за одно целое теплообменников. Линия 8 симметрии разделяет участок размещения теплообменника 5 в правостороннем продольном сечении в правом и левом направлении по существу посередине.

Кроме того, в правостороннем продольном сечении, длина в продольном направлении теплообменника 10 на стороне задней поверхности больше, чем длина в продольном направлении теплообменника 9 на стороне передней поверхности. То есть объем воздуха теплообменника 10 на стороне задней поверхности больше объема воздуха теплообменника 9 на стороне передней поверхности. В данном случае, когда требуется сравнивать длины, можно сравнивать длину между суммой длин группы теплообменников, образующих теплообменник 9 на стороне передней поверхности, и суммой длин группы теплообменников, образующих теплообменник 10 на стороне задней поверхности.

В соответствии с данной конфигурацией, объем воздуха теплообменника 10 на стороне задней поверхности больше объема воздуха теплообменника 9 на стороне передней поверхности. Таким образом, так же как и во 2-м варианте осуществления, вследствие данной разности в объеме воздуха, когда воздух, прошедший через каждый из теплообменника 9 на стороне передней поверхности и теплообменника 10 на стороне задней поверхности, соединяется вместе, смешанный воздух отклоняется в сторону передней поверхности (в сторону выпускного отверстия 3). Таким образом, уже нет необходимости быстро отклонять поток воздуха рядом с выпускным отверстием 3, и потери давления рядом с выпускным отверстием 3 могут быть уменьшены. Следовательно, внутренний блок 50а в соответствии с 3-м вариантом осуществления способен подавлять шум более эффективно, чем внутренний блок 40 в соответствии с 1-м вариантом осуществления. Кроме того, поскольку внутренний блок 50а способен уменьшать потери давления рядом с выпускным отверстием 3, может быть также уменьшено потребление электроэнергии.

Кроме того, посредством образования теплообменника 5 по существу N-образного типа в правостороннем продольном сечении, площадь прохождения через теплообменник 9 на стороне передней поверхности и теплообменник 10 на стороне задней поверхности может быть сделана больше, и скорость потока воздуха, проходящего через каждый теплообменник, может быть сделана меньше, чем во 2-м варианте осуществления. Таким образом, потери давления в теплообменнике 9 на стороне передней поверхности и теплообменнике 10 на стороне задней поверхности могут быть уменьшены более эффективно, чем во 2-м варианте осуществления, и может быть обеспечено дополнительное уменьшение потребляемой электроэнергии и шума.

Теплообменник 5, показанный на фиг.3, образован посредством трех теплообменников, выполненных отдельно по существу в N-образной форме, но не ограничен данным исполнением. Например, три теплообменника, образующие теплообменник 5, могут быть образованы посредством выполненного за одно целое теплообменника (см. фиг.12). Кроме того, например, каждый из трех теплообменников, образующих теплообменник 5, может быть образован посредством соединения множества теплообменников (см. фиг.12). В случае выполненного за одно целое теплообменника, на основе линии симметрии, сторона передней поверхности становится теплообменником 9 на стороне передней поверхности, а сторона задней поверхности становится теплообменником 10 на стороне задней поверхности. То есть необходимо только, чтобы длина в продольном направлении теплообменника, расположенного на стороне задней поверхности от линии 8 симметрии, была больше, чем длина в продольном направлении теплообменника, расположенного на стороне передней поверхности от линии 8 симметрии. В качестве альтернативы, если каждый из теплообменника 9 на стороне передней поверхности и теплообменника 10 на стороне задней поверхности образован посредством соединения множества теплообменников, то сумма длин в продольном направлении множества теплообменников, образующих теплообменник 9 на стороне передней поверхности, становится длиной в продольном направлении теплообменника 9 на стороне передней поверхности. Сумма длин в продольном направлении множества теплообменников, образующих теплообменник 10 на стороне задней поверхности, становится длиной в продольном направлении теплообменника 10 на стороне задней поверхности.

Кроме того, нет необходимости наклонять все теплообменники, образующие теплообменник 5, в правостороннем продольном сечении, и часть теплообменников, образующих теплообменник 5, может быть расположена перпендикулярно в правостороннем продольном сечении (см. фиг.12).

Кроме того, если теплообменник 5 образован посредством множества теплообменников, то нет необходимости, чтобы каждый теплообменник находился в полном контакте на участке, где наклон конструкции теплообменника 5 изменяется, и могут быть некоторые зазоры.

Кроме того, форма теплообменника 5 в правостороннем продольном сечении может быть частично или полностью изогнутой (см. фиг.12).

4-й вариант осуществления

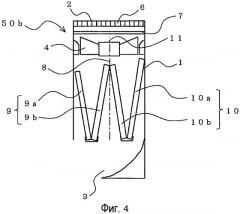
Теплообменник 5 может быть также образован следующим образом. В данном 4-м варианте осуществления, будет описано в основном отличие от вышеупомянутых 2-го и 3-го вариантов осуществления, при этом одинаковые ссылочные позиции использованы для обозначения одинаковых элементов, как во 2-м и 3-м вариантах осуществления. Кроме того, в качестве примера показан настенный внутренний блок, закрепленный на поверхности стены зоны, подлежащей кондиционированию воздуха.

Фиг.4 представляет собой вид в продольном сечении, показывающий пример внутреннего блока (в дальнейшем называемого внутренним блоком 50b) кондиционера воздуха в соответствии с 4-м вариантом осуществления настоящего изобретения. Ссылаясь на фиг.4, будет описана конструкция теплообменника внутреннего блока 50b. Данный внутренний блок 50b подает кондиционированный воздух в зону, подлежащую кондиционированию воздуха, например внутрь помещения, используя цикл охлаждения для циркулирующего хладагента.

Внутренний блок 50b в соответствии с 4-м вариантом осуществления отличается от внутренних блоков, показанных во 2-м и 3-м вариантах осуществления, по конструкции теплообменника 5.

Теплообменник 5 образован посредством четырех теплообменников, причем каждый из теплообменников расположен под разными углами наклона относительно направления перемещения воздуха, подаваемого из вентилятора 4. Теплообменник 5 имеет по существу W-образную форму в правостороннем продольном сечении. В данном случае теплообменник 9а и теплообменник 9b, расположенные на стороне передней поверхности от линии 8 симметрии, образуют теплообменник 9 на стороне передней поверхности, а теплообменник 10а и теплообменник 10b, расположенные на стороне задней поверхности от линии 8 симметрии, образуют теплообменник 10 на стороне задней поверхности. Линия 8 симметрии разделяет участок размещения теплообменника 5 в правостороннем продольном сечении в правом и левом направлении по существу посередине.

Кроме того, в правостороннем продольном сечении, длина в продольном направлении теплообменника 10 на стороне задней поверхности больше, чем длина в продольном направлении теплообменника 9 на стороне передней поверхности. То есть объем воздуха теплообменника 10 на стороне задней поверхности больше объема воздуха теплообменника 9 на стороне передней поверхности. В данном случае, когда требуется сравнивать длины, можно сравнивать длину между суммой длин группы теплообменников, образующих теплообменник 9 на стороне передней поверхности, и суммой длин группы теплообменников, образующих теплообменник 10 на стороне задней поверхности.

В соответствии с данной конфигурацией, объем воздуха теплообменника 10 на стороне задней поверхности больше объема воздуха теплообменника 9 на стороне передней поверхности. Таким образом, так же как во 2-м и 3-м вариантах осуществления, вследствие данной разницы в объеме воздуха, когда воздух, прошедший через каждый из теплообменника 9 на стороне передней поверхности и теплообменника 10 на стороне задней поверхности, соединяется вместе, смешанный воздух отклоняется в сторону передней поверхности (в сторону выпускного отверстия 3). Таким образом, уже нет необходимости быстро отклонять поток воздуха рядом с выпускным отверстием 3, и потери давления рядом с выпускным отверстием 3 могут быть уменьшены. Следовательно, внутренний блок 50b в соответствии с 4-м вариантом осуществления способен подавлять шум более эффективно, чем внутренний блок 40 в соответствии с 1-м вариантом осуществления. Кроме того, поскольку внутренний блок 50b способен уменьшать потери давления рядом с выпускным отверстием 3, может быть также уменьшено потребление электроэнергии.

Кроме того, посредством образования теплообменника 5 по существу W-образного типа в правостороннем продольном сечении площадь прохождения через теплообменник 9 на стороне передней поверхности и теплообменник 10 на стороне задней поверхности может быть сделана больше, и скорость потока воздуха, проходящего через каждый теплообменник, может быть сделана меньше, чем во 2-м и 3-м вариантах осуществления. Таким образом, потери давления в теплообменнике 9 на стороне передней поверхности и теплообменнике 10 на стороне задней поверхности могут быть уменьшены более эффективно, чем во 2-м и 3-м вариантах осуществления, и может быть обеспечено дополнительное уменьшение потребляемой электроэнергии и шума.

Теплообменник 5, показанный на фиг.4, образован посредством четырех теплообменников, выполненных отдельно по существу в W-образной форме, но не ограничен данным исполнением. Например, четыре теплообменника, образующих теплообменник 5, могут быть образованы посредством выполненного за одно целое теплообменника (см. фиг.12). Кроме того, например, каждый из четырех теплообменников, образующих теплообменник 5, может быть образован посредством соединения множества теплообменников (см. фиг.12). В случае выполненного за одно целое теплообменника, на основе линии 8 симметрии, сторона передней поверхности становится теплообменником 9 на стороне передней поверхности, а сторона задней поверхности становится теплообменником 10 на стороне задней поверхности. То есть необходимо только, чтобы длина в продольном направлении теплообменника, расположенного на стороне задней поверхности от линии 8 симметрии, была больше, чем длина в продольном направлении теплообменника, расположенного на стороне передней поверхности от линии 8 симметрии. В качестве альтернативы, если каждый из теплообменника 9 на стороне передней поверхности и теплообменника 10 на стороне задней поверхности образован посредством соединения множества теплообменников, то сумма длин в продольном направлении множества теплообменников, образующих теплообменник 9 на стороне передней поверхности, становится длиной в продольном направлении теплообменника 9 на стороне передней поверхности. Сумма длин в продольном направлении множества теплообменников, образующих теплообменник 10 на стороне задней поверхно