Система кондиционирования воздуха

Иллюстрации

Показать все

Настоящее изобретение относится к системе кондиционирования воздуха, которая содержит множество охладительных систем, включающих внутренний блок, соединенный с наружным. Система управляет множеством охладительных систем посредством одного удаленного контроллера, при этом внутренний блок включает датчик обнаружения человека, который функционирует одновременно с внутренним блоком, и когда информация датчика указывает отсутствие человека, то внутренний блок передает сигнал об отсутствии в удаленный контроллер. Удаленный контроллер, который принял сигнал об отсутствии, передает сигнал периода выключения при отсутствии, включающий в себя информацию управления в период выключения при отсутствии, установленную заранее, внутреннему блоку, и осуществляется управление внутренним блоком, который принял сигнал периода выключения при отсутствии, согласно информации управления в период выключения при отсутствии. Это позволяет понизить потребление энергии на ожидание. 4 з.п. ф-лы, 6 ил., 1 табл.

Реферат

ПРЕДПОСЫЛКИ СОЗДАНИЯ ИЗОБРЕТЕНИЯ

1. Область техники, к которой относится изобретение

Настоящее изобретение относится к системе кондиционирования воздуха.

2. Описание предшествующего уровня техники

Традиционно в системе кондиционирования воздуха, оснащенной датчиком обнаружения человека, усовершенствовалась система кондиционирования воздуха, которая обнаруживает, находится ли человек в комнате, и останавливает функционирование кондиционера, когда в комнате никого нет, тем самым достигая экономии энергии во всем пространстве, в котором необходимо кондиционировать воздух. В системе кондиционирования воздуха, использующей такой датчик обнаружения человека, управление функционированием системы кондиционирования воздуха осуществляется автоматически на основе того, находится ли человек в комнате, тем самым делая систему приятной и эффективной для пользователя.

В системе кондиционирования воздуха, использующей множество охладительных систем, оснащенных традиционным датчиком обнаружения человека, то есть в системе кондиционирования воздуха, которая включает в себя множество охладительных систем, в состав которых входят один внутренний блок и один наружный блок, и задействует эти блоки посредством одного удаленного контроллера, при управлении внутренним блоком посредством обнаружения датчиком обнаружения человека, находится ли человек в комнате или нет, внутренний блок совсем не функционирует, когда в комнате никого нет. Поэтому, когда проходит некоторое время, пока внутренний блок находится в остановленном состоянии, комнатная температура отклоняется от комфортного диапазона температур, и даже когда процесс кондиционирования воздуха возобновляется, когда пользователь возвращается в комнату, требуется некоторое время, пока температура достигнет требуемой температуры.

Кроме того, при управлении внутренним блоком на основе обнаружения посредством традиционного датчика обнаружения человека, находится ли человек в комнате или нет, если человек почти не перемещается в пространстве, в котором необходимо кондиционировать воздух (пока человек спит, например), внутренний блок переходит в остановленное состояние, и комнатная температура может в значительной степени отклониться от комфортного диапазона температур.

Например, в выложенной патентной заявке Японии № H11-6644 раскрыта система кондиционирования воздуха, в которой для осуществления системы кондиционирования воздуха, которая обнаруживает присутствие или отсутствие человека в каждой комнате и автоматически управляет кондиционированием воздуха для удовлетворения как экономии энергии, так и комфортности, охладительный трубопровод 8 подсоединен между наружным теплообменником 14 и внутренним теплообменником 11, и циркуляция хладагента осуществляется посредством компрессора 13. Холодный воздух или теплый воздух от внутреннего теплообменника 11 подается в канал 6 посредством внутренней воздуходувки 12 так, чтобы кондиционированный воздух направлялся в каждую комнату 1, в которой необходимо кондиционировать воздух, чтобы осуществлять кондиционирование воздуха. Блок 15 управления выполняет процесс кондиционирования воздуха согласно расписанию состояний кондиционирования воздуха и принимает сигнал от датчика 16 обнаружения человека и датчика 17 температуры соответственно, чтобы управлять наружным блоком 9, внутренним блоком 5 и блоком 7 внутренней воздуходувки. Когда датчик 16 обнаружения человека обнаруживает присутствие человека в комнате в то время, как кондиционирование воздуха установлено выключенным, блок 15 управления управляет переключением между охлаждением и нагреванием, чтобы достигать комфортной температуры для человека в предпочтении к расписанию состояний кондиционирования воздуха. С другой стороны, когда датчик 16 обнаружения человека обнаруживает отсутствие человека в комнате в то время, как кондиционирование воздуха установлено включенным, блок 15 управления управляет переключением так, чтобы выполнялось функционирование с малой нагрузкой.

Однако согласно традиционной методике, описанной выше, когда результат обнаружения датчика обнаружения человека в выключенном состоянии системы кондиционирования воздуха указывает, что человек находится в комнате, то происходит включение системы кондиционирования воздуха, а когда результат обнаружения датчика обнаружения человека во включенном состоянии указывает, что в комнате никого нет, то система кондиционирования воздуха осуществляет функционирование с малой нагрузкой. Поэтому датчик обнаружения человека должен сохранять включенное состояние, даже когда система кондиционирования воздуха находится в выключенном состоянии, тем самым требуя энергии на ожидание. Дополнительно, поскольку при осуществлении управления уделяется первостепенное значение результату обнаружения датчика обнаружения человека даже в выключенном состоянии системы кондиционирования воздуха, система кондиционирования воздуха функционирует против намерения пользователя в случае, в котором возникает перебой в датчике обнаружения человека и т.п., тем самым снижая удобство.

Настоящее изобретение было разработано ввиду вышеизложенной проблемы, и задача настоящего изобретения состоит в предоставлении системы кондиционирования воздуха, которая включает в себя множество охладительных систем и функционирует согласно результату обнаружения датчика обнаружения человека и которая уделяет первостепенное значение намерению пользователя, понижая при этом потребление энергии на ожидание.

Сущность изобретения

Задача настоящего изобретения состоит в по меньшей мере частичном решении проблем традиционной технологии.

Чтобы решить вышеупомянутые проблемы и достигнуть данной задачи, система кондиционирования воздуха согласно одному аспекту настоящего изобретения включает в себя множество охладительных систем, соответственно включающих в себя один внутренний блок, соединенный с одним наружным блоком посредством охладительного трубопровода, и управляет множеством охладительных систем посредством одного удаленного контроллера. Внутренний блок включает в себя датчик обнаружения человека, источник питания которого функционирует одновременно с внутренним блоком, и когда система кондиционирования воздуха находится во включенном состоянии, и информация обнаружения датчика обнаружения человека указывает отсутствие, то внутренний блок передает сигнал об отсутствии в удаленный контроллер, удаленный контроллер, который принял сигнал об отсутствии, передает сигнал периода выключения при отсутствии, включающий в себя информацию управления в период выключения при отсутствии, установленную заранее, внутреннему блоку, и управление внутренним блоком, который принял сигнал периода выключения при отсутствии, осуществляется согласно информации управления в период выключения при отсутствии.

Вышеупомянутые и другие задачи, признаки, преимущества и техническое и промышленное значение данного изобретение станут понятны лучше при прочтении последующего подробного описания предпочтительных в настоящий момент вариантов осуществления изобретения при совместном рассмотрении с сопроводительными чертежами.

Краткое описание чертежей

На Фиг. 1 изображена конфигурация системы кондиционирования воздуха согласно одному варианту осуществления настоящего изобретения;

на Фиг. 2A-2C изображен экран установки управления удаленного контроллера для объяснения способа установки температуры в течение периода выключения вследствие отсутствия (в дальнейшем может упоминаться просто в качестве «периода выключения при отсутствии») с использованием датчика обнаружения человека согласно упомянутому варианту осуществления;

Фиг. 3 является пояснительной схемой передачи и приема сигналов между удаленным контроллером и внутренним блоком в течение функционирования системы кондиционирования воздуха согласно упомянутому варианту осуществления;

на Фиг. 4 изображен переход температуры пространства, в котором необходимо кондиционировать воздух, в пространство, в котором применяется система кондиционирования воздуха согласно упомянутому варианту осуществления;

на Фиг. 5A-5C изображен удаленный контроллер при установке времени продолжительности управления поддержанием температуры пространства в течение периода выключения при отсутствии в системе кондиционирования воздуха согласно упомянутому варианту осуществления; и

Фиг. 6 является блок-схемой последовательности операций, изображающей процедуру управления поддержанием температуры пространства в течение периода выключения при отсутствии в системе кондиционирования воздуха согласно упомянутому варианту осуществления.

Подробное описание предпочтительных вариантов осуществления

Ниже подробно со ссылкой на сопроводительные чертежи будут объяснены примерные варианты осуществления системы кондиционирования воздуха согласно настоящему изобретению. Настоящее изобретение не ограничивается данными вариантами осуществления.

Вариант осуществления

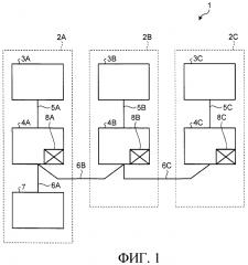
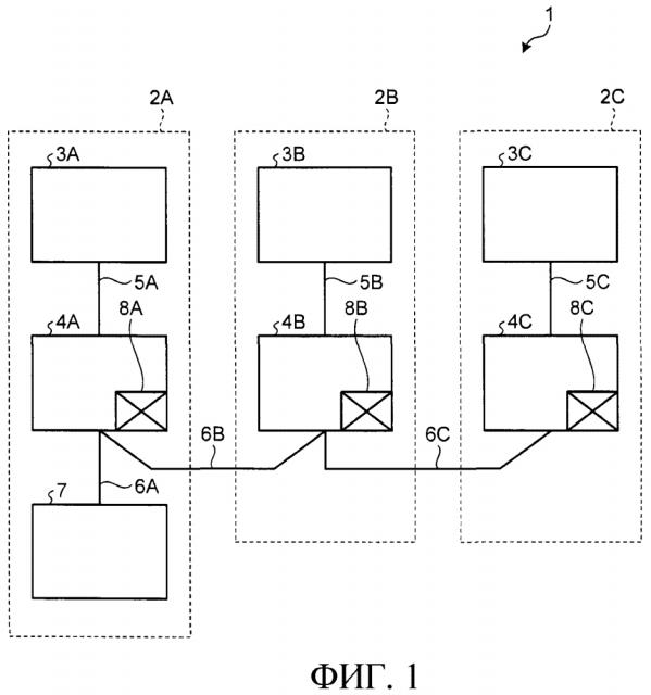
На Фиг. 1 изображена конфигурация системы кондиционирования воздуха согласно одному варианту осуществления настоящего изобретения. Система 1 кондиционирования воздуха, изображенная на Фиг. 1, включает в себя множество охладительных систем 2A, 2B и 2C. В охладительной системе 2A наружный блок 3A и внутренний блок 4A соединены друг с другом посредством линии 5A связи. В охладительной системе 2B наружный блок 3B и внутренний блок 4B соединены друг с другом посредством линии 5B связи, а в охладительной системе 2C наружный блок 3C и внутренний блок 4C соединены друг с другом посредством линии 5C связи.

В настоящем описании к охладительной системе относится система, в состав которой входит один внутренний блок и один наружный блок, соединенные друг с другом посредством охладительного трубопровода в качестве одной установки. Система кондиционирования воздуха согласно настоящему изобретению включает в себя множество таких охладительных систем, и предполагается, что охладительный трубопровод в каждой из охладительных систем является независимым. То есть наружный блок 3A и внутренний блок 4A соединены друг с другом посредством охладительного трубопровода, наружный блок 3B и внутренний блок 4B соединены друг с другом посредством охладительного трубопровода, и наружный блок 3C и внутренний блок 4C соединены друг с другом посредством охладительного трубопровода, при этом каждый из охладительных трубопроводов является независимым от других охладительных трубопроводов.

Удаленный контроллер 7 соединен с внутренним блоком 4A посредством линии 6A связи. Внутренний блок 4A и внутренний блок 4B соединены друг с другом посредством линии 6B связи, и внутренний блок 4B и внутренний блок 4C соединены друг с другом посредством линии 6C связи. Дополнительно, датчик 8A обнаружения человека установлен на внутреннем блоке 4A, датчик 8B обнаружения человека установлен на внутреннем блоке 4B, и датчик 8C обнаружения человека установлен на внутреннем блоке 4C. В данном случае предполагается, что внутренний блок 4A представляет собой внутренний блок в системе 1 кондиционирования воздуха. Информация управления, включающая в себя информацию обнаружения от датчиков 8A-8C обнаружения человека, передается во внутренние блоки 4A-4C и удаленный контроллер 7 через линии 6A-6C связи. Несмотря на то, что не изображено, внутренние блоки 4A-4C снабжены датчиком температуры.

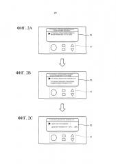
Далее объясняется функционирование системы 1 кондиционирования воздуха. На Фиг. 2A-2C изображен экран установки управления удаленного контроллера 7 для объяснения способа установки температуры в течение периода выключения при отсутствии с использованием датчика обнаружения человека согласно упомянутому варианту осуществления настоящего изобретения. На Фиг. 2 изображен удаленный контроллер 7, включающий в себя экран 10 удаленного контроллера и панель 11 управления. Однако панель 11 управления может отсутствовать, а экран 10 удаленного контроллера может быть сенсорной панелью.

На Фиг. 2A-2C пользователь выбирает «установку управления в период выключения при отсутствии» на экране «установки управления датчиком обнаружения человека» (Фиг. 2A), выбирает «установку диапазона температур» на экране установки управления в период выключения при отсутствии (Фиг. 2B), выбирает «адрес для охлаждения 3» на экране установки диапазона температур и устанавливает диапазон температур по адресу «3» для охлаждения в 15-28°C (Фиг. 2C). Установленная информация сохраняется в запоминающем устройстве в удаленном контроллере 7. Адрес для охлаждения назначается каждой из охладительных систем 2A-2C, причем адрес для охлаждения охладительной системы 2A: «1», адрес для охлаждения охладительной системы 2B: «2» и адрес для охлаждения охладительной системы 2C: «3».

Фиг. 3 является пояснительной схемой передачи и приема сигналов между удаленным контроллером и внутренним блоком в течение функционирования системы 1 кондиционирования воздуха согласно настоящему варианту осуществления. На Фиг. 3 пользователь присутствует в пространстве, в котором необходимо кондиционировать воздух, охладительной системы 2A, пользователь присутствует в пространстве, в котором необходимо кондиционировать воздух, охладительной системы 2B, и никакой пользователь не присутствует в пространстве, в котором необходимо кондиционировать воздух, охладительной системы 2C. В это время «сигнал о присутствии» передается от внутренних блоков 4A и 4B в удаленный контроллер 7 согласно результатам обнаружения датчиков 8A и 8B обнаружения человека, и сигнал об «отсутствии» передается от внутреннего блока 4C в удаленный контроллер 7 согласно результату обнаружения датчика 8C обнаружения человека. Сигнал «периода выключения при отсутствии» передается от удаленного контроллера 7 во внутренний блок 4C для осуществления управления в период выключения при отсутствии.

Сигнал «периода выключения при отсутствии» относится к сигналу, переданному от удаленного контроллера 7 во внутренние блоки 4A-4C на основе информации о температуре кондиционирования воздуха (информации о температуре пространства, в котором необходимо кондиционировать воздух, и информации, указывающей, находится ли человек в комнате в результате обнаружения посредством датчика обнаружения человека), переданной от внутренних блоков 4A-4C, и является сигналом управления, переданным для поддержания состояния «выключения при отсутствии», когда температура пространства, в котором необходимо кондиционировать воздух, находится в пределах диапазона температур, установленного на Фиг. 2C, и переданным для выполнения процесса кондиционирования воздуха, когда температура пространства, в котором необходимо кондиционировать воздух, не находится в пределах диапазона температур, установленного на Фиг. 2C. То есть сигнал включает в себя «информацию управления в период выключения при отсутствии».

В качестве примера датчиков 8A-8C обнаружения человека может быть приведен датчик инфракрасного излучения. Альтернативно, могут совместно использоваться датчик инфракрасного излучения и ультразвуковой датчик. Датчикам 8A-8C обнаружения человека необходимо лишь иметь конфигурацию, при которой они смогут решать, что в комнате никто не находится, когда присутствие пользователя не может быть обнаружено, например, в течение заданного периода (например, в течение пяти минут).

В системе кондиционирования воздуха согласно настоящему варианту осуществления управление осуществляется так, что температура пространства, в котором необходимо кондиционировать воздух, не отклоняется от установленного диапазона температур. На Фиг. 4 изображен переход температуры пространства, в котором необходимо кондиционировать воздух, в пространство, в котором применяется система кондиционирования воздуха согласно настоящему варианту осуществления. По такому принципу, когда температура пространства, в котором необходимо кондиционировать воздух, достигла нижнего предела установленного диапазона температур, то управление следует осуществлять только для того, чтобы поддерживать данную температуру, а когда температура пространства, в котором необходимо кондиционировать воздух, достигла верхнего предела данного установленного диапазона температур, то управление следует осуществлять только для того, чтобы поддерживать данную температуру. Альтернативно, управление температурой пространства, в котором необходимо кондиционировать воздух, может быть запущено непосредственно перед тем, как температура пространства, в котором необходимо кондиционировать воздух, выйдет за пределы диапазона температур, посредством обнаружения того, что происходит снижение температуры пространства, в котором необходимо кондиционировать воздух, и предсказания того, что температура упадет ниже диапазона температур, или посредством обнаружения того, что происходит повышение температуры пространства, в котором необходимо кондиционировать воздух, и предсказания того, что температура превысит диапазон температур.

То есть управление внутренним блоком может осуществляться так, что, когда температура, обнаруженная внутренним блоком, находится в нижнем пределе установленного диапазона температур, поддерживается температура нижнего предела диапазона температур, а когда температура, обнаруженная внутренним блоком, находится в верхнем пределе установленного диапазона температур, поддерживается температура верхнего предела диапазона температур.

Альтернативно управление внутренним блоком может осуществляться так, что процесс нагревания запускается непосредственно перед тем, как температура, обнаруживаемая внутренним блоком, снизится и упадет ниже установленного диапазона температур, чтобы поддерживать температуру нижнего предела установленного диапазона температур, и что процесс охлаждения запускается непосредственно перед чем, как температура, обнаруживаемая внутренним блоком, поднимется и превысит установленный диапазон температур, чтобы поддерживать температуру верхнего предела установленного диапазона температур.

Посредством управления функционированием, как описано выше, температура пространства, в котором необходимо кондиционировать воздух, попадает в пределы установленного диапазона температур. Однако настоящее изобретение не ограничивается этим, и управление внутренним блоком может быть запущено после того, как он обнаружит, что температура пространства, в котором необходимо кондиционировать воздух, вышла за пределы установленного диапазона температур. То есть управление внутренним блоком может осуществляться так, что, когда температура, обнаруженная внутренним блоком, упала ниже диапазона температур, запускается процесс нагревания для поддержания температуры нижнего предела диапазона температур, а когда температура, обнаруженная внутренним блоком, превысила диапазон температур, запускается процесс охлаждения для поддержания температуры верхнего предела диапазона температур.

Посредством управления системой 1 кондиционирования воздуха по такому принципу в течение периода отсутствия может быть предотвращено отклонение температуры пространства, в котором необходимо кондиционировать воздух, от температуры в течение функционирования системы 1 кондиционирования воздуха, уменьшая при этом потребление энергии.

На Фиг. 5A-5C изображен удаленный контроллер 7 при установке времени продолжительности управления поддержания температуры пространства в течение периода выключения при отсутствии в системе кондиционирования воздуха согласно настоящему варианту осуществления.

На Фиг. 5A-5C изображены экраны при выборе «установки управления в период выключения при отсутствии» на экране установки управления датчиком обнаружения человека (Фиг. 5A), при выборе «установки времени управления поддержанием температуры» на экране установки управления в период выключения при отсутствии (Фиг. 5B) и при выборе адреса «3» для охлаждения на экране установки времени управления поддержанием температуры и установки времени продолжительности управления по адресу «3» для охлаждения (Фиг. 5C). Посредством установки времени управления поддержанием температуры по такому принципу управление осуществляется так, что температура в пространстве, в котором необходимо кондиционировать воздух, поддерживается в пределах установленного диапазона температур до установленного времени, и кондиционирование воздуха выключается после того, как установленное время прошло. Когда время продолжительности не установлено, то такая установка может использоваться для того, чтобы управление поддержанием температуры пространства продолжалось без какого-либо ограничения по времени.

Фиг. 6 является блок-схемой последовательности операций, изображающей процедуру управления поддержанием температуры пространства в течение периода выключения при отсутствии в системе кондиционирования воздуха согласно настоящему варианту осуществления. В данном случае объясняется охладительная система 2C. В течение периода выключения при отсутствии запускается данный процесс (этап S11), в котором производится определение, происходит ли пребывание в пределах установленного времени продолжительности управления в период выключения при отсутствии, посредством удаленного контроллера 7 (этап S12).

В результате определения на этапе Sl2, когда текущее время находится за пределами времени продолжительности управления в период выключения при отсутствии, установленного удаленным контроллером 7 (когда результат определения на этапе S12 представляет собой НЕТ), то удаленный контроллер 7 передает сигнал выключения во внутренний блок 4C (этап S16)

В результате определения на этапе Sl2, когда текущее время находится в пределах времени продолжительности управления в период выключения при отсутствии, установленного удаленным контроллером 7 (когда результат определения на этапе S12 представляет собой ДА), то температура пространства, обнаруженная внутренним блоком 4C, передается в удаленный контроллер 7 для определения, находится ли температура в пределах установленного диапазона температур при установке управления в период выключения при отсутствии, посредством удаленного контроллера 7 (этап S13)

В результате определения на этапе Sl3, когда температура пространства, обнаруженная внутренним блоком 4C, не находится в пределах диапазона температур, установленного при установке управления в период выключения при отсутствии, установленной удаленным контроллером 7 (когда результат определения на этапе S13 представляет собой НЕТ), то удаленный контроллер 7 передает сигнал включения (сигнал приведения в действие) во внутренний блок 4C так, чтобы температура пространства, обнаруживаемая внутренним блоком 4C, попадала в пределы диапазона температур (этап Sl5). Процесс управления возвращается на этап S12, на котором удаленный контроллер 7 снова определяет, находится ли текущее время в пределах установленного времени продолжительности управления в период выключения при отсутствии (этап S12).

В результате определения на этапе S13, когда температура пространства, обнаруживаемая внутренним блоком 4C, находится в пределах диапазона температур, установленного при установке управления в период выключения при отсутствии, установленной удаленным контроллером 7 (когда результат определения на этапе Sl3 представляет собой ДА), то удаленный контроллер 7 передает сигнал выключения при отсутствии во внутренний блок 4C (этап S14). Процесс управления возвращается на этап S12, на котором удаленный контроллер 7 снова определяет, находится ли текущее время в пределах установленного времени продолжительности управления в период выключения при отсутствии (этап S12). Управление внутренним блоком 4C, в который передается сигнал выключении при отсутствии, осуществляется так, чтобы температура находилась в пределах установленного диапазона температур, как показано на Фиг. 4.

Как объяснено выше, согласно настоящему варианту осуществления, в системе кондиционирования воздуха, включающей в себя множество охладительных систем, даже если внутренний блок находится в периоде выключения при отсутствии, температура пространства поддерживается датчиком обнаружения человека комфортной в каждой охладительной системе.

Дополнительно, согласно настоящему варианту осуществления, может быть получена система кондиционирования воздуха, которая уделяет первостепенное значение намерению пользователя, понижая при этом потребление энергии на ожидание, как описано ниже.

В Таблице 1 изображено функционирование системы кондиционирования воздуха в соответствии с установкой кондиционирования воздуха и информацией обнаружения от датчика обнаружения человека.

Таблица 1
Датчик обнаружениячеловекаУстановкакондиционированиявоздуха Присутствует Отсутствует
Включено Процесс кондиционирования воздуха Управление в период выключения при отсутствии
Выключено Выключено

Как показано в Таблице 1, когда датчик обнаружения человека обнаружил, что пользователь присутствует в области, в которой необходимо кондиционировать воздух, в состоянии, при котором система кондиционирования воздуха включена, то система кондиционирования воздуха выполняет процесс кондиционирования воздуха в соответствии с функционированием удаленного контроллера. Когда датчик обнаружения человека обнаружил, что пользователь отсутствует в области, в которой необходимо кондиционировать воздух (то есть когда датчик обнаружения человека не обнаруживает присутствие пользователя в области, в которой необходимо кондиционировать воздух) в состоянии, при котором система кондиционирования воздуха включена, как описано выше, то система кондиционирования воздуха выполняет процесс кондиционирования воздуха согласно управлению в период выключения при отсутствии, установленному заранее. В состоянии, при котором система кондиционирования воздуха выключена, так как датчик обнаружения человека также выключен, выключенное состояние поддерживается независимо от информации обнаружения от датчика обнаружения человека. В данном примере функционирование в течение периода выключения при отсутствии является функционированием с пониженным потреблением энергии, которое осуществляется с малой нагрузкой для того, чтобы поддерживать установленный диапазон температур, как объяснено выше со ссылкой на Фиг. 4.

В традиционной системе кондиционирования воздуха функционирование с малой нагрузкой выполняется во включенном состоянии, а также когда пользователь отсутствует, и процесс кондиционирования воздуха выполняется при одной и той же установке, даже когда пользователь присутствует в комнате, независимо от того, включена или выключена система кондиционирования воздуха. В такой системе кондиционирования воздуха, даже когда внутренний блок находится в выключенном состоянии, датчик обнаружения человека сохраняет включенное состояние, и поэтому трудно понизить потребление энергии на ожидание. Дополнительно в такой системе кондиционирования воздуха управление осуществляется с уделением первостепенного значения результату обнаружения датчика обнаружения человека, даже когда система кондиционирования воздуха находится в выключенном состоянии. Поэтому, когда в датчике обнаружения человека происходит перебой, система кондиционирования воздуха осуществляет функционирование против намерения пользователя, который установил систему кондиционирования воздуха в выключенное состояние, тем самым снижая удобство.

Как объяснено выше, система кондиционирования воздуха согласно настоящему варианту осуществления включает в себя множество охладительных систем, соответственно включающих в себя один внутренний блок, соединенный с одним наружным блоком посредством охладительного трубопровода, и управляет множеством охладительных систем посредством одного удаленного контроллера, при этом внутренний блок включает в себя датчик обнаружения человека, источник питания которого функционирует одновременно с внутренним блоком, и когда система кондиционирования воздуха находится во включенном состоянии, и информация обнаружения датчика обнаружения человека указывает отсутствие, то внутренний блок передает сигнал об отсутствии в удаленный контроллер, при этом удаленный контроллер, который принял сигнал об отсутствии, передает сигнал периода выключения при отсутствии, включающий в себя информацию управления в период выключения при отсутствии, установленную заранее для внутреннего блока, и управление внутренним блоком, который принял сигнал периода выключения при отсутствии, осуществляется согласно информации управления в период выключения при отсутствии. Соответственно, может быть получена система кондиционирования воздуха, которая уделяет первостепенное значение намерению пользователя, понижая при этом потребление энергии на ожидание. Относительно датчика обнаружения человека, источник питания которого функционирует одновременно с внутренним блоком, следует отметить, что когда внутренний блок включен, то датчик обнаружения человека также включен, а когда внутренний блок выключен, то датчик обнаружения человека также выключен.

Согласно настоящему варианту осуществления, даже когда человек почти не перемещается в пространстве, в котором необходимо кондиционировать воздух (пока человек спит, например), посредством поддержания системы кондиционирования воздуха во включенном состоянии, даже когда датчик обнаружения человека обнаруживает отсутствие, температура в пространстве, в котором необходимо кондиционировать воздух, может поддерживаться в пределах установленного диапазона температур.

Кроме того, как описано в представленном варианте осуществления, когда каждая из множества охладительных систем является независимой от других, на охладительную систему не влияет функционирование других охладительных систем, и управление каждой из охладительных систем может осуществляться независимым образом.

Согласно настоящему изобретению может быть получена система кондиционирования воздуха, которая включает в себя множество охладительных систем и функционирует на основе результата обнаружения датчика обнаружения человека и которая уделяет первостепенное значение намерению пользователя, понижая при этом потребление энергии на ожидание.

Несмотря на то, что изобретение было описано относительно конкретных вариантов осуществления для полного и ясного раскрытия, прилагаемая формула изобретения не должна ограничиваться ими, а напротив должна рассматриваться в качестве воплощающей все модификации и альтернативные исполнения, которые могут прийти на ум специалисту в данной области техники и которые должным образом попадают в объем основной идеи, сформулированной в данном документе.

1. Система кондиционирования воздуха, которая содержит множество охладительных систем, соответственно включающих в себя один внутренний блок, соединенный с одним наружным блоком посредством охладительного трубопровода, и управляет множеством охладительных систем посредством одного удаленного контроллера, при этомвнутренний блок включает в себя датчик обнаружения человека, источник питания которого функционирует одновременно с внутренним блоком, и когда система кондиционирования воздуха находится во включенном состоянии и информация обнаружения датчика обнаружения человека указывает отсутствие, то внутренний блок передает сигнал об отсутствии в удаленный контроллер,удаленный контроллер, который принял сигнал об отсутствии, передает сигнал периода выключения при отсутствии, включающий в себя информацию управления в период выключения при отсутствии, установленную заранее, внутреннему блоку, иосуществляется управление внутренним блоком, который принял сигнал периода выключения при отсутствии, согласно информации управления в период выключения при отсутствии.

2. Система кондиционирования воздуха по п. 1, в которойинформация управления в период выключения при отсутствии включает в себя информацию диапазона температур, установленную заранее, иосуществляется управление системой кондиционирования воздуха так, что, когда температура, обнаруженная внутренним блоком, находится в нижнем пределе диапазона температур, то поддерживается температура нижнего предела диапазона температур, а когда температура, обнаруженная внутренним блоком, находится в верхнем пределе диапазона температур, то поддерживается температура верхнего предела диапазона температур.

3. Система кондиционирования воздуха по п. 1, в которойинформация управления в период выключения при отсутствии включает в себя информацию диапазона температур, установленную заранее, ипроцесс нагревания запускается непосредственно перед тем, как температура, обнаруженная внутренним блоком, снизится и упадет ниже диапазона температур, для того чтобы поддерживать температуру нижнего предела диапазона температур, ипроцесс охлаждения запускается непосредственно перед тем, как температура, обнаруженная внутренним блоком, поднимется и превысит диапазон температур, для того чтобы поддерживать температуру верхнего предела диапазона температур.

4. Система кондиционирования воздуха по п. 1, в которойинформация управления в период выключения при отсутствии включает в себя информацию диапазона температур, установленную заранее, ипроцесс нагревания запускается, когда температура, обнаруженная внутренним блоком, падает ниже диапазона температур, для того чтобы поддерживать температуру нижнего предела диапазона температур, ипроцесс охлаждения запускается, когда температура, обнаруженная внутренним блоком, превышает диапазон температур, для того чтобы поддерживать температуру верхнего предела диапазона температур.

5. Система кондиционирования воздуха по любому из пп. 1-4, в которойинформация управления в период выключения при отсутствии включает в себя время продолжительности управления в период выключения при отсутствии, которое является периодом, в течение которого выполняется функционирование согласно управлению в период выключения при отсутствии, иосуществляется управление внутренним блоком согласно информации управления в период выключения при отсутствии в пределах времени продолжительности управления в период выключения при отсутствии, и после того, как время продолжительности управления в период выключения при отсутствии прошло, внутренний блок выключается.