Устройство кодирования изображений, устройство декодирования изображений, способ кодирования изображений и способ декодирования изображений

Иллюстрации

Показать все

Изобретение относится к вычислительной технике. Технический результат заключается в повышении качества изображения за счет уменьшения локально возникающих ошибок предсказания. Устройство кодирования изображений содержит модуль внутреннего предсказания для выполнения процедуры внутрикадрового предсказания для каждого блока, представляющего собой единичный элемент для предсказания блока кодирования, чтобы генерировать изображение с предсказанием, когда режимом кодирования, соответствующим одному из блоков кодирования, на которые разделено введенное изображение, является режим внутреннего кодирования, при этом выполняя предсказание с усреднением, модуль внутреннего предсказания выполняет процедуру фильтрации на целевом пикселе внутреннего предсказания, расположенном на верхнем краю или на левом краю блока, который является единичным элементом для предсказания блока кодирования, причем процедура фильтрации использует промежуточное значение предсказания, которое является средним значением смежных пикселей блока и по меньшей мере один смежный пиксель целевого пикселя. 3 н.п. ф-лы, 21 ил.

Реферат

ОБЛАСТЬ ТЕХНИКИ, К КОТОРОЙ ОТНОСИТСЯ ИЗОБРЕТЕНИЕ

Настоящее изобретение относится к устройству кодирования изображений и к способу кодирования изображений для кодирования изображения с высокой степенью эффективности, и к устройству декодирования изображений и к способу декодирования изображений для декодирования закодированного изображения с высокой степенью эффективности.

УРОВЕНЬ ТЕХНИКИ, К КОТОРОМУ ОТНОСИТСЯ ИЗОБРЕТЕНИЕ

Например, в соответствии со способом кодирования видеоинформации согласно международному стандарту, таким как, например, MPEG (Экспертной группы по вопросам движущихся изображений) или "ITU-T H.26x", введенный видеокадр разделяют на прямоугольные блоки (целевые блоки кодирования), для каждого целевого блока кодирования выполняют процедуру предсказания с использованием уже закодированного сигнала изображения для генерации изображения с предсказанием и выполняют процедуру ортогонального преобразования и квантования сигнала ошибки предсказания, представляющего собой разность между целевым блоком кодирования и изображением с предсказанием в единицах блоков для выполнения сжатия информации во введенном видеокадре.

Например, в случае стандарта MPEG-4 AVC/H.264 (стандарта ISO/IEC 14496-10|ITU-T H.264, разработанного Международной организацией по стандартизации (ISO)/Международной электротехнической комиссии (IEC)), который представляет собой способ согласно международному стандарту, выполняют процедуру внутреннего предсказания по уже закодированным соседним пикселям или процедуру предсказания с компенсацией движения между соседними кадрами (например, отнеситесь к ссылке на непатентный документ 1). В случае стандарта MPEG 4 AVC/H.264 в режиме внутреннего предсказания яркости может быть выбран один режим предсказания из множества режимов предсказания для каждого блока. Фиг. 10 представляет собой пояснительный чертеж, на котором показаны режимы внутреннего предсказания яркости в случае размера блока пикселей, равного 4×4. На Фиг. 10 каждым белым кругом показан пиксель в блоке кодирования, а каждым черным кругом показан пиксель, используемый для предсказания и существующий в уже закодированном соседнем блоке.

В примере, показанном на Фиг. 10, в качестве режимов внутреннего предсказания подготовлены девять режимов от 0 до 8, и режим 2 представляет собой режим, в котором выполняют предсказание с усреднением таким образом, что каждый пиксель в целевом блоке кодирования предсказывают с использованием среднего значения соседних пикселей, существующих в верхнем и левом блоках. Режимы, являющиеся иными, чем режим 2, представляют собой режимы внутреннего предсказания, в каждом из которых выполняют предсказание по направлению. Режим 0 представляет собой режим, в котором выполняют предсказание по вертикали таким образом, что соседние пиксели в верхнем блоке многократно дублируют для создания множества строк пикселей в вертикальном направлении для генерации изображения с предсказанием. Например, режим 0 выбирают тогда, когда целевой блок кодирования представляет собой изображение с вертикальными полосами. Режим 1 представляет собой режим, в котором выполняют предсказание по горизонтали таким образом, что соседние пиксели в левом блоке многократно дублируют для создания множества столбцов пикселей в горизонтальном направлении для генерации изображения с предсказанием. Например, режим 1 выбирают тогда, когда целевой блок кодирования представляет собой изображение с горизонтальными полосами. В каждом из режимов 3 - 8 пиксели интерполяции, идущие в заданном направлении (то есть в направлении, показанном стрелками), генерируют с использованием соседних пикселей в верхнем блоке или в левом блоке для генерации изображения с предсказанием.

В этом случае размер блока для яркости, для которой применяют внутреннее предсказание, может быть выбран из 4×4 пикселей, 8×8 пикселей и 16×16 пикселей. В случае 8×8 пикселей заданы девять режимов внутреннего предсказания, как и в случае 4×4 пикселей. В отличие от этого, в случае 16×16 пикселей в дополнение к режимам внутреннего предсказания, соответствующим предсказанию с усреднением, предсказанию по вертикали и предсказанию по горизонтали, заданы еще четыре режима внутреннего предсказания, которые именуют предсказаниями по плоскости. Каждое внутреннее предсказание, связанное с предсказанием по плоскости, представляет собой режим, в котором в качестве предсказанных значений предоставляют пиксели, созданные путем выполнения интерполяции соседних пикселей в диагональном направлении в верхнем блоке и в левом блоке.

В режиме внутреннего предсказания, в котором выполняют предсказание по направлению, поскольку заданный режим генерирует предсказанные значения вдоль направления, например, в направлении 45 градусов, эффективность предсказания повышается, и объем кода может быть уменьшен, когда направление границы (края) объекта в блоке совпадает с направлением, указанным режимом предсказания. Однако может происходить небольшое смещение между направлением границы и направлением, указанным режимом предсказания, и даже если направление границы в целевом блоке кодирования не совпадает с направлением, указанным режимом предсказания, то может иметь место большая локальная ошибка предсказания по той простой причине, что граница является немного искривленной (осциллирующей, изогнутой и т.п.). В результате, эффективность предсказания может чрезвычайно сильно снизиться. Для предотвращения такого снижения эффективности предсказания при выполнении предсказания по направлению для блока 8×8 пикселей выполняют процедуру предсказания для генерации сглаженного изображения с предсказанием с использованием уже закодированных соседних пикселей, для которых была выполнена процедура сглаживания, посредством чего уменьшают любое небольшое смещение в направлении предсказания и ошибки предсказания, возникающие тогда, когда на границе имеет место небольшое искажение.

ДОКУМЕНТ ИЗ ИЗВЕСТНОГО УРОВНЯ ТЕХНИКИ

ССЫЛКА НА НЕПАТЕНТНЫЙ ДОКУМЕНТ

Ссылка 1 на непатентный документ: стандарты MPEG-4 AVC (ISO/IEC 14496-10)/ITU-T H.264

СУЩНОСТЬ ИЗОБРЕТЕНИЯ

ЗАДАЧИ, РЕШАЕМЫЕ ИЗОБРЕТЕНИЕМ

Поскольку обычное устройство кодирования изображения сконструировано так, как описано выше, то генерация сглаженного изображения с предсказанием может уменьшить ошибки предсказания, возникающие даже в том случае, если имеет место небольшое смещение в направлении предсказания или имеет место небольшое искажение на границе. Однако, согласно способу, раскрытому в ссылке на непатентный документ 1, процедуру сглаживания не выполняют для блоков иного размера, чем блоки размером 8×8 пикселей, и даже для блоков размером 8×8 пикселей выполняют только одну возможную процедуру сглаживания. Проблема состоит в том, что также в блоке, имеющем иной размер, чем 8×8 пикселей, фактически возникает большая локальная ошибка предсказания вследствие небольшого несоответствия на границе даже в том случае, когда изображение с предсказанием имеет структуру, аналогичную структуре изображения, подлежащего кодированию, и, следовательно, происходит сильное ухудшение эффективности предсказания. Другая проблема состоит в том, что когда параметр квантования, используемый при квантовании сигнала ошибки предсказания, положение каждого пикселя в блоке, режим предсказания и т.п. являются различными между блоками, имеющими одинаковый размер, то процедура, пригодная для уменьшения локальных ошибок предсказания, является различной между блоками, но подготовлен только один возможный способ сглаживания, и, следовательно, ошибки предсказания не могут быть уменьшены в достаточной степени. Кроме того, проблема состоит в том, что при выполнении предсказания с усреднением сигнал предсказания для пикселя, расположенного на границе блока, легко становится имеющим разрыв относительно сигналов предсказания для соседних закодированных пикселей, поскольку среднее значение пикселей, соседних с блоком, задано как каждое из всех предсказанных значений в блоке, при этом, поскольку сигнал изображения обычно имеет высокую пространственную корреляцию, то вследствие вышеупомянутого разрыва легко возникает ошибка предсказания на границе блока.

Настоящее изобретение создано для решения вышеупомянутых проблем, и, следовательно, задачей настоящего изобретения является создание устройства кодирования изображений, устройства декодирования изображений, способа кодирования изображений и способа декодирования изображений, способных уменьшать ошибки предсказания, возникающие локально, в силу чего они способны улучшать качество изображения.

СРЕДСТВА РЕШЕНИЯ ЗАДАЧИ

Согласно настоящему изобретению, в нем предложено устройство кодирования изображений, в котором при выполнении процедуры внутрикадрового предсказания для генерации изображения с предсказанием с использованием уже закодированного сигнала изображения в кадре модуль внутреннего предсказания выбирает фильтр из одного или более заранее подготовленных фильтров в соответствии с состояниями различных параметров, связанных с кодированием целевого блока, подлежащего фильтрации, выполняет процедуру фильтрации изображения с предсказанием с использованием фильтра и производит вывод изображения с предсказанием, для которого была выполнена процедура фильтрации блоком внутреннего предсказания, в блок генерации разностного изображения.

ПРЕИМУЩЕСТВА ИЗОБРЕТЕНИЯ

Поскольку устройство кодирования изображений согласно настоящему изобретению сконструировано таким образом, что при выполнении процедуры внутрикадрового предсказания для генерации изображения с предсказанием с использованием уже закодированного сигнала изображения в кадре модуль внутреннего предсказания выбирает фильтр из одного или более заранее подготовленных фильтров в соответствии с состояниями различных параметров, связанных с кодированием целевого блока, подлежащего фильтрации, выполняет процедуру фильтрации изображения с предсказанием с использованием фильтра и производит вывод изображения с предсказанием, для которого была выполнена процедура фильтрации блоком внутреннего предсказания, в блок генерации разностного изображения, то обеспечено преимущество, заключающееся в том, что оно способно уменьшать ошибки предсказания, возникающие локально, в силу чего оно способно улучшать качество изображения.

КРАТКОЕ ОПИСАНИЕ ЧЕРТЕЖЕЙ

На Фиг. 1 изображена блок-схема, на которой показано устройство кодирования движущихся изображений согласно первому варианту осуществления настоящего изобретения;

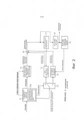
на Фиг. 2 изображена блок-схема, на которой показано устройство декодирования движущихся изображений согласно первому варианту осуществления настоящего изобретения;

на Фиг. 3 изображена схема последовательности операций, на которой показана обработка, выполняемая устройством кодирования движущихся изображений согласно первому варианту осуществления настоящего изобретения;

на Фиг. 4 изображена схема последовательности операций, на которой показана обработка, выполняемая устройством декодирования движущихся изображений согласно первому варианту осуществления настоящего изобретения;

на Фиг. 5 изображен пояснительный чертеж, на котором показано состояние, в котором каждый блок кодирования, имеющий максимальный размер, иерархически разделяют на множество блоков кодирования;

на Фиг. 6(a) изображен пояснительный чертеж, на котором показано распределение разделов, на которые разделяют кодируемый блок, а на Фиг. 6(b) изображен пояснительный чертеж, на котором показано состояние, в котором каждому из разделов назначают режим m(Bn) кодирования после выполнения иерархического разделения уровней с использованием графа дерева квадрантов;

на Фиг. 7 изображен пояснительный чертеж, на котором показан пример параметров внутреннего предсказания (режимов внутреннего предсказания), которые могут быть выбраны для каждого раздела Pin в блоке Bn кодирования;

на Фиг. 8 изображен пояснительный чертеж, на котором показан пример пикселей, используемых при генерации предсказанного значения каждого пикселя в разделе Pin в случае lin=min=4;

на Фиг. 9 изображен пояснительный чертеж, на котором показан пример схемы расположения опорных пикселей в случае N=5;

на Фиг. 10 изображен пояснительный чертеж, на котором показаны режимы внутреннего предсказания, описанные в ссылке 1 на непатентный документ в случае размера блока, равного 4×4 пикселя, для яркости;

на Фиг. 11 изображен пояснительный чертеж, на котором показан пример расстояний между уже закодированными пикселями в кадре, используемых при генерации изображения с предсказанием, и каждый целевой пиксель, подлежащий фильтрации;

на Фиг. 12 изображен пояснительный чертеж, на котором показана конкретная схема расположения опорных пикселей, к которым обращается фильтр;

на Фиг. 13 изображен пояснительный чертеж, на котором показан пример таблицы для определения того, какой фильтр следует использовать для каждого сочетания индекса режима внутреннего предсказания и размера раздела;

на Фиг. 14 изображен пояснительный чертеж, на котором показан пример упрощения процедуры фильтрации в том случае, когда выполнено предсказание с усреднением;

на Фиг. 15 изображен пояснительный чертеж, на котором показан пример потока битов, в котором индекс таблицы выбора фильтра добавлен к заголовку уровня последовательности;

на Фиг. 16 изображен пояснительный чертеж, на котором показан пример потока битов, в котором индекс таблицы выбора фильтра добавлен к заголовку уровня изображения;

на Фиг. 17 изображен пояснительный чертеж, на котором показан пример потока битов, в котором индекс таблицы выбора фильтра добавлен к заголовку фрагмента;

на Фиг. 18 изображен пояснительный чертеж, на котором показан пример потока битов, в котором индекс таблицы выбора фильтра добавлен к заголовку опорного блока;

на Фиг. 19 изображен пояснительный чертеж, на котором показан другой пример таблицы, которая отличается от таблицы, показанной на Фиг. 13, для определения того, какой фильтр следует использовать для каждого сочетания индекса режима внутреннего предсказания и размера раздела; и

на Фиг. 20 изображен пояснительный чертеж, на котором показан пример таблицы для определения того, следует ли выполнять процедуру сглаживания опорных пикселей во время генерации промежуточного изображения с предсказанием для каждого сочетания индекса режима внутреннего предсказания и размера раздела или нет.

ВАРИАНТЫ ОСУЩЕСТВЛЕНИЯ ИЗОБРЕТЕНИЯ

Для более подробного объяснения этого изобретения ниже будет приведено описание предпочтительных вариантов осуществления настоящего изобретения со ссылкой на сопроводительные чертежи.

Первый вариант осуществления изобретения

В этом первом варианте осуществления изобретения будет приведено объяснение устройства кодирования движущихся изображений, которое вводит изображение каждого кадра видеоинформации, выполняет процедуру внутреннего предсказания по уже закодированным соседним пикселям или процедуру предсказания с компенсацией движения между соседними кадрами для генерации изображения с предсказанием, выполняет процедуру сжатия согласно ортогональному преобразованию и квантованию сигнала ошибки предсказания, который представляет собой разностное изображение между изображением с предсказанием и изображением кадра, и после этого выполняет кодирование с переменной длиной кода для генерации потока битов, и устройства декодирования движущихся изображений, которое декодирует поток битов, выведенный из устройства кодирования движущихся изображений.

Устройство кодирования движущихся изображений согласно этому первому варианту осуществления изобретения отличается тем, что устройство кодирования движущихся изображений адаптируется к локальному изменению видеосигнала в пространственных и временных направлениях для разделения видеосигнала на области различных размеров и выполняет адаптивное внутрикадровое и межкадровое кодирование. В общем, видеосигнал имеет характеристику его сложности, изменяющуюся локально в пространстве и во времени. Может иметь место случай, в котором картина имеет единообразную характеристику сигнала в относительно большой области изображения, такой как, например, изображение неба или изображение стены, или в определенном видеокадре с точки зрения пространства также сосуществует картина, имеющая текстуру со сложной структурой в небольшой области изображения, такую как, например, изображение человека или изображение, включающее в себя мелкозернистую текстуру. Также, с точки зрения времени, относительно большая область изображения, такая как, например, изображение неба или изображение стены, имеет небольшое локальное изменение направления времени в его структуре, тогда как изображение движущегося человека или объекта имеет более сильное временное изменение, поскольку его очертание представляет собой движение твердого тела и движение нежесткого тела во времени.

Несмотря на то, что в процедуре кодирования выполняют процедуру генерации сигнала ошибки предсказания, имеющего малую мощность сигнала и малую энтропию, с использованием временного и пространственного предсказания, посредством чего уменьшают объем всего кода, объем кода параметров, используемых для предсказания, может быть уменьшен в том случае, если эти параметры могут применяться единообразно к настолько большой области сигнала изображения, насколько это возможно. С другой стороны, поскольку количество ошибок, возникающих при предсказании, увеличивается в случае применения одних и тех же параметров предсказания для структуры сигнала изображения, сильно изменяющейся во времени и в пространстве, то объем кода сигнала ошибки предсказания не может быть уменьшен. Следовательно, при выполнении процедуры предсказания структуры сигнала изображения, сильно изменяющейся во времени и в пространстве, желательно уменьшать размер области, подвергаемой процедуре предсказания, уменьшая тем самым электрическую мощность и энтропию сигнала ошибки предсказания, даже если увеличивается объем данных для параметров, используемых для предсказания. Для выполнения кодирования, адаптированного для таких типичных характеристик видеосигнала, устройство кодирования движущихся изображений согласно этому первому варианту осуществления изобретения иерархически разделяет каждую область, имеющую заданный максимальный размер блока видеосигнала, на блоки и выполняет процедуру предсказания и процедуру кодирования ошибки предсказания для каждого из блоков, на которые разделена каждая область.

Видеосигналом, подлежащим обработке устройством кодирования движущихся изображений согласно этому первому варианту осуществления изобретения, может являться произвольный видеосигнал, в котором каждый видеокадр состоит из последовательности цифровых выборок (пикселей) в двух измерениях, по горизонтали и по вертикали, например, сигнал формата YUV, который состоит из сигнала яркости и двух цветоразностных сигналов, сигнал цветного видеоизображения в произвольном цветовом пространстве, такой как, например, сигнал формата RGB, выведенный из цифрового датчика изображений, сигнал монохромного изображения или сигнал инфракрасного изображения. Каждый пиксель может иметь 8-битовую, 10-битовую или 12-битовую градацию. В приведенном ниже объяснении введенным видеосигналом является сигнал формата YUV, если не указано иное. Кроме того, предполагают, что двумя цветоразностными составляющими U и V являются сигналы в формате 4:2:0, которые являются субдескретизированными относительно составляющей Y сигнала яркости. Подлежащий обработке единичный элемент данных, который соответствует каждому кадру видеосигнала, именуют "изображением видеокадра". В этом первом варианте осуществления изобретения "изображение видеокадра" толкуют как сигнал видеокадра, для которого была выполнена прогрессивная развертка. Когда видеосигналом является чересстрочный сигнал, то в альтернативном варианте "изображением видеокадра" может являться сигнал поля изображения, представляющего собой единичный элемент для построения видеокадра.

На Фиг. 1 изображена блок-схема, на которой показано устройство кодирования движущихся изображений согласно первому варианту осуществления настоящего изобретения. Со ссылкой на Фиг. 1 узел 1 управления кодированием выполняет процедуру определения максимального размера каждого из блоков кодирования, который представляет собой единичный элемент, подлежащий обработке во время выполнения процедуры внутреннего предсказания (процедуры внутрикадрового предсказания) или процедуры предсказания с компенсацией движения (процедуры межкадрового предсказания), а также определения верхнего предела количества иерархических уровней, то есть максимальной глубины иерархии в иерархической структуре, в которой каждый из блоков кодирования, имеющих максимальный размер, иерархически разделяют на блоки. Узел 1 управления кодированием также выполняет процедуру выбора режима кодирования, пригодного для каждого из блоков кодирования, на которые иерархически разделен каждый блок кодирования, имеющий максимальный размер, из одного или из более доступных режимов кодирования (одного или более режимов внутреннего кодирования и одного или более режимов внешнего кодирования). Узел 1 управления кодированием дополнительно выполняет процедуру определения параметра квантования и размера блока преобразования, которые используются при сжатии разностного изображения для каждого блока кодирования, а также определения параметров внутреннего предсказания или параметров внешнего предсказания, используемых при выполнении процедуры предсказания для каждого блока кодирования. Параметр квантования и размер блока преобразования включены в состав параметров кодирования ошибки предсказания, и эти параметры кодирования ошибки предсказания выводят в узел 7 преобразования/квантования, в узел 8 обратного квантования/обратного преобразования, в узел 13 кодирования с переменной длиной кода и т.д. Узел 1 управления кодированием образует модуль управления кодированием.

Когда узел 2 разделения на блоки принимает видеосигнал, указывающий введенное изображение, то он выполняет процедуру разделения введенного изображения, указанного видеосигналом, на блоки кодирования, каждый из которых имеет максимальный размер, определенный узлом 1 управления кодированием, и также иерархически разделяет каждый из блоков кодирования на блоки до тех пор, пока количество иерархических уровней не достигнет верхнего предела количества иерархических уровней, определенного узлом 1 управления кодированием. Узел 2 разделения на блоки образует модуль разделения на блоки. Когда режимом кодирования, выбранным узлом 1 управления кодированием для блока кодирования, который сгенерирован путем разделения узлом 2 разделения на блоки, является режим внутреннего кодирования, то селекторный переключатель 3 выполняет процедуру вывода блока кодирования в узел 4 внутреннего предсказания, а когда режимом кодирования, выбранным узлом 1 управления кодированием для блока кодирования, который сгенерирован путем разделения узлом 2 разделения на блоки, является режим внешнего кодирования, то блок кодирования выводят в узел 5 предсказания с компенсацией движения.

При приеме блока кодирования, который сгенерирован путем разделения узлом 2 разделения на блоки, из селекторного переключателя 3 узел 4 внутреннего предсказания выполняет процедуру внутреннего предсказания блока кодирования для генерации изображения с предсказанием для каждого раздела с использованием уже закодированного сигнала изображения в кадре на основании параметра внутреннего предсказания, выведенного в него из узла 1 управления кодированием. После генерации вышеупомянутого изображения с предсказанием узел 4 внутреннего предсказания выбирает фильтр из одного или более заранее подготовленных фильтров в соответствии с состояниями различных параметров, которые должны быть известны, когда устройство декодирования движущихся изображений генерирует то же самое изображение с предсказанием, что и вышеупомянутое изображение с предсказанием, выполняет процедуру фильтрации вышеупомянутого изображения с предсказанием с использованием фильтра, и производит вывод изображения с предсказанием, для которого узлом внутреннего предсказания была выполнена процедура фильтрации, в узел 6 вычитания и в узел 9 суммирования. Конкретно, узел внутреннего предсказания однозначно определяет фильтр в соответствии с состоянием, по меньшей мере, одного из следующих четырех параметров, которые предусмотрены в качестве вышеупомянутых различных параметров:

• Параметр (1)

Размер блока вышеупомянутого изображения с предсказанием

• Параметр (2)

Параметр квантования, определенный узлом 1 управления кодированием

• Параметр (3)

Расстояние между уже закодированным сигналом изображения в кадре, используемым при генерации изображения с предсказанием, и целевым пикселем, подлежащим фильтрации

• Параметр (4)

Параметр внутреннего предсказания, определенный узлом 1 управления кодированием

Модуль внутреннего предсказания состоит из селекторного переключателя 3 и узла 4 внутреннего предсказания.

Когда узлом 1 управления кодированием выбран режим внешнего кодирования в качестве режима кодирования, пригодного для блока кодирования, сгенерированного путем разделения узлом 2 разделения на блоки, узел 5 предсказания с компенсацией движения выполняет процедуру предсказания с компенсацией движения для блока кодирования для генерации изображения с предсказанием с использованием одного или более кадров опорных изображений, хранящихся в запоминающем устройстве 12 для кадра предсказания с компенсацией движения, на основании параметров внешнего предсказания, выведенных в него из узла 1 управления кодированием. Модуль предсказания с компенсацией движения состоит из селекторного переключателя 3 и узла 5 предсказания с компенсацией движения.

Узел 6 вычитания выполняет процедуру вычитания изображения с предсказанием, сгенерированного узлом 4 внутреннего предсказания или узлом 5 предсказания с компенсацией движения, из блока кодирования, сгенерированного путем разделения узлом 2 разделения на блоки, для генерации разностного изображения (= блок кодирования - изображение с предсказанием). Узел 6 вычитания образует модуль генерации разностного изображения. Узел 7 преобразования/квантования выполняет процедуру преобразования (например, процедуру дискретного косинусного преобразования (ДКП) или ортогонального преобразования, такого как, например, преобразование Карунена-Лоэва (KL-преобразование), в котором базисы заранее предназначены для конкретной обучающей последовательности), разностного сигнала, сгенерированного узлом 6 вычитания, в единичных блоках, имеющих размер блока преобразования, содержащийся в параметрах кодирования ошибки предсказания, выведенных в него из узла 1 управления кодированием, а также выполняет квантование коэффициентов преобразования разностного изображения с использованием параметра квантования, содержащегося в параметрах кодирования ошибки предсказания, для вывода квантованных таким образом коэффициентов преобразования в качестве сжатых данных разностного изображения. Узел 7 преобразования/квантования образует модуль сжатия изображения.

Узел 8 обратного квантования/обратного преобразования выполняет процедуру обратного квантования сжатых данных, выведенных в него из узла 7 преобразования/квантования, с использованием параметра квантования, содержащегося в параметрах кодирования ошибки предсказания, выведенных в него из узла 1 управления кодированием, и выполняет процедуру обратного преобразования (например, процедуру обратного дискретного косинусного преобразования (ОДКП) или процедуру обратного преобразования (такого как, например, обратное преобразование Карунена-Лоэва (обратное KL-преобразование))) сжатых данных, подвергнутых им обратному квантованию, в единицах блоков, имеющих размер блока преобразования, содержащийся в параметрах кодирования ошибки предсказания, для вывода сжатых данных, для которых узлом обратного квантования/обратного преобразования была выполнена процедура обратного преобразования в качестве локального декодированного сигнала ошибки предсказания.

Узел 9 суммирования выполняет процедуру суммирования локального декодированного сигнала ошибки предсказания, выведенного в него из узла 8 обратного квантования/обратного преобразования, и сигнала предсказания, указывающего изображение с предсказанием, сгенерированное узлом 4 внутреннего предсказания или узлом 5 предсказания с компенсацией движения, для генерации локального декодированного сигнала изображения, указывающего локальное декодированное изображение. Запоминающее устройство 10 для внутреннего предсказания представляет собой носитель записи, например, оперативное запоминающее устройство (ОЗУ), для хранения локального декодированного изображения, указанного локальным декодированным сигналом изображения, который сгенерирован узлом 9 суммирования, в качестве изображения, которое узел 4 внутреннего предсказания будет использовать при выполнении процедуры внутреннего предсказания в следующий раз.

Узел 11 контурного фильтра выполняет процедуру компенсации искажений вследствие кодирования, содержащихся в локальном декодированном сигнале изображения, сгенерированном узлом 9 суммирования, и вывода локального декодированного изображения, указанного локальным декодированным сигналом изображения, для которого была выполнена компенсация искажений вследствие кодирования узлом контурного фильтра, в запоминающее устройство 12 для кадра предсказания с компенсацией движения в качестве опорного изображения. Запоминающее устройство 12 для кадра предсказания с компенсацией движения представляет собой носитель записи, например, оперативное запоминающее устройство (ОЗУ), для хранения локального декодированного изображения, для которого узлом 11 контурного фильтра была выполнена процедура фильтрации в качестве опорного изображения, которое узел 5 предсказания с компенсацией движения будет использовать при выполнении процедуры предсказания с компенсацией движения в следующий раз.

Узел 13 кодирования с переменной длиной кода выполняет процедуру кодирования с переменной длиной кода, выполняемую для сжатых данных, которые выведены в него из узла 7 преобразования/квантования, данных о режиме кодирования и параметров кодирования ошибки предсказания, которые выведены в него из узла 1 управления кодированием, и параметров внутреннего предсказания, выведенных в него из узла 4 внутреннего предсказания, или параметров внешнего предсказания, выведенных в него из узла 5 предсказания с компенсацией движения, для генерации потока битов, в который мультиплексированы закодированные данные из сжатых данных, закодированные данные о режиме кодирования, закодированные данные о параметрах кодирования ошибки предсказания и закодированные данные о параметрах внутреннего предсказания или о параметрах внешнего предсказания. Узел 13 кодирования с переменной длиной кода образует модуль кодирования с переменной длиной кода.

На Фиг. 2 изображена блок-схема, на которой показано устройство декодирования движущихся изображений согласно первому варианту осуществления настоящего изобретения. Со ссылкой на Фиг. 2 узел 51 декодирования с переменной длиной кода выполняет процедуру декодирования с переменной длиной кода для закодированных данных, мультиплексированных в поток битов, для получения сжатых данных, режима кодирования, параметров кодирования ошибки предсказания и параметров внутреннего предсказания или параметров внешнего предсказания, которые соответствуют каждому блоку кодирования, на которые иерархически разделен каждый кадр видеоинформации, и выводит сжатые данные и параметры кодирования ошибки предсказания в узел 55 обратного квантования/обратного преобразования, а также выводит режим кодирования и параметры внутреннего предсказания или параметры внешнего предсказания в селекторный переключатель 52. Узел 51 декодирования с переменной длиной кода образует модуль декодирования с переменной длиной кода.

Когда режимом кодирования, соответствующим блоку кодирования, данные о котором выведены из узла 51 декодирования с переменной длиной кода, является режим внутреннего кодирования, то селекторный переключатель 52 выполняет процедуру вывода параметров внутреннего предсказания, выведенных в него из узла 51 декодирования с переменной длиной кода, в узел 53 внутреннего предсказания, и когда режимом кодирования является режим внешнего кодирования, производит вывод параметров внешнего предсказания, выведенных в него из узла 51 декодирования с переменной длиной кода, в узел 54 предсказания с компенсацией движения.

Узел 53 внутреннего предсказания выполняет процедуру внутрикадрового предсказания для блока кодирования для генерации изображения с предсказанием для каждого раздела с использованием уже декодированного сигнала изображения в кадре на основании параметра внутреннего предсказания, выведенного в него из селекторного переключателя 52. После генерации вышеупомянутого изображения с предсказанием узел 53 внутреннего предсказания выбирает фильтр из одного или более фильтров, подготовленных заранее в соответствии с состояниями различных параметров, которые являются известными при генерации вышеупомянутого изображения с предсказанием, выполняет процедуру фильтрации вышеупомянутого изображения с предсказанием с использованием этого фильтра и производит вывод изображения с предсказанием, для которого была выполнена процедура фильтрации узлом внутреннего предсказания, в узел 56 суммирования. Конкретно, узел внутреннего предсказания однозначно определяет фильтр в соответствии с состоянием, по меньшей мере, одного из следующих четырех параметров, которые предоставлены в качестве вышеупомянутых различных параметров. Узел внутреннего предсказания назначает один или более параметров, подлежащих использованию, которые являются теми же самыми, что и вышеупомянутые один или более параметров, используемых устройством кодирования движущихся изображений. В частности, параметры, используемые устройством кодирования движущихся изображений, и параметры, используемые устройством декодирования движущихся изображений, сделаны одинаковыми друг другу, таким образом, например, когда узел 4 внутреннего предсказания выполняет процедуру фильтрации с использованием параметров (1) и (4) в устройстве кодирования движущихся изображений, узел 53 внутреннего предсказания аналогичным образом выполняет фильтрацию с использованием параметров (1) и (4) в устройстве декодирования движущихся изображений.

• Параметр (1)

Размер блока вышеупомянутого изображения с предсказанием

• Параметр (2)

Параметр квантования, декодированный с переменной длиной кода узлом 51 декодирования с переменной длиной кода

• Параметр (3)

Расстояние между уже декодированным сигналом изображения в кадре, используемым при генерации изображения с предсказанием, и целевым пикселем, подлежащим фильтрации

• Параметр (4)

Параметр внутреннего предсказания, декодированный с переменной длиной кода узлом 51 декодирования с переменной длиной кода

Модуль внутреннего предсказания состоит из селекторного переключателя 52 и узла 53 внутреннего предсказания.

Узел 54 предсказания с компенсацией движения выполняет процедуру предсказания с компенсацией движения для блока кодирования для генерации изображения с предсказанием с использованием одного или более кадров опорных изображений, хранящихся в запоминающем устройстве 59 для кадра предсказания с компенсацией движения, на основании параметров внешнего предсказания, выв