Устройство для стрижки волос
Иллюстрации
Показать всеИзобретение относится к области устройств для ухода за волосами, в частности бритвенных устройств. Устройство для стрижки волос содержит корпус, верхнюю часть с блоком режущих ножей и фиксирующий механизм. Верхняя часть свободно вращается в корпусе. Насадка гребенки присоединена к устройству с возможностью снятия для прохождения поверх блока режущих ножей. Фиксирующий механизм сцепляет верхнюю часть с корпусом, когда насадка гребенки отсоединяется от устройства. Это положение предотвращает вращение верхней части относительно корпуса. Фиксирующий механизм отцепляет верхнюю часть от корпуса, когда насадка гребенки присоединена к устройству. При этом верхняя часть вращается относительно корпуса. Техническим результатом изобретения является обеспечение точного позиционирования конструкции режущих ножей. 19 з.п. ф-лы, 21 ил.
Реферат
Область техники, к которой относится изобретение
Настоящее изобретение относится к устройству для стрижки волос. В частности, настоящее изобретение относится к устройству для стрижки волос, включающему в себя корпус с верхней частью, которая свободно вращается в корпусе.
Уровень техники изобретения
Известны электрические бытовые приборы для стрижки волос, и они включают в себя машинки для стрижки и электробритвы, с питанием как от электричества, подаваемого через сеть, так и от аккумуляторов. В целом, такое устройство используется для стрижки волос на теле, в частности волос на лице и на голове для придания человеку ухоженного вида.
Вообще, обычные устройства для стрижки волос содержат основную часть, формирующую вытянутый корпус, имеющий передний или режущий конец и противоположный конец рукоятки. Блок режущих ножей расположен на режущем конце и включает в себя элемент неподвижного ножа и элемент подвижного ножа, который выполняет возвратно-поступательные движения относительно элемента неподвижного ножа. Блок режущих ножей выступает из режущего конца и зафиксирован в одном положении относительно основной части таким образом, чтобы ориентация режущего элемента определялась посредством пользователя, ориентирующего основную часть устройства.
Насадка гребенки, как правило, закреплена на режущем конце типового устройства, для установки положения волос, которые должны быть срезаны посредством блока режущих ножей. Как правило, насадка гребенки скользит поверх блока режущих ножей и отделяет режущие элементы от поверхности кожи, на которой растут волосы. Это позволяет срезать одинаковую длину волос и позволяет присоединять элементы гребенки различных размеров или присоединять регулируемый элемент гребенки для изменения длины волос, которые должны быть срезаны.
Кроме того, также возможно снимать насадку гребенки с режущего конца для того, чтобы блок ножей был открыт. Это позволит использовать режущий блок для точной стрижки волос и аккуратных внешних контуров линии волос или бороды.
Однако одной проблемой таких типовых устройств является неподвижное взаимное расположение корпуса и блока режущих ножей и насадки гребенки. Поскольку блок режущих ножей и насадка гребенки неподвижно закреплены на основной части, необходимо правильно выравнивать режущие ножи посредством перемещения рукоятки в правильное положение. Следовательно, пользователь должен устанавливать положение своей ладони и руки в потенциально трудные или неудобные положения. Кроме того, если пользователь не будет точно ориентировать устройство, то блок режущих ножей будет ориентирован неправильно, что приведет к некачественной стрижке и срезанию волос. Часто пользователю, пытающемуся подстричь свои волосы, трудно обращаться с типовым устройством по причине плохой видимости затылка в процессе использования, и, таким образом, очень высока возможность того, что пользователь нанесет себе травмы или получит неровную стрижку.
С учетом упомянутого выше были разработаны устройства для стрижки волос с поворотной верхней частью, на которой закреплен блок ножей и насадка гребенки. Верхняя часть может поворачиваться таким образом, чтобы блок ножей и насадка гребенки были способны выравниваться относительно контуров головы и обеспечивать более ровную стрижку. Кроме того, пользователю проще и удобнее подстригать свои собственные волосы, если насадка гребенки имеет некоторое количество свободы поворота во время использования, что позволяет насадке гребенки и, следовательно, блоку ножей следовать форме головы человека.
Однако поворотная верхняя часть неудобна, если необходимо произвести точную стрижку волос, если элемент гребенки снят. В такой ситуации существует проблема того, что трудно точно установить положение режущего элемента, если верхняя часть наклонена для вращения относительно основной части и, таким образом, может вызвать неравномерные и нежелательные срезы.
Сущность изобретения
Следовательно, цель изобретения заключается в создании устройства для стрижки волос, которое, по существу, облегчает или преодолевает вышеупомянутые проблемы и обеспечивает точное позиционирование конструкции режущих ножей, если с устройства снят элемент гребенки.
В соответствии с настоящим изобретением создано устройство для стрижки волос, содержащее корпус и верхнюю часть с блоком режущих ножей, причем верхняя часть свободно вращается в корпусе, а насадка гребенки присоединяется к устройству с возможностью последующего снятия для того, чтобы выступать поверх блока режущих ножей, причем устройство дополнительно содержит фиксирующий механизм, выполненный с возможностью неподвижного сцепления верхней части с корпусом, когда насадка гребенки отсоединена от устройства так, что предотвращается вращение верхней части относительно корпуса, и отцепления верхней части от корпуса, когда насадка гребенки присоединена к устройству так, что верхняя часть вращается относительно корпуса.
Предпочтительно, фиксирующий механизм дополнительно содержит фиксирующий элемент, перемещающийся между положением сцепления, в котором предотвращается вращение верхней части относительно корпуса, когда от устройства отсоединена насадка гребенки, и положением расцепления, в котором верхняя часть может вращаться относительно корпуса, когда насадка гребенки присоединена к устройству.
Фиксирующий элемент можно поджать в положение расцепления посредством воздействия насадкой гребенки на фиксирующий элемент.
В предпочтительном варианте осуществления устройство дополнительно содержит упругий механизм для поджатия фиксирующего элемента из положения сцепления в положение расцепления.
Фиксирующий элемент может быть закреплен в корпусе.
Для удобства фиксирующий механизм дополнительно содержит фиксирующий выступ, который вращается вместе с верхней частью таким образом, что если фиксирующий элемент находится в положении сцепления, то он упирается торцом в фиксирующий выступ для предотвращения вращения верхней части относительно корпуса.
Устройство дополнительно может содержать блок электродвигателя, расположенный в корпусе, для приведения в действие блока режущих ножей, причем блок электродвигателя вращается вместе с верхней частью, и фиксирующий выступ выступает из блока электродвигателя.
Преимущественно, фиксирующий выступ проходит в радиальном направлении от оси вращения блока электродвигателя, и фиксирующий элемент перемещается по оси, параллельной оси вращения.
В одном варианте осуществления фиксирующий элемент закрепляется на верхней части.
Предпочтительно, фиксирующий элемент дополнительно содержит паз, а фиксирующий механизм дополнительно содержит фиксирующий штифт, который может устанавливаться в паз для неподвижного закрепления верхней части относительно корпуса и предотвращения вращения относительно него.
Фиксирующий штифт может быть расположен на корпусе.
Фиксирующий элемент может дополнительно содержать дугообразную поверхность, по которой скользит фиксирующий штифт, когда фиксирующий элемент поджат в положение сцепления.
Для удобства держатель фиксирующего элемента выступает через отверстие в верхней части, напротив которого упирается насадка гребенки для того, чтобы толкать фиксирующий элемент.
Предпочтительно, устройство дополнительно содержит насадку гребенки, которая может крепиться к верхней части с возможностью последующего снятия.
Предпочтительно, насадка гребенки содержит толкающий выступ, который воздействует на фиксирующий элемент для вталкивания фиксирующего элемента в положение расцепления.
Краткое описание чертежей
Теперь, исключительно для примера, предпочтительные варианты осуществления изобретения будут описаны со ссылкой на сопроводительные чертежи, на которых:
Фиг.1 - вид в перспективе устройства для стрижки волос в соответствии с вариантом осуществления настоящего изобретения;
Фиг.2 - вид в перспективе устройства, изображенного на Фиг.1, изображающий верхнюю часть, находящуюся в среднем положении с прикрепленной к ней насадкой гребенки;
Фиг.3 - вид в перспективе устройства, изображенного на Фиг.2, с верхней частью и насадкой гребенки, вращаемыми в направлении против часовой стрелки относительно основной части;
Фиг.4 - вид в перспективе продольного разреза устройства, изображенного на Фиг.1, с верхней частью и насадкой гребенки, находящимися в среднем положении относительно основной части;
Фиг.5 - вид в перспективе продольного разреза устройства, изображенного на Фиг.4, с верхней частью и насадкой гребенки, вращаемыми относительно основной части;
Фиг.6 - вид в разрезе устройства, изображенного на Фиг.1;
Фиг.7 - вид в перспективе верхней части устройства, изображенного на Фиг.1, в соответствии с одним вариантом осуществления изобретения;
Фиг.8 - вид в плане снизу верхней части устройства, изображенного на Фиг.7, с внутренней рамой корпуса, фиксирующим штифтом и фиксирующим элементом, изображенным в положении сцепления с фиксирующим штифтом;
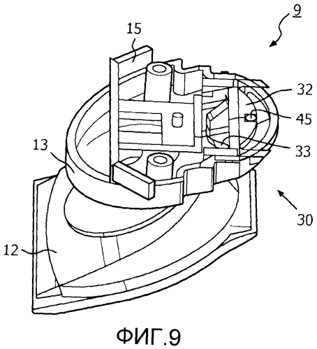
Фиг.9 - вид в перспективе верхней части устройства, изображенного на Фиг.8;
Фиг.10 - вид в плане снизу верхней части устройства, изображенного на Фиг.7, с внутренней рамой корпуса, фиксирующим штифтом и присоединенной насадкой гребенки, и фиксирующим механизмом, изображенным в положении расцепления на расстоянии от фиксирующего штифта;
Фиг.11 - вид в перспективе вида снизу верхней части устройства, изображенного на Фиг.10;
Фиг.12 - вид в плане снизу верхней части устройства, изображенного на Фиг.7, с внутренней рамой корпуса, фиксирующим штифтом и присоединенной насадкой гребенки, и фиксирующим механизмом, изображенным в положении расцепления на расстоянии от фиксирующего штифта, причем верхняя часть вращается относительно внутренней рамы корпуса;
Фиг.13 - вид в перспективе снизу верхней части устройства, изображенного на Фиг.12;
Фиг.14 - вид в перспективе части устройства, изображенного на Фиг.1, в соответствии с другим вариантом осуществления изобретения;
Фиг.15 - вид в увеличенном масштабе в перспективе части устройства, изображенного на Фиг.14, с фиксирующим механизмом, находящимся в положении сцепления;
Фиг.16 - вид в перспективе части устройства, изображенного на Фиг.14, с фиксирующим механизмом, находящимся в положении сцепления, но с исключенной насадкой гребенки;
Фиг.17 - вид в увеличенном масштабе в перспективе части устройства, изображенного на Фиг.16, с фиксирующим механизмом, находящимся в положении сцепления, но с исключенной насадкой гребенки;
Фиг.18 - вид в перспективе части устройства, изображенного на Фиг.14, с прикрепленной насадкой гребенки;
Фиг.19 - вид в увеличенном масштабе в перспективе части устройства, изображенного на Фиг.18, с прикрепленной насадкой гребенки;
Фиг.20 - другой вид в перспективе части устройства, изображенного на Фиг.14, с фиксирующим механизмом, находящимся в положении сцепления; и
Фиг.21 - другой вид в перспективе части устройства, изображенного на Фиг.20, с прикрепленной насадкой гребенки и фиксирующим механизмом, находящимся в положении сцепления/расцепления.
Подробное описание вариантов осуществления
Теперь, со ссылкой на чертежи, на Фиг.1-13 изображен первый вариант осуществления устройства 1 для стрижки волос, содержащего основную часть 2, содержащую вытянутый корпус 3 с режущим или передним концом 4, и концом 5 рукоятки или задним концом 5. В переднем конце 4 основной части 2 сформировано отверстие 6, а верхняя часть 7 выступает из основной части 2 и закрепляется на ней.
Внешняя поверхность 7 вытянутого корпуса 3 внешне сужается от заднего конца 6 к переднему концу 4 для обеспечения более эргономичного положения удержания и улучшения эстетичного внешнего вида устройства 1, хотя понятно, что предусмотрены и другие компоновки корпуса. На корпусе предоставлена кнопка управления 8 для управления устройством 1, как будет объяснено далее в этом документе.
Блок 10 режущих ножей закреплен на верхней части 9 и содержит первое установленное неподвижно лезвие (не показано) и второе подвижное лезвие (не показано), упирающееся торцом в первое установленное неподвижно лезвие. Каждое лезвие (не показаны) имеет решетку из зубцов на режущей кромке 11 блока 10 ножей, которые накладываются друг на друга так, чтобы, когда второе подвижное лезвие выполняет возвратно-поступательные линейные движения относительно первого ножа, кромки зубцов формировали режущую поверхность, которая захватывает и отсекает волосы. Такой блок 10 режущих ножей является типичным, и, таким образом, в настоящем документе никакого дальнейшего обсуждения этой конструкции не будет. Несмотря на то что настоящие варианты осуществления описаны относительно вышеупомянутой конструкции режущих ножей, понятно, что блок режущих ножей ей не ограничен и что предусмотрены альтернативные конструкции режущих ножей, такие как конструкции с вращательными ножами.
Со ссылкой на Фиг.4, 5 и 7-13, верхняя часть 9, кроме того, содержит каркас 12, к которому прикрепляется блок 10 режущих ножей, и концевую крышку 13, которая выступает в корпус 3. Каркас 12 и концевая крышка 13 неподвижно прикрепляются друг к другу или формируются как одно целое. Теперь, со ссылкой на Фиг.4 и 5, концевая крышка 13 выступает в корпус 3 и закрывает отверстие 6 в корпусе 3, а верхняя часть 9, включающая в себя каркас 12 и концевую крышку 13, поворотно прикрепляется к переднему концу 4 основной части 2. Следовательно, верхняя часть 9 может поворачиваться вокруг продольной оси, тянущейся через плоскость верхней части 9 и тянущейся в длину через вытянутый корпус 3. Альтернативно, верхняя часть 9 поворачивается в плоскости, тянущейся под острым углом к продольной оси, тянущейся вдоль вытянутого корпуса 3. Режущая кромка 11 блока 10 ножей выступает из каркаса 12 для обеспечения стрижки волос, как будет объяснено ниже в этом документе.
Концевая крышка 13 поддерживается на дугообразной кромке 14, тянущейся вокруг внутренней поверхности корпуса 3, ближайшей к отверстию 6. Верхний выступ (не показан) выступает по периферии концевой крышки 13 для свободного вращения концевой крышки 13 и, следовательно, верхней части 9 в корпусе 3 таким образом, чтобы верхняя часть 9 выступала из корпуса 3. Корпус 3, каркас 12 и концевая крышка 13, сформированы из литой пластмассы, однако понятно, что может быть использован любой подходящий материал.
Внутренняя рама 15 неподвижно закреплена в корпусе 3 рядом с передним концом 4 основной части 2 и выступает, по существу, через отверстие 6 в корпус 3. Блок электродвигателя расположен в корпусе 3 для приведения в действие блока 10 режущих ножей и содержит электродвигатель 16, закрепленный в корпусе 18 электродвигателя. Электродвигатель 16 подключен с помощью электрического соединения к аккумулятору (не показан), расположенному в области 17 для электрических компонентов, сформированной рядом с задним концом 5 корпуса 3. Несмотря на то что в настоящих вариантах осуществления электрическая энергия предоставляется посредством аккумулятора, понятно, что предусмотрен вариант подачи электрической энергии посредством альтернативного средства, например провода питания от электрической сети, соединяющегося с разъемом (не показан), сформированным в заднем конце 5 корпуса 3.
Блок 18 электродвигателя свободно вращается в корпусе 3 на одном конце блока таким образом, что корпус 18 электродвигателя и электродвигатель 16, закрепленный в корпусе 18 электродвигателя, могут вращаться в корпусе 3 вокруг оси, тянущейся, по существу, в продольном направлении корпуса 3. Приводная штанга 19 выступает из электродвигателя 16 и тянется через внутреннюю раму 15 к приводному механизму режущих ножей 20, который выступает через отверстие 20 (см. Фиг.8 и 9), сформированное в концевой крышке 13 и каркасе 12, для передачи рабочей мощности электродвигателя 16 на блок 10 режущих ножей для приведения в действие блока 10 режущих ножей.
Следовательно, блок электродвигателя неподвижно соединен с верхней частью 9 таким образом, что если верхняя часть толкается для вращения относительно корпуса 3, то блок электродвигателя толкается для вращения вместе с ним.
Возвратная пружина (не показана) закрепляется на корпусе 18 электродвигателя для толкания корпуса 18 электродвигателя, и, следовательно, электродвигателя 16 и верхней части 9 в среднее положение, благодаря чему верхняя часть 9 не вращается относительно корпуса 3.
Насадка 20 гребенки присоединена с возможностью последующего снятия к верхней части 9, и способна вращаться вместе с верхней частью 9. Насадка 20 гребенки направляет волосы на блок 10 режущих ножей и позволяет срезать одинаковую длину волос посредством отделения режущей кромки 11 блока 10 режущих ножей от поверхности головы пользователя. Насадка 14 гребенки содержит множество параллельных планок 22, находящихся на равных расстояниях друг от друга так, чтобы волосы направлялись между планками 22 к режущей кромке 11 блока 10 ножей. Планки 22 выступают из опорной секции 23, которая прикрепляется к верхней части 9. В настоящем варианте осуществления расстояние от внешней кромки планок 22 до режущей кромки 11 блока 10 режущих ножей является изменяемым, чтобы позволить срезать различные длины волос. Однако понятно, что могут быть использованы различные насадки гребенки для изменения расстояния между режущей кромкой 11 блока 10 ножей и внешней кромкой планок 22. Насадка гребенки сформирована из литой пластмассы, однако понятно, что может быть использован любой подходящий материал.
Опорная секция 23 насадки 20 гребенки содержит пару внешних частей 24 фиксатора, от которых тянутся планки 22, и вытянутая дугообразная секция 25 крепления, которая выступает из внешних частей 24 держателя. Если насадка 20 гребенки прикреплена к верхней части 9, то дугообразная секция 25 крепления выступает в корпус 3. Несмотря на то что насадка описана в настоящем документе как неподвижно присоединенная к верхней части 9, понятно, что в альтернативном варианте осуществления насадка 20 гребенки может быть подвижно прикреплена к основной части 2, так что насадка 20 гребенки удерживается посредством основной части 2, но способна вращаться относительно основной части 2.
Удерживающий механизм (не показан) удерживает насадку 20 гребенки на месте и препятствует ее спаданию, но позволяет легко снимать насадку 20 гребенки при применении соответствующей величины силы.
Теперь, со ссылкой на Фиг.7-13, изображается фиксирующий механизм 30 в соответствии с первым вариантом осуществления настоящего изобретения. Фиксирующий механизм 30 предотвращает вращение верхней части 9 относительно корпуса 3, если верхняя часть 9 толкается для вращения. Фиксирующий механизм 30 верхней части зацепляется для предотвращения вращения верхней части 9, если насадка 20 гребенки присоединена к верхней части 9, и расцепляется для обеспечения вращения верхней части 9, вследствие толкания верхней части 9 для ее вращения, если насадка 20 гребенки снята с верхней части 9.
Фиксирующий механизм 30 верхней части содержит фиксирующий элемент 32 и упругий элемент 33. Фиксирующий элемент 32 имеет центральную зацепляющую часть 34 с верхними и нижними плоскими поверхностями и дугообразным краем 37. Зацепляющий паз 38 сформирован в центральной зацепляющей части 34 так, что выступает в центральную зацепляющую часть 34 из средней части дугообразного края 37. Параллельные толкающие держатели 36 выступают из противоположных боковых краев фиксирующего элемента, разнесенные посредством центральной зацепляющей части 34. Плоский край 39 тянется вдоль противоположной стороны в направлении дугообразного края 37, напротив которого установлен упругий элемент 33.
Концевая крышка 13 содержит концевую поверхность 40 и внешнюю стенку 42, выступающую вверх из наружной кромки концевой поверхности 40, и тянется вокруг нее для формирования области с выемкой. Противоположные параллельные направляющие 43 сформированы в области с углублением, тянущейся к внешней стенке 42 концевой крышки 13, в котором противоположные боковые кромки фиксирующего элемента 32 и параллельные фиксирующие держатели 36 устанавливаются так, чтобы фиксирующий элемент 32 мог двигаться вдоль направляющих 43. Через внешнюю стенку 42 на конце каждой направляющей 43 сформировано отверстие 41 таким образом, чтобы параллельные толкающие держатели 36 могли двигаться через каждое отверстие, для того чтобы выступать из внешней поверхности внешней стенки 42.
Направляющий штифт 44 упругого элемента выступает вверх в области выемки концевой крышки 13, и упругий элемент 33 устанавливается между направляющим штифтом 44 и фиксирующим элементом 32. Упругий элемент 33, в этом варианте осуществления, является пружиной сжатия, которая толкает толкаемые держатели 36 через отверстия во внешней стенке 42 для того, чтобы они выступали из концевой крышки 13.
Фиксирующий штифт 45 (см. Фиг.8 и 9) выступает вверх из внутренней рамы 15, и тянется область углубления концевой крышки 13. Фиксирующий элемент 32 упирается торцом в фиксирующий штифт 45, и, таким образом, фиксирующий штифт 45 устанавливается напротив дугообразного края 37 или в паз 38, в зависимости от ориентации верхней части 9 при ее вращении относительно основной части 2, как будет объяснено далее в этом документе.
Теперь, работа вышеупомянутого варианта осуществления будет описана со ссылкой на Фиг.1-13, и, в частности, Фиг.8-13.
Пользователь держит устройство 1 для стрижки волос за вытянутый корпус 3, и сначала насадка гребенки отделяется от верхней части 9. В этой ситуации упругий элемент 33 упирается торцом в плоскую кромку 39 фиксирующего элемента 32 для толкания фиксирующего элемента 32 в направлении внешней стенки 42 концевой крышки 13 таким образом, чтобы толкающие держатели 36 вталкивались через отверстия во внешней стенке 42 для того, чтобы выступать из концевой крышки 13. Сначала верхняя часть 9 находится в среднем положении, в котором верхняя часть 9 не вращается относительно основной части 2. В среднем положении, со снятой с верхней части 9 насадкой гребенки (см. Фиг.8 и 9), упругий элемент 33 толкает фиксирующий элемент 32 в направлении фиксирующего штифта 45, и, таким образом, фиксирующий штифт 45 устанавливается в паз 38, сформированный в фиксирующем механизме 32. Как только фиксирующий штифт 45, выступающий вверх из внутренней рамы 15, неподвижно закрепленной в корпусе 3, устанавливается в паз 38 фиксирующего элемента 32, закрепленной в концевой крышке 13 верхней части 9, верхняя часть 9 неподвижно прикрепляется к корпусу 3 и, таким образом, предотвращается ее вращение относительно корпуса 3.
Затем, насадка 20 гребенки двигается по верхней части 9, причем вытянутая дугообразная секция 25 крепления сдвигается в корпус 3, а планки тянутся поверх блока 10 режущих ножей. Секция 25 крепления крепится с возможностью последующего снятия к концевой крышке 13, а удерживающий механизм (не показан) неподвижно держит насадку 20 гребенки на месте. Несмотря на то что в настоящем варианте осуществления насадка гребенки прикрепляется неподвижно к концевой крышке 13, понятно, что насадка 20 гребенки может быть неподвижно соединена с таким компонентом, как корпус 18 электродвигателя, который вращается вместе с верхней частью 9. Насадка 20 гребенки также может крепиться к регулирующему механизму (не показан), который сконфигурирован для перемещения планок 22 в направлении блока 10 режущих ножей и от него. Это позволяет изменять промежуток между режущей кромкой 11 блока 10 режущих ножей и планками 22 и, таким образом, изменять длину волос, которые будут срезаны пользователем.
Как только насадка 20 гребенки сдвигается по верхней части 9, контактные поверхности (не показаны) секции 25 крепления контактируют с углами и поверхностями (не показаны) толкающих держателей 36. Следовательно, концевые поверхности толкающих держателей 36 толкаются в направлении внешней стенки 42 концевой крышки 13 так, чтобы фиксирующий элемент 32 упирался торцом напротив упругой области упругого компонента 33 и отталкивался от фиксирующего штифта 45. Следовательно, фиксирующий штифт 45 выдвигается из паза фиксирующего элемента 32 и, таким образом, двигается из положения сцепления, в котором предотвращается вращение верхней части относительно основной части 2, в положение расцепления, благодаря чему фиксирующий элемент 32 отходит от фиксирующего штифта 45, и верхняя часть 9 получает возможность вращения относительно основной части 2 (см. Фиг.10 и 11).
Понятно, что фиксирующий элемент 32 удерживается в положении расцепления, пока насадка 20 гребенки присоединена к верхней части 9. Тогда пользователь управляет устройством 1 при помощи кнопки 8 управления. Электрическая энергия подается на электродвигатель 16 посредством механизма подачи электричества, такого как аккумулятор, расположенного в области 17 для электрических компонентов. Затем, электродвигатель приводит в действие блок 10 режущих ножей обычным способом, и тогда устройство 1 становится пригодным для стрижки волос.
Как только пользователь применяет устройство к голове человека, а также к волосам, которые должны быть срезаны, верхняя часть 9 может поворачиваться относительно основной части 2, поскольку верхняя часть 9 имеет некоторую свободу вращения. Следовательно, оно проще и удобнее для использования, поскольку верхняя часть 9 и насадка 20 гребенки способны вращаться для следования форме головы человека. По мере вращения верхней части 9 вместе с насадкой 20 гребенки, электродвигатель 16 и корпус 18 электродвигателя вращаются вместе с ней, поскольку они свободно вращаются в корпусе 3 и физически соединены друг с другом посредством управляющей штанги 19. Следовательно, поддерживается эффективность выполнения срезов при помощи устройства.
Когда пользователь убирает устройство с головы человека, верхняя часть 9 и насадка 20 гребенки вращаются обратно в среднее положение, вследствие одной или нескольких пружин возврата (не показаны), закрепленных в корпусе и неподвижно присоединенных к корпусу 18 двигателя, который, в свою очередь, физически прикреплен к верхней части 18. Однако понятно, что в другом варианте осуществления пружины возврата могут быть прикреплены непосредственно к верхней части 9.
Если пользователь желает использовать устройство для точного очерчивания внешних контуров волос или подобного, то пользователь снимает насадку 20 гребенки с верхней части 9. Если пользователь прилагает силу для снятия к насадке 20 гребенки посредством вытягивания ее из основной части 2, то насадка гребенки высвобождается из удерживающего механизма (не показан) и насадка гребенки сдвигается с верхней части 9. Тогда толкающие держатели 36 высвобождаются и, таким образом, упругий элемент 33 толкает фиксирующий элемент 32 в направлении фиксирующего штифта 45. Затем, фиксирующий штифт 45 устанавливается в паз 38 фиксирующего элемента 33 для зацепления фиксирующего элемента 33, и, таким образом, верхняя часть 9 неподвижно закрепляется относительно основной части 2 и ее вращение предотвращается. Это помогает точной стрижке волос, если насадка 20 гребенки не присоединена к верхней части 9.
Если пользователь снимает насадку гребенки, пока верхняя часть 9 находится в положении вращения (см. Фиг.12 и 13), то толкающие держатели 36 высвобождаются и фиксирующий элемент 32 толкается в направлении фиксирующего штифта 45 посредством упругого элемента 33. Затем, фиксирующий штифт 45 упирается торцом в дугообразную поверхность 37 фиксирующего элемента 32. Пружины возврата (не показаны) толкают верхнюю часть 9 в среднее положение, а фиксирующий штифт 45 сдвигается вдоль дугообразной поверхности 37 фиксирующего элемента 32. Как только верхняя часть 9 устанавливается в среднее положение, благодаря чему верхняя часть 9 не вращается относительно основной части 2, фиксирующий штифт 45 сдвигается в паз фиксирующего элемента 32, для зацепления за него, вследствие упругости упругого элемента 33, толкающего фиксирующий элемент 33 в направлении фиксирующего штифта 45. Тогда предотвращается вращение верхней части 9 относительно основной части 2.
Теперь будет описан другой вариант осуществления устройства для стрижки волос со ссылкой на Фиг.1-6 и 14-21. Конструкция из этого варианта осуществления устройства для стрижки волос, в целом, является такой же, что и в иллюстративном варианте осуществления, подробно описанном выше, и, таким образом, его подробное описание в настоящем документе будет опущено, и компоненты, соответствующие компонентам из предыдущего варианта осуществления, сохраняют те же самые ссылочные номера.
Однако в этом варианте осуществления, механизм 50 фиксации верхней части расположен в корпусе 3 устройства 1. Механизм 50 фиксации верхней части содержит два фиксирующих элемента 52, подвижно закрепленных в корпусе 3, диаметрально напротив друг друга, и два соответствующих упругих элемента 53. Каждый фиксирующий элемент 52 содержит вертикальную секцию 53 и поперечную фиксирующую секцию 54, выступающую из вертикальной секции 53 (см. Фиг.14-17). Поперечная фиксирующая секция 54 имеет дугообразную контактную поверхность 55, которая устанавливается напротив соответствующего фиксирующего выступа 56, как станет очевидно далее в этом документе.
Каждый фиксирующий элемент 52 подвижно закреплен на корпусе 3, и каждый фиксирующий элемент 52 имеет упругий элемент (не показан), действующий на него для толкания фиксирующих элементов 52 в продольном направлении вытянутого корпуса 3 в направлении верхней части 9. В настоящем варианте осуществления упругие элементы (не показаны) являются пружинами сжатия, несмотря на то что могут быть использованы и другие упругие механизмы, например пружины растяжения. Каждый фиксирующий элемент 52, кроме того, включает в себя концевую поверхность 51, напротив которой действует насадка 20 гребенки, как будет объяснено ниже.
Пара фиксирующих выступов 56 выступает в радиальном направлении из корпуса 18 двигателя, причем фиксирующий выступ 56 выступает с каждой стороны корпуса 18. Каждый фиксирующий выступ 56 имеет установочную поверхность 57, которая упирается торцом в контактную поверхность 55 соответствующего фиксирующего элемента 52.
В целом, насадка 20 гребенки является такой же, что и насадка гребенки, описанная выше для первого иллюстративного варианта осуществления, однако в этом варианте осуществления насадка гребенки имеет два обращенных внутрь заострения (не показаны), выступающие в радиальном направлении внутри секции 25 крепления насадки 20 гребенки. Каждое обращенное внутрь заострение (не показано) упирается торцом в соответствующие концевые поверхности 51 фиксирующих элементов 52 для толкания фиксирующих элементов 52 в направлении от верхней части 9, если насадка 20 гребенки присоединена к верхней части 9. Каждое заострение (не показано) выступает в круговом направлении для формирования внутреннего ребра.
Теперь, работа вышеупомянутого варианта осуществления будет описана со ссылкой на Фиг.1-6 и 14-21.
Для стрижки или срезания волос с использованием устройства 1 для стрижки волос, пользователь держит устройство за вытянутый корпус 3, и насадка гребенки сначала снимается с верхней части 9. Каждый фиксирующий элемент 52 толкается посредством соответствующего упругого элемента (не показан) в направлении соответствующего фиксирующего выступа 56, и его смещение ограничивается посредством концевого упора (не показан). Верхняя часть 9 сначала находится в среднем положении таким образом, чтобы верхняя часть 9 не вращалась относительно основной части 2. В среднем положении, с отсоединенной от верхней части 9 насадкой гребенки, каждый упругий элемент (не показан) толкает каждый фиксирующий элемент 52 в направлении соответствующего фиксирующего выступа 56, и, таким образом, контактная поверхность 55 каждого фиксирующего элемента 52 устанавливается напротив установочной поверхности 57 каждого фиксирующего выступа 56, выступающего из корпуса 18 двигателя. Как только корпус 18 электродвигателя соединяется с верхней частью 9 посредством приводного элемента 19, тянущегося от корпуса 16 электродвигателя к блоку 10 режущих ножей, верхняя часть 9 неподвижно прикрепляется к корпусу 3 и, таким образом, предотвращается вращение относительно корпуса 3.
Затем, для стрижки волос до желаемой длины, пользователь сдвигает насадку 20 гребенки по верхней части 9, причем продольная дугообразная секция 25 крепления сдвигается внутрь корпуса 3, а планки выступают поверх блока 10 режущих ножей. Секция 25 крепления прикрепляется с возможностью последующего снятия к концевой крышке 13, а удерживающий механизм (не показан) неподвижно держит насадку 20 гребенки на месте. Несмотря на то что в настоящем варианте осуществления насадка гребенки неподвижно прикрепляется к концевой крышке 13, понятно, что насадка 20 гребенки может быть неподвижно соединена с таким компонентом, как корпус 18 электродвигателя, который вращается вместе с верхней частью 9. Насадка 20 гребенки также может крепиться к механизму регулирования (не показан), сконфигурированному для смещения планки 22 в направлении блока 10 режущих ножей и от него. Это позволяет изменять промежуток между режущей кромкой 11 блока 10 режущих ножей и планками 22 и, таким образом, изменять длину волос, которые должны быть срезаны посредством пользователя.
Как только насадка 20 гребенки сдвигается по верхней части 9, обращенные внутрь заострения (не показаны), выступающие из секции 25 крепления, упираются в концевую поверхность 51 каждого фиксирующего элемента 52. Как только насадка 20 гребенки сдвигается дальше, заострения выполняют действие в отношении вышеупомянутых концевых поверхностей 51 и толкают каждый фиксирующий элемент 52 в направлении, противоположном силе упругости упругих элементов (не показаны) и с верхней части 9 устройства. Следовательно, фиксирующие элементы 52 сдвигаются относительно фиксирующего выступа 56 из положения сцепления, в котором предотвращается вращение верхней части относительно основной части 2, в положение расцепления, благодаря чему контактная поверхность 55 каждого фиксирующего элемента 52 отделяется от установочной поверхности 57 соответствующего фиксирующего выступа 56. Как только фиксирующие элементы 52 и захват выпячивания 56 отделяются друг от друга, корпус 18 электродвигателя и, следовательно, верхняя часть могут вращаться, и, таким образом, в положении расцепления, верхняя часть 9 способна вращаться относительно основной части 2.
Понятно, что, как только насадка 20 гребенки неподвижно присоединяется к верхней части 9, фиксирующие элементы 52 удерживаются в положении расцепления. Тогда пользователь управляет устройством 1 при помощи кнопки 8 управления. Электрическая энергия подается на электродвигатель 16 посредством механизма электропитания, такого как аккумулятор, расположенный в области 17 для электрических компонентов. Затем, электродвигатель 16 приводит в действие блок 10 режущих ножей обычным способом и тогда устройство 1 пригодно для стрижки волос.
Как только пользователь применяет устройство к человеческой голове, верхняя часть 9 может вращаться относительно основной части 2, поскольку верхняя часть 9 имеет некоторую свободу вращения. Следовательно, оно проще и удобнее в использовании, поскольку верхняя часть 9 и насадка 20 гребенки способны вращаться для следования форме человеческой головы. По мере вращения верхней части 9 вместе с насадкой 20 гребенки, блок электродвигателя также вращается, поскольку он свободно вращается в корпусе 3 и физически соединен с ним посредством приводной штанги 19. Следовательно, эффективность выполнения срезов устройства сохраняется.
По мере вращения верхней части 9, насадка 20 гребенки также вращается. Следовательно, заострения насадки гребенки сдвигаются относительно концевой поверхности 51 фиксирующего элемента 52. Однако предотвращается движение заострений в направлении от концевой поверхности 51, поскольку они выступают в круговом направлении.
Когда пользователь убирает устройство с готовы человека, верхняя часть 9 и насадка 20 гребенки вращаются обратно в среднее положение, вследствие одной или нескольких возвратных пружин (не показаны), закрепл



